|
|
(21), (22) Заявка: 2005119906/03, 27.06.2005
(24) Дата начала отсчета срока действия патента:
27.06.2005
(46) Опубликовано: 20.01.2007
(56) Список документов, цитированных в отчете о поиске:
SU 446650 А, 15.10.1974. RU 2216642 C2, 20.11.2003. SU 332219 A, 14.03.1972. SU 365467 A, 08.01.1973. SU 376557 A, 25.10.1977. SU 403849 A, 26.10.1973. SU 855365 A, 15.01.1978. RU 2087664 C1, 20.08.1997.
Адрес для переписки:
423803, Республика Татарстан, г. Набережные Челны, п. Зяб, ул. Хади Такташа, 41/9, кв.185, С.А. Латыпову
|
(72) Автор(ы):
Латыпов Салават Адегамович (RU)
(73) Патентообладатель(и):
Латыпов Салават Адегамович (RU)
|
(54) СПОСОБ КУМУЛЯТИВНОГО БУРЕНИЯ
(57) Реферат:
Изобретение относится к горнодобывающей, нефтяной и газовой промышленности, в частности к способам для бурения скважин. Технический результат – увеличение скорости, упрощение и удешевление процесса бурения. Способ бурения включает создание скважины с помощью кумуляции. При этом внутри камеры сгорания, находящейся в долоте, перед воспламенением горючей или взрывчатой смеси образуют свободное от горючей или взрывчатой смеси пространство, циклически либо непрерывно впрыскивая топливо и окислитель или компоненты взрывчатого вещества под углом к оси камеры сгорания или подавая и поджигая поочередно заряды взрывчатых веществ, при этом заряды взрывчатых веществ выполнены с выемками. 2 ил.
Изобретение относится к горнодобывающей, нефтяной и газовой промышленности, в частности к способам для бурения скважин.
Известен способ бурения скважины с помощью непосредственного механического воздействия на горные породы, применяя долото (см. книгу С.А.Султанов, Р.Х.Муслимов. «Нефть – чудо природы», Казань, Татарское книжное издательство, 1987 г., с. 84-87, 90-93) (см. В.Е.Копылов. «Бурение?… Интересно!», Москва, «Недра», 1981 г., с.39-45, 95-99).
Шарошечное долото (патент РФ № 2087664), включающее корпус с ниппелем и продувочными каналами, прикрепленные к корпусу лапы с шарошками, установленные в продувочные каналы сопла, в которых размещен шламозащитный запорный орган. Во внутренней полости конуса установлен каркас, выполненный в виде усеченного конуса с открытыми торцами и окнами на боковой поверхности. Каркас установлен в полости с упором фланца в уступ корпуса долота. Конус снабжен обратным клапаном, выполненным в виде плоского рукава с прорезью и расположенным за пределами выпускного отверстия сопла. Сопло закреплено к корпусу долота осевым фиксатором. Кольцевой выступ расположен между уступом корпуса долота и верхним торцом сопла.
Такой способ бурения трудоемкий, требующий частой смены инструмента, дорогой, малоэффективный из-за низкой скорости бурения.
Известны способы бурения с помощью расплавления породы, например, лазером, небольшим атомным реактором (см. В.Е.Копылов. «Бурение?… Интересно!», Москва, «Недра», 1981 г., с.130-135).
Недостатком данных способов является сложность, дороговизна и низкая скорость бурения.
Была поставлена задача на увеличение скорости, упрощение и удешевление процесса бурения.
Указанная задача решается тем, что в камере сгорания перед воспламенением горючей или взрывчатой смеси образуют свободное от горючей или взрывчатой смеси пространство, циклически либо непрерывно впрыскивая топливо и окислитель или компоненты взрывчатого вещества под углом к оси камеры сгорания или подавая и поджигая поочередно заряды взрывчатых веществ, при этом заряды взрывчатых веществ выполнены с выемками, а камера сгорания установлена в долоте.
Образование и воспламенение внутри камеры сгорания, находящейся в долоте, горючей или взрывчатой смеси, образуя перед воспламенением свободное от горючей или взрывчатой смеси пространство, циклически либо непрерывно впрыскивая топливо и окислитель или компоненты взрывчатого вещества под углом к оси камеры сгорания или подавая и поджигая поочередно заряды взрывчатых веществ, при этом заряды взрывчатых веществ выполнены с выемками, дает возможность осуществления физического эффекта Монро, кумулятивного сжигания смеси топлива с окислителем или компонентов взрывчатого вещества, или зарядов взрывчатого вещества.
Анализ заявляемого технического решения с уровнем техники по научно-технической и патентной документации показал, что совокупность существенных признаков заявляемого решения ранее не была известна, следовательно, оно соответствует условию патентоспособности «новизна».
Анализ известных технических решений в данной области показал, что заявляемое решение имеет признаки, которые при использовании его в заявляемой совокупности существенных признаков дает возможность получить новый технический эффект, следовательно, заявляемое решение соответствует условию патентоспособности «изобретательский уровень».
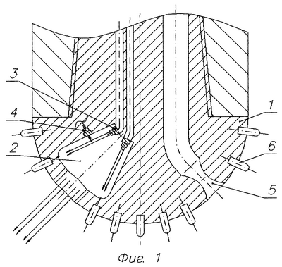
На фиг.1 схематично изображено долото с камерой сгорания, продольный разрез;
на фиг.2 схематично изображено долото, использующее заряды взрывчатых веществ.
Долото содержит корпус 1, в котором выполнена, как минимум, одна камера сгорания 2. Внутри камеры сгорания 2 установлены форсунки 3 под углом к оси камеры сгорания для подачи топлива и окислителя, или компонентов взрывчатого вещества, и сжатого воздуха. В камере сгорания 2 также находится свеча 4. В корпусе 1 выполнены промывочные сопла 5. Возможно корпус 1 армировать вставками из сверхтвердых материалов 6. В случае использования зарядов взрывчатых веществ 7 с кумулятивными выемками для разделения взрываемого заряда взрывчатого вещества 7 с кумулятивными выемками от других зарядов можно использовать, например, управляемую задвижку 8. Для усиления эффекта кумуляции возможно выемку заряда взрывчатого вещества 7 покрыть твердой, например, металлической оболочкой 9.
Способ кумулятивного бурения осуществляется следующим образом.
В камеру сгорания 2, находящуюся в корпусе 1, подается топливо и окислитель или компоненты взрывчатого вещества через форсунки 3 под углом к оси камеры сгорания 2, таким образом, чтобы образовалось пространство, свободное от горючей смеси или компонентов взрывчатого вещества. Затем горючая смесь или компоненты взрывчатого вещества воспламеняются свечой 4. При этом происходит кумулятивное сжигание горючей смеси или компонентов взрывчатого вещества в камере сгорания 2. Кумулятивная струя из камеры сгорания 2 на выходе из корпуса 1 пробивает породу, окружающую корпус 1 долота, разрушая ее. Для усиления эффекта кумуляции возможно из некоторых форсунок 3 распыление в камере сгорания 2 тяжелых веществ с плотностью, большей плотности горючей смеси или компонентов взрывчатого вещества, образуя распыленную оболочку по краю свободной от горючей смеси или компонентов взрывчатого вещества пространства. Между моментами воспламенения горючей смеси или компонентов взрывчатого вещества и во время пауз через форсунки 3 или через часть форсунок 3 подается сжатый воздух, препятствующий проникновению различных веществ в камеру сгорания 2 извне.
Для бурения на небольших глубинах возможно использование зарядов с взрывчатыми веществами 7 с кумулятивными выемками (способ и механизм подачи в долото взрывчатых веществ 7 с кумулятивными выемками могут быть различными и условно не изображены). Каждый подготовленный к воспламенению заряд с взрывчатым веществом 7 отделяется от других зарядов с взрывчатыми веществами 7. Разделение заряда с взрывчатым веществом 7 от других зарядов с взрывчатыми веществами 7 возможно производить, используя, например, управляемую задвижку 8.
Заявляемое техническое решение соответствует требованию промышленной применимости и возможно для реализации о использованием современных технологий.
Формула изобретения
Способ кумулятивного бурения, включающий создание скважины с помощью кумуляции, при этом внутри камеры сгорания, находящейся в долоте, перед воспламенением горючей или взрывчатой смеси образуют свободное от горючей или взрывчатой смеси пространство, циклически либо непрерывно впрыскивая топливо и окислитель или компоненты взрывчатого вещества под углом к оси камеры сгорания, или подавая и поджигая поочередно заряды взрывчатых веществ, при этом заряды взрывчатых веществ выполнены с выемками.
РИСУНКИ
|
|