|
(21), (22) Заявка: 2005105210/15, 28.02.2005
(24) Дата начала отсчета срока действия патента:
28.02.2005
(43) Дата публикации заявки: 10.08.2006
(46) Опубликовано: 20.01.2007
(56) Список документов, цитированных в отчете о поиске:
WO 96/33949 A1, 31.10.1996. RU 2083723 C1, 10.07.1997. RU 2128624 C1, 10.04.1999. RU 2134155 C1, 10.08.1999. RU 2142409 C1, 10.12.1999. US 4350576 A, 21.09.1982. US 5879807 A, 09.03.1999. US 2002038766 A1, 04.04.2002. US 6406612 B1, 18.06.2002. WO 01/89992 A1, 29.11.2001. SU 1812247 A1, 30.04.1993. RU 2096534 C1, 20.11.1997.
Адрес для переписки:
119992, Москва, Ленинские горы, 1, стр.75, оф.725, а/я 64, пат. пов. Е.Л.Носыревой, рег. № 886
|
(72) Автор(ы):
Авдеев Виктор Васильевич (RU), Финаенов Александр Иванович (RU), Никольская Ирина Викторовна (RU), Сорокина Наталья Евгеньевна (RU), Яковлев Андрей Васильевич (RU), Настасин Владимир Александрович (RU), Забудьков Сергей Леонидович (RU), Ионов Сергей Геннадьевич (RU), Годунов Игорь Андреевич (RU)
(73) Патентообладатель(и):
Авдеев Виктор Васильевич (RU)
|
(54) СПОСОБ ОБРАБОТКИ ГРАФИТА И РЕАКТОР ДЛЯ ЕГО ОСУЩЕСТВЛЕНИЯ
(57) Реферат:
Изобретение относится к атомной, химической промышленности, металлургии и теплоэнергетике и может быть использовано для получения гибкой графитовой фольги, сорбентов, катализаторов, химических источников тока. Суспензию графита в электролите, например в азотной кислоте, обладающую электронной проводимостью, из бункера 15 через патрубок 8 загружают в реакционную камеру, образованную катодом 3 и расходуемым анодом 7 из анодно растворимого в электролите металла или сплава. Анод 7 расположен в нижней части корпуса реактора 1 и выполнен в виде подвижной ленты, концы которой закреплены на разматывающем 10 и сматывающем 11 барабанах. На внешней стороне катода 3 размещена диафрагма 5. Проводят анодное окисление графита с получением продуктов анодного окисления, содержащих соединения внедрения в графит (СВГ) и катионы металла анода 7 при движении суспензии через реакционную камеру. Продукты анодного окисления счищают с поверхности катода 3 фторопластовым ножом 16 и выгружают через патрубок 9 в бункер-накопитель 17. Затем их подвергают гидролизу или добавляют в них щелочь или кальцинированную соду, промывают и сушат с получением окисленного графита с гидроксидами металла или без них. После этого проводят термическое расширение. Изобретение позволяет удешевить технологию и расширить технологические возможности за счет получения как традиционного пенографита, так и композиционного материала на основе пенографита с добавками металлов или их оксидов, 2 н. и 9 з.п. ф-лы, 1 ил.
Область техники
Изобретение относится к технологии углеграфитовых материалов, в частности к обработке графита для электрохимического получения соединений внедрения в графит (далее – СВГ) с последующим получением окисленного графита, пенографита или пенографита с добавками оксидов металлов или чистых металлов. Изобретение может быть использовано как для получения гибкой фольги, так и для получения сорбентов, особенно металлосорбентов, изготовления катализаторов, активных реагентов химических источников тока и в других областях техники.
Предшествующий уровень техники.
В существующем уровне техники широко представлены способы обработки графита для получения различных конечных продуктов на основе пенографита. К данным продуктам может относиться как сам пенографит, так и пенографит с добавками металлов, образующий композиционный материал.
В патенте RU 2134155 раскрывается способ обработки графита для получения сорбента. Способ включает обработку графитового порошка сильным окислителем с получением окисленного графита, смешивание порошка окисленного графита с порошком соединения железа, кобальта или никеля и органической жидкостью, термическое отделение органической жидкости после перемешивания, сушку до сыпучего состояния и последующее термическое расширение полученной сыпучей смеси. В процессе обработки получают сорбент, представляющий собой композиционный материал на основе пенографита с добавками ферромагнитных металлов.
В ряде технических решений раскрывается обработка графита для получения пенографита путем анодного окисления графита.
В частности, известен способ обработки графита, раскрытый в патенте US 4350576. Данный способ включает электрохимическую обработку путем анодного окисления графита в водных растворах H2SO4 или HNO3 при постоянной плотности тока менее чем 500 мА/см2 в течение 6-7 часов, последующую промывку водой, сушку и термообработку.
В патенте также раскрывается устройство для осуществления данного способа, содержащее цилиндрический корпус с патрубками для загрузки реагентов и выгрузки СВГ, а также установленные в корпусе анод, катод и проницаемую для электролита диафрагму, функцией которой является подпрессовка графита к аноду.
Еще один способ обработки графита раскрыт в патенте WO 96/33949. Данный способ включает подачу суспензии, содержащей графит и электролит на основе, по меньшей мере, одной сильной кислоты в реакционное пространство между анодом и катодом, подпрессовку графита к аноду и последующее анодное окисление графита путем пропускания электрического тока до образования расширяющегося СВГ, гидролиз, промывку и сушку окисленного графита.
Устройство для получения окисленного графита в соответствии с этим способом содержит реактор с корпусом, имеющим внутреннюю цилиндрическую поверхность с патрубками для загрузки реагентов и выгрузки СВГ, а также установленные в корпусе анод, катод, лопатки, радиально закрепленные на осевом горизонтальном валу, и диафрагму, проницаемую для электролита, для подпрессовки графита к аноду, выпоненную с прорезями для лопаток.
Однако платиновые покрытия не только значительно удорожают процесс анодного окисления графита, но также усложняют его производство.
Кроме того, известные технические решения не обладают должной универсальностью – до сих пор при обработке графита, включающей анодное окисление, получался только традиционный полупродукт в виде окисленного графита, который путем дальнейшего термического расширения превращался в пенографит и никто не ставил перед собой задачи получить композиционный материал на основе пенографита с добавками металлов или их оксидов.
Сущность изобретения.
Задачей изобретения является удешевление технологии за счет значительного сокращения или полного устранения использования платины, служащей в качестве инертного электропроводного покрытия в применяемых ранее конструкциях, а также расширение технологических возможностей за счет получения как традиционного окисленного графита и пенографита на его основе, так и получения композиционного материала на основе пенографита с добавками металлов или их оксидов.
Поставленная задача решается способом обработки графита, включающим следующие стадии:
(a) приготовление суспензии графита в электролите, обладающей электронной проводимостью;
(b) загрузку суспензии в реакционную камеру, образованную катодом и расходуемым анодом из непассивирующегося и анодно растворимого в электролите металла или сплава;
(c) анодное окисление графита с получением продуктов анодного окисления, содержащих соединения внедрения в графит (СВГ) и металлические катионы анода;
(d) выгрузку продуктов анодного окисления;
(e) последующую обработку продуктов анодного окисления с получением промежуточных продуктов;
(f) сушку промежуточных продуктов;
(g) термическое расширение промежуточных продуктов.
В частных воплощениях изобретения поставленная задача характеризуется тем, что последующую обработку на стадии (е) проводят путем гидролиза продуктов анодного окисления и промывки от кислоты и катионов металлов, а в качестве промежуточных продуктов получают окисленный графит.
В некоторых частных воплощениях изобретения последующую обработку на стадии (е) проводят путем увеличения рН продуктов анодного окисления для перевода катионов металлов в нерастворимые соединения в виде гидроксидов металлов, а в качестве промежуточных продуктов получают окисленный графит с поверхностными соединениями в виде гидроксидов металлов. Увеличение рН в этом случае осуществляют путем добавления щелочи или кальцинированной соды.
Для восстановления гидроксидов металлов до чистых металлов или сплавов целесообразно проводить стадию (g) в водороде.
В наилучшем воплощении изобретения в качестве электролита при приготовлении суспензии на стадии (а) целесообразно использовать азотную кислоту.
Поставленная задача также решается реактором для анодного окисления графита, содержащим:
корпус с внутренней цилиндрической поверхностью и с патрубками для загрузки суспензии графита в электролите, обладающей электронной проводимостью, и выгрузки продуктов анодного окисления;
расходуемый анод, расположенный в нижней части корпуса между патрубками загрузки и выгрузки, выполненный в виде подвижной ленты из металла или сплава, анодно растворимого в электролите, концы которой закреплены на разматывающем и сматывающем барабанах;
катод, установленный на осевом валу, и
диафрагму, размещенную на внешней стороне катода.
В частных воплощениях изобретения реактор может дополнительно содержать направляющий ролик, расположенный между патрубком выгрузки и сматывающим барабаном.
Катод в реакторе может быть выполнен в виде барабана с перфорированной боковой поверхностью.
Кроме того, катод и анод могут быть снабжены счищающими устройствами.
В этом случае анодное счищающее устройство может быть выполнено в виде фильеры, установленной перед сматывающим барабаном. Катодное устройство может быть выполнено в виде фторопластового ножа.
Изобретение осуществляется следующим образом.
В реактор для анодного окисления с анодом, выполненным из анодно растворимого в электролите металла или сплава, загружается суспензия, обладающая электронной проводимостью, и проводится анодное окисление графита.
Под суспензией, обладающей электронной проводимостью, понимаются связанно дисперсные коллоидные системы, в которых сохраняется контакт между частицами графита. При нарушении такого контакта, т.е. переходе в свободнодисперсное состояние в суспензии, ток будет проходить через электролит, тем самым процесс интеркалирования будет протекать только на тех частицах графита, которые имеют электронный контакт с токоотводом анода, т.е. наличие суспензии, обладающей электронной проводимостью позволит провести равномерное окисление всего объема графита.
Наличие электронной проводимости обусловлено подбором соотношения массы графита к массе электролита. Для суспензий на основе азотной кислоты соотношение массы графита (Мг) к массе электролита (Мэ) составляет Мг:Мэ=1:(0,14-2,5).
Проведение анодного окисления графита, находящегося в суспензии, обладающей электронной проводимостью, в электролизере с расходуемым анодом, выполненным из анодно растворимого в электролите металла или сплава, а также ленточная форма этого анода позволяют не только получить продукт анодного окисления, содержащий СВГ, но также и ввести в объем суспензии катионы металла анода.
Далее в зависимости от того, что мы хотим получить в качестве конечного продукта – традиционный пенографит или композиционный материал в виде пенографита с добавками металлов или их оксидов, возможно проведение следующих действий.
Для получения традиционного пенографита полученный продукт анодного окисления, содержащий соединения внедрения и катионы металлов расходуемого анода, подвергают гидролизу, последующей промывке для удаления кислоты и катионов металла и сушке до сыпучего состояния, в результате чего получают промежуточный продукт в виде окисленного графита.
Затем окисленный графит подвергают последующему термическому расширению с получением традиционного пенографита.
Если же ставится задача получить композиционный материал с особыми свойствами, например, для использования в катализаторах или в сорбентах, то с полученным продуктом анодного окисления, содержащим СВГ и катионы металлов, поступают согласно следующему. Сначала увеличивают концентрацию гидроксильных групп путем увеличения рН до 4,5-5,5 суспензии. Увеличение рН проводят путем добавления щелочи, в качестве которой можно использовать NaOH, Ca2OH, KOH или добавления кальцинированной соды.
При добавлении щелочи катионы металлов переводятся в нерастворимые соединения гидроксидов металлов, которые осаждаются на поверхности частиц окисленного графита.
Полученные промежуточные продукты могут быть просто просушены до сыпучего состояния, а потом подвергнуты термическому расширению с получением композиционной структуры на основе пенографита с равномерно распределенными в нем оксидами металлов.
Упомянутые промежуточные продукты дополнительно могут быть подвергнуты термообработке в водороде, что позволит восстановить гидрооксиды металлов через оксиды до металлов с одновременным или последующим термическим расширением. По этому пути можно получить, например, так называемый металлосорбент, применяющийся для сбора загрязнений – такие сорбенты легко собираются магнитными ловушками.
Таким образом, в соответствии с изобретением, имеется возможность получать либо обычный терморасширенный графит (пенографит), либо композиционный материал, содержащий терморасширенный графит и металл или оксиды металла.
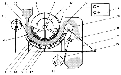
На чертеже приведена схема электролизера для электрохимической обработки суспензий графита с ленточным подвижным анодом, где обозначено:
1 – корпус реактора;
2 – вал привода катода со скользящим электрическим контактом;
3 – катод;
4 – боковая перфорированная поверхность катода;
5 – диафрагма;
6 – спица катода;
7 – расходуемый анод в форме ленты;
8 – патрубок для загрузки суспензии;
9 – патрубок для выгрузки продуктов анодного окисления;
10 – разматывающий барабан;
11 – сматывающий барабан анодной ленты;
12 – дополнительные анодные контакты;
13 – блок питания;
14 – суспензия графит-кислота
15 – бункер подачи суспензии графит-кислота;
16 – фторопластовый нож;
17 – бункер-накопитель;
18 – фильера для удаления углеродного материала;
19 – клапан;
20 – направляющий ролик.
В корпусе 1 реактора на валу 2 со скользящим электрическим контактом установлен с возможностью вращения катод 3, имеющий форму барабана с перфорированной боковой поверхностью 4 для отвода выделяющихся при электрохимическом синтезе СВГ газов в полость барабана, на которой расположена диафрагма 5. Катод 3 крепится на валу 2 при помощи спиц 6, которые обеспечивают также токоподвод от вала 2 к катоду 3.
Расходуемый анод 7 расположен в нижней части корпуса между патрубками загрузки суспензии 8 и выгрузки продуктов окисления 9. Анод 7 выполнен в виде подвижной ленты из металла или сплава, анодно растворимого в электролите. Концы ленты закреплены на разматывающем 10 и сматывающем 11 барабанах.
Поскольку суспензия на основе графита обладает электронной проводимостью, то свободный объем электролита в реакторе отсутствует, электрический контакт катода с графитовой суспензией осуществляется через пропитанную электролитом диафрагму 5. Кроме того, диафрагма позволяет предотвратить короткое замыкание. В связи с высоким электрическим сопротивлением подвижного токоотвода анода 7 с целью равномерного распределения токовой нагрузки реактор оснащается дополнительными анодными контактами 12.
Электроподвод осуществляется от блока питания 13 к катоду через вал 2 с электрическим контактом, а к аноду – через контакты 12 по всей длине реакционной камеры как к анодной ленте, так и к корпусу.
Анодное окисление в заявленном устройстве осуществляется следующим образом.
Суспензия графит-кислота 14 из бункера 15 подается в зону загрузки электролизера через патрубок 8, после чего она поступает в его реакционную камеру, образованную анодом 7 и катодом 3. Перемещение суспензии осуществляется за счет движения анодной ленты 7 путем ее перемещения с разматывающего барабана 10 на сматывающий барабан 11 и вращающегося катода 3 в виде барабана.
При движении суспензии через реакционную камеру в условиях анодной поляризации происходят интеркалирование графитовой матрицы анионами кислоты, а также осаждение на поверхности графитовых частиц катионов металлов, образующихся при растворении токоотвода анода.
Образующаяся смесь СВГ с катионами металлов анода счищается с поверхности барабана катода 3 фторопластовым ножом 16 и через патрубок выгрузки 9 направляется в бункер-накопитель 17. Отработанный токоотвод анода 7 дополнительно очищается от оставшейся смеси при помощи фильеры 18 в виде плоской щели для снятия остатков твердой фазы и через клапан 19 поступает на сматывающий барабан 11 ленточною анода 7. В дальнейшем, в зависимости от степени износа, анод 7 может либо утилизироваться, либо вторично использоваться в электрохимическом синтезе СВГ.
В корпусе реактора 1 также может быть установлен направляющий ролик 20, расположенный между патрубком выгрузки 9 и сматывающим барабаном 13.
Дополнительно реактор может быть снабжен смесителем, патрубками для отходящих газов и патрубками для удаления излишком электролита, пульсационной колонной для гидролиза и промывки графита, фильтрами для фильтрации окисленного графита, сушилкой (не показаны) и т.д.
Основные параметры устройства:
Диаметр барабана катода – 366 мм
Ширина анодной ленты – 125 мм
Длина реакционной зоны – 556 мм
Скорость вращения барабана – 1/12 об/час
Скорость движения ленты – 95 мм/час.
Примеры реализации изобретения
Пример 1.
В смесителе изготавливали суспензию графита с размером частиц основной фракции более 200 мкм и азотной кислоты, отношение электропроводности которой к электропроводности азотной кислоты превышало единицу, т.е. суспензию, обладающую электронной проводимостью. Из смесителя суспензия поступала в реакционную камеру реактора, подвижный ленточный анод которого был выполнен из нержавеющей стали марки 12Х18Н10Т.
Параметры обработки: I=200A, t=60 мин до пропускания количества электричества 200 А·ч для суспензии на базе 58%-ной азотной кислоты массой 2,5 кг при соотношении Мг: Мэ=1:1,5. При обработке в течение 60 мин была получена смесь СВГ с катионами металлов анода, которая затем подвергалась гидролизу, промывке и сушке. В результате из смеси вымывались все катионы – получался окисленный графит. Затем окисленный графит подвергался последующему расширению при 900°С и получался пенографит с насыпной плотностью 3,5 г/л. Причем из 200 А·ч пропущенного электричества 70 уходило на растворение стали, а 130 – на окисление графита.
Пример 2.
Проводилось анодное окисление графита в реакторе с подвижным ленточным анодом.
Параметры обработки: I=100A, t=120 мин до пропускания количества электричества 200 А·ч для суспензии на базе 58%-ной азотной кислоты массой 2,3 кг при соотношении Mг:Mэ=1:1,3. При обработке в течение 120 мин был получен СВГ с катионами металлов анода. Промывка водой не проводилась. В полученную смесь СВГ и катионов металлов анода добавлялось 140 г кальцинированной соды. В результате получали в качестве промежуточного продукта окисленный графит с поверхностными соединениями в виде гидроксидов металлов, который подвергали сушке. После термического расширения получали пенографит, содержащий от 3 до 7% оксидов металла в пересчете на чистый металл с насыпной плотностью 6 г/л.
Пример 3.
Проводилось анодное окисление графита в реакторе с подвижным ленточным анодом. В качестве материала токоотвода анода использовался алюминий.
Параметры обработки: I=300A, t=40 мин до пропускания количества электричества 200 А·ч для суспензии на базе 58%-ной азотной кислоты массой 2,4 кг при соотношении Мг:Мэ=1:1,4. При обработке в течение 40 мин была получена смесь СВГ с катионами алюминия. Промывка от ионов металла не проводилась. В полученный продукт на основе СВГ и катионов алюминия добавлялось 450 г NaOH, в результате получали окисленный графит с поверхностными соединениями в виде гидроксидов алюминия. Полученный продукт сушили и отжигали в водороде при 900°С в течение 25 мин, при этом получался пенографит с насыпной плотностью 6,5 г/л, содержащий 3-10 мас.% алюминия.
Пример 4.
Проводилось анодное окисление графита в реакторе с подвижным ленточным анодом. В качестве материала анода использовался никель.
Параметры обработки: I=300A, t=60 мин до пропускания количества электричества 300 А·ч для суспензии на базе 58%-ной азотной кислоты массой 2,5 кг при соотношении Мг:Мэ=1:1,5. При обработке в течение 60 мин был получен СВГ. Промывка от ионов металла не проводилась. В полученный продукт на основе СВГ и катионов никеля добавлялось 450 г NaOH, в результате получали окисленный графит с поверхностными соединениями в виде гидроксидов никеля. Полученный продукт сушили и отжигали в водороде при 900°С в течение 25 мин, при этом получался пенографит с насыпной плотностью 5,5 г/л, содержащий 3-7 мас.% никеля.
Формула изобретения
1. Способ обработки графита, характеризующийся следующими стадиями:
(a) приготовление суспензии графита в электролите, обладающей электронной проводимостью;
(b) загрузку суспензии в реакционную камеру, образованную катодом и расходуемым анодом из анодно-растворимого в электролите металла или сплава;
(c) анодное окисление графита с получением продуктов анодного окисления, содержащих соединения внедрения в графит (СВГ) и металлические катионы анода;
(d) выгрузку продуктов анодного окисления;
(e) последующую обработку продуктов анодного окисления с получением промежуточных продуктов;
(f) сушку промежуточных продуктов;
(g) термическое расширение промежуточных продуктов.
2. Способ по п.1, характеризующийся тем, что последующую обработку на стадии (е) проводят путем гидролиза продуктов анодного окисления и промывки от кислоты и металлических катионов, а в качестве промежуточных продуктов получают окисленный графит.
3. Способ по п.1, характеризующийся тем, что последующую обработку на стадии (е) проводят путем увеличения рН продуктов анодного окисления для перевода металлических катионов в нерастворимые соединения в виде гидроксидов металлов, а в качестве промежуточных продуктов получают окисленный графит с поверхностными соединениями в виде гидроксидов металлов.
4. Способ по п.3, характеризующийся тем, что увеличение рН осуществляют путем добавления щелочи или кальцинированной соды.
5. Способ по п.3, характеризующийся тем, что стадию (g) осуществляют в водороде.
6. Способ по п.1, характеризующийся тем, что в качестве электролита при приготовлении суспензии на стадии (а) используют азотную кислоту.
7. Реактор для анодного окисления графита, характеризующийся тем, что содержит
корпус с внутренней цилиндрической поверхностью и с патрубками для загрузки суспензии графита в электролите, обладающей электронной проводимостью, и выгрузки продуктов анодного окисления;
расходуемый анод, расположенный в нижней части корпуса между патрубками загрузки и выгрузки, выполненный в виде подвижной ленты из металла или сплава, анодно-растворимого в электролите, концы которой закреплены на разматывающем и сматывающем барабанах;
катод, установленный на осевом валу, и
диафрагму, размещенную на внешней стороне катода.
8. Реактор по п.7, характеризующийся тем, что он дополнительно содержит направляющий ролик, расположенный между патрубком выгрузки и сматывающим барабаном.
9. Реактор по п.7, характеризующийся тем, что катод выполнен в виде барабана с перфорированной боковой поверхностью.
10. Реактор по п.7, характеризующийся, что катод и анод снабжены счищающими устройствами.
11. Реактор по п.10, характеризующийся тем, что анодное счищающее устройство выполнено в виде фильеры, установленной перед сматывающим барабаном.
РИСУНКИ
|