|
|
(21), (22) Заявка: 2004111974/28, 17.09.2002
(24) Дата начала отсчета срока действия патента:
17.09.2002
(30) Конвенционный приоритет:
21.09.2001 (пп.1-11, 13-28) EP 01122801.2 29.10.2001 (п.12) EP 01125774.8 15.03.2002 US 60/364,089
(43) Дата публикации заявки: 10.05.2005
(46) Опубликовано: 10.01.2007
(56) Список документов, цитированных в отчете о поиске:
WO 00/57141 A1, 28.09.2000. US 5796011 А, 18.08.1998. WO 01/33174 А1, 10.05.2001. SU 1765698 A1, 30.09.1992.
(85) Дата перевода заявки PCT на национальную фазу:
21.04.2004
(86) Заявка PCT:
EP 02/10427 (17.09.2002)
(87) Публикация PCT:
WO 03/027616 (03.04.2003)
Адрес для переписки:
103735, Москва, ул.Ильинка, 5/2, ООО”Союзпатент”, Силаевой А.А.
|
(72) Автор(ы):
АНКЛИН Мартин (CH), ВЕНГЕР Альфред (CH)
(73) Патентообладатель(и):
ЭНДРЕСС+ХАУЗЕР ФЛОУТЕК АГ (CH)
|
(54) ИЗМЕРИТЕЛЬНЫЙ ВИБРАЦИОННЫЙ ПРЕОБРАЗОВАТЕЛЬ, ПРИМЕНЕНИЕ ИЗМЕРИТЕЛЬНОГО ВИБРАЦИОННОГО ПРЕОБРАЗОВАТЕЛЯ И СПОСОБ УМЕНЬШЕНИЯ ЧУВСТВИТЕЛЬНОСТИ К ДАВЛЕНИЮ ИЗМЕРИТЕЛЬНОГО ВИБРАЦИОННОГО ПРЕОБРАЗОВАТЕЛЯ
(57) Реферат:
Измерительный преобразователь может быть использован в кориолисовом массовом расходомере. Преобразователь содержит, по меньшей мере, одну измерительную трубку для протекания текучей среды, которая через вставленный во входной конец входной патрубок и вставленный в выходной конец выходной патрубок сообщена с трубопроводом и совершает при работе изгибные колебания вокруг воображаемой оси, соединяющей входной и выходной концы. Измерительная трубка имеет, по меньшей мере, одну дугообразную секцию заданной пространственной формы, которая с входной и выходной сторон примыкает к соответствующей прямой секции трубки. На дугообразной секции или вблизи нее на прямых секциях закреплен, по меньшей мере, один служащий для стабилизации пространственной формы кольцевой элемент жесткости. Посредством элементов жесткости значительно уменьшается нежелательная в большинстве случаев поперечная чувствительность измерительного преобразователя к давлению внутри измерительной трубки или к его изменениям и тем самым повышается точность измерения массового расхода или плотности простыми и недорогими средствами. 3 н. и 25 з.п. ф-лы, 3 ил.
Изобретение относится к измерительному преобразователю вибрационного типа, пригодному, в частности, для кориолисова массового расходомера или кориолисова массового расходомера/плотномера, а также к его применению и к способу уменьшения чувствительности к давлению измерительного вибрационного преобразователя.
В технике измерений и автоматизации для определения массового расхода и/или плотности протекающей в трубопроводе текучей среды, в частности жидкости, часто используют такие измерительные приборы, которые посредством измерительного вибрационного преобразователя и присоединенной к нему измерительно-эксплуатационной схемы вызывают в протекающей текучей среде силы реакции, в частности соответствующие массовому расходу силы Кориолиса и соответствующие плотности силы инерции и на их основе формируют представляющий данный массовый расход и/или данную плотность текучей среды измерительный сигнал.
Подобные кориолисовы массовые расходомеры или кориолисовы массовые расходомеры/плотномеры описаны, например, в WO-A 01/33174, WO-A 00/57141, WO-A 98/07009, US-A 5796011, US-A 5731527, US-A 4895030, US-A 4781069, ЕР-А 1001254, ЕР-А 553939 и ЕР-А 1154243. Эти кориолисовы массовые расходомеры или кориолисовы массовые расходомеры/плотномеры с использованием измерительного преобразователя вибрационного типа формируют соответствующие измерительные сигналы, причем каждый измерительный преобразователь содержит, по меньшей мере, одну, служащую для протекания текучей среды, имеющую входной и выходной концы, согнутую, по меньшей мере, на отдельных секциях и, по меньшей мере, временно вибрирующую измерительную трубу с заданным проходом, которая для протекания текучей среды через вставленный во входной конец входной патрубок и вставленный в выходной конец выходной патрубок сообщена с присоединенным трубопроводом, а для изменения прохода совершает при работе изгибные колебания вокруг первой колебательной оси, воображаемым образом соединяющей входной и выходной концы.
Для возбуждения или поддержания колебаний, по меньшей мере, одной измерительной трубки на измерительных вибрационных преобразователях предусмотрено далее по одному питаемому названной измерительно-эксплуатационной схемой устройству возбуждения, по меньшей мере, одной измерительной трубки. Устройство возбуждения содержит для этого, по меньшей мере, один первый, предпочтительно электродинамический или электромагнитный, возбудитель колебаний, через который при работе протекает переменный, в частности биполярный, ток возбуждения и который преобразует ток возбуждения в действующую на измерительную трубу силу возбуждения.
В согнутых, например согнутых U- или V-образно в одной плоскости измерительных трубках, в частности кориолисовых массовых расходомеров, обычно возбуждают в так называемой полезной моде консольные колебания, при которых измерительные трубки вместе с упругой деформацией колеблются вокруг первой колебательной оси измерительного преобразователя. Для этого возбудитель колебаний расположен в измерительном преобразователе обычно так, что он воздействует на измерительную трубку, в частности, по центру, в пучности колебаний полезной моды.
Будучи обусловлены маятниковыми консольными колебаниями вокруг продольной оси, в протекающей среде создаются, как известно, силы Кориолиса, которые в свою очередь приводят к тому, что на возбужденные консольные колебания полезной моды накладываются консольные колебания такой же частоты в так называемой моде Кориолиса. У измерительных преобразователей описанного рода эти созданные силами Кориолиса консольные колебания обычно соответствуют вращательным колебаниям вокруг, в частности, перпендикулярной первой колебательной оси второй колебательной оси, которая проходит в основном параллельно воображаемой вертикальной оси измерительного преобразователя.
У трубки согнутой формы, как известно, термически обусловленные расширения, в частности также при применении материалов с высоким коэффициентом теплового расширения, практически не вызывают или вызывают лишь очень незначительные механические напряжения в самой измерительной трубе и/или в присоединенном трубопроводе. Далее измерительная трубка может быть выполнена длинной, в частности также далеко выдающейся, и тем самым, несмотря на относительно короткую монтажную длину, в частности, даже при относительно низкой мощности возбуждения, может быть достигнута высокая чувствительность измерительного преобразователя к измеряемому массовому расходу.
Названные обстоятельства позволяют также изготовить измерительную трубку или трубки из материалов с высоким коэффициентом теплового расширения и/или высоким модулем упругости, например из специальной стали.
Обе расположенные параллельно друг другу, имеющие в основном идентичную форму измерительные трубки описанных в US-A 5796011 и WO-A 01/33174 измерительных преобразователей в основном постоянно согнуты, т.е. они практически нигде не прямые.
В противоположность этому измерительные трубки измерительных вибрационных преобразователей, описанных, например, в US-A 5731527, US-A 5301557, US-A 4895030, WO-A 00/57141, WO-A 01/33174 или ЕР-А 1154243, имеют каждая, по меньшей мере, две прямые секции, соединенные между собой дугообразной, в частности в форме дуги окружности, секцией. Подобные согнутые измерительные трубки с прямыми секциями отличаются по сравнению с постоянно согнутыми измерительными трубками, в частности, тем, что они могут изготавливаться посредством очень простых гибочных инструментов недорого. В то время как постоянно согнутые измерительные трубки имеют обычно далеко выдающиеся дугообразные секции и в большинстве случаев также несколько секций с разными по величине радиусами кривизны, измерительные трубки с прямым секциями могут изготавливаться также с применением таких дугообразных секций, которые имеют единственный радиус кривизны и/или также сравнительно малые радиусы кривизны.
Предпочтительно измерительные трубки при работе заставляют вибрировать при естественной в данный момент времени резонансной частотой, в частности при постоянно регулируемой амплитуде колебаний. Поскольку естественная резонансная частота, как известно, зависит также от плотности текучей среды в данный момент, можно посредством стандартных кориолисовых массовых расходомеров измерять помимо массового расхода, например, также плотность протекающих сред.
Для локальной регистрации вибраций измерительной трубки и для формирования соответствующих им сигналов датчиков каждый из измерительных преобразователей содержит далее датчиковое устройство, по меньшей мере, с одним, например также электродинамическим, датчиком колебаний с входной стороны и, по меньшей мере, с одним с выходной стороны. Из-за наложения полезной моды и моды Кориолиса зарегистрированные посредством датчикового устройства с входной стороны и с выходной стороны колебания измерительной трубы и тем самым также соответствующие им сигналы датчиков имеют, как известно, зависимую также от массового расхода разность фаз. Посредством уже упомянутой измерительно-эксплуатационной схемы эту разность фаз можно использовать в известной специалисту, измеренной непосредственно или, например, также с помощью разности амплитуд косвенно и для формирования представляющего массовый расход измерительного сигнала. Далее посредством измерительно-эксплуатационной схемы с учетом актуальной частоты, по меньшей мере, одного из обоих сигналов датчиков можно определить плотность текучей среды.
Как известно, на измерительный вибрационный преобразователь, в частности, по меньшей мере, на одну измерительную трубку, при работе помимо описанных выше желательных сил реакции воздействуют также другие физические величины, в частности также такие, на которые нельзя повлиять. Так, например, не поддерживаемая в большинстве случаев постоянной температура текучей среды, обусловленная тепловым расширением измерительной трубки, неизбежно приводит также к тому, что измерительный преобразователь помимо чувствительности к первичным измеряемым величинам – массовый расход и плотность – обладает также поперечной чувствительностью к господствующему в данный момент в измерительном преобразователе распределению температуры. Для компенсации таких обусловленных температурой мешающих влияний на измерительные сигналы у кориолисовых массовых расходомеров или кориолисовых массовых расходомеров/плотномеров поэтому предусмотрен обычно также, по меньшей мере, температурный датчик, например, для измерения температуры измерительной трубки или окружения измерительной трубки.
Далее уже известно, что подобные измерительные преобразователи вибрационного типа помимо описанной поперечной чувствительности к имеющемуся внутри пространственному и временному распределению температуры могут обладать также значительной поперечной чувствительностью к господствующему в проходе измерительной трубки статическому внутреннему давлению или к господствующей между проходом измерительной трубки и внешним окружением измерительной трубки разности давлений. В этом отношении следует сослаться, например, на US-A 5731527, US-А 5301557, WO-A 95/16897 и WO-A 98/07009. Эту поперечную чувствительность измерительного преобразователя к давлению, в частности также к изменениям давления, можно объяснить тем, что текучая среда в зависимости от величины внутреннего давления или разности давлений противодействует деформации вибрирующей измерительной трубки за счет встречного усилия разной величины.
К сожалению, такая поперечная чувствительность измерительного преобразователя к давлению может привести к нежелательному в большинстве случаев перекрестному влиянию давления на соответствующие массовому расходу силы Кориолиса. Для обеспечения требуемой высокой точности измерений, которая должна составлять обычно, по меньшей мере, около ±0,15% фактического массового расхода или фактической плотности, требуются поэтому, в частности, при колеблющемся потенциально в широком диапазоне, например более 5 бар, внутреннем давлении дополнительные меры для компенсации зависимости измерительных сигналов от давления.
Для решения проблемы, например, в US-A 5301557 предложено использовать измерительные трубки сравнительно большой толщины стенок с тем, чтобы противодействовать упругим деформациям данной измерительной трубки, правда, очень высоким, в целом, однако практически постоянным тогда встречным усилием. Это в свою очередь приводит к тому, в частности также из-за связанного с этим возрастания массы измерительной трубки, что помимо поперечной чувствительности к давлению чувствительность измерительного преобразователя к первичным измеряемым величинам массовый расход и плотность падают. Далее в US-A 5731527 предложено аналогичное решение, у которого прямые секции трубки снабжают трубчатыми элементами жесткости из анизотропных, в частности армированных стекловолокном, материалов, служащими для того, чтобы придать прямым секциям трубки зависимую от ориентации действующих на секции трубки механических напряжений жесткость и выполнить, таким образом, измерительную трубку при высокой чувствительности к силам Кориолиса более прочной к давлению.
Другая возможность уменьшения поперечной чувствительности измерительного преобразователя к давлению описана далее в WO-A 98/07009 и WO-A 95/16897. Предложено определить сначала внутреннее давление или разность давлений при работе с помощью резонансных частот двух различных, возбужденных одновременно или последовательно колебательных мод, по меньшей мере, одной вибрирующей измерительной трубки и учитывать при формировании представляющего расход измерительного сигнала. Для этой цели описанное здесь устройство возбуждения дополнительно к обычному единственному возбудителю содержит, по меньшей мере, один воздействующий на измерительную трубку на расстоянии от него второй возбудитель колебаний. Поэтому, как нетрудно обнаружить, помимо механических дополнительных затрат неизбежны также значительные дополнительные затраты в отношении измерительно-эксплуатационной схемы и объема вычислений. Это приводит, с одной стороны, к заметному повышению стоимости изготовления такого кориолисова массового расходомера/плотномера. С другой стороны, подобное повышение комплексности как аппаратного обеспечения, так и программных средств означает сверхпропорциональное повышение вероятности ошибок или даже отказов и тем самым заметное повышение затрат на контроль для обеспечения требуемой эксплуатационной надежности кориолисова массового расходомера/плотномера.
Исходя из названного уровня техники, в основе изобретения лежит поэтому задача создания пригодного для кориолисова массового расходомера, в частности также для кориолисова массового расходомера/плотномера, измерительного вибрационного преобразователя, единственная измерительная трубка которого были бы проста в изготовлении, в частности также проста в гибке, а поперечную чувствительность которого к господствующему в проходе измерительной трубки внутреннему давлению или к его изменениям можно было бы поддерживать низкой сравнительно простыми, в частности также недорогими, средствами.
Для решения этой задачи измерительный вибрационный преобразователь содержит, по меньшей мере, одну изогнутую измерительную трубку, которая сообщена с присоединенным трубопроводом для измеряемой текучей среды, при этом измерительная трубка включает первую прямую секцию трубки, вторую прямую секцию трубки и, по меньшей мере, одну дугообразную секцию трубки, причем, по меньшей мере, одна дугообразная секция трубки примыкает к первой и второй прямой секциям трубки;
один возбудитель колебаний для возбуждения, по меньшей мере, одной измерительной трубки для выполнения изгибных колебаний, при этом каждая из секций трубки – первая и вторая, и одна дугообразная секция выполнены с возможностью колебания;
датчики колебаний, по меньшей мере, одной измерительной трубки; и
по меньшей мере, один элемент жесткости для уменьшения поперечной чувствительности преобразователя к давлению, и при этом, по меньшей мере, один элемент жесткости закреплен на, по меньшей мере, одной дугообразной секции трубки или вблизи нее на прямых секциях трубки для стабилизации формы поперечного сечения дугообразной секции трубки.
Другие варианты выполнения измерительного вибрационного преобразователя представлены в зависимых пунктах с 2-21.
Для решения поставленной задачи предусмотрен способ уменьшения чувствительности к давлению измерительного вибрационного преобразователя, в частности, для создания зависящих от массового расхода кориолисовых сил в движущихся текучих средах, причем преобразователь содержит, по меньшей мере, одну изогнутую измерительную трубку для пропускания измеряемой текучей среды, содержащую первую и вторую прямую секции и, по меньшей мере, одну дугообразную секцию, при этом, по меньшей мере, одна дугообразная секция примыкает к первой и второй прямой секциям трубки, причем предусмотрен, по меньшей мере, один возбудитель колебаний для возбуждения, по меньшей мере, одной измерительной трубки для выполнения изгибных колебаний, датчики колебаний для восприятия колебаний, по меньшей мере, одной измерительной трубки и, по меньшей мере, один элемент жесткости, выполненный с возможностью стабилизации формы дугообразной секции трубки, причем способ содержит стадию закрепления, по меньшей мере, одного элемента жесткости на, по меньшей мере, одной дугообразной секции трубки или вблизи нее на прямых секциях трубки.
Другие варианты выполнения способа согласно изобретению представлены в зависимых пунктах с 23-28.
Основная идея изобретения состоит в том, чтобы посредством локального усиления как можно меньшей массы в особенно восприимчивой к давлению зоне, по меньшей мере, одной дугообразной секции измерительной трубки поддерживать последнюю, по меньшей мере, в сечении частично как можно более формоустойчивой и тем самым практически всю измерительную трубку стабилизировать таким образом, чтобы связанные с изгибными колебаниями деформации прохода измерительной трубки были почти независимы от господствующего внутреннего давления или независимы от названной разности давлений. За счет этих относительно небольших дополнительных масс на измерительной трубке и тем самым в равной мере поддерживаемой малой общей массы измерительной трубки практически сохраняется уже достигнутая обычными измерительными преобразователями высокая чувствительность к первичным измеряемым величинам массовый расход и плотность.
Изобретение основано на том факте, что у согнутых описанным образом измерительных трубок зависимость деформации от давления сконцентрирована, правда, в основном на сравнительно коротких дугообразных секциях, однако может быть выражена здесь настолько сильно, что этот эффект для высокоточного определения первичных измеряемых величин не может оставаться больше неучтенным.
Изобретение и его другие преимущества более подробно поясняются ниже на изображенных на чертеже примерах выполнения; одинаковые детали обозначены одинаковыми ссылочными позициями. Для наглядности уже присвоенные ссылочные позиции на последующих фигурах отсутствуют. На чертеже представляют:
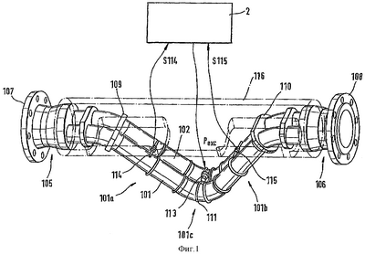
фиг.1: в перспективе первый вариант измерительного вибрационного преобразователя, пригодного, в частности, для кориолисова массового расходомера или кориолисова массового расходомера/плотномера;
фиг.2: в перспективе второй вариант измерительного вибрационного преобразователя типа, пригодного, в частности, для кориолисова массового расходомера или кориолисова массового расходомера/плотномера;
фиг.3: измерительную трубку измерительного вибрационного преобразователя по фиг.1 и/или 2 при виде сбоку.
На фиг.1, 2 изображены примеры выполнения измерительного вибрационного преобразователя 1, реагирующего, в частности, на массовый расход m протекающей в трубопроводе (не показан) текучей среды. Измерительный вибрационный преобразователь, используемый, например, в виде измерительного вибрационного преобразователя в кориолисовом массовом расходомере, может служить для создания в протекающей текучей среде сил Кориолиса, их регистрации с помощью датчика и преобразования в обрабатываемые электронным путем измерительные сигналы.
Для протекания измеряемой текучей среды измерительный вибрационный преобразователь 1 содержит первую согнутую измерительную трубку 101 с заданным проходом. Измерительная трубка 101, как хорошо видно на фиг.1-3, выполнена таким образом, что она имеет с входной стороны первую прямую секцию 101a, а с выходной стороны – вторую прямую секцию 101b. Обе прямые секции соединены между собой дугообразной, например в форме дуги окружности, секцией 101с заданной пространственной формы, а именно ориентированы по отношению друг к другу предпочтительно так, что измерительная трубка 101 образует практически плоскую поверхность. В качестве материала для измерительной трубки 101 рассматриваются практически любые, обычно применяемые для таких измерительных трубок материалы, например сплавы специальной стали, титановые, танталовые или циркониевые сплавы.
Измерительная трубка 101 согнута предпочтительно U-образно или, как показано на фиг.1, V-образно, как это описано, например, также в ЕР-А 1154243. Другие пригодные пространственные формы измерительной трубки 101 описаны, например, в приведенных выше публикациях US-A 5731527, US-A 5301557, US-A 4895030, WO-A 01/33174 или WO-A 00/57141.
Как показано на фиг.1-3, измерительная трубка 101 вставлена входным концом во входной патрубок 103, а выходным концом – в выходной патрубок 104. Входной 103 и выходной 104 патрубки при встроенном измерительном приборе соединены соответственно с секцией с входной стороны и секцией с выходной стороны направляющего текучую среду и обычно прямого трубопровода. Оба патрубка 103, 104 ориентированы поэтому предпочтительно соосно по отношению друг к другу и к соединяющей их воображаемым образом продольной оси A1 измерительного преобразователя.
Предпочтительно измерительная трубка 101, а также входной 103 и выходной 104 патрубки изготовлены из единой трубчатой заготовки соответствующей длины. При этом заготовка известным специалисту образом, например посредством гибки на оправке или гибки в прессе и т.п., может быть доведена до нужной формы, а затем обрезана до требуемой длины.
В том случае, если измерительный вибрационный преобразователь должен быть установлен в трубопроводе разъемно, то предпочтительно на входном патрубке 103 отформован первый фланец 107, а на выходном патрубке 104 – второй фланец 108; в случае необходимости входной 103 и выходной 104 патрубки могут быть соединены с трубопроводом также непосредственно, например сваркой или высокотемпературной пайкой.
Помимо первой измерительной трубки 101 измерительный вибрационный преобразователь 1 содержит в изображенном здесь примере выполнения идентичную, в частности, измерительной трубке 101 вторую измерительную трубку 102; последняя, однако, необязательна, т.е. измерительный вибрационный преобразователь может содержать, например, только одну согнутую измерительную трубку, как это описано в US-A 5549009 и в предварительно не опубликованной европейской заявке 01112546.5.
Как принято у подобных двухтрубных измерительных вибрационных преобразователей, у измерительного преобразователя в примере выполнения входной патрубок 103 вставлен во входной распределитель 105, а выходной патрубок 104 – в соответствующий выходной распределитель 106, так что измерительная трубка 101 при работе сообщается с присоединенным трубопроводом практически через входной 103 и выходной 104 патрубки, а также входной 105 и выходной 106 распределители. Аналогично этому измерительная трубка 102 также соединена с трубопроводом через входной 105 и выходной 106 распределители.
Предпочтительно измерительный вибрационный преобразователь 1 содержит далее, по меньшей мере, одну несущую раму 116 для удержания измерительной трубки 101 или измерительных трубок 101, 102 с крышкой (не показана) для выступающих за несущую раму секций измерительной трубы.
При работе измерительного вибрационного преобразователя 1 в двух здесь измерительных трубках 101, 102 в полезной моде возбуждают изгибные колебания вокруг колебательной оси, в основном параллельной продольной оси A1 измерительного вибрационного преобразователя, в частности, на естественной резонансной частоте собственной моды, а именно так, что измерительная трубка 101, как это обычно бывает у измерительных вибрационных преобразователей, во всяком случае в зоне секций 101а, 101b, 101с, вибрирует преимущественно в противофазе к измерительной трубке 102.
Созданные за счет этого в протекающей текучей среде силы Кориолиса вызывают, как известно, зависимую также от измеряемого массового расхода m, дополнительную упругую деформацию измерительных трубок 101, 102, которая наложена на деформации измерительной трубки 101 или 102, вызванные изгибными колебаниями полезной моды. Здесь следует еще раз подчеркнуть, что при колебаниях измерительной трубки 101, в частности также при изгибных колебаниях в полезной моде, каждая из секций 101а, 101b, 101с, по меньшей мере, на отдельных отрезках продольно отклоняется и при этом, по меньшей мере, на отдельных отрезках упруго деформируется, например слегка изгибается и/или скручивается.
В случае необходимости возможные механические колебания, вызванные вибрирующими измерительными трубками 101, 102 во входном 103 и выходном 104 патрубках, могут быть уменьшены, например, за счет того, что измерительные трубки 101, 102, как это обычно бывает у измерительных вибрационных преобразователей, механически соединены между собой с входной стороны посредством, по меньшей мере, одной первой узловой плиты 109, а с выходной стороны – посредством, по меньшей мере, одной второй узловой плиты 110.
Для приведения измерительных труб 101, 102 в действие измерительный преобразователь 1 содержит, по меньшей мере, один возбудитель 113 колебаний. Он служит для преобразования электрической мощности Pехс возбуждения, введенной соответствующей измерительно-эксплуатационной схемой 2, например кориолисова массового расходомера, в такие, например пульсирующие или гармонические, силы Fехс возбуждения, которые действуют на измерительные трубки 101, 102 симметрично, т.е. одновременно, равномерно, однако в разных направлениях и тем самым вырабатывают противофазные друг другу колебания измерительных труб 101, 102. Силы Fexc возбуждения могут быть отрегулированы по амплитуде известным специалисту образом, например, посредством схемы регулирования тока и/или напряжения, а по частоте, например, посредством контура регулирования фазы (US-A 4801897). Следует еще упомянуть, что измерительно-эксплуатационная схема 2 размещена известным специалисту образом в соответствующем электронном корпусе (не показан), который может быть смонтирован, например, непосредственно на измерительном вибрационном преобразователе или расположен на удалении от него.
Для регистрации колебаний вибрирующих измерительных трубок 101, 102 измерительный вибрационный преобразователь 1 содержит далее первый датчик 114 колебаний с входной стороны и второй датчик 115 колебаний с выходной стороны, причем оба датчика 114, 115 колебаний, реагирующих на движения измерительных трубок 101, 102, в частности их продольные отклонения и/или деформации, формируют соответствующий первый s114 и второй s115 колебательные сигналы. Оба датчика 114, 115 колебаний предпочтительно одинаковы по конструкции; кроме того, они могут быть выполнены также в основном одинаковой конструкции с возбудителем колебаний.
Как уже сказано, только изгибные колебания в полезной моде уже вырабатывают, по меньшей мере, на отдельных отрезках упругую деформацию измерительной трубки 101. Эта деформация сказывается, в частности, также на пространственной форме дугообразной секции 101с и тем самым на форме прохода измерительной трубки в этой зоне, в частности также в сечении.
В зависимости от господствующего в измерительной трубке 101 статического внутреннего давления или в зависимости от соответствующего распределения давления деформация измерительной трубки 101, в частности, однако, дугообразной секции 101с, может быть при работе измерительного преобразователя разной. Это в свою очередь может у таких измерительных преобразователей, например при колеблющемся внутреннем давлении или колеблющемся распределении давления, привести к тому, что созданные полезной модой силы Кориолиса, несмотря на постоянный массовый расход, будут разной величины, т.е. обычные измерительные преобразователи описанного рода могут обладать также высокой поперечной чувствительностью к давлению, в частности к статическому давлению, которой нельзя пренебрегать.
При этом неожиданным образом оказалось, что эта поперечная чувствительность в значительной степени объясняется зависимым от давления изменением пространственной формы измерительной трубы в относительно маленькой зоне дугообразных секций, в частности также изменениями в сечении.
Для подавления или, по меньшей мере, снижения этой поперечной чувствительности измерительного вибрационного преобразователя 1 и тем самым также для уменьшения возможного перекрестного влияния давления на соответствующие массовому расходу силы Кориолиса поэтому, согласно изобретению, предусмотрен, по меньшей мере, один первый элемент 111 жесткости для измерительной трубки 101, который, как показано на фиг.1 или 2, фиксирован в зоне дугообразной секции 101с на измерительной трубке 101. Элемент 111 жесткости служит здесь для стабилизации пространственной формы, в частности также формы поперечного сечения, вибрирующей описанным выше образом секции 101с так, чтобы последняя, несмотря на изменяющееся статическое давление в проходе измерительной трубки, реагировала на поддерживаемый практически постоянным массовый расход почти одинаковым образом путем изменения своей пространственной формы. Для этого элемент 111 жесткости фиксирован на измерительной трубке 101 так, что его продольные колебательные движения по сравнению с обычными измерительными трубами такой же формы без такого элемента жесткости остаются в основном без влияния.
Элемент 111 жесткости фиксирован в соответствии с этим только на измерительной трубке 101, так что в противоположность, например, к узловым плитам 109, 110 он практически ничем не противодействует колебаниям измерительной трубки 101, за исключением поддерживаемой как можно более низкой инерции масс. Иначе говоря, элемент 111 жесткости в целях стабилизации пространственной формы секции 101с не должен быть соединен ни с возможной второй измерительной трубкой 102, ни с несущей рамой 116, например посредством пружиняще-упругих и/или демпфирующих элементов, так что измерительная труба 101, в частности, однако, ее секции 101а, 101b, 101с, могут по-прежнему колебаться в основном свободно. В случае необходимости элемент 111 жесткости может служить при этом, например, также держателем для возбудителя 113 колебаний, как это показано на фиг.1 и 2.
В качестве материалов для элемента 111 жесткости могут применяться, например, те же, что и для измерительной трубки 101. Поскольку элемент 111 жесткости при работе не входит в соприкосновение с текучей средой, было бы достаточно, например, также металлов или металлических сплавов более низкого качества, чем для измерительной трубы 101, само собой, с учетом его совместимости, например в отношении температурной характеристики, с выбранным для измерительной трубки 101 материалом.
Согласно одному предпочтительному выполнению изобретения элемент 111 жесткости выполнен кольцеобразным и фиксирован на измерительной трубке 101 так, что она, как показано также на фиг.1 и 2, охвачена, в частности обжата, элементом 111 жесткости, а именно предпочтительно в основном коаксиально.
В частности, на тот случай, если элемент 111 жесткости выполнен кольцеобразным, он может быть установлен на измерительной трубке 101, например, посредством термоусадки. Он может быть также надет на измерительную трубку 101, например, также в разрезанном виде и соединен с измерительной трубкой 101 сваркой или пайкой, в частности твердым припоем, или, например, еще при изготовлении упомянутой выше трубчатой заготовки отформован на ней или выработан из нее. Иначе говоря, по меньшей мере, один элемент 111 жесткости фиксирован на измерительной трубке 101 предпочтительно с возможностью противодействия также таким, в частности обусловленным колебаниями давления или пониженным давлением, силам или напряжениям в измерительной трубке 101, которые иначе привели бы к нежелательным деформациям или, в частности, к радиальным искажениям сечения вместе с частичными уменьшениями диаметра секции 101с.
Согласно первому предпочтительному варианту изобретения, по меньшей мере, один элемент 111 жесткости размещен непосредственно на дугообразной секции 101с измерительной трубки 101 (фиг.1).
Согласно второму предпочтительному варианту изобретения элемент 111 жесткости размещен вблизи дугообразной секции 101с на прямой с входной стороны секции 101а (фиг.2). По меньшей мере, у этого варианта изобретения измерительный преобразователь содержит далее, по меньшей мере, один идентичный элементу 111 жесткости второй элемент 112 жесткости для измерительной трубы 101. Элемент жесткости фиксирован у этого варианта, как показано на фиг.2, предпочтительно на прямой секции 101b, а именно также вблизи дугообразной секции 101с, в частности на таком же расстоянии от середины измерительной трубы, что и элемент 111 жесткости. Как хорошо видно на фиг.1, у упомянутого выше первого варианта могут быть предусмотрены два элемента 111, 112 жесткости для дугообразной секции 101с.
Исследования показали далее, что применение элемента 111 жесткости предпочтительно сказывается на поперечной чувствительности измерительного преобразователя прежде всего тогда, когда измерительная трубка 101 имеет внутренний диаметр более 40 мм, в частности более 50 мм.
Преимущество изобретения следует усматривать также в том, что такими элементами жесткости без больших дополнительных технических затрат вполне могут быть дооснащены также уже существующие измерительные преобразователи или же находящиеся в производстве, благодаря чему точность измерений можно простым образом значительно повысить даже у простых кориолисовых массовых расходомеров.
Формула изобретения
1. Измерительный вибрационный преобразователь, содержащий, по меньшей мере, одну изогнутую измерительную трубку, которая сообщена с присоединенным трубопроводом для измеряемой текучей среды, при этом измерительная трубка включает первую прямую секцию трубки, вторую прямую секцию трубки и, по меньшей мере, одну дугообразную секцию трубки, причем, по меньшей мере, одна дугообразная секция трубки примыкает к первой и второй прямым секциям трубки;
один возбудитель колебаний для возбуждения, по меньшей мере, одной измерительной трубки для выполнения изгибных колебаний, при этом каждая из секций трубки – первая и вторая, и одна дугообразная секция выполнены с возможностью колебания;
датчики колебаний, по меньшей мере, одной измерительной трубки и,
по меньшей мере, один элемент жесткости для уменьшения поперечной чувствительности преобразователя к давлению и при этом, по меньшей мере, один элемент жесткости закреплен на, по меньшей мере, одной дугообразной секции трубки или вблизи нее на прямых секциях трубки для стабилизации формы поперечного сечения дугообразной секции трубки.
2. Преобразователь по п.1, характеризующийся тем, что содержит две изогнутые измерительные трубки, при этом каждый элемент жесткости закреплен только на одной соответствующей трубке.
3. Преобразователь по п.2, характеризующийся тем, что каждая из двух изогнутых измерительных трубок сообщена с присоединенным трубопроводом, пропускающим текучую среду, подлежащую измерению,
4. Преобразователь по п.3, характеризующийся тем, что дополнительно содержит входной и выходной распределитель для соединения каждой из двух измерительных трубок с трубопроводом.
5. Преобразователь по п.2, характеризующийся тем, что измерительная трубка соединена с трубопроводом через входной патрубок, заканчивающийся во входном конце измерительной трубки, и через выходной патрубок, заканчивающийся в выходном конце измерительной трубки.
6. Преобразователь по п.5, характеризующийся тем, что воображаемая ось колебаний измерительной трубки соединяет входной и выходной концы.
7. Преобразователь по п.5, характеризующийся тем, что входной и выходной патрубки находятся на одной линии с воображаемой осью колебаний измерительной трубки.
8. Преобразователь по одному из пп.1-6 или 7, характеризующийся тем, что, по меньшей мере, одна дугообразная секция трубки примыкает к первой и второй прямым секциям трубки, причем измерительная трубка проходит в одной плоскости.
9. Преобразователь по одному из пп.1-6 или 7, характеризующийся тем, что, по меньшей мере, одна дугообразная секция трубки примыкает к первой и второй прямым секциям трубки, а измерительная трубка изогнута U-образно или V-образно.
10. Преобразователь по одному из пп.1-6 или 7, характеризующийся тем, что, по меньшей мере, одна дугообразная секция трубки примыкает к первой и ко второй прямым секциям трубки, причем измерительная трубка проходит в одной плоскости, и в котором дугообразная секция трубки имеет форму круговой дуги.
11. Преобразователь по одному из пп.1-6 или 7, характеризующийся тем, что дополнительно содержит расположенный с входной стороны первый датчик колебаний и расположенный с выходной стороны второй датчик колебаний.
12. Преобразователь по одному из пп.1-6 или 7, характеризующийся тем, что измерительная трубка имеет внутренний диаметр более 40 мм, в частности более 50 мм.
13. Преобразователь по одному из пп.1-6 или 7, характеризующийся тем, что, по меньшей мере, один элемент жесткости имеет кольцевую форму и прикреплен к измерительной трубке с окружением измерительной трубки.
14. Преобразователь по одному из пп.1-6 или 7, характеризующийся тем, что, по меньшей мере, один элемент жесткости имеет кольцевую форму и, по меньшей мере, один элемент жесткости коаксиально окружает измерительную трубку.
15. Преобразователь по одному из пп.1-6 или 7, характеризующийся тем, что, по меньшей мере, один элемент жесткости имеет кольцевую форму и, по меньшей мере, один элемент жесткости посажен на измерительную трубку с помощью термической усадки.
16. Преобразователь по одному из пп.1-6 или 7, характеризующийся тем, что, по меньшей мере, один элемент жесткости имеет кольцевую форму и, по меньшей мере, один элемент жесткости прикреплен к измерительной трубке с помощью сварки.
17. Преобразователь по одному из пп.1-6 или 7, характеризующийся тем, что, по меньшей мере, один элемент жесткости имеет кольцевую форму и, по меньшей мере, один элемент жесткости прикреплен к измерительной трубке с помощью пайки припоя.
18. Преобразователь по одному из пп.1-6 или 7, характеризующийся тем, что, по меньшей мере, один элемент жесткости имеет кольцевую форму и, по меньшей мере, один элемент жесткости прикреплен к измерительной трубке с помощью пайки твердым припоем.
19. Преобразователь по одному из пп.1-6 или 7, характеризующийся тем, что содержит два элемента жесткости для дугообразной секции трубки.
20. Преобразователь по одному из пп.1-6 или 7, характеризующийся тем, что содержит первый и второй элементы жесткости, при этом первый элемент жесткости закреплен на первой прямой секции трубки вблизи, по меньшей мере, одной дугообразной секции трубки, а второй элемент жесткости закреплен на второй прямой секции трубки вблизи, по меньшей мере, одной дугообразной секции трубки.
21. Применение измерительного вибрационного преобразователя по одному из пп.1-20 для создания и измерения зависящих от массового расхода кориолисовых сил в движущихся текучих средах.
22. Способ уменьшения чувствительности к давлению измерительного вибрационного преобразователя, в частности для создания зависящих от массового расхода кориолисовых сил в движущихся текучих средах, причем преобразователь содержит, по меньшей мере, одну изогнутую измерительную трубку для пропускания измеряемой текучей среды, содержащую первую и вторую прямые секции, и, по меньшей мере, одну дугообразную секцию, при этом, по меньшей мере, одна дугообразная секция примыкает к первой и второй прямым секциям трубки; причем предусмотрен, по меньшей мере, один возбудитель колебаний для возбуждения, по меньшей мере, одной измерительной трубки для выполнения изгибных колебаний, датчики колебаний, по меньшей мере, одной измерительной трубки и, по меньшей мере, один элемент жесткости, выполненный с возможностью стабилизации формы дугообразной секции трубки, отличающийся тем, что способ содержит стадию закрепления, по меньшей мере, одного элемента жесткости на, по меньшей мере, одной дугообразной секции трубки или вблизи нее на прямых секциях трубки.
23. Способ по п.22, характеризующийся тем, что, по меньшей мере, один элемент жесткости имеет кольцевую форму, а стадия закрепления, по меньшей мере, одного элемента жесткости содержит стадию надвигания, по меньшей мере, одного элемента жесткости поверх измерительной трубки.
24. Способ по п.23, характеризующийся тем, что стадия закрепления, по меньшей мере, одного элемента жесткости содержит стадию термической усадки, по меньшей мере, одного элемента жесткости на измерительной трубке.
25. Способ по одному из пп.22-24, характеризующийся тем, что стадия закрепления, по меньшей мере, одного элемента жесткости содержит стадию соединения с помощью сварки, по меньшей мере, одного элемента жесткости с измерительной трубкой.
26. Способ по одному из пп.22-24, характеризующийся тем, что стадия закрепления, по меньшей мере, одного элемента жесткости содержит стадию соединения с помощью пайки припоем, по меньшей мере, одного элемента жесткости с измерительной трубкой.
27. Способ по одному из пп.22-24, характеризующийся тем, что стадия закрепления, по меньшей мере, одного элемента жесткости содержит стадию соединения с помощью пайки твердым припоем, по меньшей мере, одного элемента жесткости с измерительной трубкой.
28. Способ по одному из пп.22-24, характеризующийся тем, что дополнительно содержит стадию закрепления дополнительного элемента жесткости на, по меньшей мере, одной дугообразной секции трубки или на первой или второй прямых секциях трубки вблизи, по меньшей мере, одной дугообразной секции трубки.
РИСУНКИ
|
|