|
|
(21), (22) Заявка: 2004123918/06, 04.08.2004
(24) Дата начала отсчета срока действия патента:
04.08.2004
(30) Конвенционный приоритет:
05.08.2003 FR 03 09657
(43) Дата публикации заявки: 27.01.2006
(46) Опубликовано: 10.01.2007
(56) Список документов, цитированных в отчете о поиске:
FR 2696502 A1, 08.04.1994. FR 2709342 A1, 03.03.1995. US 4490973 A, 01.06.1995. US 3747345 А, 24.07.1973. RU 2143578 A1, 27.12.1999. RU 2117806 C1, 20.08.1998.
Адрес для переписки:
129010, Москва, ул. Б.Спасская, 25, стр.3, ООО “Юридическая фирма Городисский и Партнеры”, пат.пов. Г.Б. Егоровой, рег.№ 513
|
(72) Автор(ы):
БЮНЕЛЬ Жак Марсель Артюр (FR), РОШ Жак Андре Мишель (FR), РАКОТОНДРЕНИБ Бьен-Эме Оливье Соло САМЮЭЛЬ Филипп (FR), ТУШО Стефан Анри Ги (FR)
(73) Патентообладатель(и):
СНЕКМА МОТЕР (FR)
|
(54) ФОРСАЖНОЕ КОЛЬЦО ДЛЯ ДВУХКОНТУРНОГО ТУРБОРЕАКТИВНОГО ДВИГАТЕЛЯ, ФОРСАЖНОЕ УСТРОЙСТВО И ТУРБОРЕАКТИВНЫЙ ДВИГАТЕЛЬ
(57) Реферат:
Форсажное кольцо для двухконтурного турбореактивного двигателя, в котором температура потока отработанных газов первичного контура превышает температуру воздушного потока вторичного контура, имеет поворотную ось симметрии, совпадающую с осью вращения турбореактивного двигателя, содержит с одной стороны передний кольцевой кожух, образующий кольцевой канал, открытый в осевом направлении в сторону выхода, и с другой стороны рампу топливных форсунок, расположенную в кольцевом канале. Образовано множеством соединенных между собой секторов кольца. Каждый из секторов содержит сектор переднего кольцевого кожуха, каждый из которых оборудован топливным впуском, соединенным с рампой топливных форсунок. Передняя поверхность переднего кольцевого кожуха выполнена с возможностью контакта с первичным потоком. Каждый сектор кольца содержит соединительное средство, расположенное в кольцевом канале на входе рампы топливных форсунок, для установки с одной стороны топливного впуска и с другой стороны вентиляционной камеры, выполненной в кольцевом канале, по меньшей мере, на части длины сектора переднего кольцевого кожуха и на входе рампы топливных форсунок. Каждый сектор переднего кольцевого кожуха оборудован впуском вторичного воздуха, выходящего из вентиляционной камеры (2) для охлаждения рампы топливных форсунок. На выходе рампы топливных форсунок предусмотрен сектор заднего кольцевого кожуха для защиты этой рампы. Изобретение направлено на снижение термических напряжений и повышение кпд форсированного режима. 3 н. и 7 з.п. ф-лы, 12 ил.
Настоящее изобретение относится к области двухконтурных турбореактивных двигателей и, в частности, форсажных устройств.
Двухконтурные турбореактивные двигатели вырабатывают поток отработанных газов, называемый первичным контуром, температура которого превышает температуру воздушного потока, называемого вторичным контуром. Известно, что двухконтурные турбореактивные двигатели содержат форсажное устройство. Это устройство содержит наружный кольцевой корпус и кольцевой выпускной корпус, расположенный внутри наружного кольцевого корпуса на некотором расстоянии от него и содержащий внутреннюю и наружную кольцевые стенки, поворотная ось симметрии которых совпадает с осью вращения турбореактивного двигателя. Наружная стенка и наружный кольцевой корпус определяют канал вторичного контура, наружная кольцевая стенка и внутренняя кольцевая стенка определяют канал первичного контура. За зоной первого сжигания, выделяющей поток отработанных газов (первичный контур), проходящий через турбины низкого и высокого давления, турбореактивный двигатель содержит устройство, в котором применяется впрыскивание топлива в первичный контур и во вторичный контур для дожигания. Известны форсажные устройства, содержащие кольцевую горелку, расположенную во вторичном контуре, и стойки удержания пламени, расположенные в первичном контуре, газы которого смешиваются с частью газов вторичного контура. Известны также форсажные устройства, содержащие кольцевую горелку, расположенную в первичном контуре. При таком расположении возникают сильные термические напряжения.
Наиболее близким к настоящему изобретению является форсажное устройство по патенту FR 2696502, содержащее наружный корпус, включающий в себя выпускной корпус. В выпускном корпусе предусмотрены внешние и внутренние кольцевые стенки, причем внешняя кольцевая стенка удалена от наружного корпуса и формирует вместе с ним основной канал вторичного контура и поперечины связи, соединяющие внешние и внутренние стенки. Устройство также содержит кольцевую форсажную стенку, размещенную внутри наружного корпуса, отстоящую от последнего на заданное расстояние с формированием пространства для охлаждающего воздуха и ограничивающую форсажную камеру. Каждая поперечина связи содержит канал, снабженный в верхней части отверстием, сообщающимся с основным каналом, и содержащий отпирающее устройство, пересекающее нисходящую стенку поперечины и сообщающееся с форсажной камерой.
Задачей настоящего изобретения является усовершенствование известного форсажного устройства.
Поставленная задача решается тем, что предложено форсажное кольцо для двухконтурного турбореактивного двигателя, в котором температура потока отработанных газов, называемого первичным контуром, превышает температуру воздушного потока, называемого вторичным контуром, при этом кольцо имеет поворотную ось симметрии, совпадающую с осью вращения турбореактивного двигателя, содержит, с одной стороны, передний кольцевой кожух, образующий кольцевой канал, открытый в осевом направлении в сторону выхода, и, с другой стороны, рампу топливных форсунок, расположенную в кольцевом канале, и образовано множеством соединенных между собой секторов кольца, каждый из которых содержит сектор переднего кольцевого кожуха, каждый из которых оборудован топливным впуском, соединенным с рампой топливных форсунок, отличающееся тем, что передняя поверхность переднего кольцевого кожуха выполнена с возможностью контакта с первичным потоком, причем каждый сектор кольца содержит соединительное средство, расположенное в кольцевом канале на входе рампы топливных форсунок, для установки, с одной стороны, топливного впуска и, с другой стороны, вентиляционной камеры, выполненной в кольцевом канале, по меньшей мере, на части длины сектора переднего кольцевого кожуха и на входе рампы топливных форсунок, при этом каждый сектор переднего кольцевого кожуха оборудован впуском вторичного воздуха, выходящего из вентиляционной камеры для охлаждения рампы топливных форсунок, а на выходе рампы топливных форсунок предусмотрен сектор заднего кольцевого кожуха для защиты этой рампы.
Предпочтительно, чтобы в форсажном кольце сектор заднего кольцевого кожуха образовывал кольцевой канал, открытый в осевом направлении в сторону выхода, и был соединен при помощи крепежных средств с сектором переднего кольцевого кожуха.
Предпочтительно, чтобы в форсажном кольце сектор заднего кольцевого кожуха содержал средства удержания, расположенные в осевом направлении на входе, для удержания на месте рампы топливных форсунок, вентиляционной камеры на внутренней стенке сектора переднего кольцевого кожуха и для соединения сектора заднего кольцевого кожуха с внутренней стенкой сектора переднего кольцевого кожуха.
Предпочтительно также, чтобы соединительное средство содержало полость, образующую гнездо для топливного впуска и для впуска вторичного воздуха.
Предпочтительно также, чтобы вентиляционная камера содержала две полые трубы с множеством отверстий, а соединительное средство содержало два отверстия, расположенные друг против друга по окружности по обе стороны от полости, образующей воздухозаборник, и первая и вторая трубы удерживались своим открытым концом в одном из двух отверстий, и их открытый конец сообщался с полостью, образующей воздухозаборник.
Целесообразно, чтобы секторы кольца соединялись между собой при помощи боковых крепежных насадок, содержащих деталь с пазами, в которые заходят концы секторов заднего кольцевого кожуха.
Целесообразно, чтобы кривизна передней поверхности соединительного средства соответствовала кривизне задней поверхности переднего кожуха.
Поставленная задача решается также тем, что в форсажном устройстве для двухконтурного турбореактивного двигателя, в котором температура потока отработанных газов, называемого первичным контуром, превышает температуру воздушного потока, называемого вторичным контуром, содержащем наружный кольцевой корпус и выпускной кольцевой корпус, размещенный внутри наружного кольцевого корпуса на некотором расстоянии от него и содержащий внутреннюю и наружную кольцевые стенки, поворотная ось симметрии которых совпадает с осью вращения турбореактивного двигателя, при этом наружная стенка и наружный кольцевой корпус формируют канал вторичного контура, наружная кольцевая стенка и внутренняя кольцевая стенка формируют канал первичного контура, а устройство дополнительно содержит форсажные стойки, согласно изобретению наружная стенка содержит отверстия, а устройство содержит форсажное кольцо с вышеуказанными признаками, закрепленное на наружной кольцевой стенке таким образом, чтобы передняя поверхность переднего кольцевого кожуха находилась в контакте с первичным потоком и чтобы впуск вторичного воздуха каждого сектора переднего кольцевого кожуха совпадал с отверстиями наружной стенки.
Целесообразно, чтобы передний кольцевой кожух упирался в спинку форсажных стоек, а секторы переднего кольцевого кожуха соединялись между собой и со спинками форсажных стоек при помощи крепежных средств, установленных на крепежных насадках, содержащих деталь с пазами, в которые заходят концы секторов заднего кольцевого кожуха.
Поставленная задача решается также тем, что предложен турбореактивный двигатель, содержащий вышеуказанное форсажное устройство.
Прилагаемые фигуры иллюстрируют варианты выполнения настоящего изобретения, которые не носят ограничительного характера.
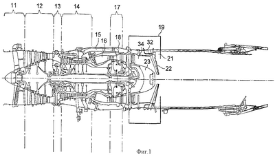
Фиг.1 изображает двухконтурный турбореактивный двигатель в разрезе.
Фиг.2 – часть двухконтурного турбореактивного двигателя, показанного на фиг.1, в разрезе.
Фиг.3 – сектор кольцевой горелки в первой фазе сборки в соответствии с настоящим изобретением.
Фиг.4 – сектор кольцевой горелки во второй фазе сборки в соответствии с настоящим изобретением.
Фиг.5 – в разрезе по А-А сектор кольцевой горелки, показанный на фиг.7.
Фиг.6 – сектор кольцевой горелки, предусмотренный на концах крепежной насадкой.
Фиг.7 – со стороны выхода сектор кольцевой горелки, предусмотренный на концах крепежной насадкой.
Фиг.8 – общую схему форсажного устройства, в данном случае не содержащего кольцевой горелки в соответствии с настоящим изобретением.
Фиг.9 – переднюю часть соединительной насадки.
Фиг.10 – заднюю часть соединительной насадки.
Фиг.11 – заднюю часть соединительной насадки, соединенной с вентиляционной камерой.
Фиг.12 – заднюю часть соединительной насадки.
Чертежи в основном содержат определенные ключевые элементы. В связи с этим они могут не только помочь лучше понять описание, но также, в случае необходимости, дополнить определение настоящего изобретения.
На фиг.1 схематически показан двухконтурный турбореактивный двигатель.
Вначале воздух всасывается впускным вентилятором 1, затем направляется в компрессор низкого давления 12. Одна часть сжатого воздуха направляется в компрессор высокого давления 14, а другая часть – в часть 18 турбореактивного двигателя. После камеры сгорания 16 отработанные газы направляются в турбину высокого давления, а затем в турбину низкого давления 17 перед тем, как попасть в выпускной корпус 23. Эти отработанные газы с высокой температурой соответствуют первичному потоку. Поток холодного воздуха части 18 турбореактивного двигателя нагревается от контакта с каналом 15 горячего воздуха. Нагретый воздушный поток называется вторичным потоком.
В дальнейшем со ссылкой на фиг.1В приводится подробное описание форсажного устройства 19. Форсажное устройство 19 содержит наружный кольцевой корпус 25 и выпускной кольцевой корпус внутри наружного кольцевого корпуса и на некотором расстоянии от него. Оба корпуса имеют одну и ту же поворотную ось симметрии, соответствующую оси вращения турбореактивного двигателя. Выпускной кольцевой корпус содержит внутреннюю 29 и наружную 27 кольцевые стенки, поворотная ось симметрии которых совпадает с осью вращения турбореактивного двигателя, причем наружная стенка 27 и наружный кольцевой корпус 25 формируют канал 32 для вторичного потока после его прохождения через часть 18 турбореактивного двигателя, наружная кольцевая стенка 27 и внутренняя кольцевая стенка 29 формируют канал 34 для первичного потока после его прохождения через турбины 17. Отверстие 30 в наружной кольцевой стенке 27 обеспечивает проход для смешивания вторичного потока с первичным потоком в канале 34. Механизм впуска топлива в канал 34 обеспечивает воспламенение смеси первичный поток/вторичный поток/топливо, при этом пламя фиксируется на стойках 22 удержания пламени. Как показано на фиг.2, стойки закреплены на наружном корпусе и направлены в сторону выхода под углом по отношению к плоскости, перпендикулярной к оси вращения. Кроме того, во вторичном контуре находится кольцевая горелка 21, состоящая из секторов кольца, расположенных между стойками удержания пламени. Передний кольцевой кожух этой кольцевой горелки защищает от форсажного пламени и от высокотемпературного (900°С) первичного потока рампу топливных форсунок, впрыскивающих топливо в направлении выхода для обеспечения дожигания.
Для повышения КПД форсированного режима кольцевую горелку размещают в первичном контуре. Такое расположение порождает очень высокие термические напряжения на уровне кольцевой горелки. Поэтому в соответствии с настоящим изобретением ее выполняют таким образом, чтобы снизить термические напряжения и повысить КПД форсированного режима.
На фиг.8 схематически в разрезе показано форсажное устройство в соответствии с настоящим изобретением. Это устройство содержит кольцевую горелку, содержащую, с одной стороны, передний кольцевой кожух, образующий кольцевой канал, открытый в осевом направлении в сторону выхода, и, с другой стороны, рампу топливных форсунок 4, расположенную в кольцевом канале, при этом кольцевая горелка образована множеством соединенных между собой секторов кольца 20, каждый из которых содержит сектор 1 переднего кольцевого кожуха, при этом каждый сектор 1 переднего кольцевого кожуха оборудован впуском топлива 35, сообщающимся с рампой топливных форсунок 4. Передний кольцевой кожух может, например, представлять собой кольцевой двугранный угол, закругленная вершина которого направлена к входу, при этом внутренняя пластина двугранного угла параллельна оси вращения, а наружная пластина направлена радиально наружу. Как показано на фиг.8, наружная кольцевая стенка 27 в плоскости, перпендикулярной к оси вращения, содержит отверстия 36, отстоящие друг от друга через равные промежутки по всей окружности наружной кольцевой стенки 27. Отверстия 36 ограничены направленной к выходу частью 28 трубы, при этом данная часть 28 трубы с открытыми концами выполнена формовкой в виде единой детали, например, с внутренней кольцевой стенкой 27. Часть 28 трубы выполнена в направлении выхода под углом относительно плоскости, перпендикулярной к оси вращения. Каждый сектор переднего кольцевого кожуха кольцевой горелки, в частности, каждая наружная пластина каждого сектора содержит отверстие, ограниченное частью 37 трубы, выполненной в направлении входа под углом относительно плоскости, перпендикулярной к оси вращения. Отверстие сектора переднего кольцевого кожуха совмещают с одним из отверстий наружной кольцевой стенки 27 и фиксируют.
Отверстие сектора переднего кольцевого кожуха выполняет роль впуска вторичного воздуха и впуска топлива в кольцевой канал, образованный сектором переднего кольцевого кожуха. В другом варианте отверстия можно выполнить таким образом, чтобы отделить впуск воздуха от впуска топлива. Впуск топлива, в частности, осуществляется через трубу 35, проходящую через совпадающие отверстия наружной кольцевой стенки и сектора переднего кольцевого кожуха. Труба 35 своим концом сообщается с соединительной головкой, соединенной с рампой топливных форсунок, расположенной в кольцевом канале, ограниченном сектором переднего кольцевого кожуха. Рампа 4 топливных форсунок размещена, по меньшей мере, на части сектора 1 переднего кольцевого кожуха и выполнена в виде трубы с отверстиями со стороны выхода. Для того чтобы избежать чрезмерных термических напряжений в условиях высокой температуры, возникающих из-за положения кольцевой горелки в первичном контуре, необходимо обеспечить вентиляцию и охлаждение каждого сектора кольцевой горелки. Для улучшения вентиляции переднего кольцевого кожуха и рампы топливных форсунок на входе рампы топливных форсунок устанавливают вентиляционную камеру 2, которая питается от впуска воздуха. На фиг.3 показан вариант установки вентиляционной камеры до установки рампы топливных форсунок в кольцевом канале, показанной на фиг.4. Каждая труба вентиляционной камеры содержит локальные утолщения, называемые бобышками, для обеспечения наличия межтрубного пространства между сектором переднего кольцевого кожуха и вентиляционной камерой.
Каждый сектор кольцевой горелки содержит соединительную насадку 3, расположенную в кольцевом канале на входе рампы топливных форсунок и предназначенную для установки, с одной стороны, впускной топливной трубки и впуска воздуха и, с другой стороны, для установки вентиляционной камеры в кольцевом канале, по меньшей мере, на части длины сектора переднего кольцевого кожуха и на входе рампы топливных форсунок. Эта соединительная насадка детально показана на фиг.9, 10, 11 и 12.
Соединительная насадка 3 имеет форму, соответствующую кольцевому каналу, образованному передним кольцевым кожухом, для обеспечения возможности ее установки на входе рампы топливных форсунок. Эта насадка содержит основную полость, выполненную с возможностью ее установки напротив отверстия сектора переднего кольцевого сектора и с возможностью установки в ней соединительной головки впуска топлива и впуска воздуха. Основная полость сообщается с задним отверстием 45 для обеспечения возможности соединения соединительной головки с рампой топливных форсунок, расположенной перпендикулярно к направлению соединительной головки. Чтобы избежать проворачивания соединительной головки в полости, сообщающейся с задним отверстием, соединительная насадка содержит выступ 48, выполненный в осевом направлении и выступающий радиально наружу за пределы заднего отверстия. Кроме того, соединительная насадка 3 содержит боковые отверстия, то есть противоположные друг другу отверстия, выполненные по окружности кольца по обе стороны основной полости впуска воздуха. В предпочтительном варианте выполнения вентиляционная камера содержит две полые трубы с множеством отверстий, выполненные с возможностью их удержания открытыми концами в одном из боковых отверстий, при этом их свободный конец сообщается с основной полостью. Воздух, поступающий через отверстие сектора переднего кольцевого кожуха, проходит в основную полость, образующую воздухозаборник, и направляется в боковом направлении и в окружном направлении в полые трубы вентиляционной камеры через их концы, установленные в боковых отверстиях соединительной насадки.
Для предохранения рампы топливных форсунок и вентиляционной камеры от обратного пламени и излучения в кольцевом канале, ограниченном сектором переднего кольцевого кожуха, на выходе рампы устанавливают сектор 5 заднего кольцевого кожуха, имеющий в осевом сечении в основном полукруглую форму, при этом концы этого сечения образуют, соответственно, с концами пластин сектора переднего кольцевого кожуха каналы для топлива, поступающего из рампы топливных форсунок. Этот сектор 5 заднего кольцевого кожуха образует направленный в сторону выхода теплозащитный экран кольцевой горелки.
Сектор заднего кольцевого кожуха образует кольцевой канал, открытый в осевом направлении в сторону выхода, и соединен при помощи крепежных средств с сектором переднего кольцевого кожуха. В качестве крепежных средств могут быть использованы заклепки. Как показано на фиг.5, сектор 5 заднего кольцевого кожуха содержит средства удержания, установленные в осевом направлении на входе этого сектора и предназначенные для удержания на месте рампы топливных форсунок, удержания вентиляционной камеры на внутренней стенке сектора переднего кольцевого кожуха и для точечного соединения сектора заднего кольцевого кожуха с задней поверхностью сектора переднего кольцевого кожуха. Эти средства удержания выполнены, например, в виде лапок 54 (например, по две лапки на сектор) незначительной окружной ширины, выполненных путем формовки в виде единой детали с сектором заднего кольцевого кожуха на входе последнего. Лапка 54 показана в разрезе на фиг.5. Лапка 54 содержит внутренний выступ 55, выполненный в осевом направлении на входе сектора заднего кольцевого кожуха таким образом, чтобы после правильной установки сектора заднего кольцевого кожуха в кольцевом канале, образованном сектором переднего кольцевого кожуха, этот внутренний выступ 55 прижимал одну из труб вентиляционной камеры к дну этого кольцевого канала. Наружный выступ 56 лапки 54 ограничивает вместе с внутренним выступом 55 вогнутую полость для установки рампы топливных форсунок и для удержания последней на определенном расстоянии от передней поверхности сектора 5 заднего кольцевого кожуха. Таким образом, сектор 5 заднего кольцевого кожуха выполняет роль теплозащитного экрана. На своих наружном и внутреннем радиальных концах лапка 54 содержит также полости, устанавливаемые напротив отверстий, выполненных в секторе переднего кольцевого кожуха с возможностью установки бобышек 6, проходящих через отверстия, с упором в полости. Эти бобышки 6 привариваются для крепления между ними переднего и заднего секторов кольцевого кожуха. Можно предусмотреть и другие средства крепления переднего и заднего секторов кольцевого кожуха с возможностью демонтажа теплозащитного экрана для технического обслуживания кольцевой горелки.
На фиг.6 и 7 показан сектор кольцевой горелки, содержащий на своих концах боковые крепежные насадки для соединения этого сектора с другим сектором каждым концом. Таким образом, секторы кольца соединяются друг с другом при помощи боковых крепежных насадок, содержащих деталь, имеющую на концах, расположенных напротив концов секторов кольца, пазы, в которые заходят концы секторов заднего кольцевого кожуха. Кроме того, эти боковые крепежные насадки служат для крепления секторов кольца к форсажным стойкам при помощи шплинта 8 и шпонки 9.
Наличие этих боковых крепежных насадок обеспечивает свободное расширение секторов кольца, так как концы последних закрепляются не жестко. Вместе с тем заклепка 10 позволяет удерживать весь узел в неподвижном положении.
Настоящее изобретение не ограничивается описанными выше вариантами выполнения крепежного устройства, приведенными исключительно в качестве примеров, и может включать в себя все варианты, которые могут быть разработаны специалистом в рамках нижеследующей формулы изобретения.
Формула изобретения
1. Форсажное кольцо для двухконтурного турбореактивного двигателя, в котором температура потока отработанных газов, называемого первичным контуром, превышает температуру воздушного потока, называемого вторичным контуром, при этом кольцо (21) имеет поворотную ось симметрии, совпадающую с осью вращения турбореактивного двигателя, содержит с одной стороны передний кольцевой кожух, образующий кольцевой канал, открытый в осевом направлении в сторону выхода, и с другой стороны рампу (4) топливных форсунок, расположенную в кольцевом канале, и образовано множеством соединенных между собой секторов (20) кольца, каждый из которых содержит сектор (1) переднего кольцевого кожуха, каждый из которых оборудован топливным впуском (35), соединенным с рампой (4) топливных форсунок, отличающееся тем, что передняя поверхность переднего кольцевого кожуха выполнена с возможностью контакта с первичным потоком, причем каждый сектор (20) кольца содержит соединительное средство (3), расположенное в кольцевом канале на входе рампы (4) топливных форсунок, для установки с одной стороны топливного впуска (35) и с другой стороны вентиляционной камеры (2), выполненной в кольцевом канале, по меньшей мере, на части длины сектора переднего кольцевого кожуха и на входе рампы (4) топливных форсунок, при этом каждый сектор (1) переднего кольцевого кожуха оборудован впуском вторичного воздуха, выходящего из вентиляционной камеры (2) для охлаждения рампы (4) топливных форсунок, а на выходе рампы (4) топливных форсунок предусмотрен сектор (5) заднего кольцевого кожуха для защиты этой рампы.
2. Форсажное кольцо по п.1, отличающееся тем, что сектор (5) заднего кольцевого кожуха образует кольцевой канал, открытый в осевом направлении в сторону выхода, и соединен при помощи крепежных средств с сектором (1) переднего кольцевого кожуха.
3. Форсажное кольцо по одному из предыдущих пунктов, отличающееся тем, что сектор (5) заднего кольцевого кожуха содержит средства удержания, расположенные в осевом направлении на входе, для удержания на месте рампы (4) топливных форсунок, вентиляционной камеры (2) на внутренней стенке сектора (1) переднего кольцевого кожуха и для соединения сектора (5) заднего кольцевого кожуха с внутренней стенкой сектора (1) переднего кольцевого кожуха.
4. Форсажное кольцо по одному из пп.1 или 2, отличающееся тем, что соединительное средство (3) содержит полость, образующую гнездо для топливного впуска (35) и для впуска вторичного воздуха.
5. Форсажное кольцо по одному из пп.1 или 2, отличающееся тем, что вентиляционная камера (2) содержит две полые трубы с множеством отверстий, при этом соединительное средство (3) содержит два отверстия, расположенные друг против друга по окружности по обе стороны от полости, образующей воздухозаборник, при этом первая и вторая трубы удерживаются своим открытым концом в одном из двух отверстий и их открытый конец сообщается с полостью, образующей воздухозаборник.
6. Форсажное кольцо по одному из пп.1 или 2, отличающееся тем, что секторы (20) кольца соединены между собой при помощи боковых крепежных насадок, содержащих деталь с пазами, в которые заходят концы секторов (5) заднего кольцевого кожуха.
7. Форсажное кольцо по одному из пп.1 или 2, отличающееся тем, что кривизна передней поверхности соединительного средства (3) соответствует кривизне задней поверхности переднего кожуха.
8. Форсажное устройство для двухконтурного турбореактивного двигателя, в котором температура потока отработанных газов, называемого первичным контуром, превышает температуру воздушного потока, называемого вторичным контуром, содержащее наружный кольцевой корпус (25) и выпускной кольцевой корпус, размещенный внутри наружного кольцевого корпуса (25) на некотором расстоянии от него и содержащий внутреннюю (29) и наружную (27) кольцевые стенки, поворотная ось симметрии которых совпадает с осью вращения турбореактивного двигателя, при этом наружная стенка и наружный кольцевой корпус формируют канал вторичного контура, наружная кольцевая стенка (27) и внутренняя кольцевая стенка (29) формируют канал первичного контура, а устройство дополнительно содержит форсажные стойки (22), отличающееся тем, что наружная стенка (27) содержит отверстия, а устройство содержит форсажное кольцо (21) по одному из предыдущих пунктов, закрепленное на наружной кольцевой стенке (27) таким образом, чтобы передняя поверхность переднего кольцевого кожуха находилась в контакте с первичным потоком и чтобы впуск вторичного воздуха каждого сектора (1) переднего кольцевого кожуха совпадал с отверстиями наружной стенки (27).
9. Форсажное устройство по п.9, отличающееся тем, что передний кольцевой кожух упирается в спинку форсажных стоек (22), при этом секторы (1) переднего кольцевого кожуха соединены между собой и со спинками форсажных стоек (22) при помощи крепежных средств, установленных на крепежных насадках, содержащих деталь с пазами, в которые заходят концы секторов (5) заднего кольцевого кожуха.
10. Турбореактивный двигатель, содержащий форсажное устройство по одному из пп.8 и 9.
РИСУНКИ
|
|