|
(21), (22) Заявка: 2004122165/06, 19.07.2004
(24) Дата начала отсчета срока действия патента:
19.07.2004
(43) Дата публикации заявки: 20.01.2006
(46) Опубликовано: 10.01.2007
(56) Список документов, цитированных в отчете о поиске:
US 4899705 А, 13.02.1990. GB 581575 А, 17.10.1946. US 5081964 А, 21.01.1992. RU 2018009 C1, 15.08.1994.
Адрес для переписки:
432008, г.Ульяновск, Московское ш., 94, ОАО “Ульяновский механический завод”
|
(72) Автор(ы):
Колмогоров Николай Иванович (RU), Гарбуз Эммануил Израилевич (RU), Горин Анатолий Александрович (RU), Белов Владимир Александрович (RU), Экемскин Анатолий Михайлович (RU)
(73) Патентообладатель(и):
Открытое акционерное общество Ульяновский механический завод (RU)
|
(54) ЧЕТЫРЕХТАКТНЫЙ ДВИГАТЕЛЬ ВНУТРЕННЕГО СГОРАНИЯ (ВАРИАНТЫ)
(57) Реферат:
Изобретение относится к машиностроению, в частности к двигателестроению. Задачей, решаемой предлагаемым изобретением, является двукратное увеличение мощности двигателя при том же объеме цилиндров и практически тех же габаритах и весе за счет выполнения всех четырех тактов за один оборот вала двигателя. Согласно изобретению четырехтактный двигатель внутреннего сгорания содержит цилиндры, поршни, размещенные в цилиндрах, и механизмы преобразования возвратно-поступательного движения поршней во вращательное движение вала двигателя. Механизмы преобразования возвратно-поступательного движения во вращательное включают в себя шатуны с дисками, при этом диски снабжены двумя взаимно перпендикулярными диаметральными пазами, в каждом из которых размещен ползун, а шатуны шарнирно соединены с ползунами соответствующих дисков. 2 н.п. ф-лы, 3 ил.
Предлагаемое изобретение относится к машиностроению, в частности к двигателестроению.
Широко известны четырехтактные двигатели внутреннего сгорания, рабочий цикл которых осуществляется за четыре такта.
Недостатком известных двигателей является низкая удельная мощность.
Известен четырехтактный двигатель, выбранный в качестве прототипа, рабочий цикл которого осуществляется за четыре такта или за два оборота коленчатого вала (Двигатели внутреннего сгорания. / Под редакцией А.С.Орлина, М.Г.Круглова. Москва. “Машиностроение”, 1980 г., стр.22).
Рабочий цикл в четырехтактном двигателе происходит следующим образом.
Первый такт-впуск. Поршень находится в положении, близком к верхней мертвой точке (в.м.т.). При вращении коленчатого вала шатун перемещает поршень к нижней мертвой точке (н.м.т.), а распределительный механизм открывает впускной клапан и цилиндр заполняется горючей смесью. При достижении н.м.т. коленчатый вал поворачивается на 180°. Впускной клапан закрывается.
Второй такт – сжатие. Поршень движется к в.м.т., сжимая горючую смесь. Вблизи в.м.т. горючее воспламеняется. При достижении поршнем в.м.т. коленчатый вал совершает полный оборот.
Третий такт – сгорание и расширение. В начале такта интенсивно сгорает топливо. Вследствие выделения большого количества теплоты температура и давление в цилиндре резко повышаются. Под давлением газов поршень перемещается к н.м.т. Расширяясь, газы совершают полезную работу. При достижении н.м.т. коленчатый вал поворачивается на полтора оборота. Третий такт называется рабочим ходом.
Четвертый такт – выпуск. Поршень, перемещаясь от н.м.т. к в.м.т., вытесняет продукты сгорания из цилиндра через открытый выпускной клапан. При достижении поршнем в.м.т. выпускной клапан закрывается. Коленчатый вал совершает два оборота.
Недостаток известного двигателя заключается в низкой удельной мощности.
Задачей, решаемой предлагаемым изобретением, является двукратное увеличение мощности двигателя при том же объеме цилиндров и практически тех же габаритах и весе за счет выполнения всех четырех тактов за один оборот вала двигателя.
По первому варианту это достигается тем, что в четырехтактном двигателе внутреннего сгорания, содержащем по крайней мере два цилиндра, поршни, размещенные в цилиндрах, и механизмы преобразования возвратно-поступательного движения поршней во вращательное движение вала двигателя, включающие шатуны, механизмы преобразования возвратно-поступательного движения во вращательное снабжены дисками, а вал двигателя выполнен составным, при этом диски снабжены двумя взаимно перпендикулярными диаметральными пазами, в каждом из которых размещен ползун, шатуны шарнирно соединены с ползунами соответствующих дисков, причем диски жестко установлены на соответствующих частях вала, а противолежащие ползуны механизмов преобразования возвратно-поступательного движения во вращательное попарно связаны стержнями.
По-второму варианту решаемая задача достигается тем, что четырехтактный двигатель внутреннего сгорания, содержащий по крайней мере два цилиндра, поршни, размещенные в цилиндрах, и механизмы преобразования возвратно-поступательного движения поршней во вращательное движение вала двигателя, включающие шатуны, снабжен по крайней мере одним соединительным валом, а механизмы преобразования возвратно-поступательного движения во вращательное снабжены дисками, при этом диски попарно жестко закреплены на соединительном валу и снабжены двумя взаимно перпендикулярными и диаметральными пазами, в каждом из которых размещен ползун, шатуны шарнирно соединены с ползунами соответствующих дисков, причем соединительные валы установлены в подшипниках и кинематически связаны с валом двигателя, например, зубчатой передачей.
Предлагаемое изобретение иллюстрируется чертежами.
На фиг.1 показана схема работы четырехтактного двигателя, где:
а) – первый такт – впуск;
б) – второй такт – сжатие;
в) – третий такт – сгорание и расширение (рабочий ход);
г)- четвертый такт – выпуск.
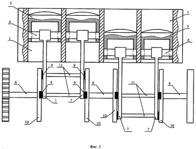
На фиг.2 показан четырехтактный двигатель – вариант 1.
На фиг.3 показан четырехтактный двигатель – вариант 2.
Двигатель содержит по крайней мере два цилиндра 1, головку 2 цилиндров, впускной клапан 3, выпускной клапан 4, поршень 5, размещенный в цилиндре 1 и связанный поршневым пальцем 6 с шатуном 7, через который возвратно-поступательное движение поршня передается на вал 8 двигателя. Шатун 7 шарнирно связан с ползунами 9, размещенными с возможностью скольжения в пазах “А” дисков 10. Пазы “А” выполнены перпендикулярными и диаметральными.
По первому варианту вал двигателя выполнен составным из отдельных частей 8. Диски 10 жестко закреплены на соответствующих частях 8 вала, шатуны 7 шарнирно соединены с ползунами 9. Противолежащие ползуны 9 дисков 10 попарно жестко соединены стержнями 11.
По второму варианту двигатель содержит по крайней мере соединительный вал 12, установленный с возможностью вращения в подшипниках 13. Диски 10 попарно жестко закреплены на соединительных валах 12, которые в свою очередь через зубчатые колеса 15 связаны с валом 8 двигателя.
Работа четырехтактного двигателя осуществляется следующим образом.
Рабочий цикл в двигателе, совершаемый за четыре такта, происходит за один оборот вала двигателя.
Первый такт – впуск. Поршень 5 находится в положении, близком к верхней мертвой точке (в.м.т.). При вращении вала 8 шатун 7 перемещает поршень 5 к нижней мертвой точке (н.м.т.), при этом ползуны 9, шарнирно связанные с шатуном 7, перемещаются в соответствующих им пазах “А”, поворачивая диск 10, а распределительный механизм (не показано) открывает впускной клапан 3, и цилиндр 1 заполняется горючей смесью. При достижении н.м.т. вал 8 двигателя поворачивается на 90°. Впускной клапан закрывается.
Второй такт – сжатие. Поршень движется к в.м.т., сжимая горючую смесь. Ползуны 9 перемещаются в пазах “А” дисков 10. Вблизи в.м.т. горючее воспламеняется. При достижении поршнем 5 в.м.т. вал 8 двигателя поворачивается на 180°.
Третий такт – сгорание и расширение. Третий такт происходит при ходе поршня от в.м.т. к н.м.т. В начале такта интенсивно сгорает топливо. Вследствие выделения большого количества теплоты температура и давление в цилиндре резко повышаются. Под действием давления происходит дальнейшее перемещение поршня к н.м.т. и расширение газов. Ползуны 9 скользят в пазах “А”, поворачивая диск 10. Во время расширения газы совершают полезную работу. Третий такт является рабочим ходом поршня. Достижению н.м.т. соответствует поворот вала 8 двигателя на 270°.
Четвертый такт – выпуск. Поршень 5, перемещаясь от н.м.т. к в.м.т., вытесняет газы из цилиндра 1 через открытый выпускной клапан 4. При достижении поршнем в.м.т. выпускной клапан закрывается. Ползуны 9 занимают соответствующее положение. Вал 8 двигателя совершает полный оборот. Четвертым тактом заканчивается рабочий цикл. При дальнейшем движении поршня в той же последовательности повторяются все процессы цикла.
По первому варианту процессы цикла происходят следующим образом. Так как в механизмах преобразования возвратно-поступательного движения во вращательное ползуны 9 жестко связаны стержнями 11, то в цилиндрах 1 поршни 5, перемещаемые шатунами 7, могут двигаться только в одном направлении. Например, если в цилиндрах первой пары происходят: в одном – впуск, а в другом – рабочий ход, то в соседней паре цилиндров происходят сжатие и выпуск.
По второму варианту поршни 5 могут двигаться в цилиндрах 1 независимо друг от друга.
В предлагаемом двигателе перемещение из одного крайнего положения в другое происходит за четверть оборота вала двигателя. Это становится возможным за счет применения в качестве механизма преобразования возвратно-поступательного движения поршня во вращательное движение вала вместо кривошипно-шатунного механизма кулисно-рычажного (“Механизмы в современной технике” И.И.Артоболевский. Том 2, стр.104. Москва, “Наука” 1979 г.).
Таким образом, поскольку в предлагаемом двигателе рабочий ход происходит вдвое чаще, предлагаемый двигатель выделяет вдвое больше энергии в единицу времени, чем обычный двигатель (прототип), при том же объеме цилиндров, весе и габаритах. Следовательно, вдвое увеличивается мощность и удельная мощность двигателя. Конструкция предлагаемого двигателя позволяет применять подшипники качения. Отсутствие коленчатого вала упрощает конструкцию и повышает технологичность.
Двигатель можно изготовить с помощью известных средств и стандартного оборудования.
Формула изобретения
1. Четырехтактный двигатель внутреннего сгорания, содержащий по крайней мере два цилиндра, поршни, размещенные в цилиндрах, и механизмы преобразования возвратно-поступательного движения поршней во вращательное движение вала двигателя, включающие шатуны, отличающийся тем, что механизмы преобразования возвратно-поступательного движения во вращательное снабжены дисками, а вал двигателя выполнен составным, при этом диски снабжены двумя взаимно перпендикулярными диаметральными пазами, в каждом из которых размещен ползун, шатуны шарнирно соединены с ползунами соответствующих дисков, причем диски жестко установлены на соответствующих частях вала, а противолежащие ползуны механизмов преобразования возвратно-поступательного движения во вращательное попарно связаны стержнями.
2. Четырехтактный двигатель внутреннего сгорания, содержащий по крайней мере два цилиндра, поршни, размещенные в цилиндрах, и механизмы преобразования возвратно-поступательного движения поршней во вращательное движение вала двигателя, включающие шатуны, отличающийся тем, что он снабжен по крайней мере одним соединительным валом, а механизмы преобразования возвратно-поступательного движения во вращательное снабжены дисками, при этом диски попарно жестко закреплены на соединительном валу и снабжены двумя взаимно перпендикулярными и диаметральными пазами, в каждом из которых размещен ползун, шатуны шарнирно соединены с ползунами соответствующих дисков, причем соединительные валы установлены в подшипниках и кинематически связаны с валом двигателя, например, зубчатой передачей.
РИСУНКИ
MM4A – Досрочное прекращение действия патента СССР или патента Российской Федерации на изобретение из-за неуплаты в установленный срок пошлины за поддержание патента в силе
Дата прекращения действия патента: 20.07.2007
Извещение опубликовано: 10.03.2009 БИ: 07/2009
|