|
|
(21), (22) Заявка: 2005103775/03, 14.02.2005
(24) Дата начала отсчета срока действия патента:
14.02.2005
(43) Дата публикации заявки: 20.07.2006
(46) Опубликовано: 10.01.2007
(56) Список документов, цитированных в отчете о поиске:
SU 561782 А, 15.06.1977. SU 1035197 А, 15.08.1983. RU 2097534 C1, 27.11.1997. RU 2190083 C1, 27.09.2002. RU 2219330 С2, 20.12.2003. US 5159981 А, 03.11.1992.
Адрес для переписки:
625023, Тюменская обл., г.Тюмень, ул. Котовского, 62, кв.18, пат.пов. Л.Д.Рычковой
|
(72) Автор(ы):
Афанасьев Владимир Александрович (RU), Захаров Владимир Аркадьевич (RU), Киреев Анатолий Михайлович (RU), Светашов Николай Николаевич (RU), Орлов Дмитрий Геннадьевич (RU)
(73) Патентообладатель(и):
Афанасьев Владимир Александрович (RU), Захаров Владимир Аркадьевич (RU), Киреев Анатолий Михайлович (RU), Светашов Николай Николаевич (RU), Орлов Дмитрий Геннадьевич (RU)
|
(54) КЛАПАН ДЛЯ СКВАЖИННОГО ОБОРУДОВАНИЯ (ВАРИАНТЫ)
(57) Реферат:
Изобретение относится к нефтедобывающей промышленности. Обеспечивает устранение осложнений при смене скважинного оборудования. Согласно первому варианту клапан содержит корпус, запорный элемент и жестко связанный с запорным элементом шток с ловильной головкой. Согласно изобретению при добыче нефти из скважины, оборудованной пакером со стволом – гидравлическим каналом и запорным элементом для перекрытия этого канала и глушения скважины, он снабжен контейнером, установленным на запорном элементе, в виде стакана с открытым верхом для сбора и накопления механических примесей и перфорированными стенками для протока жидкости. Согласно второму варианту клапан содержит корпус и запорный элемент. Согласно изобретению при добыче нефти из скважины, оборудованной пакером со стволом – гидравлическим каналом и запорным элементом для перекрытия этого канала и глушения скважины, он снабжен контейнером, установленным на запорном элементе, в виде стакана с открытым верхом для сбора и накопления механических примесей и перфорированными стенками для протока жидкости. На внутренней стороне стенок контейнера выполнены выступы и/или проточка. 2 н. и 2 з.п. ф-лы, 3 ил.
Изобретение относится к нефтедобывающей промышленности, в частности к устройствам для временного или постоянного перекрытия ствола скважины (пакер, мостовая пробка, клапан-отсекатель и т.п.).
Известен клапан для перекрытия центрального канала гидравлического пакера, состоящего из запорного элемента (Е.И.Бухаленко, В.В.Вершковой и др. Нефтепромысловое оборудование, Справочник, М.: Недра, 1990 г. стр.308).
Недостаток клапана заключается в отсутствии у него ловильного элемента, что не позволяет извлекать его из скважины. Для открытия канала ствола пакера клапан продавливается избыточным давлением на забой скважины, что неприемлемо для скважин с горизонтальным стволом.
Известен клапан для скважинного оборудования, включающий запорный элемент, шток, ловильную головку для улавливания клапана специальным инструментом, спущенным с устья скважины (А.С. №561782, Е 21 В 43/00 от 07.07.77 г., прототип).
Недостаток вышеуказанного клапана заключается в том, что в процессе работы скважин (нагнетательных, нефтедобывающих) над ним скапливается песок, продукты коррозии, случайно упавшие в ствол скважины предметы, например хомуты токоподводящего кабеля электронасоса и т.п., что затрудняет процесс подъема (происходит заклинивание) клапана и скважинного оборудования, в котором клапан является комплектующим изделием. Кроме того, механические примеси попадают под запорный элемент клапана и препятствуют герметичному перекрытию гидравлических каналов скважинного оборудования.
Предлагаемый нами клапан для скважинного оборудования лишен приведенных выше недостатков, иными словами, позволяет предотвратить заклинивания клапана в стволе скважины при его извлечении и попадания при его закрытии под запорный элемент механических примесей, герметично перекрыть гидравлический канал пакера.
Поставленная цель достигается тем, что клапан содержит корпус, запорный элемент и жестко связанный с запорным элементом шток с ловильной головкой, отличающийся тем, что при добыче нефти из скважины, оборудованной пакером со стволом – гидравлическим каналом и запорным элементом для перекрытия этого канала и глушения скважины, он снабжен контейнером, установленным на запорном элементе, в виде стакана с открытым верхом для сбора и накопления механических примесей и перфорированными стенками для протока жидкости (Вариант 1).
Согласно второму варианту клапан содержит корпус и запорный элемент, отличающийся тем, что при добыче нефти из скважины, оборудованной пакером со стволом – гидравлическим каналом и запорным элементом для перекрытия этого канала и глушения скважины, он снабжен контейнером, установленным на запорном элементе, в виде стакана с открытым верхом для сбора и накопления механических примесей и перфорированными стенками для протока жидкости, при этом на внутренней стороне стенок контейнера выполнены выступы и/или проточка.
При этом в первом и втором вариантах выполнения клапана его корпус может быть снабжен кольцевой уплотнительной манжетой, которая закреплена в верхней части с его внешней стороны.
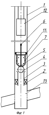
На фиг.1 схематично представлен клапан для скважинного оборудования в комплекте оборудования (Вариант 1), на фиг.2 изображен пример клапана для скважинного оборудования в комплекте оборудования для предотвращения инфильтрации жидкости глушения в пласт, на фиг.3 схематично представлен клапан для скважинного оборудования в комплекте оборудования (Вариант 2).
В скважину 1 спущен пакер 2, на ствол 3 пакера 2 установлен клапан для скважинного оборудования (далее по тексту – клапан), который перекрывает гидравлический канал пакера 2.
Вариант 1. Клапан для скважинного оборудования содержит запорный элемент 4, шток 5, имеющий в верхней части ловильную головку 6 для захвата специальным инструментом, спущенным с устья скважины, контейнер 7 (фиг.1, 2).
Шток 5 жестко связан с запорным элементом 4, который представляет собой шар, или с корпусом 8 клапана.
Контейнер 7 установлен на запорном элементе 4 с открытым верхом, выполнен с перфорированными стенками и представляет собой, например, стакан, в стенках которого расположены отверстия малого диаметра для протока добываемой жидкости в стенках.
Контейнер 7 выполнен с возможностью установления его на запорный элемент 4.
Вариант 2. Клапан для скважинного оборудования содержит запорный элемент 4 и контейнер 7.
Контейнер 7 установлен на запорном элементе 4 с открытым верхом и выполнен с перфорированными стенками, на внутренней стороне которых расположены выступы 9 или/и проточка 10 (фиг.3).
Вариант 1 отличается от Варианта 2 наличием штока 5 с ловильной головкой 6 и отсутствием в перфорированных стенках выступов 9 или/и проточки 10.
Кроме того, для вариантов 1 и 2 контейнер 7 может дополнительно содержать кольцевой уплотнительный элемент 11, который закрепляется в верхней его части с внешней стороны и представляет собой самоуплотняющуюся манжету, которая уплотняет контейнер 7 относительно ствола скважины 1.
Контейнер 7 предназначен для сбора и накопления попадающих в скважину, механических примесей, хомутов крепления кабеля насоса 12, например УЭЦН, и плавной посадки в стволе скважины 1.
Устройство работает следующим образом.
В скважину спускают оборудование (пакер и клапан) и осуществляют добычу нефти из скважины 1 насосом 12. Для смены насоса 12 скважина 1 над оборудованием (пакер и клапан) заполняется жидкостью глушения. Запорный элемент 4, например шар, перекрывает гидравлический канал пакера 2, препятствуя прохождению жидкости глушения в призабойную зону 13 скважины 1.
При подъеме и спуске насосного оборудования и дальнейшей эксплуатации скважины 1 седиментирующая механическая примесь, предметы, продукты коррозии, случайно упавшие в скважину 1, будут накапливаться в контейнере 7, не попадая в зону запорного элемента 4.
В процессе проведения капитальных ремонтных работ в призабойной зоне 13 скважины 1, требующих извлечения пакера 2, специальным канатным ловильным инструментом с устья скважины 1 захватывается шток 5 с ловильной головкой 6 при варианте 1 и запорный элемент 4 вместе с контейнером 7 извлекается из скважины 1, при этом не требуется дополнительная операция по извлечению контейнера 7. Далее извлекается пакер 2 и ведутся работы с пластом. Работы в призабойной зоне 13 скважины 1 могут вестись через ствол 3 пакера 2 без извлечения последнего. Тогда извлекается лишь клапан для скважинного оборудования.
В случае исполнения клапана для скважинного оборудования по варианту 2 извлекается контейнер 7 без пакера 2 и запорного элемента 4. Для этого специальным канатным ловильным инструментом с устья скважины 1 захватывается контейнер 7 за выступы 9 или за проточку 10, или за выступы 9 и за проточку 10 и извлекается из скважины 1, при этом работы в призабойной зоне 13 скважины 1 ведутся без извлечения пакера 2, запорного элемента 4.
Предлагаемый клапан позволяет извлекать его вместе со штоком 5 с ловильной головкой 6 и, таким образом, не требуется дополнительная операция по извлечению контейнера 7 перед подъемом клапана для скважинного оборудования, кроме того, исключает контакт жидкости глушения с коллектором призабойной зоны 13 скважины 1. Таким образом, сохраняется продуктивность скважины 1 при ее текущем подземном ремонте.
После проведенных в призабойной зоне 13 скважины 1 работ устанавливается пакер 2, если он извлекался. С устья скважины 1 сбрасывается до посадки в ствол 3 пакера 2 предлагаемый клапан для скважинного оборудования, техническое решение которого обеспечивает плавное его свободное падение.
Сущность изобретения заключается в том, что седиментирующие в стволе скважины 1 песок, продукты коррозии, а также случайно упавшие в ствол скважины 1 предметы скапливаются в контейнере 7, а не заиливают (засыпают) скважинное оборудование, что предупреждает при извлечении их заклинивание в стволе скважины 1 и незакрытие клапана в процессе работы.
Предложенное технического решение позволяет без осложнений проводить смену скважинного оборудования, комплектующего извлекаемыми клапанами, гарантированно обеспечивать перекрытие гидравлических каналов оборудования, иными словами, предупреждает проникновение механических примесей под контейнер 7.
Формула изобретения
1. Клапан для скважинного оборудования, содержащий корпус, запорный элемент и жестко связанный с запорным элементом шток с ловильной головкой, отличающийся тем, что при добыче нефти из скважины, оборудованной пакером со стволом – гидравлическим каналом и запорным элементом для перекрытия этого канала и глушения скважины, он снабжен контейнером, установленным на запорном элементе в виде стакана с открытым верхом для сбора и накопления механических примесей, и перфорированными стенками для протока жидкости.
2. Клапан для скважинного оборудования по п.1, отличающийся тем, что контейнер снабжен кольцевой уплотнительной манжетой, которая закреплена в верхней части с его внешней стороны.
3. Клапан для скважинного оборудования, содержащий корпус и запорный элемент, отличающийся тем, что при добыче нефти из скважины, оборудованной пакером со стволом – гидравлическим каналом и запорным элементом для перекрытия этого канала и глушения скважины, он снабжен контейнером, установленным на запорном элементе в виде стакана с открытым верхом для сбора и накопления механических примесей, и перфорированными стенками для протока жидкости, при этом на внутренней стороне стенок контейнера выполнены выступы и/или проточка.
4. Клапан для скважинного оборудования по п.3, отличающийся тем, что контейнер снабжен кольцевой уплотнительной манжетой, которая закреплена в верхней части с его внешней стороны.
РИСУНКИ
|
|