|
|
(21), (22) Заявка: 2004111289/03, 09.09.2002
(24) Дата начала отсчета срока действия патента:
09.09.2002
(30) Конвенционный приоритет:
14.09.2001 FR 0112067
(43) Дата публикации заявки: 10.09.2005
(46) Опубликовано: 10.01.2007
(56) Список документов, цитированных в отчете о поиске:
FR 2765909 А, 15.01.1999. US 5313751 А, 24.05.1994. GB 2093085 А, 25.08.1982. SU 478106 А, 26.08.1975. SU 597800 A, 20.03.1978.
(85) Дата перевода заявки PCT на национальную фазу:
14.04.2004
(86) Заявка PCT:
FR 02/03048 (09.09.2002)
(87) Публикация PCT:
WO 03/025314 (27.03.2003)
Адрес для переписки:
129010, Москва, ул. Б.Спасская, 25, стр.3, ООО “Юридическая фирма Городисский и Партнеры”, пат.пов. Г.Б. Егоровой, рег.№ 513
|
(72) Автор(ы):
ДЕСЖУАЙО Жан-Луи (FR), ДЕСЖУАЙО Пьер-Луи (FR), ЖАНДРО Катрин (FR)
(73) Патентообладатель(и):
ПИСИН ДЕСЖУАЙО С.А. (FR)
|
(54) МОДУЛЬНАЯ ПАНЕЛЬ ДЛЯ ИЗГОТОВЛЕНИЯ ПЛАВАТЕЛЬНОГО БАССЕЙНА
(57) Реферат:
Изобретение относится к области строительства, а именно к конструкции бассейнов. Изобретение позволит упростить сборку конструктивных элементов. Панель для создания плавательных бассейнов, имеющая плоскую конструкцию прямоугольной формы, ограниченную периферической кромкой, образованной из вертикальных фланцев и горизонтальных фланцев. Один из вертикальных фланцев имеет распределенные соответствующим образом по своей высоте фиксирующие приспособления, выполненные с возможностью взаимодействия с дополнительными приспособлениями на другом фланце смежной панели. Она снабжена дополнительными приспособлениями, состоящими в случае одного из фланцев из лапок) образованных в теле фланца, которые выполнены с возможностью вхождения в зацепление с центрирующими и направляющими конфигурациями, принадлежащими другому фланцу. Каждая лапка имеет на своей внешней стороне крепежные неровности, выполненные с возможностью взаимодействия с дополнительными неровностями (1g) после вхождения в зацепление с указанными конфигурациями. Центрирующие и направляющие конфигурации образуют колодец или рукав в виде слива, простирающегося от несущей лицевой стороны фланца, поперечное сечение которого ориентировочно соответствует поперечному сечению лапок. Часть фланца, из которой образованы рукава, имеет крепежные неровности, так что когда лапки введены в зацепление в рукаве, то получают расклинивающий эффект для соединения внахлестку неровностей. Образуется профилированная конфигурация по всей высоте вертикальных фланцев в их части, предназначенной для соединения с плоской лицевой стороной конструкции. 7 з.п. ф-лы, 8 ил.
Настоящее изобретение относится к элементам для сооружения плавательных бассейнов.
Более конкретно настоящее изобретение имеет отношение к созданию панелей такого типа, которые описаны в патенте Франции FR 2765909.
Для лучшего понимания последующего описания следует отметить, что каждая такая панель изготовлена из конструкции заводского изготовления общей прямоугольной формы, имеющей периферическое окружение (раму, обечайку), содержащее, в частности, вертикальные фланцы (крылья) для сборки со смежными модульными панелями. Каждая конструкция имеет ширину, которая меньше ее высоты. В конструкцию преимущественно вводят независимый усиливающий элемент, форма поперечного сечения которого является фасонной и позволяет вводить по всей его высоте бетон, сообщающийся с анкерами для крепления облицовки стены.
Например, усиливающий элемент имеет поперечное сечение, в котором может быть выполнен вертикальный канал, сообщающийся с прямоугольным ободом, так что канал и обод получают бетон вместе с анкерами для крепления облицовки стены. Вертикальный канал преимущественно образован между двумя опорными и крепежными фланцами, расположенными в одной и той же плоскости, так что усиливающий элемент может быть закреплен между вертикальными сборочными фланцами конструкции.
В патенте Франции FR 2765909 раскрыты особые приспособления для сборки различных конструкций друг с другом, без необходимости в использовании дополнительных (прикрепляемых) сборочных элементов в виде винтов или элементов какого-либо другого типа.
Для этого в соответствии с указанной известной публикацией один из вертикальных фланцев конструкции имеет по всей своей длине средство быстрой сборки зажимного типа, взаимодействующее с дополняющим средством, выполненным на другом фланце. Это средство сборки зажимного типа образовано посредством шипов, которые имеют на своих концах область захвата, взаимодействующую с соответствующими открытыми отверстиями, образованными в толще другого фланца.
Такой способ сборки обладает существенными преимуществами по сравнению с известными ранее системами сборки. Однако средства сборки зажимного типа не являются в полной мере удовлетворительными. Например, для того чтобы ввести зажимные шипы в открытые отверстия, необходимо поднимать конструкцию наклонно вверх и складывать ее под углом при наличии смежных сборочных фланцев. Зачастую также необходимо использовать элемент типа плоскогубцев, чтобы убедиться в том, что шипы надежно зажаты в отверстиях.
Такая форма сборки также требует использования специальных приспособлений для обеспечения уплотнения. Конструкция пресс-формы для получения панели этого типа требует перемещений, вызванных наличием вставок или салазок, необходимых для освобождения из пресс-формы некоторых частей панели, в особенности средств сборки. Это приводит к возникновению проблем допуска на посадку, что после сборки создает проблемы плоскостности на плоских лицевых сторонах конструкции, предназначенной для установки облицовки.
Принимая во внимание указанный уровень техники, для решения задачи мгновенной сборки различных модульных элементов без необходимости использования каких-либо дополнительных сборочных деталей в соответствии с настоящим изобретением предлагается упрощение способа сборки, при одновременном улучшении герметичности и плоскостности конструкции после сборки, с возможностью проведения сборки полностью автоматически с использованием соответствующих машин или полностью вручную.
Для решения указанной задачи была спроектирована и разработана панель для сооружения плавательных бассейнов, которая имеет:
плоскую конструкцию заводского изготовления прямоугольной общей формы, ограниченную при помощи периферической кромки, образованной из вертикальных фланцев и горизонтальных фланцев;
причем один из вертикальных фланцев имеет распределенные соответствующим образом по его высоте фиксирующие приспособления, выполненные с возможностью взаимодействия с дополняющими приспособлениями на другом фланце смежной панели;
при этом дополняющие приспособления выбраны, с одной стороны, таким образом, чтобы позволить автоматически закреплять панели вместе после введения в зацепление указанных приспособлений под действием силы прижима (давления), приложенной в плоскости, параллельной вертикальным фланцам, и, с другой стороны, для обеспечения уплотнения в сочетании с фасонной конфигурацией, полученной по всей высоте вертикальных фланцев, в их части, предназначенной для соединения с плоской лицевой стороной конструкции.
Для решения поставленной задачи сборки конструкций друг с другом под действием силы, приложенной в плоскости, параллельной вертикальным фланцам, однако при одновременном центрировании и обеспечении автоматической фиксации указанных конструкций:
используют дополняющие приспособления, которые образованы в случае одного из фланцев из лапок, образованных в толще указанного фланца и выполненных с возможностью входа с зацеплением в центрирующие и направляющие конфигурации, принадлежащими другому фланцу,
причем каждая из лапок имеет на своей наружной стороне крепежные неровности, взаимодействующие с дополняющими неровностями после введения с зацеплением в указанные конфигурации для обеспечения безразборной самоблокировки,
при этом центрирующие и направляющие конфигурации образуют колодец или рукав, образованный в виде слива, простирающегося от несущей лицевой стороны фланца, поперечное сечение которого ориентировочно соответствует поперечному сечению лапок,
причем часть фланца, из которой образованы указанные рукава, имеет крепежные неровности, так что когда лапки введены с зацеплением в рукава, то получают расклинивающий эффект для соединения внахлестку неровностей,
при этом образуется профилированная конфигурация по всей высоте вертикальных фланцев, в их части, предназначенной для соединения с плоской лицевой стороной конструкции, что позволяет обеспечить уплотнение сразу после того, как лапки вошли с зацеплением в рукав.
Для решения проблемы фиксации конструкций вместе после сборки, без риска их разъединения крепежные неровности содержат ряд прямых и параллельных, очень близко расположенных зубьев типа зубьев пилы.
Крепежные лапки преимущественно получены за счет двух параллельных вырезов, образованных под прямыми углами от продольной кромки соответствующего фланца, причем длина лапок меньше, чем ширина фланца.
Крепежные лапки имеют плоское поперечное сечение, причем внутреннее поперечное сечение ограничено кромками рукава, которые являются прямоугольными, а свободные концы крепежных лапок имеют скосы.
Для решения поставленной проблемы обеспечения уплотнения панелей после проведения сборки конструкций используют профилированную конфигурацию уплотнения, которая содержит прилив, полученный за счет дополнительной толщины материала.
Другой поставленной задачей, которую решает настоящее изобретение, является образование верхней кромки конструкции, с которой, в частности, может быть хорошо согласована конкретная облицовка. Для этого делают ширину крепежных лапок меньше, чем ширина внутреннего сечения рукавов, за исключением рукава, расположенного у верхней части конструкции, находящейся в вертикальном положении, причем ширина его внутреннего сечения ориентировочно соответствует ширине лапок, что позволяет производить регулировку по высоте указанных панелей.
Для решения проблемы рационализации производства и снижения расходов конструкцию целиком получают непосредственно посредством литьевого формования из пластмассы.
В соответствии с другой важной характеристикой изобретения на внутренней стороне конструкции предусматривают непосредственно во время ее изготовления стойки, имеющие головку и центрирующую часть, которая может взаимодействовать с суженным отверстием, образованным при помощи отдельного усиливающего элемента, действующим в качестве анкера для крепления облицовки стены и полого вала для заливки бетона, причем указанные стойки и отверстия распределены по всей высоте конструкции.
Указанные ранее и другие характеристики изобретения будут более ясны из последующего детального описания, приведенного со ссылкой на сопроводительные чертежи.
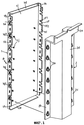
На фиг.1 показан вид в перспективе до проведения сборки базовой конструкции панели и усиливающего элемента.
На фиг.2 показан вид в перспективе базовой конструкции панели, снабженной присоединенным усиливающим элементом.
На фиг.3 показан схематично вид в перспективе двух конструктивных элементов до проведения сборки.
На фиг.4 показан вид, аналогичный фиг.3, после проведения сборки двух элементов.
На фиг.5 показано с увеличением поперечное сечение конструктивных элементов до проведения сборки.
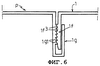
На фиг.6 показан вид, аналогичный фиг.5, после проведения сборки двух элементов.
На фиг.7 показаны частично два элемента конструкции до проведения сборки, вдоль продольных сторон указанных элементов.
На фиг.8 показан вид, аналогичный фиг.7, после проведения сборки двух элементов.
Каждая панель, обозначенная в общем виде позицией (P), предназначена для создания после сборки плавательного бассейна, однако это не исключает и других ее применений. Каждая панель (P) содержит отдельную модульную конструкцию (1) четырехугольной общей формы. Преимущественно и как это следует из патента Франции FR 2765909, каждая конструкция имеет плоскую поверхность (1a) и периферическую сборочную и повышающую жесткость кромку, образованную двумя вертикальными фланцами (1b) и (1c) и двумя горизонтальными фланцами (1d) и (1e). Не ограничивая изобретения, можно отметить, что высота каждого конструктивного элемента (1) ориентировочно в 4 раза превышает его ширину.
Конструкции собирают друг с другом у вертикальных фланцев (1b) и (1c), которые имеют дополнительные средства, позволяющие собирать два конструктивных элемента (1) непосредственно за счет их стыковки друг с другом, причем одновременно происходит их уплотнение вдоль боковой поверхности плоской стороны (1a).
В соответствии с основным признаком изобретения дополнительные сборные средства выбирают, с одной стороны, таким образом, чтобы позволить произвести автоматическую фиксацию конструктивных элементов под действием силы давления, приложенной в плоскости, параллельной вертикальным фланцам, и в то же самое время таким образом, чтобы обеспечить уплотнение в сочетании с профилированными конфигурациями, выполненными по всей высоте конструктивных элементов, у места соединения между фланцами (1b) и (1c) и плоской поверхностью (1a).
Эти дополнительные самофиксирующие средства выполнены в случае фланца (1c) из лапок (1f), образованных в теле указанного фланца. Крепежные лапки (1f) образованы двумя параллельными вырезами (1f1) и (1f2), расположенными под прямыми углами от свободной продольной кромки фланца (1c). Длина лапок (1f) меньше, чем ширина (1c), а также немного меньше, чем глубина вырезов (1f1) и (1f2). Эти лапки (1f) предназначены для вхождения в зацепление в дополнительных центрирующих и направляющих конфигурациях (1g), имеющихся на другом фланце (1b).
Эти центрирующие и направляющие конфигурации (1g) образуют рукава, ограничивающие внутреннее поперечное сечение, ориентировочно соответствующее поперечному сечению лапок (1f). Рукава (1g) образованы в виде слива, простирающегося от опорной поверхности фланца (1b), и начинаются от его свободной продольной кромки.
Каждая из лапок (1f) имеет на своей внешней стороне крепежные неровности (1f3), которые могут взаимодействовать с дополнительными неровностями (1g1) после вхождения в зацепление во внутренней секции рукава (1g). Для этого неровности (1g1) образованы непосредственно на части фланца (1b), ограниченной боковыми кромками рукава (1g).
Крепежные неровности (1f3) и (1g1) содержат ряд прямых и параллельных, очень близко расположенных зубьев типа зубьев пилы.
Как показано, в частности, на фиг.5 и 6, когда лапки (1f3) введены в зацепление во внутренней секции рукавов (1g), то ряды зубьев (1f3) и (1g1) входят в зацепление друг с другом внахлестку и перекрывают друг друга за счет расклинивающего эффекта, причем следует подчеркнуть, что толщина крепежных лапок (1f), главным образом, равна ширине внутренней секции рукава (1g).
Для сборки конструктивных элементов (1) необходимо только расположить их лицом друг к другу, как это показано на фиг.3 и 5, в таком положении, в котором лапки (1f) и рукава (1g) находятся напротив друг друга, и приложить силу давления в плоскости, параллельной вертикальным фланцам. Это приводит к тому, что ряды зубьев соединяются внахлестку за счет действия противоположных сил, в результате чего фланцы (1b) и (1c) наложенных друг на друга смежных конструктивных элементов (1) плотно прижимаются друг к другу под действием упругости шипов.
Эта сборка может быть произведена вручную или же механически или автоматически при помощи любого известного соответствующего средства.
Для упрощения сборки ширину крепежных лапок (1f) выбирают меньше ширины внутренней секции рукава (1g). Однако для того, чтобы обеспечить возможность хорошей регулировки по высоте конструктивных элементов, рукав (1g), расположенный в верхней части конструкции, установленной в вертикальном положении, со стороны верхнего фланца (1d), к которому прикреплена облицовка, имеет ширину внутренней секции, которая соответствует ширине лапок (1f).
Очевидно, что получают конструкцию (1) панели, которая хорошо известна по своему общему дизайну, например, из упомянутого выше патента Франции FR 2765909. Так, например, вертикальные фланцы (1b) и (1c) имеют у их верхнего и нижнего концов вырезы (1h) для введения в зацепление стержня повышения жесткости, который может быть выполнен профилированным. Вертикальные фланцы могут также иметь отверстия (1m) для крепления стоек и для пропускания сборочных элементов, предназначенных для соединения вместе нескольких модулей, каждый из которых получен в результате сборки нескольких панелей (1) при упомянутых выше условиях.
Аналогично шарнирные приспособления, образованные, например, за счет уменьшения толщины образующих ребер, могут быть выполнены у фланцев (1b) и (1c) сборки для осуществления угловой ориентации конструктивных элементов в случае специальной конфигурации плавательного бассейна.
Набор заданных конструктивных элементов (1) вместе с дополняющими крепежными средствами преимущественно может быть получен при помощи литьевого формования из пластмассы.
Аналогично в соответствии с другим важным признаком настоящего изобретения лицевая сторона (1i) панели, противоположная лицевой стороне (1a), на которой крепят облицовку, может иметь ребра жесткости и приспособления для крепления навесным образом отдельно усиливающего элемента (2), который действует в качестве полого вала.
Если обратиться к патенту Франции FR 2765909, то лицевая сторона (1i) конструктивного элемента (1) содержит два ряда вертикальных стоек (1j), расположенных параллельно в непосредственной близости от вертикальных сборных фланцев (1b) и (1c). Стойки (1j) предназначены для взаимодействия с суженными отверстиями (2a), имеющимися на каждом из опорных фланцев (2b) и (2c) усиливающего элемента (2).
В этом отношении следует напомнить, что элементы (2) имеют прямоугольный верхний обод (2e), сообщающийся с вертикальным желобом (2d). Желоб (2d) предназначен для введения бетона, причем прямоугольный обод (2e) после осуществления сборки конструктивных элементов (1) образует анкер для крепления облицовки стены. Ширина усиливающих элементов (2) главным образом равна ширине между внутренними сторонами сборных фланцев (1b) и (1c) конструктивного элемента (1). Следует также отметить, что каждая стойка (1j) имеет головку и центрирующую часть, которая может взаимодействовать с суженными отверстиями (2a) усиливающего элемента (2).
В соответствии с другим признаком изобретения для обеспечения уплотнения конструктивных элементов (1) после сборки при указанных выше условиях, а именно после того, как имеющие зубья крепежные лапки (1f) были введены в зацепление в дополнительных, имеющих зубья рукавах (1g), прилив (1k) образуют по всей высоте вертикальных фланцев (1b) и (1c), в виде участка, по которому они соединены с плоской лицевой стороной (1a) конструкции (1). Этот прилив (1k) получен за счет дополнительной толщины материала, так что он образует профиль уплотнения после того, как имеющие зубья лапки (1f) вошли с перекрытием зубьев в дополнительные рукава (1g).
Преимущества настоящего изобретения ясно следуют из проведенного описания, причем особо следует подчеркнуть следующие преимущества:
легкость сборки конструктивных элементов;
высокое качество полученной сборки, что позволяет обеспечивать отличную плоскостность;
хорошее уплотнение конструктивных элементов друг с другом;
возможность сборки нескольких конструктивных элементов для получения, например, панели заданной ширины, с использованием любого автоматического способа или полностью вручную.
Формула изобретения
1. Панель для создания плавательных бассейнов, имеющая плоскую конструкцию (1) заводского изготовления общей прямоугольной формы, ограниченную периферической кромкой, образованной из вертикальных фланцев (1b) и (1с) и горизонтальных фланцев (1d) и (1е), причем один из вертикальных фланцев (1с) имеет распределенные соответствующим образом по своей высоте фиксирующие приспособления (1f), выполненные с возможностью взаимодействия с дополнительными приспособлениями (1g) на другом фланце (1b) смежной панели, отличающаяся тем, что дополнительные приспособления (1f) и (1g) состоят, в случае одного из фланцев (1с), из лапок (1f), образованных в теле фланца (1с), которые выполнены с возможностью вхождения в зацепление с центрирующими и направляющими конфигурациями (1g), принадлежащие другому фланцу (1b); каждая лапка (1f) имеет на своей внешней стороне крепежные неровности (1f3), выполненные с возможностью взаимодействия с дополнительными неровностями (1g) после вхождения в зацепление с указанными конфигурациями, для обеспечения безразборной самоблокировки, причем центрирующие и направляющие конфигурации (1g) образуют колодец или рукав в виде слива, простирающегося от несущей лицевой стороны фланца (1b), поперечное сечение которого ориентировочно соответствует поперечному сечению лапок (1f), а часть фланца, из которой образованы рукава, имеет крепежные неровности (1g1), так что когда лапки (1f) введены в зацепление в рукаве (1g), то получают расклинивающий эффект для соединения внахлестку неровностей, при этом образуется профилированная конфигурация (1k) по всей высоте вертикальных фланцев (1b) и (1с) в их части, предназначенной для соединения с плоской лицевой стороной (1а) конструкции (1), для обеспечения уплотнения сразу после того, как лапки (If) вошли в зацепление в рукаве (1g).
2. Панель по п.1, отличающаяся тем, что крепежные неровности (1f3) и (1g1) содержат ряд прямых и параллельных, близко расположенных зубьев типа зубьев пилы.
3. Панель по п.1, отличающаяся тем, что крепежные лапки (1f) выполнены двумя параллельными вырезами (1f1) и (1f2), расположенными под прямыми углами от продольной кромки соответствующего фланца (1с), причем длина лапок (If) меньше чем ширина фланца (1с).
4. Панель по п.1, отличающаяся тем, что крепежные лапки (1f) имеют плоское поперечное сечение, причем внутреннее поперечное сечение ограничено кромками рукава (1g), которые являются прямоугольными, а свободные концы крепежных лапок (1f) имеют скосы.
5. Панель по п.1, отличающаяся тем, что профилированное уплотнение представляет собой прилив (1k), полученный за счет дополнительной толщины материала.
6. Панель по п.1, отличающаяся тем, что ширина крепежных лапок (1f) меньше чем ширина внутреннего сечения рукавов (1g), за исключением рукава, расположенного у верхней части конструкции (1), находящейся в вертикальном положении, причем ширина его внутреннего сечения ориентировочно соответствует ширине лапок (1f) для регулировки по высоте панелей.
7. Панель по п.1, отличающаяся тем, что конструкция (1) целиком выполнена непосредственно при помощи литьевого формования из пластмассы.
8. Панель по п.1, отличающаяся тем, что на внутренней стороне конструкции (1) выполнены непосредственно при ее изготовлении стойки (1j), имеющие головку и центрирующую часть, выполненную с возможностью взаимодействия с суженным отверстием (2а), образованным при помощи отдельного усиливающего элемента (2), действующего в качестве анкера для крепления облицовки стены и полого вала для заливки бетона, причем стойки (1j) и отверстия (2а) распределены по всей высоте конструкции (1).
РИСУНКИ
MM4A – Досрочное прекращение действия патента СССР или патента Российской Федерации на изобретение из-за неуплаты в установленный срок пошлины за поддержание патента в силе
Дата прекращения действия патента: 10.09.2008
Извещение опубликовано: 20.07.2010 БИ: 20/2010
|
|