|
|
(21), (22) Заявка: 2005122835/03, 18.07.2005
(24) Дата начала отсчета срока действия патента:
18.07.2005
(46) Опубликовано: 10.01.2007
(56) Список документов, цитированных в отчете о поиске:
SU 1684424 A1, 15.10.1991. SU 1465487 A1, 15.03.1989. SU 1008349 А, 30.03.1983. SU 844674 A, 07.07.1981. FR 2545516 A1, 09.11.1984. US 3693360 А, 26.09.1972. US 3672175 А, 27.06.1972. US 4063428 A, 20.12.1977.
Адрес для переписки:
650026, г.Кемерово, ул. Весенняя, 28, ГУ КузГТУ, п/о 26, до востребования, С.Ф. Целуйко
|
(72) Автор(ы):
Свистич Анатолий Алексеевич (RU)
(73) Патентообладатель(и):
Свистич Анатолий Алексеевич (RU)
|
(54) ГИДРОБУФЕРНАЯ СИСТЕМА ЛЕДОРЕЗОВ
(57) Реферат:
Изобретение относится к ледотехнике, а именно к ледоразрушающим устройствам, и может быть использовано для предупреждения возникновения заторов и предотвращения наводнений, возникающих при заторообразованиях на реках. Гидробуферная система ледорезов включает наклонно установленные ледорезы, которые выполнены в виде наклонных бетонных балок, установленных на опорных плитах, в которых выполнены гнезда для наклонных бетонных балок, одно из которых выше другого настолько, что угол между балкой и плоскостью опорных плит составляет 25-35°, и отверстия для их крепления. Опорные плиты установлены на плавучие платформы из соединенных между собой цельных хлыстов дерева параллельно береговой кромке, через 30-50 м друг от друга, начиная от летней кромки воды. Изобретение обеспечивает повышение эффективности разрушения льда и предотвращения образования заторов на проблемных участках реки и разрушительных наводнений, угрожающих жизни людей в районах заторов. 4 ил.
Изобретение относится к ледотехнике, в частности к ледоразрушающим устройствам, и может быть использовано для предупреждения возникновения заторов и предотвращения наводнений, возникающих при заторообразованиях на реках.
Общеизвестно, что при весеннем ледоходе в узких местах, на крутых поворотах русел рек, перед гидротехническими сооружениями вероятность возникновения заторов довольно высока.
Во время подъема воды в реке в первую очередь увеличивается серединный уровень реки по отношению к береговому. В результате все предметы, плывущие по реке, постепенно прибивает к берегу. Более легкие предметы, в том числе небольшие льдины, береговыми водоворотами отбивает назад. А крупные льдины под действием своей тяжести, течения, рельефа и состава грунта выносит на берег. Они и образуют основание затора. Последующая крупная льдина упирается в это основание, скорость ее движения замедляется, ее начинает разворачивать. Другая крупная льдина, плывущая вдоль другого берега, догоняет предыдущую и расклинивает ее. В результате образуется ледовая арочная очень прочная конструкция. Последующее хаотичное нагромождение льдин затормаживает поток воды. Вода начинает резко подниматься, выталкивая и спрессовывая лед все дальше на берег. Образуется затор.
Причины возникновения заторов:
– во время ледохода повышается высота серединного уровня реки по отношению к береговому уровню;
– чем выше температура воздуха, тем сильнее прибывает вода и тем выше серединный уровень реки;
– большое значение имеет рельеф и грунт реки: на песчаных или глинистых местах заторы бывают чаще.
Наиболее распространенным способом борьбы с весенними заторами пока остается разрушение льда взрывами. Это наносит непоправимый экологический вред.
Известны устройства для разрушения льда, которыми снабжают опоры мостов, включающие наклонно установленные ледорезы (Мосты и сооружения на дорогах. Часть 2. Гибшман Е.Е. и др. Изд. 2-е, переработ. и доп. Изд-во «Транспорт», 1972, с.174-175; Материалы конференций и совещаний по гидротехнике. Ледотермические явления и их учет при возведении гидроузлов и гидротехнических сооружений. Л., Энергия, Ленинградское отделение, 1979, с.131).
Недостатки известных устройств заключаются в том, что они установлены стационарно, выполнены монолитными, они защищают опоры моста, но не предотвращают заторы.
Задача изобретения заключается в повышении эффективности разрушения и предотвращении образования затора на проблемных участках реки.
Технический результат, получаемый при осуществлении изобретения, состоит в предотвращении разрушительных наводнений угрожающих жизни людей в районах заторов.
Указанный технический результат достигается тем, что в гидробуферной системе ледорезов, включающей наклонно установленные ледорезы, согласно изобретению ледорезы выполнены в виде наклонных бетонных балок, каждая из которых установлена на опорные плиты, в которых выполнены гнезда для наклонных бетонных балок, одно из которых выше другого настолько, что угол между балкой и плоскостью опорных плит составляет 25-35°, и отверстия для их крепления, при этом опорные плиты установлены на плавучие платформы из соединенных между собой цельных хлыстов дерева параллельно береговой кромке, через 30-50 м друг от друга, начиная от летней кромки воды.
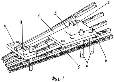
Изобретение поясняется чертежами, где на фиг.1 показан ледорез гидробуферной системы ледорезов в собранном виде; на фиг.2 – ледорез гидробуферной системы ледорезов, вид сбоку; на фиг.3 и 4 показана схема расположения гидробуферной системы ледорезов в русле реки в летний период.
Гидробуферная система ледорезов состоит из нескольких ледорезов, каждый из которых, в свою очередь, состоит из бетонной балки 1, которая выполняет функцию ледореза, закрепленной, например, болтами 2 в гнездах 3 опорных плит 4, установленных на плавучие платформы 5. Плавучие платформы 5 состоят из нескольких соединенных между собой цельных хлыстов дерева.
В проблемное место реки (где образование затора угрожает жизни людей) доставляют гидробуферную систему ледорезов. Ее доставляют по воде на барже, в летний период, когда уровень воды в реке находится на нижней отметке.
Сначала собирают один ледорез системы. Для этого параллельно береговой кромке, начиная от летней кромки воды, отступив от нее 1,5-2 м, укладывают несколько хлыстов дерева, скрепляя их между собой проволокой или металлическими скобами. На них устанавливают опорные плиты 4, в гнезда 3 которых укладывают бетонную балку 1, которую закрепляют в гнездах 3 болтами 2. Каждая бетонная балка 1 установлена на две опорные плиты 4, т.к. две опорные плиты установить легче и проще, чем одну общую. На концах бетонной балки 1 выполнены отверстия для ее крепления в гнезде 3, в котором также имеются отверстия для крепления в них бетонной балки 1. Гнезда 3 имеют разную высоту, т.е. низкое гнездо установлено на одну опорную плиту, а более высокое – на другую опорную плиту, и выполнены одно ниже другого настолько, что установленная в них балка образует с плоскостью опорных плит 4 угол 25-35°. При величине угла больше 35° лед будет упираться в ледорез и создавать затор, а при величине угла меньше 25° лед будет разламываться и крошиться, но при этом длину балки необходимо увеличить. Бетонную балку 1 устанавливают на опорные плиты так, чтобы более низкое гнездо было расположено навстречу течению реки. Это делается для того, чтобы лед мог легко наползать на балку. Затем в отверстия, выполненные на опорных плитах 4 для их крепления к плавучей платформе 5, свободно вставляют металлические штыри 6, нижний конец которых вбивают между хлыстами дерева плавучей платформы 5, а верхний конец загибают или вставляют в отверстие на его конце стержень, для того чтобы штырь 6 не проваливался в отверстие опорной плиты 4.
Следующий ледорез гидробуферной системы ледорезов собирают так же, как и первый, и устанавливают его параллельно первому на расстоянии 30-50 м. Расстояние между ледорезами зависит от угла подъема отмели. Чем положе отмель, тем больше расстояние между ледорезами, для того чтобы ледорезы работали поочередно по мере подступления к ним воды. Количество ледорезов на каждой отмели определяется индивидуально и зависит от размеров и угла подъема отмели: чем больше отмель, тем меньше угол подъема отмели, тем больше ледорезов в гидробуферной системе. Гидробуферные системы ледорезов устанавливают в стороне от судового хода на нескольких поворотах реки одновременно.
Устройство работает следующим образом.
Во время весеннего ледохода льдины наползают на гидробуферную систему ледорезов и под действием собственного веса разламываются и крошатся до безопасных размеров. Гидробуферная система ледорезов сдерживает скорость движения льдин перед проблемным местом на реке и вдоль берега, исключает причины возникновения заторов.
Преимущества заявляемого изобретения:
– в отличие от стационарно установленных ледорезов заявляемая гидробуферная система ледорезов расположена на плавучих платформах – это исключает ее замывание в песок;
– гидробуферная система ледорезов выполнена разборной, поэтому при изменении русла реки ее можно легко перенести на новое место;
– гидробуферная система ледорезов может работать несколько лет без корректировки, пока не изменится русло реки;
– ледорезы работают при различном уровне воды в реке весной: чем выше уровень воды, тем большее количество ледорезов находится в работе; когда самый первый ледорез будет находиться под уровнем воды, следующий, который расположен ближе к берегу, начинает работать;
– гидробуферная система ледорезов саморегулируемая, т.е. работает при малой и при большой воде;
– в отличие от других средств предотвращения и разрушения заторов, при которых используются взрывные работы, наносящие огромный экологический вред, заявляемое изобретение является безопасным и безвредным для окружающей среды и для людей.
Формула изобретения
Гидробуферная система ледорезов, включающая наклонно установленные ледорезы, отличающаяся тем, что ледорезы выполнены в виде наклонных бетонных балок, каждая из которых установлена на опорные плиты, в которых выполнены гнезда для наклонных бетонных балок, одно из которых выше другого настолько, что угол между балкой и плоскостью опорных плит составляет 25-35°, и отверстия для их крепления, при этом опорные плиты установлены на плавучие платформы из соединенных между собой цельных хлыстов дерева параллельно береговой кромке, через 30-50 м друг от друга, начиная от летней кромки воды.
РИСУНКИ
|
|