|
|
(21), (22) Заявка: 2005114466/02, 13.05.2005
(24) Дата начала отсчета срока действия патента:
13.05.2005
(46) Опубликовано: 10.01.2007
(56) Список документов, цитированных в отчете о поиске:
RU 2213792 C1, 10.10.2003. RU 2035127 C1, 10.05.1995. FR 2692748 A1, 24.12.1993. US 5244488 A, 14.09.1993. WO 00/27168 A1, 11.05.2000. EP 0619766 A1, 19.10.1994.
Адрес для переписки:
142101, Московская обл., г. Подольск, ул. Плещеевская, 15, ОАО “Подольск-Цемент”
|
(72) Автор(ы):
Бурлов Юрий Александрович (RU), Бурлов Иван Юрьевич (RU), Бурлов Александр Юрьевич (RU)
(73) Патентообладатель(и):
Бурлов Юрий Александрович (RU)
|
(54) ГРАФИТОВЫЙ СТЕРЖНЕВОЙ ПОЛЫЙ ТРУБЧАТЫЙ ЭЛЕКТРОД ПЛАЗМЕННОГО РЕАКТОРА-СЕПАРАТОРА
(57) Реферат:
Изобретение относится к металлургии, в частности, к конструкции электродов для электродуговых плазменных реакторов-сепараторов для одновременного получения расплавов тугоплавких металлических материалов и тугоплавких неметаллических материалов и возгонов и может быть использовано в строительной промышленности, конкретно в производстве цемента, химической промышленности и металлургии. Техническим результатом является повышение надежности работы электрода и увеличение производительности. Графитовый стержневой полый трубчатый электрод содержит задерживающий падение сырьевого материала теплообменный элемент, выполненный в виде винтового шнека-дозатора с дифференциальным шагом, расположенный в полости электрода, и бункер для сырьевого компонента-охладителя. Графитовый стержневой полый трубчатый электрод и винтовой шнек-дозатор оснащены термическими датчиками, установленными в стенках электрода и на валу шнека-дозатора по всей их длине с шагом 0,2-0,5 м, при этом 1/3-я верхняя часть электрода выполнена из графита с низкой теплопроводностью, а 2/3-х нижней его части – из графита с высокой теплопроводностью. 2 з.п. ф-лы, 1 ил.
Изобретение относится к электротермии, в частности, к электродам электродуговых плазменных реакторов-сепараторов для одновременного получения расплавов тугоплавких металлических материалов и тугоплавких неметаллических материалов и возгонов, преимущественно специальных видов клинкеров искусственных вяжущих, например цементного клинкера, имеющих высокую степень вязкости расплава и сопутствующих сплавов металлов и может быть использовано в строительной промышленности, конкретно производство цемента, химической промышленности и металлургии.
В плазменных реакторах-сепараторах для плавки, например, отходов металлургических производств, химических производств с содержанием некоторого количества цветных металлов используются графитовые электроды, а в их полостях вмонтированы задерживающие падение сырьевого материала теплообменные элементы, выполненные в виде пересыпных полок или шнека.
Известен электрод для плавления материала, например, стали и металлизованных окатышей, состоящий из графитированного электрода с длиной свечи от 4 до 7 м. По каждой свече может проходить ток до 100 кА, под действием которого материал нагревается. Таким образом, свеча имеет температуру от 200°С в электрододержателе до 3000°С в зоне дуг (патент RU №2035127 C1, H 05 B 7/14, 1995 г. и др. авторы Дрогин В.И. и др.).
Недостатком указанного устройства является эрозия электрода, недостаточная глубина переработки материала, низкая производительность агрегата при использовании промышленных отходов, цикличность работы.
Известен электрод для плавления материала, содержащий графитовый стержневой полый трубчатый электрод, задерживающий падение сырьевого материала теплообменный элемент, выполненный в виде винтового шнека-дозатора с дифференциальным шагом, бункера сырьевого компонента – охладителя (патент РФ №2213792, С 22 В 9/22, F 27 B 14/04 10.10.2003 г. Бюл. №28, заявка от 19.04.2002 г. (авторы Ю.А. Бурлов и др.).
Недостатком указанного устройства является невозможность контроля температуры в агрегате, вследствие чего имеют место прогары футеровки электрода, низкая производительность, большой расход энергозатрат.
Задача, на решение которой направлено данное изобретение, позволяет значительно повысить надежность работы, экономию электроэнергии за счет того, что 1/3 верхней части электрода выполнена с низкой теплопроводностью, повысить производительность установки в целом, а также эксплуатационную стойкость графитового стержневого полого трубчатого электрода плазменного реактора-сепаратора, качество готового продукта и обеспечить полную автоматизацию технологического процесса, за счет оснащения электрода и винтового шнека-дозатора с дифференциальным шагом термическими датчиками.
Поставленная задача решается тем, что графитовый стержневой полый трубчатый электрод плазменного реактора-сепаратора содержит задерживающий падение сырьевого материала теплообменный элемент, выполненный в виде винтового шнека-дозатора с дифференциальным шагом, бункера сырьевого материала – охладителя, при этом графитовый стержневой полый трубчатый электрод плазменного реактора-сепаратора оснащен термическими датчиками по всей длине с шагом 0,2-0,5 м, при этом 1/3-я верхней части выполнена с низкой теплопроводностью и 2/3-х нижней части выполнена с высокой теплопроводностью, при этом теплообменный элемент оснащен термическими датчиками по всей длине с шагом 0,2-0,5 м, и выполнен в виде винтового шнека-дозатора с дифференциальным шагом, длина которого равна длине графитового стержневого полого трубчатого электрода, при этом графитовый стержневой полый трубчатый электрод имеет длину от 1 м до 10 м, диаметром от 100 мм до 500 мм, охлаждается изнутри сырьевым материалом – охладителем. Поддержание заданного параметра температуры сырьевого материала на выходе осуществляется автоматически.
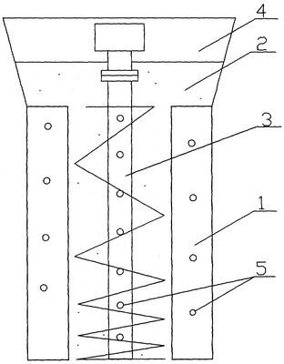
Графитовый стержневой полый трубчатый электрод плазменного реактора-сепаратора состоит из графита, с регулируемой температурой, стержневого полого трубчатого электрода 1, охлаждаемого изнутри сырьевым материалом – охладителем 2, задерживающего падение сырьевого материала дозирующего теплообменного элемента, выполненного в виде винтового шнека-дозатора 3 с дифференциальным шагом, длина которого равна длине графитового стержневого полого трубчатого электрода, составляет от 1 м до 10 м, диаметром от 100 мм до 500 мм, бункера 4 сырьевого материала – охладителя. Дозирующий теплообменный элемент оснащен термическими датчиками 5 по всей длине с шагом 0,2-0,5 м.
Стенки графитового стержневого полого трубчатого электрода плазменного реактора-сепаратора оснащены по всей длине с шагом 0,2-0,5 м термическими датчиками 5 с температурой от 20-1500°С (см. фиг 1). 1/3-я верхняя часть графитового стержневого полого трубчатого электрода выполнена с низкой теплопроводностью, а остальные 2/3-их нижней части графитового стержневого полого трубчатого электрода плазменного реактора-сепаратора выполнены с высокой теплопроводностью, для предотвращения потери тепла в окружающую среду.
Графитовый стержневой полый трубчатый электрод плазменного реактора-сепаратора работает следующим образом.
Из бункера 4 сырьевой материал – охладитель 2 самотеком поступает в нагретый до температуры 200-3000°С графитовый стержневой полый трубчатый электрод 1 длиной от 1 м до 10 м, диаметром от 100 мм до 500 мм, в котором происходит нагрев сырьевого материала, непрерывное его дозирование теплообменным элементом, выполненным в виде винтового шнека-дозатора 3 с дифференциальным шагом. Теплообменный элемент оснащен термическими датчиками 5 с температурой 20-1500°С по всей длине с шагом 0,2-0,5 м. Длина винтового шнека-дозатора равна длине графитового стержневого полого трубчатого электрода плазменного реактора-сепаратора. Второй функцией сырьевого материала является охлаждение электрода.
Индуктивный ток обеспечивает гомогенизацию расплава и поддерживает температуру на заданном уровне. При продвижении материала 2 по винтовой поверхности в графитовом стержневом полом трубчатом электроде 1 происходит передача тепла от графитового электрода к материалу и последний, доведенный до температуры диссоциации карбонатов, попадает на поверхность расплава и синтезируются с большей скоростью, т.к. в этом случае идут уже экзотермические реакции, проходящие с выделением тепла. Стенки графитового стержневого полого трубчатого электрода плазменного реактора-сепаратора оснащены по всей длине с шагом 0,2-0,5 м термическими датчиками 5 с измеряемой температурой 20-1500°С.
Для экономии электроэнергии и предотвращения потери тепла в окружающую среду через открытую верхнюю часть графитового стержневого полого трубчатого электрода, 1/3-я его части выполнена с низкой теплопроводностью, а остальные 2/3-их нижней части, графитового стержневого полого трубчатого электрода выполнены с высокой теплопроводностью.
Формула изобретения
1. Графитовый стержневой полый трубчатый электрод плазменного реактора-сепаратора для плавки тугоплавких металлов и неметаллических материалов, содержащий теплообменный элемент, задерживающий падение сырьевого материала-охладителя и выполненный в виде расположенного в полости электрода винтового шнека-дозатора с дифференциальным шагом, и бункер для сырьевого материала-охладителя, отличающийся тем, что он снабжен термическими датчиками, установленными в стенках электрода и на валу шнека-дозатора по всей их длине с шагом 0,2-0,5 м, при этом 1/3-я верхняя часть электрода выполнена из графита с низкой теплопроводностью, а 2/3-х нижней его части – из графита с высокой теплопроводностью.
2. Электрод по п.1, отличающийся тем, что он имеет длину от 1 до 10 м и диаметр от 100 до 500 мм.
3. Электрод по п.1, отличающийся тем, что длина винтового шнека-дозатора равна длине электрода.
РИСУНКИ
|
|