|
(21), (22) Заявка: 2004104138/13, 12.02.2004
(24) Дата начала отсчета срока действия патента:
12.02.2004
(43) Дата публикации заявки: 20.08.2005
(46) Опубликовано: 10.01.2007
(56) Список документов, цитированных в отчете о поиске:
RU 2043397 C1, 10.09.1995. SU 1021634, 07.06.1983. RU 95106344 A1, 27.03.1997. SU 96244, 01.12.1951.
Адрес для переписки:
446442, Самарская обл., пос. Усть-Кинельский, ул. Учебная, 2, Самарская государственная сельскохозяйственная академия, научная часть, В.Н. Хабибуллину
|
(72) Автор(ы):
Ларионов Алексей Юрьевич (RU), Мишустин Александр Вениаминович (RU), Новиков Владимир Васильевич (RU), Ченцов Валерий Владимирович (RU)
(73) Патентообладатель(и):
Самарская государственная сельскохозяйственная академия (RU)
|
(54) СПОСОБ ИЗВЛЕЧЕНИЯ МАСЛА ИЗ РАСТИТЕЛЬНОГО СЫРЬЯ И УСТРОЙСТВО ДЛЯ ЕГО ОСУЩЕСТВЛЕНИЯ
(57) Реферат:
Изобретение относится к масложировому производству, а именно, к извлечению масла из растительного сырья. Способ предусматривает подачу сырья в зеерную камеру и обкатывание сырья на поверхности последней элементами, эксцентричными зеерной камере. Причем сырье обкатывают червяками с радиально заостренным дополнительным витком на их основных витках. Устройство для осуществления способа включает загрузочную и зеерную камеры, приводной вал, соосный последним, шнек, выполненный на приводном валу, расположенный в загрузочной камере, и выполненные на приводном валу эксцентрики, расположенные в зеерной камере и характеризуется тем, что на эксцентриках установлены с возможностью вращения червяки с радиально заостренным дополнительным витком на их основных витках, причем направление витков червяков противоположно направлению витков шнека, а у смежных эксцентриков эксцентриситеты выполнены по разные стороны относительно оси приводного вала, при этом в направлении от загрузочной камеры глубина канавок между основными витками червяков уменьшается. Изобретение позволяет извлекать масло при сравнительно простом инструментальном обеспечении – за счет одного типа инструментов. 2 н.п. ф-лы, 3 ил.
Изобретение относится к масложировому производству, а именно к извлечению масла из растительного сырья.
Известен способ извлечения масла из растительного сырья, включающий подачу сырья в зеерную камеру, обкатывание сырья на поверхности последней элементами, эксцентричными зеерной камере, выполненными в виде колец, расположенных с интервалом друг относительно друга, объемное прессование сырья в зеерной камере промежуточными относительно колец шнеками давления и резание и перемешивание сырья торцовыми фрезами [1].
Известный способ извлечения масла включает комбинацию двух способов отжима сырья: путем его обкатывания на поверхности зеерной камеры и путем объемного прессования сырья в последней шнеками давления.
Отжим сырья путем его обкатывания, как представляющий, в сущности жесткое прессование сырья на поверхности зеерной камеры, обуславливает наиболее эффективный способ извлечения масла. На совершенствование такого способа извлечения масла и направлено заявляемое изобретение.
Способ извлечения масла путем обкатывания сырья на поверхности зеерной камеры посредством колец обуславливает ввиду неспособности колец продвигать сырье вдоль зеерной камеры, а также перемешивать и резать сырье, необходимость дополнительных инструментов. Для чего в известном способе служат промежуточные шнеки давления, продольно продвигающие сырье (наряду с его объемным прессованием), и торцевые фрезы, перемешивающие и режущие сырье.
Задачей изобретения является упрощение инструментального обеспечения способа извлечения масла из растительного сырья.
Задача решается следующей совокупностью признаков способа.
Как и известный, предлагаемый способ включает подачу растительного сырья в зеерную камеру и обкатывание сырья на поверхности последней элементами, эксцентричными зеерной камере.
В отличие от известного, в предлагаемом способе сырье обкатывают червяками с радиально заостренным дополнительным витком на их основных витках.
Техническим результатом предлагаемого способа является:
– отжим сырья червяками, причем на двух уровнях: первичный мягкий отжим на основаниях межвитковых канавок и завершающий жесткий отжим на вершинах основных витков;
– продвижение сырья вдоль зеерной камеры за счет воздействия на сырье витков червяков;
– резание сырья радиально заостренным дополнительным витком червяков;
– перемешивание сырья винтовыми поверхностями червяков за счет их сложного вращения: вокруг собственной оси и оси зеерной камеры.
Таким образом, совокупность признаков способа находится в причинно-следственной связи с получаемым техническим результатом, решающим поставленную задачу: упрощение инструментального обеспечения способа, так как подаваемое в зеерную камеру растительное сырье проходит все стадии для извлечения масла за счет одного типа инструмента – червяков с дополнительным радиально заостренным витком на их основных витках.
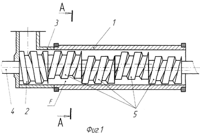
На фиг.1 схематично показано предлагаемое устройство для извлечения масла предлагаемым способом; на фиг.2 – разрез А-А на фиг.1; на фиг.3 уточнен профиль витков червяка – частичный разрез Б-Б на фиг.2.
Устройство для извлечения масла из растительного сырья предлагаемым способом включает зеерную камеру 1 шнек 2, расположенный под патрубком загрузочной камеры 3 и выполненный на приводном валу 4, который соосен загрузочной и зеерной камерам и приводится во вращение внешним энергетическим источником, например электродвигателем (на чертеже не показан), и включает последовательно чередующимися червяками 5 с радиально заостренным дополнительным витком 6 на их основных витках 7. Червяки 5 установлены с возможностью вращения на закрепленных на приводном валу 4 его эксцентриках 8, в результате чего червяки эксцентричны относительно приводного вала, а значит и относительно зеерной камеры 1. Причем направление витков червяков 5 противоположно направлению витков шнека 2, а эксцентриситеты смежных эксцентриков 8 выполнены по разные стороны относительно оси приводного вала 4. При этом глубина канавок между основными витками 7 червяков 5 уменьшается по мере приближения канавок к заднему основанию зеерной камеры 1 (на чертеже условно не отображено).
Способ осуществляется следующим образом.
В переднее основание зеерной камеры 1 растительное сырье подается шнеком 2 и после заполнения сырьем под действием шнека 2, пространства F между поверхностью зеерной камеры 1 и передним червяком 5 последний под действием сил трения со стороны набегающего на червяк сырья начинает вращаться на собственном эксцентрике 8 в направлении, обратном направлению вращения приводного вала 4. В результате происходит обкатывание этим червяком 5 сырья на поверхности зеерной камеры 1. При этом происходит отжим сырья, обеспечивающий извлечение из него масла, которое стекает через щели или отверстия (на чертеже не показаны) зеерной камеры 1. Причем отжим сырья производится на двух уровнях: на основаниях межвитковых канавок и более жесткий отжим на вершинах основных витков 7. А радиально заостренный дополнительный виток 6 червяка, образующий в узкой части пространства F минимально допустимый (гарантированный) зазор относительно зеерной камеры 1, производит резание фрагментов сырья. Так как и направление вращения червяков 5 вокруг собственной оси (совпадающей с осью наружной поверхности эксцентриков 8) и направление витков червяков противоположно соответственно направлению вращения и направлению витков шнека 2, то при вращении червяков вокруг собственной оси их витки 7 стремятся сдвинуть сырье в направлении заднего основания зеерной камеры 1. А в результате вращения червяков 5 относительно оси зеерной камеры 1 (совпадающей с осью приводного вала 4) витки червяков стремятся сдвинуть сырье в направлении переднего основания зеерной камеры. Но результирующим будет сдвиг сырья в направлении заднего основания зеерной камеры 1, что следует из следующего анализа.
За один оборот червяка 5 вокруг оси зеерной камеры 1 наружная поверхность червяка переместится по ее поверхности на расстояние, равное:

где S – расстояние перемещения наружной поверхности червяка по поверхности зеерной камеры;
D – диаметр зеерной камеры.
В результате при вращении вокруг оси эксцентрика, т.е. при качении, за один упомянутый выше оборот червяка вокруг оси зеерной камеры он сделает вокруг собственной оси следующее количество оборотов:

где d – диаметр наружной поверхности червяка.
Так как (пренебрегая упомянутым гарантированным зазором)

где е – эксцентриситет червяка относительно оси зеерной камеры,
получаем
 
что равно

где k – превышение частоты вращения червяка вокруг собственной оси относительно частоты его вращения вокруг оси зеерной камеры.
Из (5), например, при практически применимых величинах (e/D) порядка 0,1-0,2, имеем округленно

Из (6) следует, что сдвиг сырья витками червяка 5 будет происходить в направлении заднего основания зеерной камеры 1.
Таким образом, червяки 5 выполняют не только отжим сырья на поверхности зеерной камеры 1 и резание сырья, но и продольное продвижение сырья вдоль зеерной камеры.
При этом надежность продвижения сырья от одного червяка 5 к последующему обеспечивает выполнение эксцентриситетов смежных эксцентриков 8 по разные стороны относительно оси приводного вала 4, так как при этом максимальное приближение витков одного червяка к поверхности зеерной камеры 1, при котором витки наиболее эффективно сдвигают сырье вдоль поверхности зеерной камеры, расположено против наиболее широкого пространства F между поверхностью последующего червяка и поверхностью зеерной камеры.
При продольном продвижении сырья его объем уменьшается в результате стока извлеченного масла через щели (или отверстия) зеерной камеры 1. При этом уменьшающаяся глубина канавок между основными витками 7 червяков 5 в направлении к заднему основанию зеерной камеры 1 обеспечивает полноту заполнения сырьем пространства между поверхностью последней на всей ее длине и поверхностью червяков. Что обусловливает устойчивость процесса переработки сырья, исключая прерывистость его обкатывания по мере приближения к заднему основанию зеерной камеры 1.
При продвижении к заднему основанию зеерной камеры 1 перерабатываемого сырья перемешивание последнего винтовыми поверхностями червяков 5 обеспечивается за счет сложного их вращения: вокруг собственной оси и оси зеерной камеры. Что противодействует закапсулированию масла во фракциях перерабатываемого сырья, перманентно изменяя их положение при отжиме и резании.
Предлагаемый способ обусловливает извлечение масла при сравнительно простом инструментальном обеспечении: за счет одного типа инструментов – червяков с дополнительным радиально заостренным витком на их основных витках.
Способ, например, применим и при переработке необрушенных семян подсолнечника.
Источники информации:
Патент РФ №2043397, кл. С 11 B 1/06, 1995 (прототип).
Формула изобретения
1. Способ извлечения масла из растительного сырья, включающий подачу сырья в зеерную камеру и обкатывание сырья на поверхности последней элементами, эксцентричными зеерной камере, отличающийся тем, что сырье обкатывают червяками с радиально заостренным дополнительным витком на их основных витках.
2. Устройство для извлечения масла из растительного сырья по п.1, включающее загрузочную и зеерную камеры, приводной вал, соосный последним, шнек, выполненный на приводном валу, расположенный в загрузочной камере, и выполненные на приводном валу эксцентрики, расположенные в зеерной камере, и характеризующееся тем, что на эксцентриках установлены с возможностью вращения червяки с радиально заостренным дополнительным витком на их основных витках, причем направление витков червяков противоположно направлению витков шнека, а у смежных эксцентриков эксцентриситеты выполнены по разные стороны относительно оси приводного вала, при этом в направлении от загрузочной камеры глубина канавок между основными витками червяков уменьшается.
РИСУНКИ
MM4A – Досрочное прекращение действия патента СССР или патента Российской Федерации на изобретение из-за неуплаты в установленный срок пошлины за поддержание патента в силе
Дата прекращения действия патента: 13.02.2007
Извещение опубликовано: 20.06.2008 БИ: 17/2008
|