|
|
(21), (22) Заявка: 2005114197/12, 11.05.2005
(24) Дата начала отсчета срока действия патента:
11.05.2005
(46) Опубликовано: 10.01.2007
(56) Список документов, цитированных в отчете о поиске:
SU 400261 А, 01.10.1973. SU 1235471 A1, 07.06.1986. SU 1364537 A1, 07.01.1988. FR 2270146 A1, 05.12.1975.
Адрес для переписки:
393760, Тамбовская обл., г. Мичуринск, ул. Интернациональная, 101, Мичуринский государственный аграрный университет
|
(72) Автор(ы):
Бросалин Василий Григорьевич (RU), Манаенков Константин Алексеевич (RU)
(73) Патентообладатель(и):
ФГОУ ВПО “Мичуринский государственный аграрный университет” (RU)
|
(54) УСТРОЙСТВО УКЛАДКИ ПЛОДОВ В ТАРУ
(57) Реферат:
Изобретение относится к области механизации сельского хозяйства и может быть использовано при механизированной уборке плодов. Устройство содержит горизонтальный питающий транспортер с направленной вниз дополнительной секцией и установленный параллельно ей прижимной транспортер. Под выгрузной частью транспортеров с помощью навески закреплен полый заполненный воздухом чечевицеобразный отражатель из эластичного материала, снабженный сильфоном с приводом, обеспечивающим принудительную пульсацию воздуха во внутренней полости отражателя. Транспортеры снабжены гидравлическим приводом выглубления, система управления которого включает переливной клапан, кинематически связанный с навеской отражателя. В работе за счет пульсации воздуха отражатель автоматически контролирует уровень плодов в таре и обеспечивает оптимальную, заранее установленную и не превышающую допустимую, высоту падения плодов. 1 ил.
Изобретение относится к области механизации сельского хозяйства и может быть использовано при механизированной уборке плодов.
Известно устройство для загрузки плодов в тару, содержащее раму с закрепленными на ней питающим транспортером, плодоспуском с гасителями и механизм управления [1]. При загрузке плодов оператор визуально определяет и устанавливает устройство в таре и по мере ее заполнения выглубляет устройство, поддерживая оптимальную высоту падения плодов.
Недостатком устройства является высокая повреждаемость плодов вследствие их хаотичного движения в плодоспуске и многократных ударов при встрече с гасителями и друг с другом. Кроме того, оператор не в состоянии управлять устройством в оптимальном режиме из-за необходимости постоянного визуального контроля за положением выгрузной части устройства относительно уровня плодов в таре, что приводит к дополнительным механическим повреждениям плодов от падения с высоты, превышающей допустимую.
Наиболее близким является устройство для укладки плодов в тару [2 – прототип], содержащее горизонтальный питающий транспортер с направленной вниз дополнительной секцией, прижимной транспортер, установленный параллельно дополнительной секции, полый заполненный воздухом чечевицеобразный отражатель, покрытый эластичным воздухонепроницаемым материалом и подвешенный под выгрузной частью транспортеров, и гидравлический привод подъема выгрузного транспортера с системой управления подъемом.
Плоды, убираемые машиной, подаются равномерным потоком между транспортерами устройства на отражатель. Попав на его поверхность, они скатываются с нее в тару, заполняя равномерно пространство вокруг отражателя и под ним. По мере скопления плодов отражатель от ударов падающего на него потока вибрирует и выглубляется из общей массы плодов в таре. Оператор наблюдает за процессом и периодически поднимает выгрузные транспортеры и связанный с ними отражатель. Увеличение высоты выгрузки плодов за счет эластичной поверхности отражателя и его самовыглубление позволяют оператору реже изменять положение укладчика до полной загрузки тары.
Недостатком этого устройства является то, что оно хорошо работает при укладке арбузов, дынь, то есть крупных плодов, и не может быть применено, например, для укладки в тару фруктов и мелких овощей. При падении таких плодов на отражатель не возникает достаточно эффективной пульсации, необходимой для его выглубления. Из-за этого плоды повреждаются.
Предложено устройство для укладки плодов в тару, содержащее горизонтальный питающий транспортер с направленной вниз дополнительной секцией, прижимной транспортер, установленный параллельно дополнительной секции, полый заполненный воздухом чечевицеобразный отражатель, покрытый эластичным воздухонепроницаемым материалом, с навеской для крепления его под выгрузной частью транспортеров и привод выглубления транспортеров с системой управления, отличающееся тем, что отражатель снабжен сильфоном с приводом и гибким воздуховодом, соединенным с внутренней частью отражателя, а система управления выглублением включает переливной клапан, кинематически связанный с навеской эластичного отражателя.
Качественная работа предлагаемого устройства для укладки плодов в тару достигается тем, что принудительная пульсация воздуха внутри отражателя за счет сильфона способствует его выглублению из слоя как при укладке крупных тяжелых, так и мелких легких плодов. При этом автоматически поддерживается необходимая безопасная высота падения плодов в таре. Кроме того, функции оператора упрощаются, снижается его утомляемость.
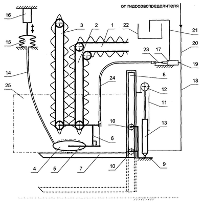
На чертеже схематично изображено устройство для укладки плодов в тару.
Устройство содержит горизонтальный питающий транспортер 1 с дополнительной направленной вниз секцией 2, прижимной транспортер 3, полый чечевицеобразный эластичный отражатель 4 с навеской 5, которая шарнирно закреплена к кронштейнам 6, установленным по бокам транспортеров, и привод выглубления транспортеров, состоящий из вильчатого подхвата 7, оборудованного вертикальными направляющими 8 и соединенного с рамой машины 9 посредством роликов 10 и цепи 11, перекинутой через ролик 12, установленный на штоке гидроцилиндра 13, концы которой закреплены на вильчатом подхвате 7 и корпусе гидроцилиндра 13. Внутренняя полость отражателя 4 гибким воздуховодом 14 соединена с сильфоном 15, оборудованным приводом 16.
Система управления выглублением транспортеров включает гидроцилиндр 13, гидрораспределитель (не показан) и переливной клапан 17, соединенных между собой трубопроводами 18, 19 и 20. От переливного клапана 17 отходит трубопровод 21 в масляный бак 22.
Кинематическая связь навески 5 с переливным клапаном 17 представляет собой гибкий трос 23 в оболочке 24. Тара 25 обозначена штрих-пунктирной линией.
Работает устройство следующим образом. Порожнюю тару 25 устанавливают на вильчатый подхват 7 и оператор, воздействуя на гидрораспределитель, гидроцилиндром 13 поднимает вильчатый подхват в крайнее верхнее положение. Включает привод 16 сильфона 15. Далее устройство работает в автоматическом режиме. Плоды, убираемые машиной, подаются равномерным потоком между транспортерами 2 и 3 на отражатель 4 и скатываются с него в тару, заполняя равномерно пространство вокруг отражателя и под ним. По мере скопления плодов вибрирующий от пульсаций сильфона 15 отражатель 4 выглубляется из общей массы плодов и навеской 5 вытягивает из оболочки 24 трос 23, который открывает переливной клапан 17, и масло, находящееся в гидроцилиндре 13, от веса вильчатого подхвата 7 и тары 25 с плодами начинает перетекать по трубопроводам 18, 19 и 21 в масляный бак 22. При этом вильчатый подхват с тарой опускается, отражатель с навеской восстанавливают свое положение, и клапан 17 закрывает утечку масла из гидроцилиндра 13. Так продолжается до полного заполнения контейнера, после чего оператор выгружает наполненный контейнер на землю и на его место устанавливает порожний.
Качественная работа предлагаемого устройства достигается за счет обеспечения постоянной высоты падения плодов в контейнере, не превышающей заранее заданной допустимой, и автоматизации процесса укладки плодов в тару.
Источники информации
1. А.С. №963899, М.кл. В 65 В 25/04.
2. А.С. №400261, М.кл. А 01 D 46/24, В 65 G 65/00. Бюл. №40, 1974.
Формула изобретения
Устройство для укладки плодов в тару, содержащее горизонтальный питающий транспортер с направленной вниз дополнительной секцией, прижимной транспортер, установленный параллельно дополнительной секции, полый, заполненный воздухом чечевицеобразный отражатель, покрытый эластичным воздухонепроницаемым материалом, с навеской для крепления его под выгрузной частью транспортеров и привод выглубления транспортеров с системой управления, отличающееся тем, что отражатель снабжен сильфоном с приводом и соединенным с внутренней полостью отражателя гибким воздуховодом, а система управления выглублением транспортеров включает переливной клапан, кинематически связанный с навеской эластичного отражателя.
РИСУНКИ
MM4A – Досрочное прекращение действия патента СССР или патента Российской Федерации на изобретение из-за неуплаты в установленный срок пошлины за поддержание патента в силе
Дата прекращения действия патента: 12.05.2007
Извещение опубликовано: 20.06.2008 БИ: 17/2008
NF4A – Восстановление действия патента СССР или патента Российской Федерации на изобретение
Дата, с которой действие патента восстановлено: 20.09.2008
Извещение опубликовано: 20.09.2008 БИ: 26/2008
|
|