|
|
(21), (22) Заявка: 2006103507/15, 08.02.2006
(24) Дата начала отсчета срока действия патента:
08.02.2006
(46) Опубликовано: 10.01.2007
(56) Список документов, цитированных в отчете о поиске:
RU 2254912 C1, 27.06.2005. RU 2209112 C1, 27.07.2003. RU 2254911 C1, 27.06.2005. WO 8809210 A, 01.12.1988. SU 1380766 A2, 15.03.1988. SU 1015298 A, 30.04.1983. RU 2129762 C1, 27.04.1999.
Адрес для переписки:
160019, г.Вологда, ул. Некрасова, 39, С.Д. Шестакову
|
(72) Автор(ы):
Шестаков Сергей Дмитриевич (RU)
(73) Патентообладатель(и):
Никольский Константин Николаевич (RU)
|
(54) КАВИТАЦИОННЫЙ РЕАКТОР
(57) Реферат:
Изобретение относится к аппаратам для воздействия на жидкость энергией акустического поля кавитации, порождаемой упругими гармоническими колебаниями жидкости ультразвуковой частоты, и может быть использовано для интенсификации процессов взаимодействия реагентов при жидкофазных реакциях в химической, пищевой, фармацевтической и парфюмерной промышленности, а также в медицине и энергетике. Реактор содержит симметричную камеру, излучатель и отражатель акустической волны, обращенные в жидкость, поверхности которых имеют форму круга и размещены в пучностях колебательных смещений жидкости в акустической волне. Диаметр обращенных в жидкость поверхностей излучателя и отражателя выбран в диапазоне 0,92-1,56 длины акустической волны, а расстояние между поверхностями излучателя и отражателя по нормали к ним составляет 1,0-1,5 длины акустической волны. Технический результат состоит в интенсификации воздействия кавитации на жидкость. 5 ил., 1 табл.
Изобретение относится к ультразвуковым аппаратам для воздействия на жидкость энергией акустической кавитации и может быть использовано для надтепловой трансформации энергии упругих волн в жидкости с целью интенсификации процессов взаимодействия реагентов при жидкофазных реакциях в химической, пищевой, фармацевтической и парфюмерной промышленности, а также в медицине и энергетике.
Известны устройства [Патент US 4618263, 1986, заявка РСТ/АТ88/00034, 1987, заявка PCT/GB99/03857, 1998] с излучателями упругих гармонических волн и отражателями этих волн, между которыми в жидкости устанавливаются упругие волны, порождающие в ней акустическую кавитацию. В этих устройствах не предъявляется каких-либо требований к амплитуде гармонического давления акустических волн. Это не позволяет произвольно устанавливать распределение плотности потенциальной энергии кавитации путем подбора геометрических размеров и формы внутреннего объема реактора, используя известные условия, при которых период пульсации пузырьков в кавитационных областях близок по длительности периоду акустической волны. То есть установить строго зависимую от геометрических размеров пространства упругой волны плотность энергии кавитации, рассеиваемой в той или иной части объема жидкости, невозможно.
Известны способы кавитационной обработки жидкости и реакторы для их осуществления [Патент RU 2228217, 2004, патент RU 2252070, 2005], в которых вид пространственного распределения плотности энергии кавитации в жидкости задают, подбирая соотношение внутренних размеров реактора, применяя для их расчета известную математическую модель акустического поля стационарных кавитационных областей. Управление распределением плотности энергии осуществляется путем установления заданного верхнего предела диапазона ее среднеквадратичного отклонения от среднего значения, что не позволяет достигнуть технического результата изобретения – сконцентрировать энергию в геометрическом центре реактора.
Известны кавитационные реакторы, в которых концентрацию энергии кавитации в определенной части потока жидкости обеспечивают путем наличия диафрагмы в сечении, содержащем существующий максимум этой энергии [Заявка PCT/RU 2004/000275, 2004, патент RU 2226428, 2004, патент RU 2254913, 2005]. Это делается путем выбора размеров и формы отверстия в диафрагме посредством установления в его плоскости заданного значения эрозионного коэффициента, либо, непосредственно, плотности потенциальной энергии кавитации. Управление распределением самой плотности потенциальной энергии в этих реакторах не предусмотрено. Это обстоятельство также не позволяет достигнуть сформулированного ниже технического результата изобретения.
Наиболее близким аналогом к заявленному изобретению является кавитационный реактор [Патент RU 2254912, 2005], включающий заполняемую обрабатываемой жидкостью камеру, обладающую центральной симметрией внутреннего объема, расположенные на одной оси излучатель и отражатель акустической волны, обращенные друг к другу и в жидкость, поверхности которых имеют форму круга и размещены в пучностях колебаний находящейся между ними обрабатываемой жидкости.
Плотность потенциальной энергии кавитации на пути основной части потока жидкости (в центре симметрии камеры реактора) при произвольном выборе диаметра излучателя и отражателя может оказаться ниже, чем на периферии камеры вследствие явления интерференции в акустическом поле кавитации. Интенсивность воздействия энергии кавитации на поток жидкости, основная часть которого в соответствии с законами течения жидкостей проходит по пути наименьшего сопротивления трению через центр объема камеры, будет низкой. Требования к диаметру излучателя и отражателя в прототипе отсутствуют.
Сущность изобретения заключается в следующем.
Известно, что, изменяя размеры пространства упругой стоячей волны внутри реактора, можно управлять распределением в нем потенциальной энергии кавитации. Опытным путем, экспериментируя с математической моделью распределения плотности потенциальной энергии кавитации относительно пространства порождающей ее гармонической волны, можно добиться концентрации энергии в центре симметрии внутреннего объема реактора, то есть на пути основной части потока жидкости, подбирая соответствующим образом диаметр поверхностей, между которыми установлена акустическая волна.
Технический результат – интенсификация воздействия кавитации на основную часть потока обрабатываемой жидкости путем концентрации потенциальной энергии кавитации в центре симметрии внутреннего объема кавитационного реактора.
Указанный технический результат при осуществлении изобретения достигается тем, что в известном кавитационном реакторе, включающем заполняемую обрабатываемой жидкостью камеру, обладающую центральной симметрией внутреннего объема, излучатель и отражатель акустической волны, обращенные в жидкость, поверхности которых имеют форму круга и размещены в пучностях колебательных смещений жидкости в акустической волне, отличие состоит в том, что диаметры обращенных в жидкость поверхностей излучателя и отражателя составляют 0,92-1,56 длины акустической волны, при этом расстояние между поверхностями излучателя и отражателя по нормали к ним составляет 1,0-1,5 длины акустической волны.
Исследуя известную математическую модель распределения плотности потенциальной энергии кавитации в реакторе, можно показать, что ее зависимость от диаметра фронта акустической волны является кусочно-гладкой функцией, имеющей нулевые значения, а ее производная имеет соответствующие точки разрыва 1-го рода и равна нулю в локальных максимумах плотности энергии в центре реактора. При указанном соотношении диаметров обращенных в жидкость поверхностей излучателя и отражателя плотность упругой энергии суммарных импульсов давления, генерируемых составляющими кавитационные области пузырьками, в среднем за бесконечное число периодов гармонической волны будет максимальной вблизи центра симметрии внутреннего объема реактора. Путем постановки компьютерных экспериментов с моделью плотности потенциальной энергии кавитации в реакторе установлено, что ее максимальные значения оказываются в центре реактора при диаметрах поверхностей излучателя и отражателя, выбранных в диапазоне 0,92-1,56 длины этой волны, и при расстоянии между этими поверхностями по нормали к ним от 0,5 до 2,5 длины акустической волны. В реальных промышленных реакторах, где используется стоячая волна, расстояние между излучателем и отражателем, как правило, не превышает двух длин волны. Если использовать размеры и пропорции чертежа, иллюстрирующего описание прототипа, то, используя ту же математическую модель распределения плотности потенциальной энергии кавитации, можно показать следующее. Расстояние между излучателем и отражателем в прототипе равно скорости звука в жидкости, отнесенной к частоте излучателя, то есть, длине волны, тогда диаметр поверхностей излучателя и отражателя составляет приблизительно 0,8 длины волны. Поэтому из модели вытекает, что на границах заявленного интервала плотность потенциальной энергии в центре симметрии заявленного реактора будет, соответственно, в 1,33 и 2,14 раза выше, чем у прототипа.
При анализе отличительных признаков заявленного кавитационного реактора не выявлено каких-либо известных аналогичных решений, касающихся установления требований к размерам поверхностей излучателей и отражателей в кавитационных реакторах с целью сосредоточения потенциальной энергии кавитации в центре внутреннего объема реактора.
Известен реактор [Патент RU 2209112, 2002], минимизация кавитационной эрозии боковой стенки корпуса обеспечивается в случае, когда диаметр корпуса равен диаметру излучателя и отражателя. Тем не менее, это условие не обеспечивает максимальной концентрации кавитационной энергии в центре реактора. Используя известную имитационную модель, можно показать, что при диаметре корпуса, равном 1,57 длины акустической волны, и расстоянии между излучателем и отражателем, равном, например, 1,5 длины акустической волны, плотность потенциальной энергии в центре симметрии заявленного реактора будет в 1,01 раза выше, чем у этого аналога.
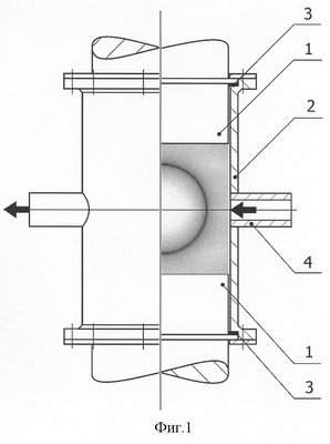
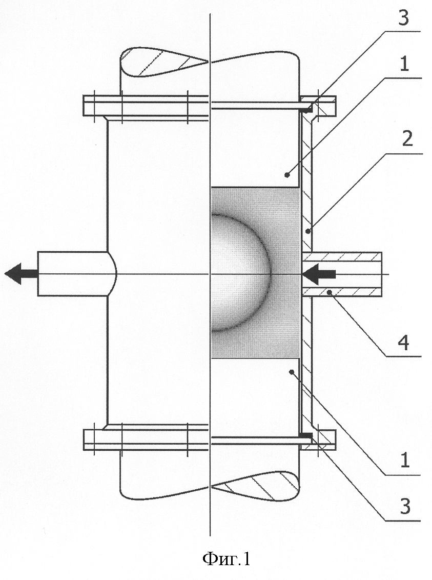
На фиг.1 схематично показан в разрезе кавитационный реактор с диаметром корпуса, излучателя и отражателя, равным 1,5 длины акустической волны, и расстоянии между излучателем и отражателем, также равным 1,5 длины акустической волны. В плоскости диаметрального сечения реактора оттенками серого цвета показано двухмерное распределение плотности потенциальной энергии кавитации. Светлые оттенки соответствуют большей плотности энергии. Стрелками показано направление перемещения жидкости.
На фиг.2 показано двухмерное распределение плотности потенциальной энергии кавитации в плоскости диаметрального сечения реактора при диаметрах излучателя и отражающей стенки, не удовлетворяющих отличительному признаку изобретения (равных двум длинам акустической волны), и расстоянии между поверхностями излучателя и отражателя по нормали, удовлетворяющем признаку изобретения и равном 1,5 длины акустической волны.
На фиг.3 показано распределение плотности потенциальной энергии кавитации в плоскости диаметрального сечения реактора при диаметрах излучателя и отражающей стенки, равных 1,5 длины акустической волны, и при расстоянии по нормали между их поверхностями, равном 2 длинам акустической волны.
На фиг.4 показано распределение плотности потенциальной энергии кавитации в плоскости диаметрального сечения реактора при диаметрах излучателя и отражающей стенки, равных 1,5 длины акустической волны, и расстоянии по нормали между их поверхностями, равном длине акустической волны.
На фиг.5 показано распределение плотности потенциальной энергии кавитации в плоскости диаметрального сечения реактора, когда диаметры излучателя и отражающей стенки равны двум длинам акустической волны и расстояние по нормали между их поверхностями также равно двум длинам акустической волны.
Заявленный кавитационный реактор для обработки воды на частоте 20 кГц (фиг.1) содержит два источника акустических волн, выполненные в виде акустических волноводных трансформаторов 1, каждый из которых может считаться по отношению к другому как излучателем, так и отражателем. Между излучателем и отражателем создается в жидкости стоячая плоская волна протяженностью в 3 полуволны. Таким образом, при скорости звука в воде, равной 1450 м/с, расстояние между их поверхностями, обращенными в жидкость, составляет 1450:20000·3·0,5·103=108,5 мм. Волноводные трансформаторы крепятся в корпусе реактора 2 через эластичные прокладки 3 посредством фланцев, расположенных в узлах их продольных колебательных смещений. Поток жидкости, направление которого обозначено стрелками, пропускается сквозь реактор посредством патрубков 4.
Диаметры обращенных в жидкость поверхностей волноводных акустических трансформаторов выбраны в диапазоне 0,92-1,56 длины волны, равны между собой и составляют 1,5 длины волны, то есть 108,5 мм.
Кавитационный реактор работает следующим образом.
В обрабатываемой жидкости, которая находится в реакторе между поверхностями волноводных трансформаторов 1, после возбуждения в них колебаний, например, посредством присоединенных к ним электроакустических преобразователей, устанавливается стоячая акустическая волна. В этой волне под действием переменных напряжений максимальных по величине в узлах колебательных смещений волны, возникает кавитация. Возмущения давления, порождаемые пульсациями отдельных кавитационных пузырьков, одновременно приходящие в произвольную точку пространства в определенный момент времени, могут быть как больше, так и меньше давления покоя в ней. Это зависит от расстояния от конкретного пузырька до этой точки пространства. Так как диаметры волноводов выбраны в диапазоне 0,92-1,56 длины акустической волны, то в центре симметрии реактора будут складываться возмущения давления с одинаковым знаком, а плотность потенциальной энергии кавитации, пропорциональная квадрату суммы возмущений давления от пульсаций кавитационных пузырьков в упругой гармонической волне, будет максимальной, как показано на фиг.1.
Для сравнения на фиг.2 показано распределение плотности потенциальной энергии кавитации в реакторе с расстоянием между поверхностями волноводных трансформаторов как у реактора на фиг.1, но с диаметрами их торцевых поверхностей, равными 2 длинам волны. Видно, что на основном пути потока жидкости через реактор, показанного стрелками, плотность энергии не будет максимальной.
Для практического подтверждения возможности осуществления заявленного изобретения и достижения с его помощью технического результата был поставлен эксперимент. В качестве излучателя использовался излучатель аппарата для кавитационной дезинтеграции типа “СИРИНКС” СИТБ.443146.002ТУ с электроакустическим магнитострикционным преобразователем частотой 22 кГц и волноводным акустическим трансформатором по [RU 2183141, 2000].
Торец волноводного трансформатора, служащий поверхностью излучателя диаметром 90 мм, был погружен в сантинормальный раствор NaCl (скорость звука в растворе 1450 м/с) и размещен на одной оси с эластичным отражателем из вакуумной резины того же диаметра. Таким образом, диаметры излучателя и отражателя, находясь в диапазоне 0,92<90:(1450:22000·103)=1,36<1,56, удовлетворяли заявленному диапазону. Для имитации прототипа волноводный трансформатор и резиновый отражатель заменялись другим комплектом с диаметрами 60 мм. Мощность, сообщаемая электроакустическому преобразователю, при этом уменьшалась пропорционально уменьшению площади излучения.
Расстояние между излучающей и отражающей поверхностями в открытой цилиндрической емкости, заполненной 1400 мл протекающего через нее раствора, составляло одну длину волны, то есть 1450:22000·103=66 мм. Температура окружающей среды была равна +20°С и поддерживалась с точностью ±1°С.
Раствор натрия хлорида пропускался через емкость в направлении, перпендикулярном оси излучатель-отражатель со скоростью 500±10 мл/мин, при помощи лабораторного насоса и регулируемого дросселя. Позади излучателя, расположенного на оси емкости, по направлению потока раствора электролита был установлен кондуктометрический датчик прибора “Анион 7051”. В установившемся режиме работы экспериментальной установки в каждом из вариантов фазового сдвига при пяти повторениях каждого опыта были получены следующие среднестатистические показания прибора:
| ИЗМЕРЯЕМЫЙ ПАРАМЕТР, ед. изм. |
ПРОТОТИП |
ИЗОБРЕТЕНИЕ |
| Электропроводность, мСм/см |
1,27±0,04 |
1,32±0,03 |
Из таблицы видно, что степень диссоциации натрия хлорида на ионы, определяющая проводимость раствора, во втором случае выше. Этот говорит о более интенсивном воздействии кавитации на поток раствора через цент реактора, что приводит к более высокой степени диссоциации NaCl.
Таким образом, вышеизложенные сведения свидетельствуют о возможности осуществления заявленного изобретения с помощью описанных в заявке и известных ранее средств и методов, а также о достижении указанного выше технического результата.
Формула изобретения
Кавитационный реактор для обработки потоков жидкостей, включающий заполняемую обрабатываемой жидкостью камеру, обладающую центральной симметрией внутреннего объема, излучатель и отражатель акустической волны, обращенные в жидкость поверхности которых имеют форму круга и размещены в пучностях колебательных смещений жидкости в акустической волне, отличающийся тем, что диаметры обращенных в жидкость поверхностей излучателя и отражателя составляют 0,92-1,56 длины акустической волны, причем расстояние между поверхностями излучателя и отражателя по нормали к ним составляет 1,0-1,5 длины акустической волны.
РИСУНКИ
|
|