|
|
(21), (22) Заявка: 2005113085/13, 29.04.2005
(24) Дата начала отсчета срока действия патента:
29.04.2005
(46) Опубликовано: 10.01.2007
(56) Список документов, цитированных в отчете о поиске:
RU 2206232 С2, 20.06.2003. FR 2598062, 06.11.1987. RU 2220587, 10.01.2004.
Адрес для переписки:
675027, г.Благовещенск, Игнатьевское ш., 19, ГНУ ВНИИ сои, патентное подразделение
|
(72) Автор(ы):
Доценко Сергей Михайлович (RU), Скрипко Ольга Валерьевна (RU), Стаценко Екатерина Сергеевна (RU)
(73) Патентообладатель(и):
Государственное научное учреждение Всероссийский научно-исследовательский институт сои (RU)
|
(54) СПОСОБ ПРИГОТОВЛЕНИЯ ФОРМОВАННОГО БЕЛКОВОГО ПРОДУКТА
(57) Реферат:
Изобретение относится к пищевой промышленности, в частности к способам приготовления формованных белковых продуктов. Тестообразную массу, приготовленную на основе соевого белкового продукта, крахмала и бульонного концентрата, доводят до влажности 65-70%. Формование проводят путем предварительного нагревания смеси до температуры 115°С при давлении 0,25 МПа с получением брикетов длиной 70 мм, шириной 50 мм, высотой 4 мм. Сушку производят путем активного вентилирования воздуха при температуре 5-10°С. Изобретение позволяет повысить качество готового продукта за счет увеличения пористости и снизить энергетические затраты на процесс сушки. 1 ил.
Изобретение относится к пищевой промышленности и может быть использовано при производстве формованных протеинсодержащих комбинированных продуктов.
Известен способ приготовления формованного белкового продукта, включающий приготовление тестообразной смеси на основе соевого белкового продукта влажностью 35%, крахмала и концентрата бульона, формование путем гранулирования и сушку при температуре 175-210°С (Патент РФ №2206232, МПК 7 А 23 L 1/20, А 23 Р 1/02. Способ приготовления формованного белкового продукта).
Недостатками данного способа являются относительно низкое качество готового продукта, низкие органолептические показатели, обусловленные малой пористостью, а также высокие затраты энергии на процесс сушки готового продукта.
Технический результат – повышение качества готового продукта путем повышения пористости, а также снижение затрат энергии на процесс сушки готового продукта – достигается тем, что приготовленную тестообразную смесь доводят до влажности 65-70% при следующем соотношении компонентов (вес.%): соевый белковый продукт – 85; крахмал – 7,5; концентрат бульона – 7,5, а формование проводят путем предварительного нагревания смеси до t=115°С при давлении р=0,25 МПа с получением брикетов длиной l=70 мм, шириной b=50 мм и высотой h=4 мм, причем сушку производят путем активного вентилирования воздуха при температуре теплоносителя t=5-10°С.
Полученные таким образом брикеты имеют высокую пористость за счет декстринизации (взрыва) крахмальных зерен, высокую биологическую ценность и вкусовые достоинства.
Способ осуществляют следующим образом.
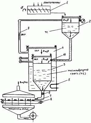
Предварительно полученный соевый белковый продукт из соевого зерна путем экстракции белка смешивают (см. чертеж) с компонентами в смесителе 1 в следующем соотношении, вес.%:
– соевый белковый продукт – 85;
– крахмал – 7,5;
– концентрат бульона: мясного – 7,5, или рыбного – 7,5, или крабового – 7,5, или креветочного – 7,5,
и получают тестообразную смесь, влажность которой доводят до 65-70%. Полученную тестообразную смесь направляют в емкость 2, которую после заполнения смесью герметично закрывают. По трубопроводу тестообразную смесь подают в герметично закрытую емкость 3, размещенную в герметично закрытой емкости 4. В емкость 4 предварительно заливают воду, где производят ее нагрев с помощью нагревателей – ТЭНов 5. В емкости 3 тестообразную смесь нагревают до t=115°C. Там же создается давление р=0,25 МПа. После открытия крана 6 тестообразную смесь, через формующую головку 7, подают на сетчатый транспортер 8, где за счет резкого сброса давления пара и разрыва крахмальных зерен происходит вспучивание продукта. При этом продукт приобретает форму ленты пористой структуры с шириной b=50 мм и высотой h=4 мм. Разрезанием этой ленты формируют брикеты длиной l=70 мм. Обдувание данных брикетов воздухом t=5-10°С позволяет путем активного теплообмена быстро высушить полученные брикеты.
По мере опорожнения емкости 3 в ней происходит снижение давления. Однако в емкости 4 сохраняется избыточное давление ризб. По трубопроводу 9 пар под избыточным давлением поступает в емкость 2. Под действием этого давления тестообразную смесь подают в емкость 3 и постепенно заполняют ее. При этом давление в емкости 4 снижается за счет охлаждения воды посредством охлаждения стенок емкости 3 вновь поступающей порцией тестообразной смеси из емкости 2.
По мере охлаждения воды в емкости 4 давление пара в ней снижается. В то же время снижается давление и в емкости 2. При этом клапан 10 закрывается и поступление тестообразной смести в емкость 3 прекращается. За счет непрерывного нагрева воды в емкости 4 в емкости 3 вновь создается избыточное давление, и тестообразная смесь через формующую головку поступает на транспортер 8.
Цикл получения пористого формованного продукта в виде брикетов непрерывно повторяется.
Пример.
Соевый белковый продукт (СПБ) получают следующим образом.
Соевое зерно замачивают в двукратном количестве воды при температуре 60°С в течение 4-6 часов до увеличения объема в 2-3 раза, затем набухшее зерно измельчают в восьмикратном количестве воды, при этом одновременно с измельчением происходит экстракция белковых веществ и образуется суспензия. В образовавшуюся суспензию вносят коагулянт – 5%-ный раствор уксусной кислоты в количестве 0,2% к массе суспензии. В результате коагуляции образуется твердая и жидкая фракции. Жидкую фракцию (сыворотку) отделяют прессованием, доводя влажность продукта до 55-60%. Полученный продукт содержит в себе растительный белок и клетчатку. Для придания соевому белковому продукту тестообразной консистенции и обеспечения лучшего последующего смешивания компонентов продукт дополнительно измельчают до пастообразного состояния. Подготовленный продукт направляют на смешивание в смеситель 1.
Концентрат мясного бульона получают следующим образом.
Мясо (говядину) замороженное, поступающее в производство в полутушах или четвертинах, размораживают на разделочных столах или в дефростерах при температуре воздуха 18-20°С, скорости движения воздуха 1,5-2,0 м/с и относительной влажности 80-85% до температуры в толще мышц 8-10°С. Затем полутуши или четвертины осматривают, зачищают от остатков волосяного покрова, крови, удаляют побитости, кровоподтеки и направляют на разделку. Разделку производят на разделочных столах вручную на отдельные части отруба для облегчения процесса обвалки. Затем мясо отделяют от костей, проводят жиловку, удаляя крупные сосуды, нервные пучки, кровеносные сосуды. Мясо режут на куски массой 200-250 г. Загружают в емкость мясо и соль в количестве 1% от массы мяса, туда же заливают воду в соотношении мясо:вода 1:3, емкость герметично укупоривают и помещают в автоклав, где производят варку и концентрирование бульона при температуре 120°С и избыточном давлении 0,2 МПа в течение 90 минут. По окончании процесса варки давление в автоклаве сбрасывают, емкость с бульоном вынимают и оставляют для самопроизвольного остывания. Затем емкость вскрывают, бульон процеживают через тканевое сито и направляют на смешивание с компонентами рецептуры в смеситель 1.
Для получения концентрата рыбного бульона рыбу инспектируют, моют, чистят, разделывают, моют, зачищая внутренние пленки, кровоподтеки, и загружают в емкость. В емкость добавляют также воду в соотношении рыба:вода 1:2 и добавляют 1% соли. Емкость герметично укупоривают и помещают в автоклав, где производят варку и концентрирование бульона при температуре 120°С и избыточном давлении 0,2 МПа в течение 30 минут. По окончании процесса варки давление в автоклаве сбрасывают, емкость с бульоном вынимают и оставляют для самопроизвольного остывания. Затем емкость вскрывают, бульон процеживают через тканевое сито и направляют на смешивание с компонентами рецептуры в смеситель 1.
Крабовый или креветочный концентрат и ароматизатор инспектируют.
Крахмал предварительно просеивают.
Все компоненты смешивают в смесителе, соблюдая рецептуру (в вес.%): СБП – 85, крахмал – 7,5, бульонный концентрат, крабовый или креветочный ароматизатор и экстракт – 7,5, влажность смеси не должна быть выше 65-70%. Влажность смеси менее 65% не позволяет получить готовый продукт нужной консистенции, тестообразная масса получается густой, снижается ее текучесть, что затрудняет последующее формование брикетов и их сушку.
Влажность массы выше 70% делает смесь жидкой, продукт вытекает, и придать ему форму брикетов становится невозможно.
Полученную тестообразную смесь направляют в емкость 2, которую после заполнения смесью герметично закрывают. По трубопроводу тестообразная смесь поступает в герметично закрытую емкость 3, размещенную в герметично закрытой емкости 4. В емкость 4 предварительно заливают воду, где производят ее нагрев с помощью нагревателей – ТЭНов 5.
В емкости 3 тестообразная смесь нагревается до t=115°C. Нагревание смеси необходимо для инактивации антипитательных веществ, содержащихся в соевом белковом продукте. Инактивацию ингибиторов пищеварительных ферментов регулируют по активности уреазы, которая снижается при температуре 110-115°С. При температуре 115°С антипитательные вещества полностью разрушаются. В емкости 4 при повышении температуры до 115°С создается давление р=0,25 МПа. После открытия крана 6 тестообразная смесь через формующую головку 7 поступает на сетчатый транспортер 8, где за счет резкого сброса давления пара и разрыва крахмальных зерен крахмала происходит вспучивание продукта. При этом продукт приобретает форму ленты пористой структуры с шириной b=50 мм и высотой h=4 мм. Разрезанием этой ленты формируются брикеты длиной l=70 мм. Размер брикетов более 50×70×4 мм снижает эффективность сушки, так как при последующем обдувании воздухом поверхностные слои брикетов быстро высыхают и на поверхности образуется сухая корка, в то время как внутренние слои не успевают прогреться до температуры сушки. Образовавшаяся корка затрудняет процесс испарения влаги с поверхности продукта, в результате продукт запаривается и становится неоднородно высушенным по всей массе. При формовании брикетов размером менее 50×70×4 мм влага из продукта удаляется быстро, продукт пересушивается, в результате не сохраняет форму и приобретает крошливую консистенцию, что затрудняет последующую упаковку.
Обдувание полученных брикетов воздухом t=5-10°С позволяет путем активного теплообмена быстро высушить полученные брикеты. Повышение температуры сушки свыше 10°С сокращает продолжительность сушки, но повышает затраты тепла, возникает угроза пересушивания продукта. При температуре ниже 5°С увеличивается продолжительность сушки и, следовательно, всего процесса производства.
По мере опорожнения емкости 3 в ней происходит снижение давления. Однако в емкости 4 сохраняется избыточное давление ризб. По трубопроводу 9 пар под избыточным давлением поступает в емкость 2. Под действием этого давления тестообразная смесь поступает в емкость 3 и постепенно заполняет ее. При этом давление в емкости 4 снижается за счет охлаждения воды посредством снижения температуры стенок емкости 3 вновь поступающей порцией тестообразной смести из емкости 2.
По мере охлаждения воды в емкости 4 давление пара в ней снижается. В то же время снижается давление и в емкости 2. При этом клапан 10 закрывается и поступление тестообразной смеси в емкость 3 прекращается. За счет непрерывного нагрева воды в емкости 4 в емкости 3 вновь создается избыточное давление, и тестообразная смесь через формующую головку поступает на транспортер 8.
Цикл получения пористого формированного продукта в виде брикетов непрерывно повторяется.
Полученный пористый формованный белковый продукт используют как самостоятельный продукт или как добавку белковую в мясной и других отраслях пищевой промышленности.
Формула изобретения
Способ приготовления формованного белкового продукта, включающий приготовление тестообразной смеси на основе соевого белкового продукта, крахмала и бульонного концентрата, формование и сушку, отличающийся тем, что приготовленную смесь доводят до влажности 65-70%, а формование производят путем предварительного нагревания смеси до температуры t=115°С, при давлении р=0,25 МПа с получением брикетов длиной равной =70 мм, шириной b=50 мм и высотой h=4 мм, причем сушку производят путем активного вентилирования воздуха при температуре теплоносителя t=5-10°С.
РИСУНКИ
|
|