|
|
(21), (22) Заявка: 2004106637/09, 08.08.2002
(24) Дата начала отсчета срока действия патента:
08.08.2002
(30) Конвенционный приоритет:
08.08.2001 AU PR 6903
(43) Дата публикации заявки: 10.08.2005
(46) Опубликовано: 27.12.2006
(56) Список документов, цитированных в отчете о поиске:
US 5154637 А, 13.10.1992. SU 1308207 A3, 24.03.1984. US 5160276 А, 03.11.1992. US 4963694 А, 16.10.1990. US 5378855 А, 03.06.1995.
(85) Дата перевода заявки PCT на национальную фазу:
09.03.2004
(86) Заявка PCT:
AU 02/01066 (08.08.2002)
(87) Публикация PCT:
WO 03/015219 (20.02.2003)
Адрес для переписки:
129010, Москва, ул. Б. Спасская, 25, стр.3, ООО “Юридическая фирма Городисский и Партнеры”, пат.пов. Ю.Д.Кузнецову, рег.№ 595
|
(72) Автор(ы):
УЭЛЛЬС Марк (AU)
(73) Патентообладатель(и):
ХЕД ЭЛЕКТРИКАЛ ИНТЕРНЭШНЛ ПТИ ЛТД (AU)
|
(54) УСТРОЙСТВО ЭЛЕКТРИЧЕСКОГО СОЕДИНЕНИЯ
(57) Реферат:
Изобретение относится к электротехнике. Устройство электрического соединения содержит контактный штырь, розеточную часть или наконечник и средство для электрического соединения контактного штыря, розеточной части или наконечника с группами жил отдельного многопучкового центрального провода машинного, наматываемого или тягового кабеля. Средство подразделяется на несколько частей, каждая из которых выполнена с возможностью вмещения в себя, по меньшей мере, одной группы жил; причем при работе эти части указанного средства соединения отдельно соединены с соответствующей группой жил или с каждой из этих групп. Технический результат – повышение прочности соединения. 2 н. и 18 з.п. ф-лы, 3 ил.
Область техники
Настоящее изобретение в общем относится к устройству электрического соединения для машинного, наматываемого или тягового кабеля и к способу соединения машинного, наматываемого или тягового кабеля с устройством электрического соединения.
Уровень техники
Машинные, наматываемые или тяговые кабели обычно используются для обеспечения электрического соединения подвижных электрических машин. Например, в горной или нефтяной промышленности часто используется крупногабаритное электротехническое оборудование, и, возможно, каждый машинный, наматываемый или тяговый кабель должен обеспечивать мощность порядка нескольких сотен киловатт. Обычно эту мощность подают с напряжением в один или более киловольт, и кабели обычно выполнены из множества пучков отдельных медных жил. Например, машинный, наматываемый или тяговый кабель типа 240.3, изготавливаемый компанией Pirelli Cables Australia Limited, содержит три главных центральных провода, каждый из которых содержит 19 пучков из 13 или 14 жил медных волокон; диаметр волокон составляет 0,67 мм. Хотя совокупный диаметр каждого многопучкового центрального провода в кабеле довольно крупный (обычная площадь поперечного сечения равна 50-120 мм2), подвижность пучков относительно друг друга обеспечивает гибкость, благодаря которой кабель целесообразен для применения с подвижным оборудованием, для которого требуется высокая мощность.
Фиг.1 схематически изображает обычное соединение кабеля, используемое для подключения указанных машинных, наматываемых или тяговых кабелей. Фиг.1 показывает вилку 12 и розетку 10; вилка 12 соединена с машинным, наматываемым или тяговым кабелем 14. Два многопучковых центральных провода 16 и 18 соединены с соответствующими розеточными частями 20 и 22. Кабель крепится в заданном местоположении в вилке 12 с помощью уплотнительной втулки 24.
Сущность изобретения
В общем аспекте настоящее изобретение обеспечивает устройство электрического соединения, содержащее:
– контактный штырь, розеточную часть или наконечник;
– средство для электрического соединения контактного штыря, розеточной части или наконечника с группой жил многопучкового центрального провода машинного, наматываемого или тягового кабеля; причем это средство подразделяется на несколько частей, каждая из которых выполнена с возможностью вмещения в себе по меньшей мере одной группы жил; при этом при функционировании эти части отдельно соединяются с соответствующей группой жил или с каждой такой группой, тем самым повышая прочность соединения.
Автор обнаружил, что обычный способ введения машинного, наматываемого или тягового кабеля в вилку или розетки с помощью уплотнительной втулки имеет недостатки. Уплотнительная втулка сжимает кабель и поэтому локально уменьшает толщину изолирующих слоев. Но толщина изолирующих слоев является очень важным параметром для безопасности этих работающих от высокого напряжения машинных, наматываемых или тяговых кабелей. Уменьшение толщины этих слоев влияет на диэлектрические свойства изоляции и понижает напряжение, при котором может произойти отказ электрооборудования. В результате этого может возникнуть электрическая дуга и электрическое зажигание, которые – в среде, которая может содержать взрывчатые газы, как в шахте – повысят взрывоопасность. Помимо этого, деформация изолирующих слоев может послужить причиной попадания влаги, что также ведет к риску для безопасности. При этом механическое напряжение, воздействующее на уплотнительную втулку, снижает механическую прочность кабеля, что также относится к вопросам безопасности.
Характеризуемое выше устройство электрического соединения обеспечивает повышенную прочность соединения между машинным, наматываемым или тяговым кабелем и контактным стержнем, розеточной частью или наконечником. По меньшей мере в некоторых случаях повышенная прочность соединения будет достаточной для удержания кабеля на месте и, в этом случае, уплотнительная втулка будет не нужна. Поэтому можно будет исключить указанные выше проблемы безопасности.
Изобретение также обеспечивает способ соединения машинного, наматываемого или тягового кабеля с устройством электрического соединения, согласно которому
– разделяют пучки жил многожгутового центрального провода машинного, наматываемого или тягового кабеля на группы жил и
– соединяют группы жил с соответствующими частями средства для электрического соединения контактного штыря, розеточной части или наконечника с группами жил, причем группы жил соединяют отдельно с соответствующими частями, в результате чего повышается прочность соединения.
Предпочтительные признаки изобретения
Согласно одному предпочтительному варианту осуществления упомянутого устройства каждая указанная часть выполнена с возможностью вмещения в себе одного пучка жил многопучкового центрального провода. В этом случае каждая часть предпочтительно является отдельной частью, которая отдельна от розеточной части, вилки или наконечника и индивидуально соединена с ними.
Согласно другому предпочтительному варианту осуществления устройства: каждая часть может содержать апертуру, выполненную с возможностью вмещения в себе группы жил или каждой такой группы. Апертуры предпочтительно имеют последовательность размеров поперечного сечения и выполнены концентрически вокруг общей оси. Либо эти части могут располагаться в кольцевой конфигурации вокруг оси. В этом случае указанные части предпочтительно являются отверстиями и расположены в зонах, имеющих разные расстояния в радиальном направлении от оси.
Указанные части предпочтительно выполнены с возможностью соединения с группой жил или с каждой из этих групп с помощью обжимки. Либо эти части могут быть выполнены с возможностью соединения с группой жил или с каждой из этих групп сваркой, пайкой или с помощью зажимного механизма, включающего в себя винт.
Контактный штырь, розеточная часть или наконечник могут быть одной позицией из числа этих перечисленных устройств, и средство для электрического соединения контактного штыря, розеточной части или наконечника с группами жил может быть одним средством из числа множества этих средств; при этом каждое средство относится к соответствующей одной позиции из числа этих контактных штырей, розеточных частей или наконечников.
В указанном выше способе этап разделения пучков на группы жил может включать в себя этап разделения пучков на группы, соответствующие концентрическим зонам пучков отдельного многопучкового центрального провода. Жгуты жил могут также подразделяться на группы отдельных пучков.
Этап соединения предпочтительно включает в себя обжимку. Либо этот этап может включать в себя сварку, пайку или зажим с использованием механизма, имеющего винт.
Изобретение поясняется более подробно в приводимом ниже описании его осуществлений. В описании делается ссылка на прилагаемые чертежи.
Перечень фигур чертежей
Фиг.1 – схематическое изображение, в сечении, устройства соединения кабеля (известный уровень техники);
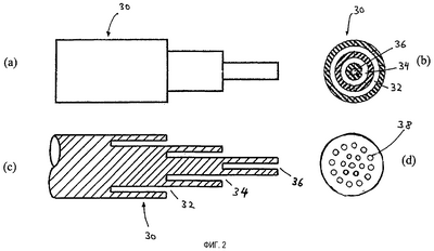
Фиг.2 представляет: (а) схематическое изображение горизонтальной проекции, (b) схематическое изображение поперечного разреза и (c) схематическое изображение продольного разреза компонента устройства электрического соединения согласно варианту осуществления настоящего изобретения, (d) схематическое изображение поперечного разреза еще одного варианта осуществления указанного компонента; и
Фиг.3: (а) схематически изображает продольный разрез, и (b) вид в продольном направлении компонента устройства электрического соединения согласно еще одному варианту осуществления настоящего изобретения.
Описание предпочтительного варианта осуществления изобретения
Далее следует описание устройства электрического соединения согласно первому предпочтительному варианту осуществления настоящего изобретения и предпочтительному способу соединения этого устройства с машинным, наматываемым или тяговым кабелем согласно фиг.2. Фиг.2(а) показывает вид сверху, (b) поперечный разрез, и (с) разрез соединительного компонента 30 устройства. При функционировании соединительный компонент 30 соединяет контактный штырь, розеточную часть или наконечник устройства с пучками жил машинного, наматываемого или тягового кабеля. Соединительный компонент 30 выполнен из металлического корпуса и имеет по существу круглое сечение. В этом примере соединительный компонент 30 имеет множество апертур 32, 34 и 36 и соединен с контактным штырем, розеточной частью или наконечником (не показаны).
Фиг.2(d) схематически иллюстрирует поперечный разрез варианта осуществления компонента 30. В этом случае компонент 30 содержит несколько отверстий 38, выполненных в трех зонах и расположенных вокруг общей оси. В предпочтительном случае первая центральная зона содержит одно отверстие, промежуточная зона содержит 6 отверстий и третья внешняя зона содержит 12 отверстий. Каждое отверстие выполнено с возможностью вмещения в себе одного отдельного пучка жил многопучкового центрального провода машинного, наматываемого или тягового кабеля.
Обычный машинный, наматываемый или тяговый кабель может содержать 19 пучков из 13 или 14 жил медных волокон. 19 пучков обычно упорядоченно расположены в трех концентрических зонах. Первая центральная зона может содержать один пучок жил, вторая зона может содержать шесть пучков жил и третья внешняя зона может содержать 12 пучков жил. Если машинный, наматываемый или тяговый кабель соединен с указанным устройством, то пучки подразделяются на три группы, соответствующие зонам. Затем пучки отрезают на соответствующую заданную длину. Если соединительный компонент 30 имеет апертуры, то относящийся к первой зоне пучок вводят в апертуру 36, и соответствующие второй зоне пучки вводят в апертуру 34, и соответствующие третьей зоне пучки вводят в апертуру 32. Либо, если соединительный компонент 30 содержит отверстия, то пучки вводят в отверстия соответствующих зон (см. Фиг.2(d)). Апертуры 32, 34 и 36 и/или отверстия 38 затем гидравлически обжимают таким образом, что обеспечивается постоянное соединение между соединительным компонентом 30 и жгутами жил.
Далее следует описание устройства электрического соединения согласно второму предпочтительному варианту осуществления изобретения и предпочтительному способу соединения этого устройства с машинным, наматываемым или тяговым кабелем со ссылкой на фиг.3. Фиг.3(а) показывает продольный разрез соединительного компонента 40 устройства, и Фиг.3(b) показывает соединительный компонент в продольном направлении. При функционировании соединительный компонент 40 соединяет контактный штырь, розеточную часть или наконечник устройства с пучками жил машинного, наматываемого или тягового кабеля. В этом случае соединительный компонент 40 содержит металлический корпус 42. Отдельные соединители 44 вмещают в себе отдельные пучки жил машинного, наматываемого или тягового кабеля, и они индивидуально электрически соединены с металлическим корпусом 42 штырями 46. Торец 52 металлического корпуса 42 соединен с контактным штырем, розеточной частью или наконечником.
Когда машинный, наматываемый или тяговой кабель соединен с указанным устройством, то пучки выбирают и отрезают до соответствующей заданной длины. Отдельные пучки затем вводят в соответствующие соединители 44, которые затем гидравлически обжимают таким образом, что обеспечивается постоянное соединение между соединительным компонентом 40 и пучками жил.
Следует отметить, что изобретение не ограничивается этими предпочтительными вариантами осуществления. Например, можно использовать различные типы машинных, наматываемых или тяговых кабелей, имеющих более или менее 19 пучков жил, и тогда соединительный компонент 30 или 40 будет выполнен соответственно. Соединительный компонент 40 может иметь любое число апертур и любую форму. Аналогично, соединительный компонент 40 может иметь любое число соединителей 44 различных форм и может быть непосредственно или косвенно соединен с металлическим корпусом 42.
Этап обжима можно осуществлять после введения всех пучков в соответствующие апертуры или соединители; либо обжимку можно выполнить после введения пучка или пучков жил в отдельную апертуру или соединитель. Также нужно отметить, что соединение между машинным, наматываемым или тяговым кабелем и контактным штырем, розеточной частью или наконечником можно также осуществить обжимкой, сваркой, пайкой или зажимом.
Описываемое выше устройство электрического соединения и способ соединения машинного, наматываемого или тягового кабеля с устройством электрического соединения могут применяться в разных отраслях промышленности. Например: горная, нефтяная, газовая, нефтехимическая или морская отрасли, в которых используются машинные, наматываемые или тяговые кабели.
Формула изобретения
1. Устройство электрического соединения, содержащее контактный штырь, розеточную часть или наконечник, средство для электрического соединения контактного штыря, розеточной части или наконечника с группой жил многопучкового центрального провода машинного, наматываемого или тягового кабеля; причем это средство подразделяется на несколько частей, каждая из которых выполнена с возможностью вмещения в себя по меньшей мере одной группы жил;
отличающееся тем, что при функционировании указанные части индивидуально соединены с соответствующей группой жил или с каждой такой группой, обеспечивая тем самым повышение прочности соединения.
2. Устройство по п.1, отличающееся тем, что каждая указанная часть выполнена с возможностью вмещения в себя одного пучка жил многопучкового центрального провода.
3. Устройство по п.1, отличающееся тем, что указанные части расположены в кольцевой конфигурации вокруг оси.
4. Устройство по п.3, отличающееся тем, что указанные части выполнены в зонах, имеющих в радиальном направлении разные расстояния от оси.
5. Устройство по п.4, отличающееся тем, что указанные части являются отверстиями.
6. Устройство по п.1, отличающееся тем, что каждая часть содержит апертуру, выполненную с возможностью вмещения в себя группы жил или каждой из этих групп.
7. Устройство по п.6, отличающееся тем, что апертуры имеют размеры в поперечном сечении, отличные друг от друга, и выполнены концентрически вокруг общей оси.
8. Устройство по п.1, отличающееся тем, что каждая указанная часть является отдельной частью, которая отдельна от розеточной части, контактного штыря или наконечника и индивидуально соединена с ними.
9. Устройство по п.1, отличающееся тем, что указанные части выполнены с возможностью соединения с группой жил или с каждой из этих групп с помощью обжатия.
10. Устройство по п.1, отличающееся тем, что указанные части выполнены с возможностью соединения с группами жил с помощью сварки.
11. Устройство по п.1, отличающееся тем, что указанные части выполнены с возможностью соединения с группами жил с помощью пайки.
12. Устройство по п.1, отличающееся тем, что указанные части выполнены с возможностью соединения с группами жил с помощью зажимного механизма, содержащего винт.
13. Устройство по п.1, отличающееся тем, что контактный штырь, розеточная часть или наконечник является одной позицией из множества контактных штырей, розеточных частей или наконечников и средство для электрического соединения контактного штыря, розеточной части или наконечника с группами жил является одним средством из множества средств, каждое средство относится к соответствующей одной позиции из числа указанных контактных штырей, розеточных частей или наконечников.
14. Способ соединения машинного, наматываемого или тягового кабеля с устройством электрического соединения, согласно которому разделяют пучки жил многопучкового центрального провода машинного, наматываемого или тягового кабеля на группы жил и соединяют группы жил с соответствующими частями средства для электрического соединения контактного штыря, розеточной части или наконечника с группами жил, отличающийся тем, что группы жил соединяют индивидуально с соответствующими частями, обеспечивая повышение прочности соединений.
15. Способ по п.14, отличающийся тем, что этап разделения пучков на группы жил включает в себя этап разделения пучков на группы, соответствующие концентрическим зонам пучков отдельного многопучкового центрального провода.
16. Способ по п.14, отличающийся тем, что пучки жил разделяют на группы отдельных пучков.
17. Способ по п.14, отличающийся тем, что этап соединения включает в себя обжатие.
18. Способ по п.14, отличающийся тем, что этап соединения включает в себя сварку.
19. Способ по п.14, отличающийся тем, что этап соединения включает в себя пайку.
20. Способ по п.14, отличающийся тем, что этап соединения включает в себя обжатие с помощью механизма, содержащего винт.
РИСУНКИ
|
|