|
|
(21), (22) Заявка: 2005118855/28, 10.06.2005
(24) Дата начала отсчета срока действия патента:
10.06.2005
(46) Опубликовано: 27.12.2006
(56) Список документов, цитированных в отчете о поиске:
RU 2238574 C1, 20.10.2004. US 4214238 A, 22.07.1980. SU 1070497 A1, 30.01.1984. RU 2156988 C1, 27.09.2000.
Адрес для переписки:
197348, Санкт-Петербург, Богатырский пр., 2, ЛенСпецСМУ, В.А. Заренкову
|
(72) Автор(ы):
Заренков Вячеслав Адамович (RU), Заренков Дмитрий Вячеславович (RU), Дикарев Виктор Иванович (RU), Доронин Александр Павлович (RU)
(73) Патентообладатель(и):
Заренков Вячеслав Адамович (RU), Заренков Дмитрий Вячеславович (RU), Дикарев Виктор Иванович (RU), Доронин Александр Павлович (RU)
|
(54) СИСТЕМА ДЛЯ ПРЕДУПРЕЖДЕНИЯ О ЗЕМЛЕТРЯСЕНИЯХ И ЦУНАМИ
(57) Реферат:
Изобретение относится к подводной геоакустике и может быть использовано для предупреждения о землетрясениях и цунами с помощью включения соответствующих систем сигнализации. Сущность: система содержит герметичный корпус, а также оптоэлектронный датчик наперед заданного предельного значения отклонения маятника. К нижней части корпуса прикреплен приемник сейсмических колебаний, а к верхней – маятник с распределенной массой. Оптоэлектронный датчик выполнен в виде сигнальной и опорной волоконных катушек, оптически связанных через источник когерентного света и фотоприемник в интерферометр. При этом сигнальная и опорная волоконные катушки расположены в корпусе, установленном на морском дне, соответственно на и вне траектории отклонения маятника от положения равновесия, а источник когерентного света и фотоприемник расположены на надводном центре управления и регистрации. Оптоэлектронный датчик включает оптически согласованные источник когерентного света и фотоприемник. Фотоприемник подключен выходом через последовательно соединенные усилитель фототока и частотомер к сигнализатору тревоги. Сигнализатор тревоги выполнен в виде передатчика, ИСЗ-ретранслятора и наземной станции. Передатчик выполнен в виде последовательно подключенных к выходу частотомера формирователя модулирующего кода, фазового манипулятора, второй вход которого соединен с выходом генератора высокой частоты. Наземная станция выполнена в виде последовательно включенных приемной антенны, усилителя высокой частоты, смесителя, усилителя промежуточной частоты, первого перемножителя, узкополосного фильтра, второго перемножителя, фильтра нижних частот. Второй вход смесителя соединен с выходом гетеродина. Второй вход первого перемножителя соединен с выходом фильтра нижних частот. Второй вход второго перемножителя соединен с выходом усилителя промежуточной частоты. К выходу фильтра нижних частот подключены блок регистрации и звуковой сигнализатор. Технический результат: повышение оперативности и достоверности передачи тревожной информации. 3 ил.
Предлагаемая система относится к подводной геоакустике и может быть использована для предупреждения о землетрясениях и цунами с помощью включения соответствующих систем сигнализации.
Известны устройства и системы для предупреждения о землетрясениях и цунами (авт. свид. СССР №№914702, 1070497, 1163287, 1198142, 1584585, патенты РФ №№2034312, 2097792, 2124744, 2147060, 2156988, 2238574; патенты США №№4214238, 4587859, 4691661, 5124915, 5556229; патенты Великобритании №№1163173, 2183038; Соловьев С.Л., Бурымская Р.И. Оценка эффективности новых признаков цунамигенности землетрясений. Изв. АНСССР, серия “Физика земли”, 1981, №8 и другие).
Из известных устройств и систем наиболее близким к предлагаемой является “Сейсмический триггер” (патент РФ №2238574, G 01 V 1/16, 2003), который и выбран в качестве прототипа.
Указанный триггер содержит маятник и оптоэлектронный датчик отклонения маятника. Датчик отклонения маятника выполнен в виде сигнальной и опорной волоконных катушек, оптически связанных с источником когерентного света и фотоприемником в интерферометр. При появлении цунами в районе расположения триггера маятник отклоняется от положения равновесия и ударяется о сигнальную катушку. На выходе интерферометра при этом появляется сигнал, направляемый через усилитель и частотомер на сигнализатор тревоги. Сигнальная и опорная катушки расположены в корпусе, установленном на морском дне. Источник когерентного света и фотоприемник расположены на надводном центре управления и регистрации.
Технической задачей изобретения является повышение оперативности и достоверности передачи тревожной информации для предупреждения о землетрясении и цунами путем использования радиоканала и сложного сигнала с фазовой манипуляцией.
Поставленная задача решается тем, что в системе для предупреждения о землетрясениях и цунами, содержащей герметичный корпус с прикрепленными к его нижней части приемником сейсмических колебаний, а к верхней – маятником с распределенной массой, а также оптоэлектронный датчик наперед заданного предельного значения отклонения маятника, включающего в себя оптически согласованные источник когерентного света и фотоприемник, подключенный выходом через последовательно соединенные усилитель фототока и частотомер к сигнализатору тревоги, при этом оптоэлектронный датчик наперед заданного предельного значения отклонения маятника выполнен в виде сигнальной и опорной волоконных катушек, оптически связанных через источник когерентного света и фотоприемник в интерферометр, сигнальная и опорная волоконные катушки расположены в корпусе, установленном на морском дне, соответственно на и вне траектории отклонения маятника от положения равновесия, а источник когерентного света и фотоприемник расположены на надводном центре управления и регистрации, сигнализатор тревоги выполнен в виде передатчика, установленного на надводном центре управления и регистрации, ИСЗ-ретранслятора и наземной станции, причем передатчик выполнен в виде последовательно подключенных к выходу частотомера формирователя модулирующего кода, фазового манипулятора, второй вход которого соединен с выходом генератора высокой частоты, усилителя мощности и передающей антенны, наземная станция выполнена в виде последовательно включенных приемной антенны, усилителя высокой частоты, смесителя, второй вход которого соединен с выходом гетеродина, усилителя промежуточной частоты, первого перемножителя, второй вход которого соединен с выходом фильтра нижних частот, узкополосного фильтра, второго перемножителя, второй вход которого соединен с выходом усилителя промежуточной частоты, и фильтра нижних частот, к выходу которого подключены блок регистрации и звуковой сигнализатор.
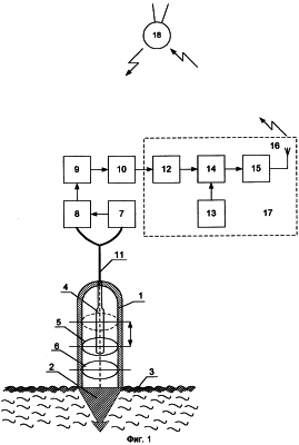
Структурная схема сейсмического триггера и передатчика представлена на фиг.1. Структурная схема наземной станции представлена на фиг.2. Временные диаграммы, поясняющие принцип работы системы, изображены на фиг.3.
Сейсмический триггер содержит герметический корпус 1 (фиг.1) с прикрепленными к его нижней части приемником 2 сейсмических колебаний, выполненным в виде традиционного штыря, втыкаемого в грунт морского дна 3. К верхней части герметичного корпуса 1 подвешен маятник 4 с распределенной массой. В состав триггера также входит оптоэлектронный датчик наперед заданного предельного значения отклонения маятника 4, выполненный в виде сигнальной и опорной волоконных катушек 5 и 6, оптически связанных с источником 7 когерентного света и фотоприемником 8 в интерферометр, например, собранный по схеме Маха-Цендера. Сигнальная катушка 5 интерферометра расположена на траектории отклонения маятника 4 от положения равновесия, а опорная катушка 6 – вне траектории отклонения маятника 4. Выход фотоприемника 8 подключен через последовательно соединенные усилитель 9 фототока и частотомер 10 к сигнализатору тревоги.
Волоконные катушки 5 и 6 интерферометра закреплены непосредственно в герметичном корпусе 1, а остальные элементы триггера расположены на надводном центре управления и регистрации. Связь подводной части сейсмического триггера с надводной осуществляется по кабель-тросу 11.
Передатчик 17 выполнен в виде последовательно подключенных к выходу частотомера 10 формирователя 12 модулирующего кода, фазового манипулятора 14, второй вход которого соединен с выходом генератора 13 высокой частоты, усилителя 15 мощности и передающей антенны 16.
Наземная станция выполнена в виде последовательно включенных приемной антенны 19, усилителя 20 высокой частоты, смесителя 22, второй вход которого соединен с выходом гетеродина 21, усилителя 23 промежуточной частоты, первого перемножителя 25, второй вход которого соединен с выходом фильтра 28 нижних частот, узкополосного фильтра 27, второго перемножителя 26, второй вход которого соединен с выходом усилителя 23 промежуточной частоты, и фильтра 28 нижних частот, к выходу которого подключены блок 29 регистрации и звуковой сигнализатор 30. Перемножители 25 и 26, узкополосный фильтр 27 и фильтр 28 нижних частот составляют демодулятор 24 ФМН-сигнала.
Связь сейсмического триггера с наземной станцией осуществляется с помощью радиоканала через ИСЗ-ретранслятор 18.
Волоконная катушка 5 выполнена с возможностью смещения в корпус 1 вдоль маятника 4 с распределенной массой. Для устранения влияния акустических шумов на работу триггера волоконные катушки 5 и 6 покрывают звуконепроницаемой оболочкой.
Система для предупреждения о землетрясениях и цунами работает следующим образом.
При появлении в районе морского дна 3 землетрясений или цунами сейсмический приемник 2, являющийся одновременно и якорем корпуса 1, воспринимает ускорения, вызванные воздействием подземных толчков на сейсмический триггер. Маятник 4 с распределенной массой в ответ на землетрясение приходит в колебательное движение.
Если подземные толчки достигают определенной амплитуды, отклонение маятника 4 достигает критической величины, при которой он ударяет о сигнальную катушку 5. На выходе фотоприемника 8 при этом появится сигнал в виде последовательности интерференционных пиков. После усиления фототока в усилителе 9 частотомер 10 считает частоту и количество интерференционных пиков, которые поступают в формирователь 12, где формируется модулирующий код M(t) (фиг.3,б), содержащий частоту и количество интерференционных пиков, а также номер сейсмического триггера и его местоположение. Этот код поступает на первый вход фазового манипулятора 14, на второй вход которого подается гармоническое колебание с выхода генератора 13 высокой частоты (фиг.3,а)

где Uc, c, c, Tc – амплитуда, несущая частота, начальная фаза и длительность гармонического колебания.
На выходе фазового манипулятора 14 образуется сложный сигнал с фазовой манипуляцией (ФМН) (фиг.3, в)

где к={0, } – манипулируемая составляющая фазы, отображающая закон фазовой манипуляции в соответствии с модулирующим кодом M(t) (фиг.3,б), причем к(t)=const при к ээ и может изменяться скачком при t=к э, т.е. на границах между элементарными посылками (к=1, 2,…,N-1);
э, N – длительность и количество элементарных посылок, из которых составлен сигнал длительностью Тc (Tc=N· э),
который после усиления в усилителе 15 мощностью излучается передающей антенной 16 в эфир, ретранслируется ИСЗ-ретранслятором 18 с сохранением фазовых соотношений, улавливается приемной антенной 19 наземной станции и через усилитель 20 высокой частоты поступает на первый вход смесителя 22, на второй вход которого подается напряжение гетеродина 21

На выходе смесителя 22 образуются напряжения комбинационных частот. Усилителем 23 выделяется напряжение промежуточной частоты (фиг.3,г)

где 
К1 – коэффициент передачи смесителя;
– промежуточная частота;

которое поступает на вход демодулятора 24 ФМН-сигнала. Последний состоит из первого 25 и второго 26 перемножителей, узкополосного фильтра 27 и фильтра 28 нижних частот.
Сложный ФМН-сигнал промежуточной частоты uир(t) (фиг.3,г) с выхода усилителя 23 промежуточной частоты одновременно поступает на первые входы первого 25 и второго 26 перемножителей.
На второй вход второго перемножителя 26 подается опорное напряжение с выхода узкополосного фильтра 27 (фиг.3,д)

На выходе перемножителя 26 образуется суммарное напряжение

где 
К2 – коэффициент передачи перемножителя.
Фильтром 28 нижних частот выделяется низкочастотное напряжение (фиг.3,е)

пропорциональное модулирующему коду (фиг.3, б).
Это напряжение поступает на второй вход первого перемножителя 25, на выходе которого образуется гармоническое напряжение

где 

которое выделяется узкополосным фильтром и используется в качестве опорного напряжения.
При этом следует отметить, что опорное напряжение, необходимое для демодуляции принимаемого ФМН-сигнала, выделяется непосредственно из принимаемого ФМН-сигнала промежуточной частоты.
Предлагаемый демодулятор ФМН-сигнала свободен от явления “обратной работы”, присущей известным устройствам выделения опорного напряжения из самого принимаемого ФМН-сигнала (схемы Писшоль-Корса А.А., Сифорова В.И., Костаса Д.Ф., Травина Г.А. и другие).
Низкочастотное напряжение uн(t) с выхода демодулятора 24 поступает на входы блока 29 регистрации и звукового сигнализатора 30. Последний воспроизводит звуковой сигнал тревоги о возникновении землетрясения и цунами, а по зарегистрированному низкочастотному напряжению судят о местоположении и силе землетрясения и цунами.
Таким образом, предлагаемая система по сравнению с прототипом обеспечивает повышение оперативности и достоверности передачи тревожной информации для предупреждения о землетрясении и цунами. Это достигается использованием радиоканала и сложных сигналов с фазовой манипуляцией.
Указанные сигналы открывают новые возможности в технике передачи тревожной информации. Они позволяют применять новый вид селекции – структурную селекцию. Это значит, что появляется новая возможность разделять сигналы, действующие в одной и той же полосе частот и в одни и те же промежутки времени. Принципиально можно отказаться от традиционного метода разделения рабочих частот используемого диапазона между работающими сейсмическими триггерами и селекцией их на наземной станции с помощью частотных фильтров. Его можно заменить новым методом, основанным на одновременной работе каждого сейсмического триггера во всем диапазоне частот сигналами с фазовой манипуляцией с выделением радиоприемным устройством сигнала необходимого сейсмического триггера посредством его структурной селекции.
К числу других проблем, от решения которых в значительной мере зависит дальнейший прогресс средств радиосвязи сейсмических триггеров с наземной станцией, следует отнести проблему установления надежной связи между сейсмическими триггерами и наземной станцией через ИСЗ-ретранслятор при наличии многолучевого характера распространения радиоволн. Наличие многолучевого характера распространения радиоволн приводит к искажению принимаемых ФМН-сигналов, что затрудняет прием и снижает достоверность передачи тревожной информации для предупреждения о землетрясении и цунами.
Попытки преодолеть вредное влияние многолучевости предпринимаются уже давно. К ним можно отнести разнесенный прием, селекцию сигналов по времени и углу прихода, корректирующее кодирование и некоторые другие методы. Однако все они не дают принципиального решения проблемы.
Сложный ФМН-сигнал благодаря своим хорошим корреляционным свойствам может быть “свернут” в узкий импульс, длительность которого обратно пропорциональна используемой ширине полосы частот. Выбирая такую полосу частот, чтобы длительность “свернутого” импульса была меньше времени запаздывания, можно осуществить раздельный прием импульсов, приходящих в точку приема различными путями, а суммируя их энергию можно, кроме того, повысить помехоустойчивость приема сложных ФМН-сигналов. Тем самым указанная проблема получает принципиальное разрешение.
С точки зрения обнаружения сложные ФМН-сигналы обладают высокой энергетической и структурной скрытностью.
Энергетическая скрытность данных сигналов обусловлена их высокой сжимаемостью во времени и по спектру при оптимальной обработке, что позволяет снизить мгновенную излучаемую мощность. Вследствие этого сложный ФМН-сигнал в точке приема может оказаться замаскированным шумами и помехами. Причем энергия сложного ФМН-сигнала отнюдь не мала, она просто распределена по частотно-временной области так, что в каждой точке этой области мощность сигнала меньше мощности шумов и помех.
Структурная скрытность сложных ФМН-сигналов обусловлена большим разнообразием их форм и значительными диапазонами изменений параметров, что затрудняет оптимальную или хотя бы квазиоптимальную обработку сложных ФМН-сигналов априорно не известной структуры с целью повышения чувствительности приемника.
Для выделения аналога модулирующего кода из принимаемого ФМН-сигнала используется демодулятор, свободный от явления “обратной” работы.
Формула изобретения
Система для предупреждения о землетрясениях и цунами, содержащая герметичный корпус с прикрепленными к его нижней части приемником сейсмических колебаний, а к верхней – маятником с распределенной массой, а также оптоэлектронный датчик наперед заданного предельного значения отклонения маятника, включающего в себя оптически согласованные источник когерентного света и фотоприемник, подключенный выходом через последовательно соединенные усилитель фототока и частотомер к сигнализатору тревоги, при этом оптоэлектронный датчик наперед заданного предельного значения отклонения маятника выполнен в виде сигнальной и опорной волоконных катушек, оптически связанных через источник когерентного света и фотоприемник в интерферометр, сигнальная и опорная волоконные катушки расположены в корпусе, установленном на морском дне, соответственно на и вне траектории отклонения маятника от положения равновесия, а источник когерентного света и фотоприемник расположены на надводном центре управления и регистрации, отличающаяся тем, что сигнализатор тревоги выполнен в виде передатчика, установленного на надводном центре управления и регистрации, ИСЗ-ретранслятора и наземной станции, причем передатчик выполнен в виде последовательно подключенных к выходу частотомера формирователя модулирующего кода, фазового манипулятора, второй вход которого соединен с выходом генератора высокой частоты, усилителя мощности и передающей антенны, наземная станция выполнена в виде последовательно включенных приемной антенны, усилителя высокой частоты, смесителя, второй вход которого соединен с выходом гетеродина, усилителя промежуточной частоты, первого перемножителя, второй вход которого соединен с выходом фильтра нижних частот, узкополосного фильтра, второго перемножителя, второй вход которого соединен с выходом усилителя промежуточной частоты, и фильтра нижних частот, к выходу которого подключены блок регистрации и звуковой сигнализатор.
РИСУНКИ
MM4A – Досрочное прекращение действия патента СССР или патента Российской Федерации на изобретение из-за неуплаты в установленный срок пошлины за поддержание патента в силе
Дата прекращения действия патента: 11.06.2007
Извещение опубликовано: 27.01.2009 БИ: 03/2009
|
|