|
|
(21), (22) Заявка: 2005116817/28, 01.06.2005
(24) Дата начала отсчета срока действия патента:
01.06.2005
(46) Опубликовано: 27.12.2006
(56) Список документов, цитированных в отчете о поиске:
RU 2142149 C1, 27.11.1993. RU 2046373 C1, 20.10.1995. SU 1728816 A1, 23.04.1992. RU 2072534 C1, 23.04.1997. GB 2362715 A, 28.11.2001. GB 2400662 A, 20.10.2004.
Адрес для переписки:
625000, г.Тюмень, Главпочтамт, а/я 729, Л.С. Бевзенко
|
(72) Автор(ы):
Бевзенко Юрий Петрович (RU), Черепанов Валерий Петрович (RU)
(73) Патентообладатель(и):
Закрытое акционерное общество “Герус” (RU), Общество с ограниченной ответственностью Научно-производственная компания “СибГеофизПрибор” (RU)
|
(54) СТАНЦИЯ ВЗРЫВНОГО ПУНКТА
(57) Реферат:
Изобретение относится к сейсморазведке, а именно к техническим средствам выполнения взрывных работ при сейсморазведке. Заявлена станция взрывного пункта, включающая размещенные на транспортном средстве приемо-передающую радиостанцию, систему синхронизации возбуждения, взрывную магистраль, устройство регистрации сейсмических сигналов, а также соединенную с транспортным средством буксируемую сейсмическую косу с сейсмоприемниками. Буксируемая сейсмическая коса выполнена в виде двух параллельных отрезков, размещенных один от другого на расстоянии, равном расстоянию между осями движителей транспортного средства. Отрезки буксируемой сейсмической косы содержат горизонтальные и вертикальные сейсмоприемники. Горизонтальные сейсмоприемники установлены таким образом, чтобы их оси максимальной чувствительности были ориентированы перпендикулярно продольной оси отрезка косы, а их донные части в двух различных отрезках косы были установлены навстречу друг другу. Транспортное средство снабжено спутниковым устройством определения координат. Устройство регистрации сейсмических сигналов снабжено системой самотестирования. Технический результат: повышение информативности результатов, получаемых в процессе сейсморазведки. 1 ил.
Изобретение относится к сейсморазведке, а точнее к техническим средствам выполнения взрывных работ при сейсморазведке.
Известна станция взрывного пункта, включающая транспортное средство, с размещенными на нем системой синхронизации возбуждения и взрывной магистралью (Казаков А.Т. Методика и техника взрывных работ при сейсморазведке. М., Недра, 1987 г., с.138-140).
Недостатком ее является то, что она не содержит технических средств для определения фактических глубин взрывов зарядов, размещаемых во взрывных скважинах.
Наиболее близкой к заявляемому объекту является станция взрывного пункта, включающая транспортное средство с размещенными на нем системой синхронизации возбуждения и взрывной магистралью, снабженная транспортером сейсмических приемников (буксируемой сейсмической косой), а также регистрирующим или радиопередающим устройством, информационные входы которого соединены с сейсмоприемниками, а вход управления соединен с приемником сигналов от взрывной магистрали или с системой синхронизации возбуждения (патент РФ №2142149, G 01 V 1/104 от 27.11.1999 г., прототип).
К недостаткам прототипа можно отнести следующее.
Для определения фактической глубины взрыва с требуемой точностью необходимо с заданной точностью знать время пробега сейсмической волны от точки взрыва до дневной поверхности, так называемое вертикальное время. Если сейсмоприемники отнесены от устья взрывной скважины, то они регистрируют завышенную (ложную) величину вертикального времени, что приводит в итоге к завышению оценки глубины точки взрыва по сравнению с фактической.
При отнесении буксируемой сейсмической косы на расстояние, превышающее некоторую величину, без указания этого расстояния, глубина взрыва будет определена с ошибкой недопустимой величины. Так, при фактической глубине заряда 10 м, неучтенное отнесение буксируемой косы от устья скважины на 6-8 м дает завышение глубины взрыва на 1,7-2,8 м.
Такие величины ошибок недопустимы для высокоточной сейсморазведки, при которой глубину взрыва необходимо определять с погрешностью, не превышающей 0,5 м. Кроме того, принятая за прототип, станция взрывного пункта не обеспечивает контроль отнесения устьев взрывных скважин от их проектного положения.
Отнесение взрывных скважин от их проектного положения происходит по разным причинам, в частности, при выборе наиболее удобных площадок для установки бурового станка, а также в том случае, когда коса основной системы наблюдений прокладывается по профилю, имеющему крутые склоны, овраги и плохо замерзшие ручьи, а тяжелые буровые станки движутся по объездам и бурение скважин производится вне створа сейсмического профиля, задокументированного топографами.
Отнесение буксируемой сейсмической косы от устья взрывной скважины происходит в первую очередь при неудобном подъезде к устью скважины, а иногда, вследствие намерения взрывной бригады завысить глубины взрывов в рапорте, по сравнению с фактическими.
Задача изобретения состоит в обеспечении объективного и точного автоматического определения вертикального времени, необходимого для определения фактической глубины точки взрыва, а также автоматического определения и регистрации отклонения положения взрывных скважин от их проектного положения относительно линии сейсмического профиля.
Неучтенное отклонение положения устья взрывной скважины от линии профиля, на котором обычно размещается основная приемо-регистрирующая сейсмическая система, влияет на точность оценки скоростей распространения волн.
Задача решается тем, что в известной станции взрывного пункта, включающей размещенные на транспортном средстве приемопередающую радиостанцию, систему синхронизации возбуждения, взрывную магистраль, устройство регистрации сейсмических сигналов, а также соединенную с транспортным средством буксируемую сейсмическую косу с сейсмоприемниками, причем информационные входы устройства регистрации сейсмических сигналов соединены с сейсмоприемниками, а вход управления соединен с датчиком сигналов от взрывной магистрали, согласно изобретению буксируемая сейсмическая коса выполнена в виде двух параллельных отрезков, размещенных один от другого на расстоянии, равном расстоянию между осями движителей транспортного средства, отрезки буксируемой сейсмической косы содержат горизонтальные и вертикальные сейсмоприемники, транспортное средство снабжено спутниковым устройством определения координат, выход которого соединен с входом регистрации координат устройства регистрации сейсмических сигналов, а устройство регистрации сейсмических сигналов снабжено системой самотестирования, содержащей блок передачи зарегистрированных сейсмических сигналов, соединенный с входом приемо-передающей радиостанции, причем горизонтальные сейсмоприемники установлены таким образом, чтобы их оси максимальной чувствительности были ориентированы перпендикулярно продольной оси отрезка косы, а их донные части в двух различных отрезках косы были установлены навстречу друг другу.
Сущность изобретения состоит в том, что буксируемая сейсмическая коса выполнена в виде двух параллельных отрезков, что позволяет по временам и полярности вступлений волн определить насколько отрезки сейсмической косы отнесены от устья взрывной скважины; снабжение транспортного средства спутниковым устройством определения координат, выход которого соединен с входом регистрации координат устройства регистрации сейсмических сигналов, обеспечивает определение и запись смещения устьев взрывных скважин от их проектного положения, снабжение устройства регистрации сейсмических сигналов системой самотестирования позволяет оператору дистанционно оценивать работоспособность системы, а наличие блока передачи зарегистрированных сейсмических данных позволяет оператору сейсмостанции, ведущему сейсморазведочные работы, получить дистанционно любую сейсмограмму, зарегистрированную станцией взрывного пункта совместно с координатами устья взрывной скважины и оценить соответствие между фактической глубиной взрыва и ее проектным значением, а также положение устья взрывной скважины относительно проекта.
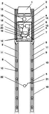
Предложенная станция взрывного пункта показана на чертеже. На транспортном средстве 1, имеющем движители 2, в виде колес или гусениц, размещены приемо-передающая радиостанция 3, соединенная с системой синхронизации возбуждения 4, взрывная магистраль 5 и устройство регистрации сейсмических сигналов 6. С транспортным средством 1 посредством траверсы 7 соединены два отрезка буксируемой сейсмической косы 8, расположенные один от другого на расстоянии, равном расстоянию между осями движителей 2. В каждом из отрезков буксируемой сейсмической косы 8 размещены горизонтальные и вертикальные сейсмоприемники 9 и 10 соответственно, соединенные посредством кабеля 11 с информационными входами 12 устройства регистрации сейсмических сигналов 6, а вход управления 13 этого устройства соединен с датчиком сигналов 14 от взрывной магистрали 5. Транспортное средство 1 снабжено спутниковым устройством определения координат 15, выход которого соединен с входом регистрации координат 16 устройства регистрации сейсмических сигналов 6. Устройство регистрации сейсмических сигналов 6 снабжено системой самотестирования 17, содержащей блок передачи зарегистрированных данных 18, соединенный с входом 19 приемо-передающей радиостанции 3, выход которой соединен с входом записи номера очередной сейсмограммы и параметров регистрации 20 устройства регистрации сейсмических сигналов 6.
Формула изобретения
Станция взрывного пункта, включающая размещенные на транспортном средстве приемо-передающую радиостанцию, систему синхронизации возбуждения, взрывную магистраль, устройство регистрации сейсмических сигналов, а также соединенную с транспортным средством буксируемую сейсмическую косу с сейсмоприемниками, причем информационные входы устройства регистрации сейсмических сигналов соединены с сейсмоприемниками, а вход управления соединен с датчиком сигналов от взрывной магистрали, отличающаяся тем, что буксируемая сейсмическая коса выполнена в виде двух параллельных отрезков, размещенных один от другого на расстоянии, равном расстоянию между осями движителей транспортного средства, отрезки буксируемой сейсмической косы содержат горизонтальные и вертикальные сейсмоприемники, транспортное средство снабжено спутниковым устройством определения координат, выход которого соединен с входом регистрации координат устройства регистрации сейсмических сигналов, а устройство регистрации сейсмических сигналов снабжено системой самотестирования, содержащей блок передачи зарегистрированных сейсмических сигналов, соединенный с входом приемо-передающей радиостанции, причем горизонтальные сейсмоприемники установлены таким образом, чтобы их оси максимальной чувствительности были ориентированы перпендикулярно продольной оси отрезка косы, а их донные части в двух различных отрезках косы были установлены навстречу друг другу.
РИСУНКИ
|
|