|
(21), (22) Заявка: 2005108407/02, 24.03.2005
(24) Дата начала отсчета срока действия патента:
24.03.2005
(46) Опубликовано: 27.12.2006
(56) Список документов, цитированных в отчете о поиске:
RU 2180089 С2, 27.02.2002. RU 21953 U1, 27.02.2002. SU 628357 A1, 15.10.1978. RU 2087832 C1, 20.08.1997. US 5129307 A, 14.07.1992. US 5196642 A, 23.03.1993. DE 3429550 A1, 07.07.1991. EP 0552584 A1, 28.07.1993. Ж. “Военный парад”, 1995, ноябрь-декабрь, с.104-106.
Адрес для переписки:
432010, г.Ульяновск, ул.Врача Михайлова, 52, кв.94, Н.А.Морозову
|
(72) Автор(ы):
Морозов Николай Александрович (RU), Бузаева Елена Николаевна (RU)
(73) Патентообладатель(и):
Морозов Николай Александрович (RU)
|
(54) ЗЕНИТНАЯ УСТАНОВКА
(57) Реферат:
Изобретение относится к военной технике, в частности к зенитным установкам (ЗУ). Сущность изобретения заключается в том, что ЗУ снабжена прецизионным или суперпрецизионным механизмом привода датчика угла (ДУ) горизонтального наведения (ГН). Механизм одного типа содержит вертикальную штангу, расположенную с зазором в центральном сквозном отверстии в ВКУ и две муфты, каждая из которых выполнена в виде прямолинейно-контактной муфты или муфты с упругой пластиной. Упомянутый механизм может иметь также третью муфту – крестовую, соединяющую вал ротора ДУ с вертикальным валом, обеспечивающим разгрузку вала ротора ДУ. Вертикальная штанга может быть выполнена в виде трубки с возможностью соединения гидросистем неподвижной и поворотной частей ЗУ. Прецизионный механизм другого типа содержит два многогранника, проектирующихся на горизонтальную плоскость в виде двух подобных правильных многоугольников. Больший многогранник (БМ), соосный с погоном, имеет вертикальные грани, обращенные вовнутрь. Грани меньшего многогранника (ММ), расположенного внутри БМ, обращены во внешние стороны – к граням БМ. Вертикальная геометрическая ось ММ зафиксирована подшипниками в каретке, опирающейся на радиальную направляющую, вдоль которой усилием пружины обеспечены радиальные перемещения каретки и ММ до упора одной из вертикальных граней ММ в соответствующую грань БМ. При вращении поворотной части ЗУ вертикальные грани ММ поочередно скользят по граням БМ при неизменном угловом положении ММ относительно БМ. ММ связан с ротором ДУ посредством крестовой муфты. ДУ может быть закреплен на каретке, поворотной или неподвижной части ЗУ. Радиальная направляющая каретки установлена на поворотной или неподвижной части ЗУ, а БМ жестко закреплен соответственно на неподвижной или поворотной части ЗУ. Через свободное пространство внутри БМ, не занятое кареткой, от поворотной части ЗУ подведены кабели и поводок к вращающейся части ВКУ. Реализация изобретения позволяет повысить точность ГН оружия за счет достижения прецизионного или суперпрецизионного уровня точности механизма привода ДУ ГН. 2 н. и 20 з.п. ф-лы, 52 ил.
Заявляемое изобретение относится к военной технике, в частности к зенитным установкам (ЗУ) и вообще к техническим средствам, содержащим поворотную часть, вращаемую силовым следящим приводом с датчиком угла (ДУ) горизонтального наведения (ГН), а также вращающееся электроконтактное устройство (ВКУ), расположенное под центром поворотной части ЗУ.
Известна зенитная самоходная установка 2С6М [1], содержащая неподвижную часть, поворотную часть, погон и силовой следящий привод ГН.
В этой зенитной установке ДУ ГН с вращающимся трансформатором установлен на редукторе обкатки и связан с шестерней погона кинематической цепью, содержащей зубчатые передачи. Такое техническое решение порождено ошибочным представлением о невозможности конструктивной совместимости механизма привода ДУ ГН с ВКУ в центре поворотной части установки.
Передаточное отношение кинематической цепи этого механизма не является строго постоянным в процессе вращения поворотной части и изменяется без определенной закономерности в пределах погрешностей кинематической цепи, обусловленных отклонениями размеров и формы зубьев и зубчатых венцов всех шестерен в пределах допусков, назначаемых по ГОСТ 1643-81. Влияют также радиальные люфты в опорах валов, в погоне и податливость погона при стрельбе.
Таким образом, ДУ отслеживает не действительные угловые перемещения поворотной части (оружия), а неоднозначные, незакономерно изменяющиеся угловые перемещения выходного вала редуктора обкатки относительно неподвижной части. В результате теоретически и практически невозможно никакими мерами полностью исправить погрешности ГН оружия, привносимые неточным механизмом привода ДУ ГН. Точность механизма, приемлемая в общем машиностроении, недостаточна для наведения оружия ЗУ. В этом состоит существенный недостаток установки 2С6М, обусловливающий необходимость стрельбы длинными очередями с целью достижения приемлемой вероятности поражения цели.
Неточный механизм привода ДУ ГН отбрасывает установку 2С6М на пониженный уровень техники.
Известна боевая установка по описанию изобретения к патенту РФ 2180089, действующему с 24.02.2000 г. [2], содержащая неподвижную часть, поворотную (вращающуюся) часть, силовой следящий привод ГН с ДУ (принимающим прибором), установленным на поворотной части установки по геометрической оси ее вращения.
Изобретение предлагает одно исполнение конструкции механизма привода ДУГИ.
Задача конструктивной совместимости механизма привода ДУ ГН с ВКУ в изобретении по патенту 2180089 не рассматривается.
Механический привод ДУ ГН в этом изобретении осуществляется напрямую от неподвижной части установки с помощью центральной вертикальной штанги, промежуточного вала, названного в описании обоймой, и трех муфт. Кроме верхней, две другие муфты оригинальны по конструкции и их полумуфты в описании названы также оригинально: стакан и опора, опора и обойма.
Методами теоретической механики можно убедительно показать, что эти две оригинальные муфты не могут без люфта передавать угловое положение от ведущей полумуфты к ведомой. Передаваемый крутящий момент (определяемый сопротивлением вращению вала вращающегося трансформатора принимающего прибора), изменяющий свое направление действия с каждым изменением направления вращения, полностью выбирает люфты в обеих оригинальных муфтах. Просуммированные люфты двух оригинальных муфт составляют существенную долю общей погрешности механизма привода ДУ ГН и соответственно понижается точность наведения оружия установки.
Неточный механизм привода ДУ ГН не позволяет боевой установке по патенту 2180089 претендовать на высший уровень техники.
Известна ЗУ по заявке 2003109767/02 (010376), по которой получено из ФИПС сообщение от 27.10.2004 г. о принятом решении о выдаче патента на изобретение с установленным приоритетом с 07.04.2003 г. [3].
Это изобретение предлагает всего десять конструктивных исполнений механизма привода ДУ ГН и решает задачу повышения точности наведения оружия ЗУ за счет достижения прецизионного уровня точности этих механизмов, а также задачу конструктивной совместимости двух исполнений механизма с ВКУ независимо от наличия центрального сквозного отверстия в ВКУ; остальные восемь исполнений механизма совместимы с ВКУ при наличии в ВКУ центрального сквозного отверстия, в которое с зазором вставляется центральная вертикальная штанга – составная часть механизма.
Принимая во внимание эти наиболее существенные признаки и обозначенный в заявке 2003109767/02 (010376) множественный технический и экономический результат, обеспечиваемый изобретением, ЗУ по этой заявке можно признать наиболее близким прототипом.
Ниже, прежде всего, изложено теоретическое и логическое обоснование технических решений, примененных в заявляемом изобретении, и даны основные характеристики выбранных для механизма привода ДУ ГН кинематических пар и составных частей.
В заявляемом изобретении точное ГН оружия обеспечено прецизионным или суперпрецизионным уровнем точности отслеживания угловых перемещений (положений) оружия с помощью ДУ ГН. Если статор ДУ жестко закреплен, например, на поворотной части установки, угловое положение ротора ДУ всегда неизменно относительно неподвижной части установки. Однако жесткая связь между неподвижной частью и ротором ДУ по многим причинам невозможна и, следовательно, в заявляемом изобретении применена кинематическая связь между ними с постоянным передаточным отношением, равным точно единице. Это условие выражается равенством:

Здесь i0 – общее передаточное отношение участка кинематической цепи, связывающего неподвижную часть установки с валом ротора ДУ ГН;
i1, i2, …, in – передаточные отношения каждой из n кинематических пар, влияющих на угловое положение ротора ДУ и на точность механизма привода ДУ.
Условие (1) можно назвать условием прецизионного или суперпрецизионного уровня точности механизма привода ДУ ГН.
Для частного случая кинематической цепи, соответствующего условию (1), очевидными и простейшими в математическом отношении и в конструкции заявляемого изобретения являются такие решения, когда каждая из всех n кинематических пар, влияющих на угловое положение ротора ДУ, не нарушает условия (1) при постоянном передаточном отношении каждой кинематической пары, равном точно единице:

Условие (2) обеспечивает соблюдение условия (1).
Заявляемый механизм привода ДУ ГН, содержащий рассматриваемую кинематическую цепь, является реверсируемым и безлюфтовым, то есть условия (2) и (1) соблюдаются независимо от направления вращения поворотной части установки.
Далее во всех случаях, когда речь пойдет о точности кинематических пар, о соблюдении условий (2) и (1), кинематические пары рассматриваются в проекциях на горизонтальные плоскости, параллельные плоскости вращения погона.
Изложенные особенности частного случая кинематической цепи в заявляемом изобретении, в числе всех кинематических пар, влияющих на угловое положение ротора ДУ, побудили отказаться от сочленений звеньев по кривым поверхностям, так как движение ведомого звена относительно ведущего вдоль кривой поверхности изменяет их взаимное угловое положение и приводит к нарушению условий (2) и (1).
Можно сказать, что подвижные криволинейные сочленения звеньев испортили бы кинематическую цепь механизма привода ДУ ГН, вероятность нарушения условий (2) и (1) от применения любого криволинейного сочленения очевидна, и они все совместно явились бы причиной погрешностей наведения оружия установки.
В заявляемом изобретении криволинейные кинематические пары, в частности вращательные, применяются только при полном отсутствии их влияния на угловое положение ротора ДУ ГН, а все кинематические пары, влияющие на угловое положение ротора ДУ, применяются только двух видов, сравнимых по точности и наиболее точно выдерживающих условия (2) и (1):
– низшая плоскостная кинематическая пара, являющаяся безлюфтовым подвижным сочленением вертикальных плоских граней ведущего и ведомого звеньев;
– высшая прямолинейная кинематическая пара, являющаяся безлюфтовым подвижным контактным сочленением вертикальной плоской контактной грани одного звена с горизонтальной прямой образующей цилиндрического контактного выступа другого звена.
Кроме указанных подвижных сочленений применяется и неподвижное соединение пар деталей, позволяющее абсолютно точно выдержать условие (2), как это выполнено в муфте с упругой пластиной (фиг.13), где полумуфты неподвижно, жестко соединены с упругой пластиной. (А относительная подвижность полумуфт при перекосе плавающей штанги обеспечена за счет упругой деформации волнообразного изгиба упругой пластины.)
Все звенья кинематической цепи механизма привода ДУ ГН от неподвижной части установки до ротора ДУ обладают достаточной жесткостью при слабом нагружении незначительным крутящим моментом от сопротивления вращению ротора ДУ. Соответстенно суммарная упругая деформация кручения жестких звеньев, являющаяся частью угловой погрешности механизма, незначительна. Поэтому, рассуждая о точности механизма привода ДУ ГН, остается в первую очередь учитывать вероятные угловые погрешности, вызываемые подвижностью применяемых низших, плоскостных и высших прямолинейных кинематических пар, а также перекосами звеньев механизма.
Некоторая вероятность нарушений условий (2) и (1) в местах применения низших плоскостных и высших прямолинейных кинематических пар из-за подвижности сочленений все же существует. Факторов влияния много: вибрации и динамическое воздействие на сочленение, длина сочленения, направление и величина относительных перемещений сочленяемых звеньев, отклонения от плоскостности и прямолинейности сочленяемых (контактных) поверхностей, неравномерность их шероховатости и толщины слоя смазки, степень загрязнения смазки, неравномерность распределения удельного давления по длине сочленения, скорость скольжения и т.п. Все эти факторы влияния определяют совокупное качество сочленений в кинематических парах.
Этот совокупный фактор влияет на точность соблюдения условий (2) и (1) значительно меньше, чем перекосы вертикальных плоских контактных граней относительно геометрической оси вращения погона и горизонтальных цилиндрических контактных выступов относительно плоскости вращения погона.
Нет смысла доверяться аналитическим исследованиям влияния качества сочленений в кинематических парах. Его можно учесть в результате лабораторных исследований точности механизма привода ДУ ГН в целом, а в классификации уровней точности различных исполнений механизмов привода ДУ ГН качество сочленений далее учитывается косвенно общим числом n кинематических пар, влияющих на точность механизма и являющихся местами вероятного нарушения условий (2) и (1).
Влияние перекосов на точность механизма далее учитывается аналитически с оценкой суммарной величины привносимых ими угловых погрешностей передачи угловых перемещений (положений).
Для сравнения достоинств различных заявляемых исполнений механизмов привода ДУ ГН предлагается их классификация:
– Класс механизма определяется числом n низших плоскостных и высших прямолинейных кинематических пар, влияющих на точность механизма. Номер класса механизма показывает, сколько мест n вероятного нарушения условий (2) и (1) содержится в механизме.
– Прецизионный механизм, точность которого обеспечена соблюдением условий (2) и (1) при качестве сочленений в кинематических парах, гарантированном обработкой на точном неизношенном оборудовании всех сочленяемых поверхностей низших и высших кинематических пар, влияющих на точность механизма.
– Суперпрецизионный механизм – то же самое с дополнительным обеспечением полной автоматической компенсации угловых погрешностей передачи угловых перемещений, появляющихся в одной части механизма, соответствующими равными и противоположно направленными угловыми погрешностями в другой части механизма. Взаимно компенсируются угловые погрешности, вызываемые допускаемыми перекосами плавающего звена механизма. Без автоматической компенсации угловых погрешностей – уровень точности механизма прецизионный. С компенсацией – осуществляется попытка получения точности передачи угловых перемещений (положений), предельно достижимой механическим способом, и механизм становится суперпрецизионным.
Ориентировочно принятые конкретные нормы предельно допускаемых угловых погрешностей для кинематических пар, для прецизионного и суперпрецизионного механизмов привода ДУ ГН приведены ниже при рассмотрении первого исполнения механизма.
В заявляемом изобретении применяются два вида промежуточных плавающих звеньев, опирающихся на сопряженные – ведущее и ведомое – звенья:
– плавающая крестовина в составе точной безлюфтовой муфты, сочленяющаяся с ведущей и ведомой полумуфтами с помощью двух накрест расположенных прямолинейных кинематических пар;
– вертикальная плавающая штанга, расположенная в отверстии в ВКУ и опирающаяся своими концами на нижнюю и верхнюю механические муфты.
Влияние перекоса плавающей штанги и жестко связанных с ней двух полумуфт рассмотрено ниже.
Влияние перекоса крестовины рассматривается здесь на примере известной механической безлюфтовой крестовой компенсирующей муфты, содержащей плавающую крестовину и две связанные с ней накрест расположенные безлюфтовые прямолинейные возвратно-поступательные кинематические пары. Крестовина помещается с необходимым зазором s между внутренними торцами ступиц обеих полумуфт. В пределах зазора s возможен произвольный перекос крестовины на максимальный угол с ее поворотом относительно горизонтальной оси, направленной под углом 45° к ее накрест расположенным вертикальным плоским контактным граням.
При указанном перекосе крестовины на угол прямой угол между ее плоскими контактными гранями проектируется на горизонтальную плоскость с искажением. И следовательно, передача углового положения от нижней полумуфты к верхней происходит с угловой погрешностью . Тем самым перекос крестовины приводит к нарушению точности механизма привода ДУ ГН.
При размерах крестовой муфты, изображенных в масштабе 1:1 на фиг.40 и 43, и при зазоре s=1 мм угол произвольного перекоса крестовины может достигать =0,0565 рад. Соответствующая вычисленная угловая погрешность крестовой муфты из-за перекоса крестовины получается совершенно неприемлемой величины =0,0022 рад. (22 м на дальности наведения 10000 м). Иметь такую погрешность наведения оружия установки по вине только одной муфты совершенно недопустимо. Конструкторы, к сожалению, часто пренебрегают пагубным влиянием перекоса крестовины. Но надо использовать все возможности повышения точности наведения оружия.
Так, при перекосе крестовины на максимально допустимую величину s=0,1 мм имеем =0,00565 рад., и вычисления дают максимальную угловую погрешность от перекоса крестовины лишь в пятом знаке после запятой: =0,000022 рад.
Влияют также и перекосы обеих полумуфт. По этой причине максимальная суммарная угловая погрешность крестовой муфты удваивается: к=0,000044 рад. (0,44 м на дальности наведения 10000 м), что вполне приемлемо.
В крестовой муфте минимизировать возможный перекос крестовины можно, например, прижатием крестовины к внутреннему плоскому торцу ступицы одной из полумуфт с помощью пластинчатой пружины. При таком конструктивном улучшении, нейтрализующем пагубное влияние перекоса плавающей крестовины, величины и близки к нулю, и при ограничении перекосов осей полумуфт, а также при наличии необходимых люфтовыбирающих пружин в кинематических парах такая муфта полностью оправдывает свое полное название – точная (прецизионная) безлюфтовая крестовая компенсирующая муфта. Она допускает в процессе вращения ограниченные перемещения ведомой полумуфты относительно ведущей по пяти степеням свободы, и лишь одна степень свободы полностью стеснена: люфты и вращение ведомой полумуфты относительно ведущей вокруг центральной вертикальной оси невозможны. Формальная полная характеристика этой муфты – муфта равных скоростей вращения полумуфт с пятью степенями свободы.
Крестовая муфта имеет две накрест расположенные поступательные кинематические пары, число n=2. Эта точная муфта пригодна для прецизионных механизмов привода ДУ ГН и применяется в заявляемом изобретении.
Следует отметить, что в заявке 2003109767/02 (010376) девять из десяти исполнений механизмов привода ДУ ГН имеют короткую кинематическую цепь, содержащую только одну плавающую крестовину с двумя накрест расположенными прямолинейными кинематическими парами. (Из них в восьми исполнениях механизмов плавающая крестовина содержится в составе крестовой муфты.) Все девять упомянутых механизмов привода ДУ ГН являются прецизионными механизмами второго класса. В каждом число n=2.
Безлюфтовая крестовая компенсирующая муфта по точности передачи угловых перемещений (положений) от ведущей полумуфты к ведомой уступает только жестким (глухим) соединениям валов и предлагаемым в заявляемом изобретении муфтам с упругими пластинами, не содержащим ни одной кинематической пары (число n=0), и муфте прямолинейно-контактной, содержащей всего одну высшую прямолинейную кинематическую пару (число n=1).
Выше все понятия и рассуждения изложены для таких заявляемых конструктивных исполнений механизма привода ДУ ГН, в которых статор ДУ крепится на поворотной части установки, а ротору ДУ при ее вращении передается неизменное угловое положение относительно неподвижной части установки с помощью механизма, выдерживающего условия (2) и (1).
Все вышеизложенные понятия и рассуждения аналогично применимы и для тех заявляемых исполнений механизма привода ДУ ГН, когда статор ДУ крепится на неподвижной части установки, а ротор ДУ приводится во вращение от поворотной части установки с помощью механизма, выдерживающего условия (2) и (1).
Любое ухудшение класса механизма, то есть увеличение числа кинематических пар n, влияющих на его точность, может быть оправдано только необходимостью достижения какого-либо нового полезного признака.
При условии тщательного конструирования с учетом вышеизложенных понятий можно получить механизмы привода ДУ ГН, обладающие прецизионным и суперпрецизионным уровнем точности с числом низших плоскостных и высших прямолинейных кинематических пар от n=0 до n=4 (механизмы от нулевого до четвертого класса).
Это условие не выдержано в двух названных ранее аналогах – в боевой установке по патенту 2180089 и в зенитной установке 2С6М. Механизмы привода ДУ ГН этих установок содержат криволинейные кинематические пары, нарушающие их точность, не способны удовлетворять условиям (2) и (1) и вообще выпадают за пределы предложенной здесь классификации механизмов и соответственно не способствуют достижению технических результатов на уровне тех, которые достигаются прототипом по заявке 2003109767/02 (010376) и тем более заявляемым изобретением.
Заявляемое изобретение решает задачу дальнейшего повышения точности наведения оружия установки за счет дальнейшего совершенствования прецизионного механизма привода ДУ ГН с повышением его точности до суперпрецизионного уровня при обеспечении конструктивной совместимости с ВКУ как при наличии центрального сквозного отверстия в ВКУ, так и при его отсутствии.
В заявляемом изобретении на основе простейших теоретических рассуждений дано исчерпывающее решение задачи конструирования механизма привода ДУ ГН. С целью расширения избирательных возможностей многократно увеличено по сравнению с прототипом по заявке 2003109767/02 (010376) число предлагаемых вариантов и конструктивных исполнений механизма.
За счет достижения суперпрецизионного уровня точности механизма привода ДУ ГН заявляемое изобретение обеспечивает множественный технический и экономический результат с превышением или не ниже, чем по заявке 2003109767/02 (010376), по всем позициям:
– Отсутствие потребности исправлять погрешности наведения оружия, привносимые механизмом привода ДУ ГН, путем введения в электронную систему установки соответствующих компенсирующих поправок.
– Повышение точности ГН оружия и вероятности поражения атакуемой цели.
– Возможность стрелять укороченными очередями, уменьшение расхода выстрелов, уменьшение объема и массы магазина, момента инерции поворотной части установки и времени ГН.
– Улучшение режима работы силового следящего электропривода ГН установки.
– Уменьшение перегрева стволов оружия, увеличение их общей наработки и количества выстрелов между заменами изношенных стволов.
– Уменьшение эксплуатационных расходов и получение общего положительного экономического эффекта.
– Повышение в целом качества и конкурентоспособности установки.
Разрабатываемые новые и модернизируемые старые установки должны обязательно иметь механизм привода ДУ ГН не ниже прецизионного уровня точности. Выдержав это требование, можно повысить эффективность эксплуатации установок, обеспечить наибольшую их пригодность для встраивания в кибернетическую систему, объединяющую несколько установок на охране стационарного объекта, способную мобильно, в порядке приближения последовательно поражать многие цели, корректируя баллистику с учетом поправок, поступающих от многих размещенных вокруг охраняемого объекта чувствительных метеорологических пунктов, оперативно и подробно следящих за направлением и силой ветров.
Заявляемые прецизионный и суперпрецизионный механизмы привода ДУ ГН должны отодвинуть в будущем моральное устарение и обеспечить выживание ЗУ как вида вооружения.
На фиг.1, фиг.10-28 изображены фрагменты ЗУ с различными исполнениями механизмов привода ДУ ГН к п.2-17 формулы. Эти исполнения механизмов являются суперпрецизионными или прецизионными, реверсируемыми и конструктивно совместимыми с ВКУ при наличии в последнем центрального сквозного отверстия.
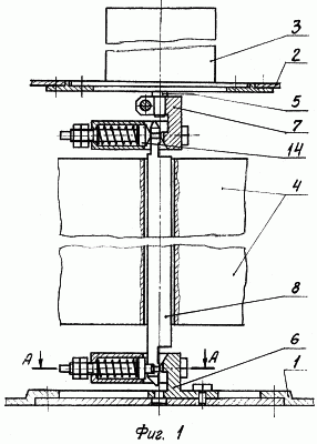
На фиг.1 изображен фрагмент ЗУ с первым исполнением суперпрецизионного механизма привода ДУ ГН к п.2 формулы изобретения.
На фиг.2 – горизонтальный разрез А-А нижней механической безлюфтовой прямолинейно-контактной муфты.
На фиг.3 – вариант полумуфт, изготовленных за одно целое с вертикальной штангой.
На фиг.4 – вариант отъемных полумуфт в сборе с вертикальной штангой.
На фиг.5 – то же, еще один вариант.
На фиг.6 – два варианта отъемных полумуфт.
На фиг.7 – вариант полумуфт, изготовленных за одно целое с вертикальной штангой.
На фиг.8 – вариант полумуфт в виде защемленных на концах вертикальной штанги двух поперечно ориентированных цилиндрических штифтов.
На фиг.9 – вариант нижней ведущей полумуфты.
На фиг.10 – фрагмент ЗУ со вторым исполнением суперпрецизионного механизма привода ДУ ГН к п.3 формулы.
На фиг.11 – фрагмент ЗУ с третьим исполнением механизма к п.4 формулы.
На фиг.12 – фрагмент ЗУ с четвертым исполнением механизма к п.5.
На фиг.13 – фрагмент ЗУ с пятым исполнением суперпрецизионного механизма к п.6.
На фиг.14 – фрагмент ЗУ с шестым исполнением суперпрецизионного механизма к п.7.
На фиг.15 – фрагмент ЗУ с седьмым исполнением механизма к п.8.
На фиг.16 – фрагмент ЗУ с восьмым исполнением механизма к п.9.
На фиг.17 – фрагмент ЗУ с девятым исполнением механизма к п.10.
На фиг.18 – фрагмент ЗУ с десятым исполнением механизма к п.10.
На фиг.19 – фрагмент ЗУ с одиннадцатым исполнением механизма к п.11.
На фиг.20 – фрагмент ЗУ с двенадцатым исполнением механизма к п.11.
На фиг.21 – фрагмент ЗУ с тринадцатым исполнением механизма к п.12.
На фиг.22 – фрагмент ЗУ с четырнадцатым исполнением механизма к п.12.
На фиг.23 – фрагмент ЗУ с пятнадцатым исполнением механизма к п.13.
На фиг.24 – фрагмент ЗУ с шестнадцатым исполнением механизма к п.13.
На фиг.25 – фрагмент ЗУ с семнадцатым исполнением механизма к п.14.
На фиг.26 – фрагмент ЗУ с восемнадцатым исполнением механизма к п.15.
На фиг.27 – фрагмент ЗУ с девятнадцатым исполнением механизма к п.16.
На фиг.28 – фрагмент ЗУ с двадцатым исполнением механизма к п.17.
На фиг.29 – упрощенная кинематическая схема механизма привода ДУ ГН, совместимого с ВКУ вне зависимости от наличия центрального сквозного отверстия в ВКУ.
На фиг.30 – меньший восьмигранник с продленными сторонами.
На фиг.31 – меньший девятигранник с продленными сторонами.
На фиг.32 – больший и меньший многогранники, показанные в соосном положении при механической обработке граней, обеспечивающей равенство соответственных углов многогранников.
На фиг.33 – фрагмент ЗУ с двадцать первым исполнением механизма привода ДУ ГН – вертикальный радиальный разрез механизма к п.19 формулы.
На фиг.34 – меньший многогранник в двух положениях и больший многогранник к исполнениям механизма с двадцать первого по двадцать восьмое к п.19-22 формулы.
На фиг.35 – горизонтальный ступенчатый разрез В-В исполнений механизма с двадцать первого по двадцать четвертое, вид снизу к п.19 и п.20 формулы.
На фиг.36 – горизонтальный ступенчатый разрез Г-Г механизма двадцать первого исполнения, вид сверху к п.19 формулы.
На фиг.37 – местный вертикальный разрез Д-Д радиальной направляющей верхней части каретки исполнений механизма с двадцать первого по двадцать четвертое, к п.19 и п.20 формулы.
На фиг.38 – местный горизонтальный разрез Е-Е радиальной направляющей нижней части каретки механизма двадцать первого исполнения к п.19 формулы и двадцать третьего исполнения к п.20 формулы.
На фиг.39 – фрагмент ЗУ с двадцать вторым исполнением механизма привода ДУ ГН – вертикальный радиальный разрез механизма к п.19 формулы.
На фиг.40 – местный горизонтальный разрез Ж-Ж радиальной направляющей нижней части каретки механизма двадцать второго исполнения к п.19 формулы и двадцать четвертого исполнения к п.20 формулы.
На фиг.41 – фрагмент ЗУ с двадцать третьим исполнением механизма привода ДУ ГН – местный вертикальный радиальный разрез механизма к п.20 формулы.
На фиг.42 – местный вертикальный ступенчатый разрез И-И по оси ДУ и по оси меньшего многогранника с изображением пластинчатой многолепестковой пружины, выбирающей люфты в подшипниках меньшего многогранника механизма привода ДУ ГН двадцать третьего исполнения к п.20 формулы.
На фиг.43 – фрагмент ЗУ с двадцать четвертым исполнением механизма привода ДУ ГН – местный вертикальный радиальный разрез механизма к п.20 формулы.
На фиг.44 – фрагмент ЗУ с двадцать пятым исполнением механизма привода ДУ ГН – вертикальный радиальный разрез механизма к п.21 формулы.
На фиг.45 – горизонтальный разрез К-К механизма двадцать пятого исполнения, вид сверху к п.21 формулы.
На фиг.46 – поперечный разрез Л-Л радиальной направляющей механизма двадцать пятого исполнения к п.21 формулы.
На фиг.47 – местный поперечный разрез М-М нажимной радиальной направляющей и люфтовыбирающих пластинчатых пружин механизма двадцать пятого исполнения к п.21 формулы.
На фиг.48 – фрагмент ЗУ с двадцать шестым исполнением механизма привода ДУ ГН – вертикальный радиальный разрез механизма к п.21 формулы.
На фиг.49 – местный горизонтальный разрез Н-Н механизма двадцать шестого исполнения, вид снизу к п.21 формулы.
На фиг.50 – фрагмент ЗУ с двадцать седьмым исполнением механизма привода ДУ ГН – вертикальный радиальный разрез механизма к п.22 формулы.
На фиг.51 – местный горизонтальный разрез П-П механизма двадцать седьмого исполнения, вид сверху к п.22 формулы.
На фиг.52 – фрагмент ЗУ с двадцать восьмым исполнением механизма привода ДУ ГН – местный вертикальный радиальный разрез механизма к п.22 формулы.
Ниже предлагаются ЗУ с различными исполнениями механизма привода ДУ ГН. Все исполнения механизма разработаны на основе изложенных выше теоретических рассуждений и по предложенной классификации относятся к прецизионным и суперпрецизионным механизмам от нулевого до четвертого класса.
ЗУ содержит неподвижную часть 1 (фиг.1, 10-52), поворотную часть 2, погон, силовой следящий привод ГН оружия, имеющий ДУ 3, ВКУ 4 и реверсируемый безлюфтовой механизм привода ДУ 3, конструктивно совместимый с ВКУ, а также другие необходимые части, не упоминаемые в контексте изобретения.
Предлагается ЗУ с первым исполнением механизма привода ДУ ГН (фиг.1, п.2 формулы). ДУ 3 закреплен соосно с погоном на поворотной части 2. Суперпрецизионный механизм обеспечивает кинематическую связь и неизменное угловое положение ротора 5 ДУ относительно неподвижной части 1. Передаточное отношение механизма равно точно единице. Кинематическая связь ротора 5 ДУ с неподвижной частью 1 осуществляется с помощью двух предлагаемых механических прямолинейно-контактных муфт – нижней 6, расположенной под ВКУ, и верхней 7, расположенной над ВКУ, и номинально соосной с погоном вертикальной плавающей штанги 8, вставленной с зазором в центральное сквозное отверстие в ВКУ 4 и опирающейся своими концами на муфты 6 и 7.
Нижний конец вертикальной плавающей штанги 8 соединен с неподвижной частью 1 посредством нижней механической муфты 6, а верхний конец вертикальной плавающей штанги 8 соединен с валом ротора 5 ДУ посредством верхней механической муфты 7.
На фиг.2 изображен горизонтальный разрез А-А нижней прямолинейно-контактной муфты 6, в которой ведущей 9 и ведомой 10 полумуфтами без промежуточных элементов образована высшая прямолинейная кинематическая пара в виде безлюфтового подвижного контактного сочленения вертикальной плоской контактной грани одной полумуфты с горизонтальной прямой образующей цилиндрического контактного выступа другой полумуфты с прижатием их друг к другу по горизонтальной прямой контактной линии под действием подпружиненного фиксатора 11.
Возможно эквивалентное с точки зрения кинематики и способствующее повышению точности механизма выполнение горизонтальной прямой контактной линии в обеих механических муфтах в виде двух укороченных прямых контактных отрезков или двух контактных точек.
Конец фиксатора 11 (фиг.2) входит в поперечный паз полумуфты 10, прижимает усилием сжатой пружины 12 полумуфты друг к другу и дополнительно фиксирует полумуфту 10 относительно полумуфты 9 в вертикальном направлении. (См. фиг.1 и фиг.2.)
Корпус 13, выполняющий роль направляющей для фиксатора 11, жестко соединен с полумуфтой 9.
Поступательная степень свободы полумуфты 10 в горизонтальном направлении по поверхности вертикальной плоской контактной грани ограничена посадкой (или иной посадкой с гарантированным зазором) полумуфты 10 в корпусе 13.
Нижняя муфта 6 допускает всего две вращательные степени свободы (при малых величинах перемещений) – повороты ведомой полумуфты 10 относительно двух центральных горизонтальных пересекающихся геометрических осей. (Соответственно возможны перекосы вертикальной штанги 8.) Остальные четыре степени свободы ведомой полумуфты 10 отняты ведущей полумуфтой 9 посредством корпуса 13, фиксатора 11 и пружины 12.
Такая механическая муфта далее называется точной прямолинейно-контактной муфтой с двумя степенями свободы.
Верхняя муфта 7 (фиг.1) устроена так же, как нижняя муфта 6, но с единственным отличием: фиксатор 14 лишь прижимает полумуфты друг к другу, допуская третью степень свободы – поступательные вертикальные перемещения ведомой полумуфты. Таким образом, муфта 7 допускает всего три степени свободы ведомой полумуфты при отнятых остальных трех степенях свободы. Такая механическая муфта далее называется точной прямолинейно-контактной муфтой с тремя степенями свободы.
Поступательная степень свободы в муфте 7 компенсирует вертикальные перемещения ДУ 3 при стрельбе и транспортировке ЗУ.
Обе охарактеризованные точные прямолинейно-контактные муфты с двумя и тремя степенями свободы обладают важнейшим признаком, состоящим в том, что относительно вертикальной геометрической оси вращательная степень свободы каждой ведомой полумуфты относительно ведущей полностью стеснена, благодаря чему обе муфты обеспечивают отсутствие вращательных люфтов и реверсирование с соблюдением условий (2) и (1), как минимум, на прецизионном уровне точности.
Во всех предлагаемых исполнениях механизма с первого по двадцатое (фиг.1-28, пп.1-17 формулы) в условиях оговоренного состава допущенных и отнятых степеней свободы обеих ведомых полумуфт, переменных по величине и направлению перекосов плавающей штанги и вертикальных колебаниий поворотной части установки, реализована одна потребная для привода ДУ степень подвижности данного пространственного механизма. Полностью исключено влияние любых люфтов на точность механизма как в самом механизме, так и вне его, в том числе в погоне и в редукторе силового привода ГН и кинематических погрешностей в последнем. Тем самым созданы все условия, способствующие повышению точности передачи угловых перемещений (положений).
На фиг.3 изображен упрощенный вариант конструкции полумуфт, изготовленных за одно целое с вертикальной штангой 8 и имеющих плоские контактные грани, лежащие в одной вертикальной плоскости.
На фиг.4 изображен вариант конструкции отъемных полумуфт 15 и 16 в сборе с вертикальной штангой 8. Плоские контактные грани также лежат в одной плоскости и обеспечивают большие длины сочленения в высших прямолинейных кинематических парах. (Сравн. размеры b и d на фиг.4 и 3.)
На фиг.5 изображен еще один вариант конструкции отъемных полумуфт 17 и 18 в сборе с вертикальной штангой 8, имеющих плоские контактные грани, лежащие в одной плоскости.
Допускаются иные варианты жестких соединений отъемных полумуфт со штангой 8.
На фиг.6 изображены два варианта конструкции отъемных полумуфт, аналогичных полумуфтам 16 (фиг.4) и 18 (фиг.5), но имеющих вместо плоских контактных граней горизонтальные цилиндрические контактные выступы радиуса Rц.
На фиг.7 изображен упрощенный вариант конструкции полумуфт, изготовленных за одно целое с вертикальной штангой 8 и имеющих параллельные между собой горизонтальные цилиндрические контактные выступы, каждый из которых состоит из двух укороченных частей.
На фиг.8 изображен вариант конструкции полумуфт с защемленными на концах вертикальной штанги 8 двумя цилиндрическими штифтами 19, выполняющими роль горизонтальных цилиндрических контактных выступов.
На фиг.9 изображен вариант конструкции нижней ведущей полумуфты, имеющей вертикальную плоскую контактную грань 20, параллельную геометрической оси вращения погона.
При одновременном применении прямолинейно-контактных муфт 6 и 7 необходимо выдерживать условие: обе полумуфты, жестко связанные или изготовленные за одно целое с концами вертикальной плавающей штанги (две средние полумуфты механизма), должны иметь одинаковые контактные элементы – либо лежащие в одной плоскости (допускаются параллельные) вертикальные плоские контактные грани, либо параллельные между собой горизонтальные цилиндрические контактные выступы. Это условие технически легко достижимо и является чрезвычайно полезным для уменьшения угловых погрешностей, привносимых механизмом.
Для двух других (крайних) полумуфт механизма необходимым условием является соответственно либо параллельность горизонтальных цилиндрических контактных выступов относительно плоскости вращения погона, либо параллельность вертикальных плоских контактных граней относительно геометрической оси вращения погона.
При переменных по величине и направлению допускаемых перекосах плавающей штанги оговоренные выше условия позволяют получить параллельность прямых контактных линий в нижней и верхней муфтах механизма.
От перекоса любой из четырех полумуфт механизма появляется максимальная угловая погрешность i передачи угловых перемещений, когда перекос полумуфты на максимально допустимый угол i направлен в вертикальной плоскости под углом 45° к вертикальной плоской контактной грани этой полумуфты (или контактирующей с ней полумуфты). Величину i можно определить по предлагаемой формуле:

При большом угле перекоса полумуфты i=0,01 рад. имеем i=0,000025 рад. Максимальная суммарная угловая погрешность механизма передачи угловых перемещений (положений) получается, если перекосы на равные максимальные углы всех полумуфт механизма аналогичны перекосу, поясненному выше, и если максимальные угловые погрешности 1, 2, 3, 4 от перекосов всех четырех полумуфт направлены в одну сторону и суммируются арифметически:

Подобное явление возможно, если прямые контактные линии в нижней 6 и верхней 7 муфтах (фиг.1) не параллельны, а скрещиваются под прямым углом. При этом угловые погрешности 2 и 3 от перекосов двух средних полумуфт (вместе со штангой 8) равны по величине и направлены в одну сторону, происходит суммирование их величин и не происходит их взаимная компенсация. И прецизионный механизм не достигает суперпрецизионного уровня точности.
Такое конструктивное исполнение муфт 6 и 7 со скрещивающимися прямыми контактными линиями следует отвергнуть в пользу исполнения с параллельными прямыми контактными линиями, что и отражено в заявляемом изобретении на чертежах (фиг.1-12).
В суперпрецизионном механизме при параллельных прямых контактных линиях в муфтах 6 и 7 осуществляется одновременная и полная автоматическая взаимная компенсация угловых погрешностей 2 и 3 от перекосов двух средних полумуфт (вместе с плавающей штангой 8). Некомпенсированными остаются только угловые погрешности 1 и 4 от перекосов двух крайних полумуфт механизма. Формально суммарная погрешность уменьшается вдвое.
Соответствующие выкладки:
2=- 2; 2+ 3=0; с использованием выражений (4) и (3) имеем:

Если гарантировать отсутствие перекосов двух крайних полумуфт (получить =0), величины угловых погрешностей 1 и 4 обращаются согласно выражению (3) в нуль, величина суммарной погрешности согласно выражению (5) обращается в нуль, и суперпрецизионный механизм даже при любом угле перекоса плавающей штанги 8 (вместе с двумя средними полумуфтами) теоретически имеет суммарную угловую погрешность, равную нулю, и становится “абсолютно точным”.
Механизм первого исполнения с двумя высшими прямолинейными кинематическими парами с параллельными контактными линиями (фиг.1) является суперпрецизионным механизмом второго класса. Число n=2.
В прецизионном механизме заявляемого изобретения, содержащем две прямолинейно-контактные муфты с параллельными прямыми контактными линиями (суперпрецизионную часть механизма) и дополнительно введенную третью по счету в механизме точную безлюфтовую крестовую муфту (фиг.11), угловые погрешности 2 и 3 взаимно компенсируются, и максимальная суммарная угловая погрешность механизма к суммируется из угловых погрешностей 1, 4 и суммарной угловой погрешности крестовой муфты к=0,000044 рад. (см. стр.8). С использованием выражения (5) имеем:

Предельно допустимые величины суммарных угловых погрешностей механизмов и к можно определить по формулам (5) и (6), при большом, предположительно допустимом угле перекоса =0,01 рад. всех полумуфт:
=0,000050 рад. (Погрешность 0,5 м на дальности наведения 10000 м) – для суперпрецизионного механизма с двумя прямолинейно-контактными муфтами;
к=0,000094 рад. (Погрешность 0,94 м на дальности наведения 10000 м) – для прецизионного механизма с двумя прямолинейно-контактными муфтами и третьей точной безлюфтовой крестовой муфтой.
Следует отметить, что приведенный выше метод определения максимальных угловых погрешностей механизмов наиболее упрощен и предназначен не столько для получения реальных цифр, сколько для уяснения качественных соотношений между суперпрецизионными и прецизионными механизмами. Метод учитывает только максимальные значения углов перекоса всех полумуфт при допущении только самых неблагоприятных направлений перекосов всех полумуфт, не учитывает их вероятностного распределения. В связи с этим полученные зависимости (5) и (6) весьма условны, а полученные цифры предельно допустимых суммарных угловых погрешностей механизмов =0,000050 рад. и к=0,000094 рад. могут быть в несколько раз завышены по сравнению с реальными, которые можно определить для конкретных конструкций при определенно известных углах перекоса полумуфт с учетом вероятных направлений перекосов.
Вместе с тем, даже полученные завышенные цифры предельно допустимых угловых погрешностей могут свидетельствовать о принадлежности заявляемых механизмов по уровню точности к прецизионным и суперпрецизионным механизмам. Их точность может на порядок превышать точность применяющихся аналогичных механизмов, а с учетом упомянутых вероятностных распределений перекосов даже на два порядка.
При любом конструктивном исполнении механизма привода ДУ ГН аналитический расчет суммарных угловых погрешностей с использованием зависимостей (3), (5) и (6) и с аналогичными расчетами при использовании точной безлюфтовой крестовой компенсирующей муфты может быть успешно и более достоверно проверен лабораторными исследованиями точности механизма на изготовленном изделии с учетом комплексного влияния всех сказывающихся на точности механизма факторов.
Предлагается ЗУ со вторым исполнением механизма привода ДУ ГН (фиг.10, п.3 формулы). ДУ 3 закреплен на неподвижной части 1 соосно с погоном. Ротор 5 ДУ кинематически связан с поворотной частью 2 и приводится во вращение с помощью механизма, состоящего из верхней прямолинейно-контактной муфты с тремя степенями свободы 7, номинально соосной с погоном вертикальной плавающей штанги 8, расположенной в отверстии в ВКУ 4, и нижней прямолинейно-контактной муфты с двумя степенями свободы 6.
Все остальные признаки, касающиеся передаточного отношения и уровня точности механизма, устройства верхней и нижней механических муфт, состава допущенных и отнятых степеней свободы обеих ведомых полумуфт, влияния перекосов вертикальной плавающей штанги, параллельности прямых контактных линий, автоматической компенсации угловых погрешностей и возможности выполнения прямой контактной линии в обеих муфтах в виде двух укороченных прямых контактных отрезков или двух контактных точек, повторяются, как в первом исполнении механизма.
Механизм второго исполнения содержит всего две высшие прямолинейные кинематические пары с параллельными контактными линиями. Число n=2. Механизм второго исполнения является суперпрецизионным, относится ко второму классу.
Предлагается ЗУ с третьим исполнением механизма привода ДУ ГН (фиг.11, п.4 формулы). ДУ 3 закреплен соосно с погоном на поворотной части 2. Прецизионный механизм обеспечивает кинематическую связь и неизменное угловое положение ротора 5 ДУ относительно неподвижной части 1. Передаточное отношение механизма равно точно единице. Механизм содержит в своем составе всю кинематическую цепь первого исполнения механизма (суперпрецизионную часть механизма) с дополнительно присоединенной прецизионной частью механизма, содержащей вертикальный вал 21, установленный над ВКУ 4 в подшипниках 22, и третью по счету в механизме механическую точную безлюфтовую крестовую компенсирующую муфту 23. Прямолинейно-контактная муфта с тремя степенями свободы 7 соединяет верхний конец вертикальной плавающей штанги 8 с нижним концом вертикального вала 21, а его верхний конец соединен с валом ротора 5 ДУ с помощью крестовой муфты 23. Таким образом, нагрузки от муфты 7 воспринимаются промежуточным валом 21 и соответственно разгружается вал ротора 5 ДУ. Вал 21 с подшипниками 22 установлен соосно с погоном в корпусе 24, закрепленном на поворотной части 2.
С введением крестовой муфты 23 в составе механизма насчитывается всего четыре кинематические пары. Число n=4. Механизм третьего исполнения является прецизионным, относится к четвертому классу.
Предлагается ЗУ с четвертым исполнением механизма привода ДУ ГН (фиг.12, п.5 формулы). ДУ 3 закреплен соосно с погоном на неподвижной части 1. Прецизионный механизм обеспечивает кинематическую связь ротора 5 ДУ с поворотной частью 2. Передаточное отношение механизма равно точно единице. Механизм содержит в своем составе всю кинематическую цепь второго исполнения механизма (суперпрецизионную часть механизма) с дополнительно присоединенной прецизионной частью механизма, содержащей вертикальный вал 21, установленный под ВКУ 4 в подшипниках 22, и третью по счету в механизме механическую точную безлюфтовую крестовую компенсирующую муфту 23. Прямолинейно-контактная муфта с двумя степенями свободы 6 соединяет нижний конец вертикальной плавающей штанги 8 с верхним концом вертикального вала 21, а его нижний конец соединен с валом ротора 5 ДУ с помощью крестовой муфты 23. Таким образом, нагрузки от муфты 6 воспринимаются промежуточным валом 21 и соответственно разгружается вал ротора 5 ДУ. Вал 21 с подшипниками 22 установлены соосно с погоном в сборном корпусе 24, закрепленном на неподвижной части 1.
Во всех трех муфтах механизма содержится всего четыре кинематические пары. Число n=4. Механизм четвертого исполнения является прецизионным, относится к четвертому классу.
Предлагается ЗУ с пятым исполнением механизма привода ДУ ГН (фиг.13, п.6 формулы). Устройство механизма подобно первому исполнению. Различие – в конструкции применяемых муфт. Суперпрецизионный механизм передает неизменное угловое положение от неподвижной части 1 к ротору 5 ДУ, закрепленного на поворотной части 2 соосно с погоном. Передаточное отношение механизма равно точно единице. Кинематическая связь ротора 5 ДУ с неподвижной частью 1 осуществляется с помощью двух механических муфт 25 и 26, каждая из которых содержит упругую пластину, и номинально соосной с погоном вертикальной плавающей штанги 8, вставленной с зазором в центральное сквозное отверстие в ВКУ 4 и опирающейся своими концами на муфты 25 и 26.
Нижняя муфта 25 состоит из четырех основных составных частей. Точеная ведущая полумуфта закреплена соосно с погоном на неподвижной части 1. Круглая упругая пластина (изображена утолщенной горизонтальной линией), упруго жесткая при нагружении в ее плоскости и упруго податливая при изгибе, по ее периферийной части жестко соединена с ведущей полумуфтой. Центральная часть упругой пластины жестко соединена с ведомой полумуфтой, закрепленной на нижнем конце вертикальной плавающей штанги 8. Ведомая полумуфта в нижней муфте 25 зафиксирована в вертикальном направлении с помощью тарельчатой или многолепестковой пластинчатой люфтовыбирающей пружины, периферийная часть которой защемлена на ведущей полумуфте. (См. варианты на фиг.13 слева.)
В местах жестких соединений обеих полумуфт с упругой пластиной и с другими деталями гарантируется взаимная неподвижность соединяемых деталей и условие (2) соблюдается абсолютно точно.
При перекосе плавающей штанги происходит упругий волнообразный изгиб упругой пластины и ведомая полумуфта имеет всего две вращательные степени свободы (при малых величинах перемещений) – повороты относительно двух центральных горизонтальных пересекающихся геометрических осей при отнятых остальных четырех степенях свободы. Механическая муфта 25 называется точной муфтой с упругой пластиной с двумя степенями свободы.
Упругая пластина в муфтах 25 и 26 должна быть тонкой (доли миллиметра) и может быть различной симметричной формы: круглая, как на фиг.13, прямоугольная, в виде звездочки с несколькими расходящимися лепестками, круглая с кольцевыми концентричными гофрами и т.п.
Напряженно-деформированное состояние упругой пластины, возникающее от любого по величине и направлению перекоса ведомой полумуфты (вместе с плавающей штангой 8), всегда полностью симметрично относительно вертикальной плоскости, проходящей через ось плавающей штанги в направлении ее перекоса. При этом деформация кручения упругой пластины в ее плоскости отсутствует, и угловое перемещение ведомой полумуфты относительно ведущей вокруг вертикальной оси также отсутствует. Иными словами, любые по величине и направлению перекосы плавающей штанги не вызывают появления в муфте с упругой пластиной угловых погрешностей передачи угловых перемещений.
При вращении поворотной части 2 упругая пластина нагружена крутящим моментом, действующим в ее плоскости и определяемым по величине слабым сопротивлением вращению ротора 5 ДУ. Пластина любой из оговоренных выше форм удовлетворяет требованиям упругости и жесткости при слабом нагружении в ее плоскости, и упругая деформация концентричного сдвига пластины проявляется в виде углового перемещения ведомой полумуфты относительно ведущей вокруг вертикальной оси. И в сущности это есть угловая погрешность пл передачи угловых перемещений, появляющаяся в муфте при преодолении сопротивления вращению ротора 5 ДУ, которую для круглой упругой пластины можно определить по предлагаемой формуле:

Здесь пл – угловая погрешность муфты с упругой пластиной;
Мкр – крутящий момент, действующий на муфту, определяемый сопротивлением вращению ротора 5 ДУ;
G – модуль упругости сдвига;
R1 – внутренний радиус упруго деформируемого участка упругой пластины;
R2 – внешний радиус этого участка пластины;
t – толщина упругой пластины;
– коэффициент, учитывающий форму образующей в радиальном сечении упругой пластины.
Для круглой плоской пластины с прямой радиально направленной образующей при деформируемом участке в пределах от R1 до R2 коэффициент формы образующей 
Для круглой пластины с кольцевыми концентричными гофрами при деформируемом участке в пределах от R1 до R2 коэффициент формы извилистой образующей:

Lоб – длина извилистой образующей в радиальном сечении в пределах от R1 до R2.
Кроме расчета по формуле (7), зависимость пл=f(Mкр) можно построить по результатам лабораторных исследований изготовленных муфт с упругой пластиной любой формы.
С целью уменьшения жесткости пластинчатой пружины ее целесообразно выполнить с радиальными перемычками или с радиальными лепестками. (См. фиг.13 слева.) Это позволяет при перекосах ведомой полумуфты (вместе со штангой 8) получить равнодействующую распределенных сил давления пружины на ведомую полумуфту, мало изменяющуюся по величине и направленную по центральной вертикальной оси муфты. При этом пластинчатая пружина не изменяет напряженное состояние упругой пластины.
Силы трения, действующие на ведомую полумуфту со стороны пластинчатой пружины и основания ведущей полумуфты при вращении ДУ, способствуют уменьшению момента Мкр, действующего на упругую пластину, и соответствующему уменьшению угловой погрешности передачи угловых перемещений в муфте 25.
Верхняя муфта 26 состоит из трех основных составных частей. Ведущая полумуфта жестко соединена с верхним концом вертикальной штанги 8. Круглая упругая пластина с кольцевыми концентричными гофрами (или пластина иной формы, отвечающая указанным выше требованиям) по ее периферийной части жестко связана с ведущей полумуфтой. Центральная часть упругой пластины жестко связана с деталями, являющимися ведомой полумуфтой, закрепленными на конце вала ротора 5 ДУ.
Благодаря гофрам и малой жесткости упругой пластины при изгибе ведомая полумуфта имеет всего три степени свободы (при малых величинах перемещений) – две вращательные относительно двух центральных горизонтальных пересекающихся геометрических осей и одну поступательную вдоль центральной вертикальной геометрической оси при отнятых остальных трех степенях свободы. Механическая муфта 26 далее называется точной муфтой с упругой пластиной с тремя степенями свободы.
Расчет величины пл для муфты 26 делается по формулам (7) и (8).
По составу степеней свободы, расположению относительно ВКУ и обеспечению кинематики механизма две муфты 25 и 26, совместно примененные, аналогичны соответственно двум муфтам 6 и 7 с параллельными контактными линиями, причем превосходят их по точности. Так, вычисления по формулам (7) и (8) и суммирование угловых погрешностей муфт 25 и 26 дают в радианах цифру с пятью нулями после запятой, на порядок меньше суммарной угловой погрешности двух прямолинейно-контактных муфт в суперпрецизионном механизме.
Расчеты показывают также, что отдельно примененная муфта 25 по сравнению с муфтой 6 и муфта 26 по сравнению с муфтой 7 значительно точнее.
Муфты 25 и 26 обладают важнейшим признаком: относительно вертикальной геометрической оси вращательная степень свободы каждой ведомой полумуфты относительно ведущей стеснена с помощью упругой пластины. При этом механизм обеспечивает привод с реверсированием ДУ без вращательных люфтов с передаточным отношением, равным единице с точностью, обеспеченной на суперпрецизионном уровне.
Муфты 25 и 26 и механизм в целом не имеют кинематических пар (подвижных сочленений звеньев). Отсутствуют места вероятных нарушений условий (2) и (1). Число n=0. Механизм пятого исполнения является суперпрецизионным, относится к нулевому классу.
Предлагается ЗУ с шестым исполнением механизма привода ДУ ГН (фиг.14, п.7 формулы). ДУ 3 закреплен на неподвижной части 1 соосно с погоном. Ротор 5 ДУ приводится во вращение от поворотной части 2 с помощью механизма, состоящего из верхней муфты с упругой пластиной с тремя степенями свободы 26, номинально соосной с погоном вертикальной плавающей штанги 8 и нижней муфты с упругой пластиной с двумя степенями свободы 25.
Все остальные признаки, касающиеся передаточного отношения механизма, устройства верхней и нижней механических муфт, состава допущенных и отнятых степеней свободы обеих ведомых полумуфт, уровня точности механизма, повторяются, как в пятом исполнении механизма.
Число n=0. Механизм шестого исполнения является суперпрецизионным, относится к нулевому классу.
Предлагается ЗУ с седьмым исполнением механизма привода ДУ ГН (фиг.15, п.8 формулы). ДУ 3 закреплен соосно с погоном на поворотной части 2. Прецизионный механизм обеспечивает кинематическую связь и неизменное угловое положение ротора 5 ДУ относительно неподвижной части 1. Передаточное отношение механизма равно точно единице. Механизм содержит в своем составе всю кинематическую цепь пятого исполнения механизма (суперпрецизионную часть механизма) с дополнительно присоединенной прецизионной частью механизма, содержащей вертикальный вал 21, установленный над ВКУ 4 в подшипниках 22, и третью по счету в механизме механическую точную безлюфтовую крестовую компенсирующую муфту 23. Муфта с упругой пластиной с тремя степенями свободы 26 соединяет верхний конец вертикальной плавающей штанги 8 с нижним концом вертикального вала 21, а его верхний конец соединен с валом ротора 5 ДУ с помощью крестовой муфты 23. Таким образом, нагрузки от муфты 26 воспринимаются промежуточным валом 21 и соответственно разгружается вал ротора 5 ДУ. Вал 21 с подшипниками 22 установлены соосно с погоном в корпусе 24, закрепленном на поворотной части 2.
С введением крестовой муфты 23 в составе механизма насчитывается всего две кинематические пары. Число n=2. Механизм седьмого исполнения является прецизионным, относится ко второму классу.
Предлагается ЗУ с восьмым исполнением механизма привода ДУ ГН (фиг.16, п.9 формулы). ДУ 3 закреплен соосно с погоном на неподвижной части 1. Прецизионный механизм обеспечивает кинематическую связь ротора 5 ДУ с поворотной частью 2. Передаточное отношение механизма равно точно единице. Механизм содержит в своем составе всю кинематическую цепь шестого исполнения механизма (суперпрецизионную часть механизма) с дополнительно присоединенной прецизионной частью механизма, содержащей вертикальный вал 21, установленный под ВКУ 4 в подшипниках 22, и третью по счету в механизме механическую точную безлюфтовую крестовую компенсирующую муфту 23. Муфта с упругой пластиной с двумя степенями свободы 25 соединяет нижний конец вертикальной плавающей штанги 8 с верхним концом вертикального вала 21, а его нижний конец соединен с валом ротора 5 ДУ с помощью крестовой муфты 23. Таким образом, нагрузки от муфты 25 воспринимаются промежуточным валом 21 и соответственно разгружается вал ротора 5 ДУ. Вал 21 с подшипниками 22 установлены соосно с погоном в сборном корпусе 24, закрепленном на неподвижной части 1.
Во всех трех муфтах механизма содержится всего две кинематические пары. Число n=2. Механизм восьмого исполнения является прецизионным, относится ко второму классу.
Предлагается ЗУ с девятым исполнением механизма привода ДУ ГН (фиг.17, п.10 формулы). Устройство механизма подобно первому исполнению. Различие – в конструкции нижней механической муфты. Прецизионный механизм передает неизменное угловое положение от неподвижной части 1 к ротору 5 ДУ, закрепленного на поворотной части 2 соосно с погоном. Передаточное отношение механизма равно точно единице. Кинематическая связь ротора 5 ДУ с неподвижной частью 1 осуществляется с помощью двух механических муфт 25 и 7 и номинально соосной с погоном вертикальной плавающей штанги 8, вставленной с зазором в центральное сквозное отверстие в ВКУ 4 и опирающейся своими концами на муфты 25 и 7. Описание муфт 25 и 7 дано выше.
Угловые погрешности в муфтах 25 и 7 определяются по формулам (7) и (3).
В девятом исполнении механизма содержится всего одна кинематическая пара (в муфте 7). Число n=1. Механизм девятого исполнения является прецизионным, относится к первому классу.
Предлагается ЗУ с десятым исполнением механизма привода ДУ ГН (фиг.18, п.10 формулы). Устройство механизма подобно первому исполнению. Различие – в конструкции верхней механической муфты. Прецизионный механизм передает неизменное угловое положение от неподвижной части 1 к ротору 5 ДУ, закрепленного на поворотной части 2 соосно с погоном. Передаточное отношение механизма равно точно единице. Кинематическая связь ротора 5 ДУ с неподвижной частью 1 осуществляется с помощью двух механических муфт 6 и 26 и номинально соосной с погоном вертикальной плавающей штанги 8, вставленной с зазором в центральное сквозное отверстие в ВКУ 4 и опирающейся своими концами на муфты 6 и 26. Описание муфт 6 и 26 дано выше.
Угловые погрешности в муфтах 6 и 26 определяются по формулам (3), (7), (8).
В десятом исполнении механизма содержится всего одна кинематическая пара (в муфте 6). Число n=1. Механизм десятого исполнения является прецизионным, относится к первому классу.
Предлагается ЗУ с одиннадцатым исполнением механизма привода ДУ ГН (фиг.19, п.11 формулы). ДУ 3 закреплен на неподвижной части 1 соосно с погоном. Ротор 5 ДУ приводится во вращение от поворотной части 2 с помощью прецизионного механизма, состоящего из верхней муфты с упругой пластиной с тремя степенями свободы 26, номинально соосной с погоном вертикальной плавающей штанги 8, вставленной в центральное отверстие в ВКУ 4, и нижней прямолинейно-контактной муфты с двумя степенями свободы 6. Передаточное отношение механизма равно точно единице. Описание муфт 6 и 26 дано выше.
Угловые погрешности в муфтах определяются по формулам (3), (7), (8).
В одиннадцатом исполнении механизма содержится всего одна кинематическая пара (в муфте 6). Число n=1. Механизм одиннадцатого исполнения является прецизионным, относится к первому классу.
Предлагается ЗУ с двенадцатым исполнением механизма привода ДУ ГН (фиг.20, п.11 формулы). ДУ 3 закреплен на неподвижной части 1 соосно с погоном. Ротор 5 ДУ приводится во вращение от поворотной части 2 с помощью прецизионного механизма, состоящего из верхней прямолинейно-контактной муфты с тремя степенями свободы 7, номинально соосной с погоном вертикальной плавающей штанги 8, вставленной в отверстие в ВКУ 4, и нижней муфты с упругой пластиной с двумя степенями свободы 25. Передаточное отношение механизма равно точно единице. Описание муфт 7 и 25 дано выше.
Угловые погрешности в муфтах определяются по формулам (3) и (7).
В двенадцатом исполнении механизма содержится всего одна кинематическая пара (в муфте 7). Число n=1. Механизм двенадцатого исполнения является прецизионным, относится к первому классу.
Предлагается ЗУ с тринадцатым исполнением механизма привода ДУ ГН (фиг.21, п.12 формулы). ДУ 3 закреплен соосно с погоном на поворотной части 2. Прецизионный механизм обеспечивает кинематическую связь и неизменное угловое положение ротора 5 ДУ относительно неподвижной части 1. Передаточное отношение механизма равно точно единице. Механизм содержит в своем составе всю кинематическую цепь девятого прецизионного исполнения механизма с дополнительно присоединенной другой прецизионной частью механизма, содержащей вертикальный вал 21, установленный над ВКУ 4 в подшипниках 22, и третью по счету в механизме механическую точную безлюфтовую крестовую компенсирующую муфту 23. Прямолинейно-контактная муфта с тремя степенями свободы 7 соединяет верхний конец вертикальной плавающей штанги 8 с нижним концом вертикального вала 21, а его верхний конец соединен с валом ротора 5 ДУ с помощью крестовой муфты 23. Таким образом, нагрузки от муфты 7 воспринимаются промежуточным валом 21 и соответственно разгружается вал ротора 5 ДУ. Вал 21 с подшипниками 22 установлены соосно с погоном в корпусе 24, закрепленном на поворотной части 2.
С введением крестовой муфты 23 в составе механизма насчитывается всего три кинематические пары. Число n=3. Механизм тринадцатого исполнения является прецизионным, относится к третьему классу.
Предлагается ЗУ с четырнадцатым исполнением механизма привода ДУ ГН (фиг.22, п.12 формулы). ДУ 3 закреплен соосно с погоном на поворотной части 2. Прецизионный механизм обеспечивает кинематическую связь и неизменное угловое положение ротора 5 ДУ относительно неподвижной части 1. Передаточное отношение механизма равно точно единице. Механизм содержит в своем составе всю кинематическую цепь десятого прецизионного исполнения механизма с дополнительно присоединенной другой прецизионной частью механизма, содержащей вертикальный вал 21, установленный над ВКУ 4 в подшипниках 22, и третью по счету в механизме механическую точную безлюфтовую крестовую компенсирующую муфту 23. Муфта с упругой пластиной с тремя степенями свободы 26 соединяет верхний конец вертикальной плавающей штанги 8 с нижним концом вертикального вала 21, а его верхний конец соединен с валом ротора 5 ДУ с помощью крестовой муфты 23. Таким образом, нагрузки от муфты 26 воспринимаются промежуточным валом 21 и соответственно разгружается вал ротора 5 ДУ. Вал 21 с подшипниками 22 установлены соосно с погоном в корпусе 24, закрепленном на поворотной части 2.
С введением крестовой муфты 23 в составе механизма насчитывается всего три кинематические пары. Число n=3. Механизм четырнадцатого исполнения является прецизионным, относится к третьему классу.
Предлагается ЗУ с пятнадцатым исполнением механизма привода ДУ ГН (фиг.23, п.13 формулы). ДУ 3 закреплен соосно с погоном на неподвижной части 1. Прецизионный механизм обеспечивает кинематическую связь ротора 5 ДУ с поворотной частью 2. Передаточное отношение механизма равно точно единице. Механизм содержит в своем составе всю кинематическую цепь одиннадцатого прецизионного исполнения механизма с дополнительно присоединенной другой прецизионной частью механизма, содержащей вертикальный вал 21, установленный под ВКУ 4 в подшипниках 22, и третью по счету в механизме механическую точную безлюфтовую крестовую компенсирующую муфту 23. Прямолинейно-контактная муфта с двумя степенями свободы 6 соединяет нижний конец вертикальной плавающей штанги 8 с верхним концом вертикального вала 21, а его нижний конец соединен с валом ротора 5 ДУ с помощью крестовой муфты 23. Таким образом, нагрузки от муфты 6 воспринимаются промежуточным валом 21 и соответственно разгружается вал ротора 5 ДУ. Вал 21 с подшипниками 22 установлены соосно с погоном в сборном корпусе 24, закрепленном на неподвижной части 1.
Во всех трех муфтах механизма содержится всего три кинематические пары. Число n=3. Механизм пятнадцатого исполнения является прецизионным, относится к третьему классу.
Предлагается ЗУ с шестнадцатым исполнением механизма привода ДУ ГН (фиг.24, п.13 формулы). ДУ 3 закреплен соосно с погоном на неподвижной части 1. Прецизионный механизм обеспечивает кинематическую связь ротора 5 ДУ с поворотной частью 2. Передаточное отношение механизма равно точно единице. Механизм содержит в своем составе всю кинематическую цепь двенадцатого прецизионного исполнения механизма с дополнительно присоединенной другой прецизионной частью механизма, содержащей вертикальный вал 21, установленный под ВКУ 4 в подшипниках 22, и третью по счету в механизме механическую точную безлюфтовую крестовую компенсирующую муфту 23. Муфта с упругой пластиной с двумя степенями свободы 25 соединяет нижний конец вертикальной плавающей штанги 8 с верхним концом вертикального вала 21, а его нижний конец соединен с валом ротора 5 ДУ с помощью крестовой муфты 23. Таким образом, нагрузки от муфты 25 воспринимаются промежуточным валом 21 и соответственно разгружается вал ротора 5 ДУ. Вал 21 с подшипниками 22 установлены соосно с погоном в сборном корпусе 24, закрепленном на неподвижной части 1.
Во всех трех муфтах механизма содержится всего три кинематические пары. Число n=3. Механизм шестнадцатого исполнения является прецизионным, относится к третьему классу.
Предлагается ЗУ с семнадцатым исполнением механизма привода ДУ ГН (фиг.25, п.14 формулы). Кинематическая цепь механизма аналогична первому исполнению. ДУ 3 закреплен соосно с погоном на поворотной части 2. Механизм обеспечивает кинематическую связь ротора 5 ДУ с неподвижной частью 1. Соблюдается условие (1). Каждая из двух механических муфт механизма выполнена в виде прямолинейно-контактной муфты по п.2 или в виде муфты с упругой пластиной по п.6, а вертикальная плавающая штанга выполнена в виде вертикальной одноканальной или двухканальной трубки 27, герметично и жестко соединенной с дополнительно введенными концевыми заглушками 28 и 29, с возможностью одноканального или двухканального соединения гидросистем неподвижной 1 и поворотной 2 частей установки с помощью дополнительно введенной одноканальной или двухканальной гидравлической муфты 30, содержащей уплотнения 31 и установленной посредством подшипников 32 на трубке 27 между ВКУ 4 и верхней механической муфтой. Дополнительно введены также необходимые для каждого канала по два штуцера 33, один из которых установлен на корпусе гидравлической муфты 30, а другой – на трубке 27 между ВКУ 4 и нижней механической муфтой.
Концевые заглушки 28 и 29 выполнены в виде полумуфт, являющихся составными частями нижней и верхней механических муфт, или в виде хвостовиков с местами установки и закрепления этих полумуфт.
Нижний конец трубки 27 соединен с неподвижной частью 1 установки посредством нижней механической муфты 6 или 25, а верхний конец трубки 27 соединен с валом ротора 5 ДУ посредством верхней механической муфты 7 или 26.
Конструктивные элементы вариантов одноканального и двухканального соединений гидросистем представлены на фиг.25.
В зависимости от применяемых механических муфт механизм семнадцатого исполнения может содержать до двух кинематических пар и относиться к нулевому, первому или второму классу, может быть суперпрецизионным или прецизионным.
Предлагается ЗУ с восемнадцатым исполнением механизма привода ДУ ГН (фиг.26, п.15 формулы). Кинематическая цепь механизма аналогична второму исполнению. ДУ 3 закреплен соосно с погоном на неподвижной части 1. Механизм обеспечивает кинематическую связь ротора 5 ДУ с поворотной частью 2. Соблюдается условие (1). Каждая из двух механических муфт механизма выполнена в виде прямолинейно-контактной муфты по п.2 или в виде муфты с упругой пластиной по п.6, а вертикальная плавающая штанга выполнена в виде вертикальной одноканальной или двухканальной трубки 27, герметично и жестко соединенной с дополнительно введенными концевыми заглушками 28 и 29, с возможностью одноканального или двухканального соединения гидросистем неподвижной 1 и поворотной 2 частей установки с помощью дополнительно введенной одноканальной или двухканальной гидравлической муфты 30, содержащей уплотнения 31 и установленной посредством подшипников 32 на трубке 27 между ВКУ 4 и нижней механической муфтой. Дополнительно введены также необходимые для каждого канала по два штуцера 33, один из которых установлен на корпусе гидравлической муфты 30, а другой – на трубке 27 между ВКУ 4 и верхней механической муфтой.
Концевые заглушки 28 и 29 выполнены в виде полумуфт, являющихся составными частями нижней и верхней механических муфт, или в виде хвостовиков с местами установки и закрепления этих полумуфт.
Верхний конец трубки 27 соединен с поворотной частью 2 установки посредством верхней механической муфты 7 или 26, а нижний конец трубки 27 соединен с валом ротора 5 ДУ посредством нижней механической муфты 6 или 25.
Конструктивные элементы вариантов одноканального и двухканального соединений гидросистем представлены на фиг.25.
В зависимости от применяемых механических муфт механизм восемнадцатого исполнения может содержать до двух кинематических пар и относиться к нулевому, первому или второму классу, может быть суперпрецизионным или прецизионным.
Предлагается ЗУ с девятнадцатым исполнением механизма привода ДУ ГН (фиг.27, п.16 формулы). ДУ 3 закреплен соосно с погоном на поворотной части 2. Механизм обеспечивает кинематическую связь и неизменное угловое положение ротора 5 ДУ относительно неподвижной части 1. Передаточное отношение механизма равно точно единице. Механизм содержит в своем составе всю кинематическую цепь семнадцатого исполнения механизма с дополнительно присоединенной прецизионной частью механизма, содержащей вертикальный вал 21, установленный над ВКУ 4 в подшипниках 22, и третью по счету в механизме механическую точную безлюфтовую крестовую компенсирующую муфту 23. Механическая муфта с тремя степенями свободы 7 или 26 (см. описание муфт выше) соединяет верхний конец вертикальной трубки 27 с нижним концом вертикального вала 21, а его верхний конец соединен с валом ротора 5 ДУ с помощью крестовой муфты 23. Таким образом, нагрузки от муфты 7 или 26 воспринимаются промежуточным валом 21 и соответственно разгружается вал ротора 5 ДУ. Вал 21 с подшипниками 22 установлены соосно с погоном в корпусе 24, закрепленном на поворотной части 2.
Конструктивные элементы вариантов одноканального и двухканального соединений гидросистем представлены на фиг.25.
В зависимости от примененных механических муфт механизм может содержать всего от двух до четырех кинематических пар. Соответственно механизм девятнадцатого исполнения относится ко второму, третьему или четвертому классу, является прецизионным.
Предлагается ЗУ с двадцатым исполнением механизма привода ДУ ГН (фиг.28, п.17 формулы). ДУ 3 закреплен соосно с погоном на неподвижной части 1. Механизм обеспечивает кинематическую связь ротора 5 ДУ с поворотной частью 2. Передаточное отношение механизма равно точно единице. Механизм содержит в своем составе всю кинематическую цепь восемнадцатого исполнения механизма с дополнительно присоединенной прецизионной частью механизма, содержащей вертикальный вал 21, установленный под ВКУ 4 в подшипниках 22, и третью по счету в механизме механическую точную безлюфтовую крестовую компенсирующую муфту 23. Механическая муфта с тремя степенями свободы 6 или 25 (см. описание муфт выше) соединяет нижний конец вертикальной трубки 27 с верхним концом вертикального вала 21, а его нижний конец соединен с валом ротора 5 ДУ с помощью крестовой муфты 23. Таким образом, нагрузки от муфты 6 или 25 воспринимаются промежуточным валом 21 и соответственно разгружается вал ротора 5 ДУ. Вал 21 с подшипниками 22 установлены соосно с погоном в сборном корпусе 24, закрепленном на неподвижной части 1.
Конструктивные элементы вариантов одноканального и двухканального соединений гидросистем представлены на фиг.25.
В зависимости от примененных механических муфт механизм может содержать всего от двух до четырех кинематических пар. Соответственно механизм двадцатого исполнения относится ко второму, третьему или четвертому классу, является прецизионным.
Во всех выше охарактеризованных двадцати исполнениях механизма привода ДУ ГН элементы, расположенные над муфтой с тремя степенями свободы (поз.7 или 26), подвергаются интенсивной тряске совместно с поворотной частью установки и соответствующим интенсивным циклическим нагрузкам во время стрельбы и транспортировки установки. На элементы механизма, расположенные ниже муфты с тремя степенями свободы, интенсивность динамического воздействия от поворотной части установки многократно снижается.
В связи с этим во всех рассмотренных исполнениях механизма муфта с двумя степенями свободы расположена ниже муфты с тремя степенями свободы, что способствует улучшению качества сочленения в ней и повышению ее точности.
Следует отметить, что в тех исполнениях механизма, в которых ДУ ГН расположен на неподвижной части установки, то есть ниже муфты с тремя степенями свободы, динамические условия для него более благоприятны, чем при его расположении на поворотной части установки.
Далее предлагаются ЗУ с восьмью более сложными конструктивными исполнениями прецизионных механизмов привода ДУ ГН, совместимыми с ВКУ при усложненных условиях, когда отсутствует центральное сквозное отверстие в ВКУ. Каждый из этих механизмов обладает общим передаточным отношением, равным точно единице. Соблюдаются условия (2) и (1).
Основные понятия можно уяснить по упрощенной кинематической схеме (фиг.29). Погон представлен на схеме в виде вращательной кинематической пары в точке О, образованной неподвижной частью 1 (стойкой) и поворотной частью 2, с которой жестко связана прямолинейная радиальная направляющая 34.
Реверсируемый прецизионный механизм привода ДУ ГН расположен над ВКУ, под центром поворотной части установки и содержит два многогранника 35 и 36, проектирующихся на горизонтальную плоскость в виде двух подобных правильных многоугольников ABCDEFGH и abcdefgh.
На неподвижной части 1 закреплен больший многогранник 35, все вертикальные плоские грани которого обращены вовнутрь – к его центральной вертикальной геометрической оси, совпадающей с геометрической осью вращения погона. Внутри его помещается меньший многогранник 36 с вертикальными плоскими гранями, обращенными во внешние стороны – к граням большего многогранника.
Меньший многогранник 36 и ползун 37 образуют в точке О2 вращательную кинематическую пару. (В конструкции это подшипники.) Усилием пружины 38 ползун 37 (в конструкции – сборная каретка) вместе с меньшим многогранником 36 смещаются по радиальной направляющей 34 до упора вертикальной плоской грани ab и сочленения ее со сходственной гранью АВ большего многогранника 35. Этими двумя сходственными гранями образуется низшая плоскостная безлюфтовая кинематическая пара.
При вращении радиальной направляющей 34 вместе с поворотной частью 2 (на фиг.29 обозначена угловая скорость 2) вертикальная плоская грань ab скользит по сходственной грани АВ. Когда точка b достигает точки В, при равенстве соответственных углов в сочленение приходят сходственные грани bc и ВС, происходит их относительное скольжение, и далее – поочередное относительное скольжение всех сходственных граней многогранников.
При строго выдержанном равенстве соответственных углов многогранников 35 и 36 и при полнооборотном вращении поворотной части 2 в любую сторону происходит строго выдержанное плоскопараллельное движение меньшего многогранника 36 в координатной системе, связанной с большим многогранником. Угловое положение меньшего многогранника относительно большего многогранника при этом остается неизменным, его угловая скорость, как и угловая скорость неподвижной части 1, постоянно равна нулю. (На фиг.29 обозначена 1=0).
Относительные угловые перемещения в кинематических парах O2 и О одинаковые. Поэтому можно установить ДУ ГН не по оси О, а по оси О2. При этом обеспечивается прецизионный уровень точности отслеживания угловых перемещений (положений) поворотной части 2 и оружия относительно неподвижной части 1.
В процессе плоскопараллельного движения меньшего многогранника 36 каждый раз, когда его угол достигает соответственного угла большего многогранника 35, происходит соударение сходственных граней многогранников. При этом сила удара зависит от нормальной составляющей скорости их сближения. Чем меньше число граней многогранников, тем больше углы отклонения граней 1 и , тем больше нормальные скорости сближения сходственных граней и тем больше сила их соударения. Необходимо уменьшать углы 1 и , увеличивая число граней t многогранника.
Однако при этом уменьшается длина сочленения m в низшей плоскостной кинематической паре. А это есть уменьшение опорной базы многогранника 36 при том, что движущая сила, действующая на него от ползуна 37 по нормали к радиальной напрвляющей 34, помноженная на плечо h, выражает опрокидывающий момент, обусловливающий неравномерное распределение удельного давления по длине сочленения m и создающий опасную ситуацию грубого нарушения условия (2) в низшей плоскостной кинематической паре: становится возможным опрокидывание грани ab с поворотом многогранника 36 относительно точки b.
Вероятность такого события возрастает с уменьшением отношения . Для восьмигранника 36 это отношение равно 0,8284. Устойчивость восьмигранника против опрокидывания признать удовлетворительной нельзя. Напрашивается увеличить длину сочленения m за пределы углов а и b, например, на величину отрезков аа1 и bb1 и соответственно увеличить длину сходственной грани AB на столько же – до длины L. Это можно сделать, если обе рассматриваемые грани, а также грани cd, ef, gh и сходственные грани CD, EF и GH сместить на другой уровень, поднять выше всех прочих граней.
При этом узкая грань ab, удлиненная в горизонтальном направлении до отрезка a1b1, не пересекает в пространстве узкие удлиненные смежные грани bc и ha, а также узкая грань AB при ее увеличенной длине L не пересекает в пространстве узкие удлиненные смежные грани ВС и НА. И при таком чередовании расположения пар сходственных граней обоих многогранников на разных уровнях по высоте исключено пересечение всех смежных граней каждого многогранника в пространстве и обеспечена возможность удлинения самих граней и их сочленений.
На фиг.30 изображен меньший восьмигранник abcdefgh с удлиненными сторонами, который может обеспечить увеличенную длину сочленения m до отрезка а1b1 и значительно увеличить устойчивость против опрокидывания. Отношение . Число граней на уровне I k=4, на уровне II – столько же. Число уровней i=2. Общее число граней этого многогранника t=k·i=4·2=8. Угол отклонения граней .
На фиг.31 изображен меньший девятигранник. Число граней на каждом уровне уменьшено до k=3, что позволило еще увеличить длину сочленения m и устойчивость против опрокидывания. Отношение . Число граней на каждом уровне k=3. Число уровней i=3. Уровни пронумерованы римскими цифрами от I – верхнего до III – нижнего уровня. Общее число граней t=k·i=3·3=9. Угол отклонения граней .
Многогранники, изображенные на фиг.30 и 31, просты по конструкции, но недостаточно удовлетворяют требованию уменьшения угла отклонения граней .
На фиг.32 больший 35 и меньший 36 многогранники условно изображены в соосном положении, как необходимо их устанавливать и жестко крепить в одном приспособлении для совместной механической обработки параллельных сходственных граней с целью получения за счет точности обрабатывающего станка точно выдержанного равенства соответственных углов обоих многогранников. Так можно гарантировать соблюдение условия (2) всеми низшими плоскостными кинематическими парами в сочленениях сходственных плоских граней многогранников. На фиг.32 уровни расположения граней обозначены римскими цифрами от I до V, i=5. Число граней на каждом уровне k=3. Общее число граней каждого многогранника t=k·i=3·5=15. Угол отклонения граней . Отношение 
При числе граней k=3 и более на каждом уровне они пересекаются и образуют правильную геометрическую фигуру, например треугольник (см. фиг.31 и 32), с конкретным ограниченным отношением .
При k=2 имеем две параллельные непересекающиеся грани, длину которых m можно задать сколько угодно большой, ограничиваемой лишь конструктивными соображениями. Так, на фиг.34 задано отношение . Можно признать, что при отношении достаточно благоприятно распределяется удельное давление по длине сочленения m и надежно обеспечивается соблюдение условия (2).
На фиг.34 меньший многогранник 36 условно изображен в двух положениях: в рабочем положении, когда сочленяются сходственные грани многогранников, и в положении, соосном с большим многогранником 35, для совместной механической обработки. Уровни расположения сходственных граней обозначены цифрами от I до X, i=10. Число граней на каждом уровне k=2. Общее число граней каждого многогранника t=k·i=2·10=20. Угол отклонения граней . (Эти параметры не следует считать окончательными.)
При угловых скоростях поворотной части современных установок и при =18° нормальные скорости сближения сходственных граней рассматриваемого механизма не будут превышать величины 0,028 м/с, что вполне приемлемо.
Однако для конкретных условий разрабатываемой или модернизируемой установки следует проверять расчетом величину силы соударения сходственных граней многогранников, корректируя величины t и .
Следует отметить необходимость маркировки первой и последней граней обоих многогранников соответственно цифрами “1” и “20” с тем, чтобы при сборке механизма не перепутать расположение граней, полученное при их совместной механической обработке. Это требование есть не что иное, как обеспечение равенства всех соответственных углов многогранников и прецизионной точности механизма.
Длина L граней большего многогранника ограничена радиусными выемками с тем, чтобы механическую обработку граней можно было производить с выходом обрабатывающего инструмента за пределы грани.
Предлагается ЗУ с двадцать первым исполнением механизма привода ДУ ГН (п.19 формулы). Рассматривать конструкцию механизма следует, сверяясь с упрощенной кинематической схемой (фиг.29).
Основная проекция – вертикальный радиальный разрез – на фиг.33. Разрезы Б-Б, В-В, Г-Г, Д-Д и Е-Е – на фиг.34-38.
На фиг.33 и 34 уровни расположения сходственных граней многогранников обозначены римскими цифрами от I до X.
ДУ 3 закреплен сверху на ползуне 37 с подставкой 39 соосно с верхней шейкой меньшего многогранника 36.
Механизм передает неизменное угловое положение от неподвижной части 1 (фиг.33) к ротору 5 ДУ.
В механизме использована кинематическая цепь, связывающая больший многогранник 35 с ротором 5 ДУ, состоящая из низшей плоскостной безлюфтовой кинематической пары сочлененных сходственных плоских граней многогранников 35 и 36 и точной безлюфтовой крестовой компенсирующей муфты 23, соединяющей конец верхней опорной шейки меньшего многогранника 36 с валом ротора 5 ДУ.
Больший многогранник 35 закреплен на неподвижной части 1 соосно с погоном. Ось вращения погона О-О. Вертикальная ось меньшего многогранника 36 зафиксирована подшипниками 40 в сборной каретке, состоящей из жестко соединенных между собой ползуна 37, корпуса 41 и стакана 42.
Каретка помещена в сборном корпусе, жестко соединенном с поворотной частью 2 и состоящем из жестко соединенных между собой корпуса 43, верхней направляющей 34 и нижней направляющей 44 (фиг.38). Каретка опирается на прямолинейную безлюфтовую радиальную направляющую, устроенную следующим образом.
Детали 37, 42, 34, 44 (фиг.33, 36-38), а также нажимные направляющие 45, 46 и 47 имеют прямолинейные твердые направляющие рабочие поверхности – дорожки качения, контактирующие с шариками 48, 49 и 50.
Оба конца ползуна 37 фиксируются в вертикальной плоскости между нижним и верхним рядами шариков 48 (фиг.33, 37) с помощью двух рычагов 51 под действием двух сжатых люфтовыбирающих пружин 52. В горизонтальной плоскости в тангенциальном направлении оба конца ползуна 37 фиксируются между двумя рядами шариков 49 (фиг.36, 37) с помощью нажимной направляющей 46 под действием пакета люфтовыбирающих подверженных изгибу пластинчатых пружин 53, обладающих необходимой расчетной кривизной в свободном состоянии и выпрямленных в рабочем положении. Пружины 53 в необходимом количестве вставляются сверху между нажимной направляющей 46 (фиг.36) и платиком 54, затем вставляется вставка 55 и крепится накладка 56.
Стакан 42 (фиг.33, 38) фиксируется в тангенциальном направлении между двумя рядами шариков 50 (фиг.38) с помощью нажимной направляющей 47 под действием пакета люфтовыбирающих подверженных изгибу пластинчатых пружин 57, обладающих необходимой расчетной кривизной в свободном состоянии и выпрямленных в рабочем положении.
Шарики 48 и 50 объединены группами в сепараторах, закрепленных с помощью заклепок на направляющих 45, 44 и 47 (фиг.33, 37, 38), а шарики 49 и 48, расположенные под ползуном 37, удерживаются от выпадания штифтами (фиг.33, 36, 37).
Устроенная в таком виде радиальная направляющая каретки при отсутствии статических неопределимостей и излишних напряженных состояний деталей полностью стесняет пять степеней свободы каретки относительно поворотной части 2 и допускает лишь одну радиальную поступательную степень свободы, которая реализуется следующим образом.
Усилием пружины 38 (фиг.33) толкатель 58 смещает каретку вместе с многогранником 36 по охарактеризованной выше радиальной направляющей до упора и сочленения сходственных граней многогранников 36 и 35. На фиг.33, 34 и 35 изображены сочлененными сходственные грани в верхнем уровне I.
В процессе вращения поворотной части 2 и плоскопараллельного движения меньшего многогранника 36 его центр O2 (фиг.29) описывает траекторию в виде правильного многоугольника А1В1С1D1Е1F1G1H1, совершая радиальные перемещения вместе с кареткой в пределах, ограниченных радиусами Rвп и Rоп вписанной и описанной окружностей названного многоугольника. Максимальная величина радиальных перемещений R центра O2 многогранника 36 определяется по формуле:

Здесь t – число граней многогранника 35.
При t=20 и Rвп=72 мм (фиг.33, 34) имеем R=0,897 мм.
При столь ограниченном максимальном радиальном перемещении каретки, при точно выдержанной прямолинейности дорожек качения, при большой длине опорной базы (см. длину ползуна 37 на фиг.33) и при наличии люфтовыбирающих пружин 52, 53 и 57 (фиг.33, 36, 37, 38) угловое положение каретки, а вместе с ней и статора ДУ 3 относительно поворотной части 2 остается в процессе движения механизма неизменным. При оценке точности механизма привода ДУ можно признать влияние радиальной направляющей каретки наравне с высшей или низшей прямолинейной кинематической парой.
Пружина 59 (фиг.33, 36) выбирает люфты в подшипниках 40, за счет чего повышается точность и жесткость фиксации вертикальной геометрической оси многогранника 36 в опорах и точность низшей плоскостной кинематической пары в сочленении сходственных граней многогранников 35 и 36.
Внутри большего многогранника 35 менее половины места занято частями механизма. Оставшееся свободное место ограничено свисающим кожухом 60 (фиг.33, 35, 36), закрепленным на поворотной части 2 (фиг.36) и не касающимся многогранника 35. Через свободное пространство внутри кожуха 60 от поворотной части 2, сквозь механизм подводятся кабели с соединителями и поводок к вращающейся части ВКУ 4. (Кабели и поводок на чертежах не показаны. Поводок может быть закреплен на кожухе 60.)
Таким образом, механизм двадцать первого исполнения обладает важным признаком – совместимостью с ВКУ независимо от наличия центрального сквозного отверстия в ВКУ.
Механизм двадцать первого исполнения привода ДУ содержит всего четыре места вероятного влияния на его точность: низшая плоскостная безлюфтовая кинематическая пара в сочленении сходственных граней многогранников 35 и 36, две прямолинейные кинематические пары в составе точной безлюфтовой крестовой муфты 23 и радиальная безлюфтовая направляющая каретки.
Число n=4. Механизм двадцать первого исполнения является прецизионным, относится к четвертому классу.
Предлагается ЗУ с двадцать вторым исполнением механизма привода ДУ ГН (фиг.39, 40, п.19 формулы), отличающимся от двадцать первого исполнения тем, что ДУ 3 закреплен с подставкой 39 на каретке снизу соосно с нижней шейкой меньшего многогранника 36, и ротор 5 ДУ с помощью точной безлюфтовой крестовой муфты 23 соединен с нижней шейкой меньшего многогранника 36. Кинематическая цепь механизма такая же, как в двадцать первом исполнении.
Подставка 39 в сечении Ж-Ж имеет две плоские твердые направляющие рабочие поверхности – дорожки качения, контактирующие с шариками 50.
Число n=4. Механизм двадцать второго исполнения является прецизионным, относится к четвертому классу.
Предлагается ЗУ с двадцать третьим исполнением механизма привода ДУ ГН (фиг.41, 42, п.20 формулы), отличающимся от двадцать первого исполнения тем, что ДУ 3 закреплен сверху с подставкой 61 на направляющей 34, жестко соединенной с поворотной частью 2. Ротор 5 ДУ соединен с верхней шейкой меньшего многогранника 36 с помощью точной безлюфтовой крестовой муфты 23. Ось О1-O1 ДУ 3 расположена против среднего положения оси O2-O2 меньшего многогранника 36. Радиальная координата R расположения оси O1-O1 ДУ 3 относительно оси O-O вращения погона (см. также фиг.29) является величиной постоянной:

Например, в частном случае при t=20 и Rвп=72 мм имеем R=72,449 мм.
При этом переменные радиальные координаты оси O2-O2 меньшего многогранника 36 при полнооборотном вращении поворотной части 2 изменяются в пределах от Rвп=72 мм, как изображено на фиг.29 и 41, до

с предельными отклонениями от средней величины R=72,449 мм (от оси О1-О1 ДУ 3) на величину .
Точная безлюфтовая крестовая муфта 23 компенсирует переменные несоосности ее полумуфт в пределах этой величины при перемещениях крестовины относительно полумуфт.
За счет расположения ДУ 3 на поворотной части 2 (с подставкой 61) исключается непосредственное влияние радиальной направляющей каретки на точность механизма привода ДУ ГН и в механизме содержится всего три места вероятного влияния на его точность: низшая плоскостная безлюфтовая кинематическая пара в сочленении сходственных граней многогранников 35 и 36 и две прямолинейные кинематические пары в составе точной безлюфтовой крестовой муфты 23.
Число n=3. Механизм двадцать третьего исполнения является прецизионным, относится к третьему классу.
Предлагается ЗУ с двадцать четвертым исполнением механизма привода ДУ ГН (фиг.43, 40, п.20 формулы), отличающимся от двадцать третьего исполнения тем, что ДУ 3 закреплен снизу с подставкой 61 на корпусе 43, жестко связанном с направляющей 34 (фиг.39) и поворотной частью 2, а вал ротора 5 ДУ 3 с помощью точной безлюфтовой крестовой муфты 23 (фиг.43) соединен с нижней шейкой меньшего многогранника 36.
По кинематике механизм двадцать четвертого исполнения аналогичен механизму двадцать третьего исполнения.
Число n=3. Механизм двадцать четвертого исполнения является прецизионным, относится к третьему классу.
Предлагается ЗУ с двадцать пятым исполнением механизма привода ДУ ГН (фиг.44-47, п.21 формулы). ДУ 3 закреплен сверху соосно с многогранником 36 на сборной каретке, состоящей из жестко соединенных между собой ползуна 37 и корпуса 41. Ротор 5 ДУ кинематически связан с поворотной частью 2.
Больший многогранник 35 закреплен соосно с погоном на поворотной части 2 и вращается вместе с ней. Меньший многогранник 36 установлен в подшипниках 40 в сборной каретке.
Люфты в подшипниках 40 выбираются с помощью люфтовыбирающей пластинчатой многолепестковой пружины 59.
Каретка опирается на безлюфтовую радиальную направляющую, которая состоит из неподвижной направляющей 62, закрепленной на неподвижной части 1, и нажимной подпружиненной направляющей 63.
Ползун 37 и направляющие 62 и 63 имеют прямолинейные твердые V-образные направляющие рабочие поверхности – дорожки качения, контактирующие с шариками 64. Ползун 37 фиксируется с помощью шариков 64 между дорожками качения направляющих 62 и 63.
Шарики 64 удерживаются от выпадания пластинками 65 и накладкой 66.
Максимальные люфты нажимной направляющей 63 ограничены в радиальном направлении штифтом 67, в вертикальном направлении накладкой 68 и в поперечном тангенциальном направлении двумя регулировочными винтами 69. В вертикальном и тангенциальном направлениях люфты полностью выбираются с помощью двух пакетов пластинчатых пружин 70, которые обладают необходимой расчетной кривизной в свободном состоянии и выпрямляются в рабочем положении нажимными винтами 71.
В результате полностью стеснены пять степеней свободы каретки относительно неподвижной части 1, и допущена лишь одна поступательная степень свободы вдоль радиальной направляющей.
Усилием сжатой пружины 38 каретка смещается по радиальной направляющей до упора одной из вертикальных плоских граней меньшего многогранника 36 в сходственную грань большего многогранника 35. При этом сходственные плоские грани обоих многогранников образуют низшую плоскостную кинематическую пару.
Верхняя шейка меньшего многогранника 36 соединена с ротором 5 ДУ с помощью точной безлюфтовой крестовой муфты 23.
Кинематическая цепь, соединяющая поворотную часть 2 с ротором 5 ДУ, содержит всего три кинематические пары: низшую плоскостную в сочленении сходственных граней многогранников 35 и 36 и две прямолинейные накрест расположенные кинематические пары крестовой муфты 23. Передаточное отношение этой кинематической цепи равно точно единице.
При полнооборотном вращении поворотной части 2 каретка вместе с ДУ 3 совершает возвратно-поступательные перемещения вдоль радиальной направляющей в пределах, определяемых по формуле (9), и статор ДУ 3 не изменяет своего углового положения относительно неподвижной части 1. Кинематическая цепь, соединяющая статор ДУ 3 с неподвижной частью 1, содержит всего одно прямолинейное подвижное сочленение с промежуточными телами качения – шариками 64 в радиальной направляющей. Передаточное отношение этой кинематической цепи также равно точно единице.
Таким образом, в механизме содержится всего четыре места вероятного влияния на его точность.
Число n=4. Механизм двадцать пятого исполнения является прецизионным, относится к четвертому классу.
На поворотной части 2 закреплен кожух 72, несущий трубу 73, на нижнем конце которой закреплен поводок 74, вращающий ВКУ. Через трубу 73 подводятся кабели с соединителями к вращающейся части ВКУ.
Кабель 75 (фиг.45) подводится к ДУ 3 внутри большего многогранника 35, не касаясь последнего и трубы 73.
Предлагается ЗУ с двадцать шестым исполнением механизма привода ДУ ГН (фиг.48, 49, п.21 формулы), отличающимся от двадцать пятого исполнения тем, что ДУ 3 закреплен со сборной подставкой 39 на каретке снизу соосно с нижней шейкой меньшего многогранника 36, и ротор 5 ДУ с помощью точной безлюфтовой крестовой муфты 23 соединен с нижней шейкой меньшего многогранника 36. Кинематическая цепь механизма такая же, как в двадцать пятом исполнении.
Число n=4. Механизм двадцать шестого исполнения является прецизионным, относится к четвертому классу.
Предлагается ЗУ с двадцать седьмым исполнением механизма привода ДУ ГН (фиг.50, 51, п.22 формулы), отличающимся от двадцать пятого исполнения тем, что ДУ 3 закреплен сверху с подставкой 76 на направляющей 62, жестко связанной с неподвижной частью 1. Ротор 5 ДУ соединен с верхней шейкой меньшего многогранника 36 с помощью точной безлюфтовой крестовой муфты 23. Ось О1-O1 ДУ 3 удалена от оси вращения погона О-О на расстояние R, определяемое по формуле (10), то есть расположена против среднего положения оси O2-О2 меньшего многогранника 36. При полнооборотном вращении поворотной части 2 ось O2-О2 меньшего многогранника 36 перемещается в интервале от Rвп до Rоп. (См. фиг.29 и формулу 11).
В механизме содержится всего три кинематические пары, влияющие на его точность: сочленение сходственных граней многогранников 35 и 36 и две пары в муфте 23. Влияние радиальной направляющей каретки на точность механизма исключено.
Число n=3. Механизм двадцать седьмого исполнения является прецизионным, относится к третьему классу.
Предлагается ЗУ с двадцать восьмым исполнением механизма привода ДУ ГН (фиг.52, п.22 формулы), отличающимся от двадцать седьмого исполнения тем, что ДУ 3 закреплен снизу с подставкой 76 на направляющей 62, жестко связанной с неподвижной частью 1, а вал ротора 5 ДУ 3 с помощью точной безлюфтовой крестовой муфты 23 соединен с нижней шейкой меньшего многогранника 36.
По кинематике механизм двадцать восьмого исполнения аналогичен механизму двадцать седьмого исполнения.
Число n=3. Механизм двадцать восьмого исполнения является прецизионным, относится к третьему классу.
Источники информации
1. Зенитная самоходная установка 2С6М. Техническое описание 2С6М0000000-01 ТО. Изд. 6/202623р – П92, 1992.
2. Описание изобретения к патенту РФ №2180089, действующему с 24.02.2000 г.
3. Материалы заявки на изобретение 2003109767/02 (010376), по которой получено из ФИПС сообщение от 27.10.2004 г. о принятом решении о выдаче патента на изобретение с приоритетом по дате подачи заявки 07.04.2003 г.
4. Журнал “Военный парад”, 1995, ноябрь – декабрь, стр.104-106.
Формула изобретения
1. Зенитная установка, содержащая неподвижную часть, поворотную часть, погон, силовой следящий привод горизонтального наведения оружия с датчиком угла и вращающееся электроконтактное устройство (ВКУ), отличающаяся тем, что она снабжена реверсируемым, безлюфтовым, конструктивно совместимым с ВКУ прецизионным или суперпрецизионным механизмом привода датчика угла горизонтального наведения, содержащим соосную с погоном вертикальную плавающую штангу, расположенную с зазором в центральном сквозном отверстии в ВКУ и связанную одним своим концом с нижней механической муфтой, расположенной под ВКУ, а другим – с верхней, расположенной над ВКУ, при этом указанный механизм выполнен с общим передаточным отношением, равным точно единице, и с исключением влияния люфтов и кинематических погрешностей в погоне и в редукторе силового привода на точность механизма, при этом нижняя механическая муфта выполнена с двумя вращательными степенями свободы ведомой полумуфты относительно двух центральных горизонтальных пересекающихся геометрических осей, а верхняя механическая муфта выполнена с тремя степенями свободы ведомой полумуфты – двумя вращательными относительно двух центральных горизонтальных пересекающихся геометрических осей и одной поступательной в вертикальном направлении.
2. Зенитная установка по п.1, отличающаяся тем, что нижний конец вертикальной плавающей штанги посредством нижней механической муфты соединен с неподвижной частью установки, а верхний конец вертикальной плавающей штанги посредством верхней механической муфты соединен с ротором датчика угла, закрепленного соосно с погоном на поворотной части, причем нижняя и верхняя механические муфты выполнены в виде прямолинейно-контактных муфт, в каждой из которых ведущей и ведомой полумуфтами образована кинематическая пара в виде безлюфтового подвижного сочленения вертикальной контактной грани одной полумуфты с образующей контактного выступа другой полумуфты с прижатием их друг к другу по горизонтальной контактной линии посредством подпружиненного фиксатора, причем место контакта представляет собой прямую линию, два отрезка линии или две контактные точки, при этом контактная линия в нижней механической муфте параллельна контактной линии в верхней механической муфте.
3. Зенитная установка по п.1, отличающаяся тем, что верхний конец вертикальной плавающей штанги посредством верхней механической муфты соединен с поворотной частью установки, а нижний конец вертикальной плавающей штанги посредством нижней механической муфты соединен с ротором датчика угла, закрепленного соосно с погоном на неподвижной части, причем нижняя и верхняя механические муфты выполнены в виде прямолинейно-контактных муфт, в каждой из которых ведущей и ведомой полумуфтами образована кинематическая пара в виде безлюфтового подвижного сочленения вертикальной контактной грани одной полумуфты с образующей контактного выступа другой полумуфты с прижатием их друг к другу по горизонтальной контактной линии посредством подпружиненного фиксатора, причем место контакта представляет собой прямую линию, два отрезка линии или две контактные точки, при этом контактная линия в нижней механической муфте параллельна контактной линии в верхней механической муфте.
4. Зенитная установка по п.2, отличающаяся тем, что она снабжена дополнительной прецизионной частью механизма привода датчика угла, содержащей вертикальный вал, установленный над ВКУ в подшипниках соосно с погоном на поворотной части установки, и третью механическую безлюфтовую крестовую компенсирующую муфту, имеющую плавающую крестовину и две связанные с ней накрест расположенные прямолинейные возвратно-поступательные кинематические пары, причем верхний конец вертикальной плавающей штанги посредством верхней механической муфты соединен с нижним концом вертикального вала, а верхний конец вертикального вала посредством упомянутой крестовой компенсирующей муфты соединен с валом ротора датчика угла.
5. Зенитная установка по п.3, отличающаяся тем, что она снабжена дополнительной прецизионной частью механизма привода датчика угла, содержащей вертикальный вал, установленный под ВКУ в подшипниках соосно с погоном на неподвижной части установки, и третью механическую безлюфтовую крестовую компенсирующую муфту, имеющую плавающую крестовину и две связанные с ней накрест расположенные прямолинейные возвратно-поступательные кинематические пары, причем нижний конец вертикальной плавающей штанги посредством нижней механической муфты соединен с верхним концом вертикального вала, а нижний конец вертикального вала посредством упомянутой крестовой компенсирующей муфты соединен с валом ротора датчика угла.
6. Зенитная установка по п.1, отличающаяся тем, что нижний конец вертикальной плавающей штанги посредством нижней механической муфты соединен с неподвижной частью установки, а верхний конец вертикальной плавающей штанги посредством верхней механической муфты соединен с ротором датчика угла, закрепленного соосно с погоном на поворотной части, причем каждая механическая муфта снабжена плоской или гофрированной упругой пластиной, периферийная часть которой жестко связана с одной полумуфтой, а центральная часть с другой полумуфтой.
7. Зенитная установка по п.1, отличающаяся тем, что верхний конец вертикальной плавающей штанги посредством верхней механической муфты соединен с поворотной частью установки, а нижний конец вертикальной плавающей штанги посредством нижней механической муфты соединен с ротором датчика угла, закрепленного соосно с погоном на неподвижной части, причем каждая механическая муфта снабжена плоской или гофрированной упругой пластиной, периферийная часть которой жестко связана с одной полумуфтой, а центральная часть с другой полумуфтой.
8. Зенитная установка по п.6, отличающаяся тем, что она снабжена дополнительной прецизионной частью механизма привода датчика угла, содержащей вертикальный вал, установленный над ВКУ в подшипниках соосно с погоном на поворотной части установки, и третью механическую безлюфтовую крестовую компенсирующую муфту, имеющую плавающую крестовину и две связанные с ней накрест расположенные прямолинейные возвратно-поступательные кинематические пары, причем верхний конец вертикальной плавающей штанги посредством верхней механической муфты соединен с нижним концом вертикального вала, а верхний конец вертикального вала посредством упомянутой крестовой компенсирующей муфты соединен с валом ротора датчика угла.
9. Зенитная установка по п.7, отличающаяся тем, что она снабжена дополнительной прецизионной частью механизма привода датчика угла, содержащей вертикальный вал, установленный под ВКУ в подшипниках соосно с погоном на неподвижной части установки, и третью механическую безлюфтовую крестовую компенсирующую муфту, имеющую плавающую крестовину и две связанные с ней накрест расположенные прямолинейные возвратно-поступательные кинематические пары, причем нижний конец вертикальной плавающей штанги посредством нижней механической муфты соединен с верхним концом вертикального вала, а нижний конец вертикального вала посредством упомянутой крестовой компенсирующей муфты соединен с валом ротора датчика угла.
10. Зенитная установка по п.1, отличающаяся тем, что нижний конец вертикальной плавающей штанги посредством нижней механической муфты соединен с неподвижной частью установки, а верхний конец вертикальной плавающей штанги посредством верхней механической муфты соединен с ротором датчика угла, закрепленного соосно с погоном на поворотной части, причем одна из механических муфт выполнена в виде прямолинейно-контактной муфты, в которой ведущей и ведомой полумуфтами образована кинематическая пара в виде безлюфтового подвижного сочленения вертикальной контактной грани одной полумуфты с образующей контактного выступа другой полумуфты с прижатием их друг к другу по горизонтальной контактной линии посредством подпружиненного фиксатора, причем место контакта представляет собой прямую линию, два отрезка линии или две контактные точки, а другая механическая муфта снабжена плоской или гофрированной упругой пластиной, периферийная часть которой жестко связана с одной полумуфтой, а центральная часть – с другой полумуфтой.
11. Зенитная установка по п.1, отличающаяся тем, что верхний конец вертикальной плавающей штанги посредством верхней механической муфты соединен с поворотной частью установки, а нижний конец вертикальной плавающей штанги посредством нижней механической муфты соединен с ротором датчика угла, закрепленного соосно с погоном на неподвижной части, причем одна из механических муфт выполнена в виде прямолинейно-контактной муфты, в которой ведущей и ведомой полумуфтами образована кинематическая пара в виде безлюфтового подвижного сочленения вертикальной контактной грани одной полумуфты с образующей контактного выступа другой полумуфты с прижатием их друг к другу по горизонтальной контактной линии посредством подпружиненного фиксатора, причем место контакта представляет собой прямую линию, два отрезка линии или две контактные точки, а другая механическая муфта снабжена плоской или гофрированной упругой пластиной, периферийная часть которой жестко связана с одной полумуфтой, а центральная часть – с другой полумуфтой.
12. Зенитная установка по п.10, отличающаяся тем, что она снабжена дополнительной прецизионной частью механизма привода датчика угла, содержащей вертикальный вал, установленный над ВКУ в подшипниках соосно с погоном на поворотной части установки, и третью механическую безлюфтовую крестовую компенсирующую муфту, имеющую плавающую крестовину и две связанные с ней накрест расположенные прямолинейные возвратно-поступательные кинематические пары, причем верхний конец вертикальной плавающей штанги посредством верхней механической муфты соединен с нижним концом вертикального вала, а верхний конец вертикального вала посредством упомянутой крестовой компенсирующей муфты соединен с валом ротора датчика угла.
13. Зенитная установка по п.11, отличающаяся тем, что она снабжена дополнительной прецизионной частью механизма привода датчика угла, содержащей вертикальный вал, установленный под ВКУ в подшипниках соосно с погоном на неподвижной части установки, и третью механическую безлюфтовую крестовую компенсирующую муфту, имеющую плавающую крестовину и две связанные с ней накрест расположенные прямолинейные возвратно-поступательные кинематические пары, причем нижний конец вертикальной плавающей штанги посредством нижней механической муфты соединен с верхним концом вертикального вала, а нижний конец вертикального вала посредством упомянутой крестовой компенсирующей муфты соединен с валом ротора датчика угла.
14. Зенитная установка по п.1, отличающаяся тем, что каждая из механических муфт выполнена в виде муфты, снабженной плоской или гофрированной упругой пластиной, периферийная часть которой жестко связана с одной полумуфтой, а центральная часть – с другой полумуфтой, или в виде прямолинейно-контактной муфты, в которой ведущей и ведомой полумуфтами образована кинематическая пара в виде безлюфтового подвижного сочленения вертикальной контактной грани одной полумуфты с образующей контактного выступа другой полумуфты с прижатием их друг к другу по горизонтальной контактной линии посредством подпружиненного фиксатора, причем место контакта представляет собой прямую линию, два отрезка линии или две контактные точки, а вертикальная плавающая штанга выполнена в виде вертикальной одноканальной или двухканальной трубки, герметично и жестко соединенной с дополнительно введенными концевыми заглушками, с возможностью соединения гидросистем неподвижной и поворотной частей установки с помощью дополнительно введенной одноканальной или двухканальной гидравлической муфты, содержащей уплотнения и установленной посредством подшипников на вертикальной трубке между ВКУ и верхней механической муфтой, а также с помощью дополнительно введенных для каждого канала двух штуцеров, один из которых установлен на корпусе гидравлической муфты, а другой – на вертикальной трубке между ВКУ и нижней механической муфтой, при этом обе концевые заглушки выполнены в виде полумуфт, являющихся составными частями нижней и верхней механических муфт, или в виде хвостовиков с местами установки и закрепления этих полумуфт, причем нижний конец вертикальной трубки посредством нижней механической муфты соединен с неподвижной частью установки, а верхний конец вертикальной трубки посредством верхней механической муфты соединен с ротором датчика угла, закрепленного соосно с погоном на поворотной части.
15. Зенитная установка по п.1, отличающаяся тем, что каждая из механических муфт выполнена в виде муфты, снабженной плоской или гофрированной упругой пластиной, периферийная часть которой жестко связана с одной полумуфтой, а центральная часть – с другой полумуфтой, или в виде прямолинейно-контактной муфты, в которой ведущей и ведомой полумуфтами образована кинематическая пара в виде безлюфтового подвижного сочленения вертикальной контактной грани одной полумуфты с образующей контактного выступа другой полумуфты с прижатием их друг к другу по горизонтальной контактной линии посредством подпружиненного фиксатора, причем место контакта представляет собой линию, два отрезка линии или две контактные точки, а вертикальная плавающая штанга выполнена в виде вертикальной одноканальной или двухканальной трубки, герметично и жестко соединенной с дополнительно введенными концевыми заглушками, с возможностью соединения гидросистем неподвижной и поворотной частей установки с помощью дополнительно введенной одноканальной или двухканальной гидравлической муфты, содержащей уплотнения и установленной посредством подшипников на вертикальной трубке между ВКУ и нижней механической муфтой, а также с помощью дополнительно введенных для каждого канала двух штуцеров, один из которых установлен на корпусе гидравлической муфты, а другой на вертикальной трубке между ВКУ и верхней механической муфтой, при этом обе концевые заглушки выполнены в виде полумуфт, являющихся составными частями нижней и верхней механических муфт, или в виде хвостовиков с местами установки и закрепления этих полумуфт, причем верхний конец вертикальной трубки посредством верхней механической муфты соединен с поворотной частью установки, а нижний конец вертикальной трубки посредством нижней механической муфты соединен с ротором датчика угла, закрепленного соосно с погоном на неподвижной части.
16. Зенитная установка по п.14, отличающаяся тем, что она снабжена дополнительной прецизионной частью механизма привода датчика угла, содержащей вертикальный вал, установленный над ВКУ в подшипниках соосно с погоном на поворотной части установки, и третью механическую безлюфтовую крестовую компенсирующую муфту, имеющую плавающую крестовину и две связанные с ней накрест расположенные прямолинейные возвратно-поступательные кинематические пары, причем верхний конец вертикальной трубки посредством верхней механической муфты соединен с нижним концом вертикального вала, а верхний конец вертикального вала посредством упомянутой крестовой компенсирующей муфты соединен с валом ротора датчика угла.
17. Зенитная установка по п.15, отличающаяся тем, что она снабжена дополнительной прецизионной частью механизма привода датчика угла, содержащей вертикальный вал, установленный под ВКУ в подшипниках соосно с погоном на неподвижной части установки, и третью механическую безлюфтовую крестовую компенсирующую муфту, имеющую плавающую крестовину и две связанные с ней накрест расположенные прямолинейные возвратно-поступательные кинематические пары, причем нижний конец вертикальной трубки посредством нижней механической муфты соединен с верхним концом вертикального вала, а нижний конец вертикального вала посредством упомянутой крестовой компенсирующей муфты соединен с валом ротора датчика угла.
18. Зенитная установка, содержащая неподвижную часть, поворотную часть, погон, силовой следящий привод горизонтального наведения оружия с механизмом привода датчика угла и вращающееся электроконтактное устройство (ВКУ), отличающаяся тем, что механизм привода датчика угла горизонтального наведения выполнен реверсируемым, прецизионным, с общим передаточным отношением, равным точно единице, расположенным над ВКУ под центром поворотной части установки, и снабжен двумя многогранниками, имеющими в плане вид подобных правильных многоугольников с удлиненными в горизонтальном направлении узкими вертикальными плоскими гранями, причем все грани большего многогранника обращены вовнутрь к его центральной вертикальной геометрической оси, совпадающей с геометрической осью вращения погона, а все грани меньшего многогранника, расположенного внутри большего многогранника, обращены во внешние стороны – к граням большего многогранника, и вертикальная геометрическая ось меньшего многогранника зафиксирована подшипниками в каретке, установленной на безлюфтовой прямолинейной радиальной направляющей с люфтовыбирающими пружинами с возможностью перемещения каретки совместно с меньшим многогранником посредством пружины до упора одной из его вертикальных плоских граней в соответствующую вертикальную плоскую грань большего многогранника, при этом меньший многогранник образует с большим плоскостную безлюфтовую кинематическую пару с возможностью, при вращении поворотной части установки, плоскопараллельного движения его относительно большего многогранника с поочередным скольжением всех вертикальных плоских граней меньшего многогранника по всем соответствующим вертикальным плоским граням большего многогранника и с неизменным угловым положением меньшего многогранника относительно большего, причем все грани каждого из многогранников расположены на разных уровнях по высоте с исключением пересечения смежных граней в пространстве и обеспечением удлинения самих граней и их сочленений, при этом в прецизионном механизме привода датчика угла горизонтального наведения образована кинематическая цепь, связывающая больший многогранник с ротором датчика угла и состоящая из упомянутой плоскостной кинематической пары и точной безлюфтовой крестовой компенсирующей муфты, соединяющей конец одной из опорных шеек меньшего многогранника с ротором датчика угла и содержащей плавающую крестовину и две связанные с ней накрест расположенные прямолинейные возвратно-поступательные кинематические пары с обеспечением конструктивной совместимости указанного механизма с ВКУ независимо от наличия центрального сквозного отверстия в ВКУ с использованием свободного, не занятого кареткой пространства внутри большего многогранника, через которое сверху от поворотной части установки сквозь механизм подведены кабели с соединителями и поводок к вращающейся части ВКУ.
19. Зенитная установка по п.18, отличающаяся тем, что датчик угла горизонтального наведения жестко закреплен соосно с меньшим многогранником на каретке, безлюфтовая радиальная направляющая жестко связана с поворотной частью установки, а больший многогранник жестко закреплен на неподвижной части установки.
20. Зенитная установка по п.18, отличающаяся тем, что датчик угла горизонтального наведения жестко связан с поворотной частью установки с расположением его оси напротив среднего положения вертикальной геометрической оси меньшего многогранника, безлюфтовая радиальная направляющая жестко связана с поворотной частью установки, а больший многогранник жестко закреплен на неподвижной части установки.
21. Зенитная установка по п.18, отличающаяся тем, что датчик угла горизонтального наведения жестко закреплен соосно с меньшим многогранником на каретке, безлюфтовая радиальная направляющая жестко связана с неподвижной частью установки, а больший многогранник жестко закреплен на поворотной части установки.
22. Зенитная установка по п.18, отличающаяся тем, что датчик угла горизонтального наведения жестко связан с неподвижной частью установки с расположением его оси напротив среднего положения вертикальной геометрической оси меньшего многогранника, безлюфтовая радиальная направляющая жестко связана с неподвижной частью установки, а больший многогранник жестко закреплен на поворотной части установки.
РИСУНКИ
|