|
|
(21), (22) Заявка: 2005109351/06, 01.04.2005
(24) Дата начала отсчета срока действия патента:
01.04.2005
(46) Опубликовано: 27.12.2006
(56) Список документов, цитированных в отчете о поиске:
RU 2016248 C1, 15.07.1994. RU 2047030 С1, 27.10.1995. SU 1634834 А1, 15.03.1991. SU 1430604 А1,15.10.1988. US 4720113 А, 19.01.1988. GB 1535072 A, 06.12.1978.
Адрес для переписки:
119992, Москва, Ленинские горы, 1, стр.75, оф. 725, а/я 64
|
(72) Автор(ы):
Вилейко Владимир Викторович (RU), Кирюхин Андрей Анатольевич (RU), Авдеев Виктор Васильевич (RU), Ионов Сергей Геннадьевич (RU), Ильин Евгений Трофимович (RU), Гамидов Мурат Зайнулаевич (RU), Антюхин Георгий Георгиевич (RU), Чернышов Павел Викторович (RU)
(73) Патентообладатель(и):
Закрытое акционерное общество “УНИХИМТЕК” (ЗАО “УНИХИМТЕК”) (RU)
|
(54) УПЛОТНИТЕЛЬНЫЙ УЗЕЛ ВАЛА ЦЕНТРОБЕЖНОГО НАСОСА
(57) Реферат:
Изобретение относится к области уплотнительной техники и может быть использовано для уплотнения валов центробежных насосов, в частности водяных насосов дизелей тепловозов. Уплотнительный узел вала центробежного насоса включает корпус, втулку, установленную на вал насоса, опорный и нажимной элементы, размещенные в расточке корпуса и охватывающее втулку сальниковое уплотнение. Сальниковое уплотнение содержит: замыкающие кольца, выполненные из плетеной набивки из нитей терморасширенного графита и экспандированного фторопласта; теплоотводящие кольца, выполненные из чередующихся слоев терморасширенного графита и металлической фольги, расположенных перпендикулярно оси кольца; уплотнительные кольца, выполненные, из слоев терморасширенного графита, расположенных параллельно оси кольца. Техническим результатом является повышение герметичности уплотнения насоса. 5 з.п. ф-лы, 4 ил.
Изобретение относится к области уплотнительной техники и может быть использовано для уплотнения валов центробежных насосов, в частности водяных насосов дизелей тепловозов.
Известен уплотнительный узел вала центробежного насоса, содержащий расположенные в корпусе опорное кольцо и уплотнение в виде пакета нечетного количества чередующихся колец, охватывающих уплотняемый элемент и поджатых грундбуксой к опорному кольцу, причем каждое нечетное кольцо выполнено из полимерного материала с твердостью по Бринеллю 20-70 МПа, а каждое четкое кольцо выполнено из углеродонаполненного полиамида 66 с твердостью по Бринеллю 160-250 МПа, при этом между грундбуксой и пакетом колец установлено прижимное кольцо и все упомянутые кольца установлены с натягом относительно корпуса и уплотняемого элемента (см. RU 2047030).
Наиболее близкий уплотнительный узел раскрыт в патенте RU 2016248. Данный узел содержит корпус, резьбовую втулку, установленную на вал насоса, опорный и нажимной элементы, размещенные в расточке корпуса и охватывающее втулку, сальниковое уплотнение, размещенное в расточке корпуса между опорным и нажимным элементами.
К недостаткам обоих технических решений относится то, что материалы, использующиеся в сальниковых уплотнениях, не обеспечивают надежного уплотнения вала насоса – протечки при использовании известных сальниковых уплотнений составляют 60 капель в минуту. Если учесть, что в водяных насосах дизелей тепловозов в качестве рабочей среды используется дистиллированная вода с дорогостоящими присадками, то экономические потери оказываются очень чувствительными.
Задачей изобретения является устранение прокалывания центробежных насосов.
Поставленная задача решается тем, что в уплотнительном узле вала центробежного насоса, включающем корпус, втулку, установленную на вал насоса, опорный и нажимной элементы, размещенные в расточке корпуса, и охватывающее втулку сальниковое уплотнение, размещенное в расточке корпуса между опорным и нажимным элементами, сальниковое уплотнение выполнено в виде комплекта колец, содержащего замыкающее кольцо, примыкающее к опорному элементу, выполненное из плетеной набивки из нитей терморасширенного графита и экспандированного фторопласта, по меньшей мере, два теплоотводящих кольца, выполненных из чередующихся слоев терморасширенного графита и металлической фольги, расположенных перпендикулярно оси кольца, и, по меньшей мере, одно уплотнительное кольцо, расположенное между теплоотводящими кольцами и выполненное из слоев терморасширенного графита, расположенных параллельно оси кольца.
В частных воплощениях изобретения поставленная задача решается тем, что узел может содержать дополнительное замыкающее кольцо, установленное между нажимным элементом и теплоотводящим кольцом.
Целесообразно, чтобы опорный элемент был выполнен в виде металлического кольца
В некоторых воплощениях изобретения данное металлическое кольцо может быть выполнено со скошенной верхней поверхностью.
Нажимной элемент может быть выполнен в виде грундбуксы, а втулка может быть выполнена из стали с нанесенным на нее диффузионным износостойким покрытием.
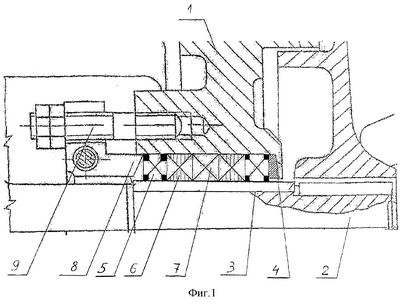
На фиг.1 приведена общая схема уплотнительного узла.
На фиг.2 приведена схема сальникового уплотнения.
На фиг 3 приведен разрез теплоотводящего кольца с расположением слоев перпендикулярно оси кольца.
На фиг.4 приведен разрез уплотнительного кольца с расположением слоев параллельно оси кольца.
Уплотнительный узел включает корпус 1 и вал 2. На валу установлена втулка 3. Втулка 3 может быть выполнена из стали Ст20 и подвергнута цементации или хромированию.
В корпусе 1 выполнена расточка, образующая совместно с втулкой 3 сальниковую камеру, в которой последовательно установлены опорный элемент 4, замыкающие элементы 5, теплоотводящие кольца 6, уплотнительные кольца 7 и грундбукса 8. Грундбукса снабжена затягивающей шпилькой 9.
В зависимости от того, устанавливается ли уплотнительный узел в новый насос или в уже эксплуатирующийся насос, используют разные виды опорных 4 и нажимных 8 элементов. Для новых насосов целесообразно использовать опорный элемент 4 в виде металлического кольца с параллельными торцевыми поверхностями (см. фиг.2). Соответственно, торцевые поверхности грундбуксы 8 также выполняются перпендикулярно поверхности вала.
Если же уплотнительный узел устанавливается на уже эксплуатировавшийся насос, то используют опорный элемент 4 в виде металлического кольца со скошенной верхней поверхностью, соответственно с откосом выполняют ответную часть расточки и торцевую поверхность грундбуксы 8.
Замыкающие кольца 5 выполняют из плетеной сальниковой набивки на основе терморасширенного графита ГРАФЛЕКС НУ 1140 GFO (из нитей материала ГРАФЛЕКС, армированных ХБ нитью, с угловой оплеткой из экспандированного графитонаполненного фторопласта с силиконовой пропиткой). Набивку плотно наматывают на вспомогательную втулку с диаметром, равным диаметру сальниковой втулки, и разрезают на кольца. Разрез выполняют под прямым углом к плоскости реза.
Использование плетеной набивки, содержащей нити терморасширенного графита и экспандированного фторопласта, например политетрафторэтилена, исключает выдавливание и вынос уплотнительного материала.
Теплоотводящие кольца 6, выполненные из чередующихся слоев терморасширенного графита 10 и металлической фольги 11, расположенных перпендикулярно оси кольца (см. фиг.3), позволяют обеспечить эффективный отвод тепла как за счет высокой теплопроводности, так и за счет высокой эффективности дросселирования рабочего давления и выравнивания удельной нагрузки по длине сальника. В качестве теплоотводящих колец используют сальниковые кольца марки КГН С по техническим условиям ТУ 5728-013-13267785-99.
Выполнение уплотнительных колец 7 со слоями терморасширенного графита, расположенными параллельно оси кольца (см. фиг.4) обеспечивает возможность выбирать зазоры при легком обжатии грундбуксой 8 в течение длительного времени (до 4 лет и более). В качестве уплотнительных колец используют сальниковые кольца марки КГН В по техническим условиям ТУ 5728-013-13267785-99.
Заявленное расположение колец, чередование графитовых слоев в кольцах параллельно оси колец и перпендикулярно ей позволяют добиться уникальной уплотняющей способности за счет существующей анизотропии свойств графитовой фольги на основе терморасширенного графита.
Изобретение осуществляется следующим образом.
Втулка 3 устанавливается на вал 2, после чего вал 2 запрессовывается в ступицу водяного насоса. В сальниковую камеру, образованную втулкой 3 и расточкой, в корпусе 1 последовательно устанавливаются: опорное подсальниковое кольцо 4, замыкающее кольцо 5, теплоотводящее кольцо 6, уплотнительные кольца 7 (одно, как на фиг.1, или два, как на фиг.2), теплоотводящее кольцо 6 (при необходимости), замыкающее кольцо 5 и грундбукса 8. Грундбукса 8 затягивается шпилькой 9 и надежно поджимает сальниковое уплотнение.
Уплотнительный узел в соответствии с изобретением обеспечивает надежную безремонтную эксплуатацию насоса в течение 2-4 лет эксплуатации в режиме «без прокапывания» при температуре среды не более 130°С и массовой доле механических примесей не более 1%, что достигается заявленным определенным сочетанием колец из терморасширенного графита.
Достигается экономия за год 7 тонн дорогостоящей дистиллированной воды с присадками на каждом тепловозе.
Формула изобретения
1. Уплотнительный узел вала центробежного насоса, включающий корпус, втулку, установленную на вал насоса, опорный и нажимной элементы, размещенные в расточке корпуса, и охватывающее втулку сальниковое уплотнение, размещенное в расточке корпуса между опорным и нажимным элементами, отличающийся тем, что сальниковое уплотнение выполнено в виде комплекта колец, содержащего замыкающее кольцо, примыкающее к опорному элементу, выполненное из плетеной набивки из нитей терморасширенного графита и экспандированного фторопласта, по меньшей мере, два теплоотводящих кольца, выполненных из чередующихся слоев терморасширенного графита и металлической фольги, расположенных перпендикулярно оси кольца, и, по меньшей мере, одно уплотнительное кольцо, расположенное между теплоотводящими кольцами и выполненное из слоев терморасширенного графита, расположенных параллельно оси кольца.
2. Узел по п.1, отличающийся тем, что содержит дополнительное замыкающее кольцо, установленное между нажимным элементом и теплоотводящим кольцом.
3. Узел по п.1, отличающийся тем, что опорный элемент выполнен в виде металлического кольца.
4. Узел по п.3, отличающийся тем, что металлическое кольцо выполнено со скошенной верхней поверхностью.
5. Узел по п.1, отличающийся тем, что нажимной элемент выполнен в виде грундбуксы.
6. Узел по п.1, отличающийся тем, что втулка выполнена из стали с нанесенным на нее диффузионным износостойким покрытием.
РИСУНКИ
|
|