|
|
(21), (22) Заявка: 2005115596/11, 23.05.2005
(24) Дата начала отсчета срока действия патента:
23.05.2005
(46) Опубликовано: 27.12.2006
(56) Список документов, цитированных в отчете о поиске:
RU 2163986 C1, 10.03.2001. RU 2154760 C1, 20.08.2000. US 5637047 A, 10.06.1997. EP 1498580 A2, 19.01.2005.
Адрес для переписки:
603006, г.Нижний Новгород, ул. М. Горького, 152А, кв.90, Н.А. Вахрамову
|
(72) Автор(ы):
Вахрамов Николай Александрович (RU)
(73) Патентообладатель(и):
Вахрамов Николай Александрович (RU)
|
(54) ГИДРОМЕХАНИЧЕСКОЕ УСТРОЙСТВО ДЛЯ НАТЯЖЕНИЯ ЦЕПИ
(57) Реферат:
Изобретение относится к области машиностроения, а именно к устройствам для натяжения цепи, и может найти применение в механизме привода распределительного вала двигателей внутреннего сгорания. Гидромеханическое устройство для натяжения цепи включает корпус в виде полого цилиндра, подвижную и образующую с корпусом плунжерную пару крышку с кольцевой канавкой, маслоподающим каналом и шариковым обратным клапаном, подпружиненный и образующий с корпусом вторую плунжерную пару плунжер с упорными элементами для образования монтажной капсулы и шагового механизма фиксации обратного хода. На наружной поверхности крышки со стороны плунжера дополнительно выполнена кольцевая проточка, связанная с внутренней полостью дроссельным отверстием, а в корпусе напротив канавки и проточки крышки выполнено маслоподающее отверстие, часть проходного сечения которого, расположенного напротив проточки, может перекрываться наружной поверхностью крышки. Технический результат – повышение работоспособности гидромеханического устройства. 1 з.п. ф-лы, 1 ил.
Изобретение относится к области машиностроения и может найти применение в механизме привода распределительного вала двигателей внутреннего сгорания.
Гидромеханическое устройство натяжения цепи предназначено для автоматического поддержания цепи в натянутом состоянии и демпфирования динамических нагрузок, возникающих при работе механизма привода распределительного вала. При этом совокупные максимальные усилия, необходимые для поддержания цепи в натянутом состоянии и возникающие при демпфировании, не должны приводить к интенсивному износу башмака натяжителя. Следует отметить – динамические нагрузки вызваны технологическими погрешностями изготовления цепи (неравномерность звеньев) и приводных звездочек распределительного вала.
Для компенсации этих нагрузок обычно используется гидравлический демпфер, состоящий из камеры, подпитываемой через обратный клапан из нагнетательной магистрали и перепускного дросселя. Требуемую жидкость гидравлического демпфера обеспечивают гидравлическим сопротивлением перепускного дросселя.
Известно гидромеханическое устройство для натяжения цепи (см., например, пат. ФРГ №3636918, кл. F 16 H 7/08, 1986 г.).
Устройство состоит из корпуса в виде полого цилиндра с основанием, внутри которого установлен подпружиненный плунжер, образующий с корпусом плунжерную пару. Наружный торец плунжера сопряжен с башмаком цепи, а противоположный имеет маслоподающий канал с обратным клапаном и образует с основанием корпуса демпфирующую камеру. Камера связана с маслоподающей магистралью системы смазки щелевым дросселем. Плунжерная пара имеет шаговый механизм фиксации обратного хода плунжера, состоящий из аксиального ряда кольцевых расточек на внутренней поверхности корпуса, и упорного кольца, расположенного в специальной канавке плунжера. Пружина в совокупности с усилием от давления масла обеспечивает перемещение плунжера и натяжение цепи. Динамические нагрузки от цепи через башмак и плунжер передаются на гидравлический демпфер. При этом следует отметить, что жесткость демпфирования связана с величиной гидравлического сопротивления щелевого дросселя. Известно, что щелевой дроссель имеет постоянное проходное сечение и, следовательно, его гидравлическое сопротивление находится в зависимости от температурного градиента масла. Это обстоятельство приводит к появлению градиента жесткости демпфирования. А именно, на «холодном» масле, в режиме жесткого демпфирования, происходит интенсивный износ башмака, а на «горячем» масле увеличивается амплитуда колебания цепи.
Для получения длительной работоспособности башмака необходимо подбирать пружину с минимально допустимым усилием. По мере износа башмака и растяжения цепи плунжер перемещается и силовое воздействие пружины ослабевает. В то же время корпус под воздействием давления системы смазки стремится к осевому перемещению, которому противодействует пружина плунжера. Когда силовое противодействие пружины становится недостаточным, корпус начинает перемещаться, выбирая свободный ход, и через шаговый механизм фиксации сопрягается с плунжером, в результате чего устройство единым блоком (плунжер, корпус) начинает компенсировать динамические нагрузки ударным способом, без участия щелевого дросселя плунжерной пары.
Известно гидромеханическое устройство для натяжения цепи капсульного типа (см., например, пат. РФ №2067232, М кл. F 16 H 7/08 от 03.04.1992 г.), содержащее корпус в виде полого цилиндра, крышку с резьбовым дросселем и каналом для подачи масла, шариковый обратный клапан, подпружиненный плунжер, образующий с корпусом плунжерную пару. При этом на наружной поверхности плунжера выполнена ступенчатая канавка специального профиля, где установлен упорный элемент, который может последовательно взаимодействовать с кольцевыми проточками корпуса, обеспечивая возможность аксиального перемещения плунжера только в одном направлении (шаговый механизм фиксации обратного хода). Кроме этого, на плунжере со стороны башмака цепи в специальной канавке установлено монтажное кольцо, которое в процессе транспортировки, т.е. при нерабочем состоянии устройства, запирает плунжер в корпусе с образованием капсулы. В рабочем состоянии монтажное кольцо остается в канавке плунжера.
Указанное техническое решение использовало для демпфирования резьбовой дроссель, который, как и щелевой, имеет постоянное проходное сечение, т.е. его гидравлическое сопротивление и соответственно жесткость демпфирования зависит от температуры масла. Это обстоятельство, как и в предыдущем случае, не позволяет устройству обеспечивать стабильные демпфирующие характеристики, не зависящие от температурного градиента, что приводит к снижению работоспособности устройства.
Дополнительно следует отметить, как и в предыдущем случае, при ослаблении силового воздействия пружины корпус под воздействием избыточного давления системы смазки перемещается и через шаговый механизм упирается в плунжер. Это нарушает процесс демпфирования и приводит к ударному сопряжению крышки с блоком или головкой блока цилиндров, что также способствует снижению работоспособности устройства.
Известно гидромеханическое устройство для натяжения цепи капсульного типа (см., например, пат. РФ №2163986, кл. F 16 Н 7/08 от 16.02.2000 г.).
Устройство состоит из корпуса в виде полого цилиндра, подвижной крышки корпуса с маслоподающим каналом и обратным клапаном. Внутри корпуса установлен подпружиненный плунжер с шаговым механизмом фиксации обратного хода. Шаговый механизм состоит из упорного кольца, расположенного в канавке плунжера, которое может взаимодействовать с рядом аксиальных расточек корпуса. Кроме этого, на плунжере со стороны рабочего торца в специальной канавке установлено монтажное кольцо, которое при нерабочем состоянии устройства запирает плунжер в корпусе с образованием монтажной капсулы. В рабочем состоянии монтажное кольцо остается в канавке плунжера. В качестве демпфера устройство использует дроссельное отверстие корпуса, которое может перекрываться наружной поверхностью крышки. Изменяя проходное сечение дроссельного отверстия, устройство автоматически может настраиваться на любой температурный режим двигателя.
Известно, что для получения плунжерного сопряжения с микронными зазорами необходимо хонингование или притирка внутренней поверхности корпуса. Это обстоятельство способствует забиванию дроссельного отверстия микроскопическими частицами, образовавшимися в процессе обработки, или частицами абразива. Очистка дроссельного отверстия приводит к появлению технологических сложностей и, как следствие, к удорожанию конструкции. Кроме этого, наличие температурного градиента по толщине стенки корпуса и длительная работа дросселя в застойном режиме способствуют его облитерации (заилиниванию) продуктами износа двигателя и шлаками самого масла. Это обстоятельство приводит к нарушению работоспособности устройства в целом. Дополнительно к изложенному следует добавить, что коническая поверхность на крышке напротив дроссельного отверстия усугубляет и ускоряет процесс его «забивания» микрочастицами, что также способствует снижению работоспособности.
Прототипом предлагаемого изобретения является гидромеханическое устройство для натяжения цепи по пат. РФ №2163986.
Целью предлагаемого изобретения является усовершенствование конструкции, повышение работоспособности и надежности.
Для этого необходимо разместить дроссельное отверстие в другом месте, где нет температурного градиента по толщине стенки, а также увеличить проходное сечение перекрываемого дросселя, что позволяет исключить явление облитерации.
Указанная цель достигается тем, что в известном гидромеханическом устройстве для натяжения цепи, содержащем корпус в виде полого цилиндра, подвижную и образующую с корпусом плунжерную пару, крышку корпуса с кольцевой канавкой, маслоподающим каналом и шариковым обратным клапаном, подпружиненный и образующий с корпусом вторую плунжерную пару, плунжер с упорными элементами для образования монтажной капсулы и шагового механизма фиксации обратного хода, на наружной поверхности крышки со стороны плунжера дополнительно выполнена кольцевая проточка, связанная с внутренней полостью дроссельным отверстием, а в корпусе напротив канавки и проточки крышки выполнено маслоподающее отверстие, часть проходного сечения которого, расположенного напротив проточки, может перекрываться наружной поверхностью крышки, кроме этого, в корпусе напротив канавки крышки дополнительно выполнена кольцевая расточка треугольного профиля с кольцевым элементом, который может сопрягаться с боковыми поверхностями канавки.
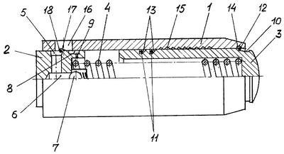
На чертеже изображен общий вид гидромеханического устройства для натяжения цепи.
Устройство содержит корпус 1, крышку 2 и плунжер 3 с пружиной 4. Крышка 2 имеет кольцевую канавку 5, маслоподающий канал 6, шариковый обратный клапан 7, кольцевую проточку 8 и дроссельное отверстие 9. На плунжере 3 в специальных канавках 10, 11 установлены упругие кольцевые элементы соответственно 12, 13. Кольцевой элемент 12 и расточка 14 корпуса 1 могут образовывать монтажную капсулу, а кольцевой элемент 13 и расточка 15 – шаговый механизм фиксации обратного хода.
Корпус 1 имеет маслоподающее отверстие 16, расточку 17 с кольцевым элементом 18. Кольцевой элемент 18 и расточка 17 ограничивают осевое перемещение крышки 2. Крышка 2 при аксиальном перемещении может перекрывать часть проходного сечения отверстия 16, расположенного напротив проточки 8.
Гидромеханическое устройство работает следующим образом. Перед монтажом устройства в изделие плунжер 3 зафиксирован в корпусе 1 посредством кольцевого элемента 12 и расточки 14. После установки устройства в изделие плунжер 3 дефиксируется и пружина 4 через плунжер 3 натягивает цепь. При этом кольцевой элемент 13 занимает положение или в одной из расточек 15 корпуса 1, или между расточками. После запуска, например, механизма газораспределения динамические нагрузки от привода распределительного вала начинают перемещать плунжер 3, кольцевой элемент 13, корпус 1 к крышке 2. При этом масло из внутренней полости через дроссельное отверстие 9, проточку 8 и маслоподающее отверстие 16 дросселируется в систему смазки, обеспечивая плавное демпфирование динамических нагрузок. Если гидравлического сопротивления дросселя 9 не хватает для обеспечения режима плавного демпфирования, то происходит автоматическое увеличение гидравлического сопротивления путем уменьшения проходного сечения сегмента отверстия 16, расположенного напротив проточки 8. Уменьшение проходного сечения сегмента отверстия 16 происходит за счет его перекрытия наружной поверхностью крышки 2. Таким образом, происходит автоматическая настройка демпфирующей системы на безударный режим работы. Потери масла компенсируются из системы смазки двигателя через маслоподающий канал 6 и шариковый обратный клапан 7. Размещение дроссельного отверстия 9 в проточке 8, где практически отсутствует температурный градиент, позволяет исключить возможность его облитерации. Вероятность заиливания сегмента маслоподающего отверстия практически сведена к нулю за счет его большого проходного сечения.
Таким образом, предложенное конструктивное решение исключило облитерацию дросселя и обеспечило мягкое демпфирование динамических нагрузок на любых режимах работы двигателя, что повысило надежность и работоспособность гидромеханического устройства для натяжения цепи.
Формула изобретения
1. Гидромеханическое устройство для натяжения цепи, содержащее корпус в виде полого цилиндра, подвижную и образующую с корпусом плунжерную пару крышку с кольцевой канавкой, маслоподающим каналом и шариковым обратным клапаном, подпружиненный и образующий с корпусом вторую плунжерную пару плунжер с упорными элементами для образования монтажной капсулы и шагового механизма фиксации обратного хода, отличающееся тем, что на наружной поверхности крышки со стороны плунжера дополнительно выполнена кольцевая проточка, связанная с внутренней полостью дроссельным отверстием, а в корпусе напротив канавки и проточки крышки выполнено маслоподающее отверстие, часть проходного сечения которого, расположенного напротив проточки, может перекрываться наружной поверхностью крышки.
2. Гидромеханическое устройство по п.1, отличающееся тем, что в корпусе напротив канавки крышки дополнительно выполнена кольцевая расточка треугольного профиля с кольцевым элементом, который может сопрягаться с боковыми поверхностями канавки.
РИСУНКИ
PC4A – Регистрация договора об уступке патента СССР или патента Российской Федерации на изобретение
Прежний патентообладатель:
Вахрамов Николай Александрович
(73) Патентообладатель:
Общество с ограниченной ответственностью Научно-производственное предприятие “Люкс-Сервис”
(73) Патентообладатель:
Вахрамов Николай Александрович
Договор № РД0024015 зарегистрирован 10.07.2007
Извещение опубликовано: 20.08.2007 БИ: 23/2007
MM4A – Досрочное прекращение действия патента СССР или патента Российской Федерации на изобретение из-за неуплаты в установленный срок пошлины за поддержание патента в силе
Дата прекращения действия патента: 24.05.2009
Извещение опубликовано: 20.10.2010 БИ: 29/2010
|
|