|
|
(21), (22) Заявка: 2004129924/06, 14.10.2004
(24) Дата начала отсчета срока действия патента:
14.10.2004
(43) Дата публикации заявки: 20.03.2006
(46) Опубликовано: 27.12.2006
(56) Список документов, цитированных в отчете о поиске:
RU 2193116 С2, 20.11.2002. RU 2030642 C1, 10.03.1995. RU 2116519 C1, 27.07.1998. SU 767393 A, 30.09.1980. US 5129452 A, 14.07.1992. US 2858093 A, 28.10.1958. US 4004326 А, 25.01.1977.
Адрес для переписки:
625039, г.Тюмень, ул. Мельникайте, 44А/1, ОАО “Техника и технология добычи нефти”, исполнительному директору В.А. Ведерникову
|
(72) Автор(ы):
Кудин Владимир Григорьевич (RU), Маршалок Тарас Михайлович (RU), Мухамадеев Георгий Рашитович (RU)
(73) Патентообладатель(и):
ОАО “Техника и технология добычи нефти” (RU)
|
(54) ПОГРУЖНОЙ ЦЕНТРОБЕЖНЫЙ НАСОСНЫЙ АГРЕГАТ
(57) Реферат:
Изобретение относится к нефтяному машиностроению и может быть использовано в погружных центробежных насосных агрегатах в модульном исполнении для добычи нефти из наклонно направленных и искривленных скважин. Для защиты кабеля от механических повреждений на фланцевые соединения модулей насосного агрегата установлены страховочные муфты с опорными поверхностями, состоящие из двух полумуфт, шарнирно соединенных и скрепленных между собой винтом с усиками с последующим их отгибом. Для скрепления полумуфт в одной из них вместо сквозного отверстия выполнены резьба и отверстие на глубину, достаточную для размещения в нем винта с резьбовой частью. В опорных поверхностях полумуфт выполнены пазы для размещения в них гаек или болтов, крепящих фланцевые соединения модулей, на периферийной продольной части каждой полумуфты выполнены фигурные ребра, образующие при скреплении их паз для размещения в нем кабеля. Паз обеспечивает защиту кабеля от механических повреждений и исключает перемещение кабеля в страховочной муфте под действием его веса, что повышает надежность агрегата. 3 ил.
Изобретение относится к нефтяному машиностроению и может быть использовано в погружных центробежных насосных агрегатах в модульном исполнении для добычи нефти из наклонно направленных и искривленных скважин.
Известен погружной центробежный насосный агрегат в модульном исполнении, содержащий погружной электродвигатель с гидрозащитой и кабелем, входной модуль, насосные секции и модуль-головку, соединенные между собой посредством фланцевых соединений, и валы модулей, соединенные посредством шлицевых соединений (Установки погружных центробежных насосов в модульном исполнении. Каталог, Москва, ЦИНТИХИМНЕФТЕМАШ, 1990, с.3-8).
Недостатком известного насосного агрегата серийного производства является низкая его надежность при эксплуатации в наклонно направленных и искривленных скважинах, в которых:
при спуске – насосный агрегат с кабелем при прохождении участков ствола с темпами набора кривизны, когда он не вписывается в ствол, изгибается и перемещается с трением о стенку обсадной колонны, кабель, прижатый насосным агрегатом к обсадной колонне, механически повреждается;
при работе – в насосном агрегате, размещенном в интервале подвески ствола с изгибом, в результате смещения центра тяжести вращающихся масс возникают поперечные вибрации, переходящие в вибрации с повышенной амплитудой колебаний (резонанс), под действием которых кабель, зажатый между изогнутой частью насосного агрегата и стенкой обсадной колонны, интенсивно циклически деформируется и механически повреждается, при недостаточной жесткости соединений модулей и корпусных деталей происходит их обрыв вместе с кабелем и падение оторванных частей на забой скважины.
Известен наиболее близкий к изобретению погружной центробежный насосный агрегат в модульном исполнении (RU 2193116 С2, 7 F 04 D 13/10, 26.07.2000, прототип), содержащий погружной электродвигатель с гидрозащитой и кабелем, входной модуль, насосные секции и модуль-головку, соединенные между собой посредством фланцевых соединений, и валы модулей, соединенные посредством шлицевых соединений, на фланцевые соединения насосного агрегата установлены страховочные муфты с опорными поверхностями, состоящими из двух полумуфт, шарнирно соединенных и скрепленных между собой посредством винта с усиками, для скрепления полумуфт в одной из них выполнены резьба и отверстие на глубину, достаточную для размещения в нем винта с резьбовой частью, в опорных поверхностях полумуфт выполнены пазы для размещения в них гаек или болтов, крепящих фланцевые соединения.
Недостатком данного насосного агрегата является низкая надежность кабеля при эксплуатации в наклонно направленных и искривленных скважинах, в которых:
при спуске – насосный агрегат с кабелем при прохождении участков ствола с темпами набора кривизны, когда он не вписывается в ствол, изгибается и перемещается с трением о стенку обсадной колонны, кабель, прижатый насосным агрегатом к обсадной колонне, механически повреждается;
при работе – в насосном агрегате, размещенном в интервале подвески ствола с изгибом, в результате смещения центра тяжести вращающихся масс возникают поперечные вибрации с небольшой амплитудой колебаний, не переходящие в резонанс из-за повышенной жесткости соединений модулей, где установлены муфты, под действием которых кабель, зажатый между изогнутой частью насосного агрегата и стенкой обсадной колонны, интенсивно циклически деформируется и механически повреждается.
Задачей изобретения является повышение надежности кабеля насосного агрегата при эксплуатации его в наклонно направленных и искривленных скважинах за счет увеличения жесткости соединений модулей, уменьшающих амплитуду колебаний, и защиты кабеля от механических повреждений путем установки на соединения модулей страховочных муфт.
Технический результат достигается тем, что в погружном центробежном насосном агрегате в модульном исполнении, содержащем погружной электродвигатель с гидрозащитой и кабелем, входной модуль, насосные секции и модуль-головку, соединенные между собой посредством фланцевых соединений, и валы модулей, соединенные посредством шлицевых соединений, на фланцевые соединения насосного агрегата установлены страховочные муфты с опорными поверхностями, состоящие из двух полумуфт, шарнирно соединенных и скрепленных между собой посредством винта с усиками, для скрепления полумуфт в одной из них выполнены резьба и отверстие на глубину, достаточную для размещения в нем винта с резьбовой частью, в опорных поверхностях полумуфт выполнены пазы для размещения в них гаек или болтов, крепящих фланцевые соединения, согласно изобретению на периферийной продольной части каждой полумуфты выполнены фигурные ребра, образующие при скреплении их паз для размещения в нем кабеля, исключающий соприкосновение кабеля со стенкой обсадной колонны и перемещение кабеля в страховочной муфте под действием его веса.
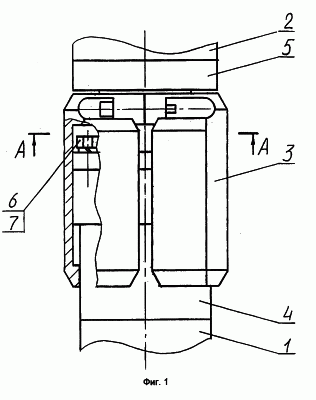
Предлагаемый насосный агрегат поясняется чертежами, где на фиг.1 изображена страховочная муфта, установленная на одном из фланцевых соединений, например, на фланцевом соединении насосных секций 1 и 2 агрегата, общий вид; на фиг.2 – страховочная муфта, вид сверху; на фиг.3 – разрез страховочной муфты А-А на фиг.1.
Насосный агрегат в модульном исполнении состоит из погружного электродвигателя, гидрозащиты и кабеля, входного модуля (не показаны), насосных секций 1 и 2 и модуля-головки (не показаны), соединенных между собой посредством фланцевых соединений, а валы модулей, соединенных посредством шлицевых соединений (не показаны), на фланцевые соединения модулей установлены страховочные муфты 3.
Фланцевое соединение насосных агрегатов 1 и 2 состоит из головки 4 насосной секции 1, основания 5 насосной секции 2, скрепленных между собой болтами 6 с шайбами 7.
Страховочная муфта состоит из полумуфт 8 и 9, шарнирно соединенных между собой осью 10 и скрепленных винтом 11 с усиками, периферийных ребер 12 и паза 13, выполненных заодно с полумуфтами 8 и 9.
Насосный агрегат со страховочными муфтами работает следующим образом.
При монтаже на скважине на фланцевые соединения сочлененных насосных секций 1 и 2 в сборе с кабелем надеваются страховочные муфты в развернутом виде с предварительно утопленным в полумуфту 8 винтом 11, полумуфты 8 и 9 охватывают фланцевое соединение до размещения кабеля в пазу 13 и стягиваются винтом 11 до обеспечения деформации кабеля в упругой области стенками периферийных ребер 12 с последующим отгибанием усиков винта, препятствующих самоотвинчиванию его под действием вибрации.
Насосный агрегат в сборе с кабелем и страховочными муфтами опускают в скважину на насосно-компрессорных трубах до места его подвески в скважине и запускают в работу.
Насосный агрегат в сборе с кабелем и страховочными муфтами при прохождении участков ствола с темпами набора кривизны, когда он не вписывается в ствол, изгибается и перемещается с трением со стенкой обсадной колонны, при этом кабель, находящийся в закрытом пазу 13 страховочной муфты, не соприкасается с обсадной колонной и механически не повреждается.
Пазы 14 в опорных поверхностях полумуфт 8 и 9 при контакте с размещенными в них головками болтов 6 предотвращают поворот страховочной муфты относительно оси насосного агрегата.
При работе в насосном агрегате, размещенном в интервале подвески ствола с изгибом, фланцевые соединения насосных секций со страховочными муфтами повышенной жесткости за счет дополнения их фигурными ребрами препятствуют вхождению соединений в резонанс и снижают амплитуду вибраций. Кабель, находящийся в закрытом пазу страховочной муфты не соприкасается при вибрации с обсадной колонной и механически не повреждается.
Использование предлагаемого насосного агрегата повышает его наработку до отказа, предотвращает аварии, связанные с обрывом (“полетом”) модулей насосного агрегата, и сокращает материальные затраты на ликвидацию “полетов”.
Формула изобретения
Погружной центробежный насосный агрегат в модульном исполнении, содержащий погружной электродвигатель с гидрозащитой, входной модуль, насосные секции и модуль-головку, соединенные между собой посредством фланцевых соединений, и валы модулей, соединенные посредством шлицевых соединений, на фланцевые соединения насосного агрегата установлены страховочные муфты с опорными поверхностями, состоящими из двух полумуфт, шарнирно соединенных и скрепленных между собой посредством винта с усиками, для скрепления полумуфт в одной из них выполнены резьба и отверстие на глубину, достаточную для размещения в нем винта с резьбовой частью, в опорных поверхностях полумуфт выполнены пазы для размещения в них гаек или болтов, крепящих фланцевые соединения, отличающийся тем, что на периферийной продольной части каждой полумуфты выполнены фигурные ребра, образующие при скреплении их паз для размещения в нем кабеля.
РИСУНКИ
MM4A – Досрочное прекращение действия патента СССР или патента Российской Федерации на изобретение из-за неуплаты в установленный срок пошлины за поддержание патента в силе
Дата прекращения действия патента: 15.10.2008
Извещение опубликовано: 27.01.2010 БИ: 03/2010
NF4A – Восстановление действия патента СССР или патента Российской Федерации на изобретение
Дата, с которой действие патента восстановлено: 27.01.2010
Извещение опубликовано: 27.01.2010 БИ: 03/2010
PC4A – Регистрация договора об уступке патента СССР или патента Российской Федерации на изобретение
Прежний патентообладатель:
Открытое акционерное общество “Техника и технология добычи нефти”
(73) Патентообладатель:
Попов Вячеслав Эдуардович
Договор № РД0061049 зарегистрирован 27.02.2010
Извещение опубликовано: 10.04.2010 БИ: 10/2010
|
|