|
|
(21), (22) Заявка: 2004100347/06, 05.01.2004
(24) Дата начала отсчета срока действия патента:
05.01.2004
(43) Дата публикации заявки: 10.06.2005
(46) Опубликовано: 27.12.2006
(56) Список документов, цитированных в отчете о поиске:
RU 2078980 С1, 10.05.1997. RU 2027050 C1, 20.01.1995. RU 2015407 С1, 30.06.1994. SU 971116 A3, 30.10.1982. DE 19517578 A1, 16.11.1995. US 5749717 А, 12.05.1998. US 5715795 A, 10.02.1998. DE 19732447 A1, 14.10.1997.
Адрес для переписки:
390014, г.Рязань, Военный автомобильный институт, НИО, А.Д. Герасимову
|
(72) Автор(ы):
Невдах Михаил Александрович (RU), Камышенцев Юрий Иванович (RU), Швец Эльмир Александрович (RU), Герасимов Александр Дмитриевич (RU), Рябцовских Иван Васильевич (RU), Стрельцов Алексей Игоревич (RU)
(73) Патентообладатель(и):
Военный автомобильный институт (RU)
|
(54) СИСТЕМА ДЛЯ ПОДАЧИ ТОПЛИВА В ДИЗЕЛЬ
(57) Реферат:
Изобретение относится к двигателестроению, в частности к системам для подачи топлива в дизель. Изобретение позволяет оптимизировать процесс топливоподачи в камеру сгорания с целью улучшения протекания процессов смесеобразования и сгорания и, как следствие, увеличить мощность и экономичность двигателя, уменьшить дымность и токсичность отработавших газов на различных режимах его работы. Система для подачи топлива в дизель содержит насос высокого давления, топливопровод высокого давления, форсунку с запорным органом, пружиной и подвижным элементом, выполненным в виде поршня, размещенного в гидравлической камере. В поршне выполнено дросселирующее отверстие. Гидравлическая камера соединена трубопроводом с цилиндром, в котором установлен плунжер, имеющий осевое и радиальное отверстия. Со стороны трубопровода плунжер подпружинен, а с другой стороны в плунжер упирается муфта центробежного измерителя частоты вращения коленчатого вала, содержащая центробежные грузы, выполненные в виде стальных шаров, плоскую тарелку, изготовленную вместе с муфтой, коническую тарелку, жестко соединенную с валом привода. Вал привода получает вращение от шестерни коленчатого вала, а в цилиндре выполнено боковое отверстие, соединенное трубопроводом с гидравлическим устройством, содержащим редукционный клапан, смазочный насос с приводом от электродвигателя постоянного тока. Подача масла в смазочный насос производится из смазочной емкости. Включение электродвигателя постоянного тока производится с помощью электрического включателя. 1 ил.
Изобретение относится к системам для подачи топлива в дизель и может быть использовано в области двигателестроения.
Известна система для подачи топлива в дизель (патент РФ №2078980, МПК F 02 M 47/02, 1997 г.), содержащая насос высокого давления, топливопровод, форсунку с запорным органом, пружиной, подвижным элементом, выполненным в виде поршня, размещенного в гидравлической камере, при этом в форсунке выполнен канал, соединяющий гидравлическую камеру с кольцевой проточкой на направляющей распылителя.
Однако известная система не обеспечивает оптимального регулирования давления впрыскиваемого топлива на различных режимах работы дизеля.
Величина давления впрыскивания топлива определяет дальнобойность факела, а также степень распыливания топлива [1]. Первый параметр предопределяет степень охвата факелом пространства камеры сгорания, т.е. обуславливает характер макросмесеобразования. Дисперсность распыленного топлива наряду с параметрами факела в значительной степени определяет динамику испарения топлива в цилиндре двигателя, являющейся важной характеристикой смесеобразования, от которой зависит динамика сгорания топлива.
Перед пуском дизеля давление топлива в топливном канале и в гидравлической камере отсутствует, следовательно, давление начала впрыскивания топлива будет соответствовать предварительной затяжке пружины иглы форсунки. Поэтому при пуске дизеля давление начала впрыскивания топлива будет незначительным, что в сочетании с недостаточной турбулизацией воздушного заряда в камере сгорания не обеспечит надежного распыливания и перемешивания топлива с воздухом, а значит произойдет несвоевременное самовоспламенение и сгорание рабочей смеси.
С целью уменьшения времени пуска двигателя, особенно в зимний период эксплуатации, угол опережения начала впрыскивания топлива при пусковой частоте вращения коленчатого вала, равный nк.в.=100-200 мин-1, должен уменьшаться таким образом, чтобы получить на данном режиме наименьшую продолжительность задержки самовоспламенения топлива. Это требование к системе подачи топлива в дизель у прототипа также не выполняется, так как при пуске дизеля предварительная затяжка пружины иглы форсунки будет наименьшей. Следовательно, топливо будет впрыскиваться со значительным опережением до прихода поршня в ВМТ на такте сжатия, что приведет к жесткой работе дизеля и, как следствие, к увеличенному износу его деталей.
При работе дизеля на режиме минимальной частоты вращения на холостом ходу усилие затяжки пружины иглы форсунки повышается незначительно, так как сила давления топлива, воздействующая на подвижный элемент форсунки, выполненный в виде поршня, также незначительна. Это объясняется как малой величиной цикловой подачи, так и небольшим давлением впрыскивания топлива, создаваемого топливным насосом высокого давления.
При повышении частоты вращения коленчатого вала двигателя увеличивается количество топлива, просачивающегося в полость размещения пружины иглы форсунки, как со стороны иглы, так и со стороны подвижного элемента, выполненного в виде поршня. Это приведет к уменьшению цикловой подачи топлива в цилиндр двигателя, к снижению мощности и экономичности дизеля, так как водитель вынужден будет чаще использовать пониженные передачи в коробке перемены передач. Величина давления впрыскивания топлива при увеличении частоты вращения коленчатого вала не должна увеличиваться как у прототипа [1, с.52, рис.1.16], так как это не соответствует требованию оптимизации впрыскивания топлива.
К недостаткам системы подачи топлива в дизель также относится снижение гидравлической плотности прецизионной пары (запорный орган – распылитель форсунки) вследствие необходимости подвода топлива к подвижному элементу из топливоподводящего канала форсунки. Для обеспечения этого условия необходимо увеличить зазор между запорным органом и распылителем форсунки на расстоянии от верхнего конуса запорного органа до кольцевой проточки на направляющей распылителя. Если же этот зазор не увеличивать, то из-за значительного гидравлического сопротивления быстродействие системы не будет обеспечено.
Надежная работа системы при переходе двигателя с одного режима на другой буде снижаться. Это объясняется тем, что при возрастании частоты вращения коленчатого вала и повышения нагрузки топливо не сразу поступит под необходимым давлением к подвижному элементу вследствие потерь давления при перетекании топлива по зазору между запорным органом и распылителем. Весьма малый зазор между запорным органом и распылителем форсунки, не превышающий нескольких микрометров, и достаточно большая длина сопряжения этих деталей, обуславливает незначительную утечку топлива и позволяет получить высокое рабочее давление. Но в то же время данная система не обеспечивает требуемую характеристику топливоподачи.
Технический результат направлен на оптимизацию процесса топливоподачи в камеру сгорания с целью улучшения протекания процессов смесеобразования и сгорания и, как следствие, увеличение мощности и экономичности двигателя на различных режимах его работы.
Технический результат достигается тем, что в системе для подачи топлива в дизель, содержащая насос высокого давления, топливопровод высокого давления, форсунку с запорным органом, пружиной и подвижным элементом, выполненным в виде поршня, размещенного в гидравлической камере, согласно изобретению в поршне выполнено дросселирующее отверстие, а гидравлическая камера соединена трубопроводом с цилиндром, в котором установлен плунжер, имеющий осевое и радиальное отверстия, причем со стороны трубопровода плунжер подпружинен, а с другой стороны в плунжер упирается муфта центробежного измерителя частоты вращения коленчатого вала, содержащая центробежные грузы, выполненные в виде стальных шаров, плоскую тарелку, изготовленную вместе с муфтой, коническую тарелку, жестко соединенную с валом привода, при этом вал привода получает вращение от шестерни коленчатого вала, а в цилиндре выполнено боковое отверстие, соединенное трубопроводом с гидравлическим устройством, содержащим редукционный клапан, смазочный насос с приводом от электродвигателя постоянного тока, причем подача масла в смазочный насос производится из смазочной емкости, а включение электродвигателя постоянного тока производится с помощью электрического включателя.
Отличительными признаками от прототипа является то, что в системе для подачи топлива в дизель в поршне выполнено дросселирующее отверстие, а гидравлическая камера соединена трубопроводом с цилиндром, в котором установлен плунжер, имеющий осевое и радиальное отверстия, причем со стороны трубопровода плунжер подпружинен, а с другой стороны в плунжер упирается муфта центробежного измерителя частоты вращения коленчатого вала, содержащего центробежные грузы, выполненные в виде стальных шаров, плоскую тарелку изготовленную вместе с муфтой, коническую тарелку жестко соединенную с валом привода, при этом вал привода получает вращение от шестерни коленчатого вала, а в цилиндре выполнено боковое отверстие, соединенное трубопроводом с гидравлическим устройством, содержащим редукционный клапан, смазочный насос с приводом or электродвигателя постоянного тока, причем подача масла в смазочный насос производится из смазочной емкости, а включение электродвигателя постоянного тока производится с помощью электрического включателя.
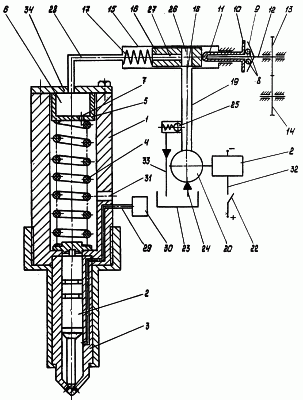
На чертеже изображена система для подачи топлива в дизель. Система для подачи топлива в дизель содержит форсунку 1 с запорным органом 2, установленным в распылителе 3, пружину 4, предназначенную для нагружения запорного органа 2, подвижный элемент 5, выполненный в виде поршня, расположенного в гидравлической камере 6. В подвижном элементе 5 выполнено дросселирующее отверстие 7, которое обеспечивает постоянную циркуляцию масла через гидравлическую камеру 6, а также быстрое вытекание масла из гидравлической камеры 6 при повышенной частоте вращения коленчатого вала с целью уменьшения жесткости пружины 4 запорного органа 2 форсунки 1.
В систему для подачи топлива в дизель также включены центробежный измеритель частоты вращения коленчатого вала двигателя и гидравлическое устройство, регулирующее подачу масла в гидравлическую камеру 6 в зависимости от частоты вращения коленчатого вала.
Центробежный измеритель частоты вращения коленчатого вала двигателя содержит центробежные грузы 8, размещенные между плоской тарелкой 10 и конусной тарелкой 9, выполненной совместно с муфтой 11. Плоская тарелка 10 выполнена совместно с валом привода 12, жестко соединенным с шестерней 13, приводимой во вращение от шестерни 14 коленчатого вала.
Гидравлическое устройство, регулирующее подачу масла в гидравлическую камеру 6, состоит из цилиндра 15, в котором находятся золотник 16 и возвратная пружина 17. В цилиндре 15 выполнено боковое отверстие 18, соединенное трубопроводом 19 со смазочным насосом 20, приводимым во вращение от электродвигателя постоянного тока 21.
Включение электродвигателя 21 в работу производится с помощью электрического включателя 22. Смазочный насос 20 обеспечивает подачу масла из смазочной емкости 23 через трубопровод 24. В трубопроводе 19 установлен редукционный клапан 25, который поддерживает постоянное давление масла в трубопроводе 19.
В золотнике 16 выполнены радиальное 26 и осевое 27 отверстия. Цилиндр 15 соединен трубопроводом 28 с гидравлической камерой 6.
Форсунка 1 сообщается через трубопровод 29 с насосом высокого давления 30. К верхней части форсунки 1 крепится крышка 34.
Изменением давления клапана 25, передаточного отношения шестерен 13 и 14, жесткости пружины 15 золотника 16 можно изменять давление начала впрыскивания топлива и угол опережения впрыскивания, то есть параметры, влияющие на протекание процессов смесеобразования и сгорания и, как следствие, оптимизировать мощностные и экономические показатели двигателя и повысить надежность его работы.
Система для подачи топлива в дизель работает следующим образом.
Перед пуском двигателя водитель замыкает контакты электрического включателя 22. При этом электрический ток от положительного полюса источника постоянного тока поступает через электрическую цепь 32 на обмотки электродвигателя постоянного тока 21. Вращение от вала электродвигателя 21 передается па шестерни смазочного насоса 20, который создает определенное давление масла, ограничиваемое редукционным клапаном 25, в трубопроводе 19, в каналах 26 и 27 золотника 16, в трубопроводе 28 и в гидравлической камере 26.
Поскольку коленчатый вал двигателя не вращается, то не будут вращаться шестерни 13, 14 и вал 12 центробежного измерителя частоты вращения коленчатого вала. Под действием силы упругости пружины 17 золотник 16 и муфта 11 будут находиться в крайнем правом положении, а центробежные грузы 8, выполненные в виде стальных шаров, будут смешены к центру оси вращения вала 12. Так как золотник 16 находится в крайнем правом положении, то сечения трубопровода 19 и радиального канала 26 полностью совпадают. Следовательно, местных гидравлических потерь в этой зоне возникать не будет, а значит не будет и потерь давления масла. Под действием давления масла подвижный элемент, выполненный в виде поршня 5, опустится вниз. При этом усилие предварительной затяжки пружины 4 возрастет. Часть потока масла будет сливаться через открытый редукционный клапан 25 и магистраль 33 в смазочную емкость 23, а другая часть потока масла из гидравлической камеры 6 через дросселирующее отверстие 7, выполненное в поршне 5, будет стекать в полость размещения пружины 4, а из этой полости через отверстие 31, выполненное в форсунке 1, под крышку головки блока цилиндров и далее в смазочную емкость 23. При протекании масла через полость размещения пружины 4 форсунки 1 последняя охлаждается, что исключает зависание запорного органа 2 в распылителе 3.
Таким образом, перед пуском дизеля задается максимальное предварительное сжатие пружины 4, что обеспечивает увеличение давления начала впрыскивания топлива. Следовательно, будут созданы оптимальные условия для перемешивания топлива с воздухом в цилиндре при проворачивании коленчатого вала стартером.
Это объясняется тем, что при повышении давления впрыскивания топлива уменьшаются размеры капель и улучшается охват ими всего объема камеры сгорания. Вследствие увеличения давления впрыскивания распад струй топлива происходит при его истечении через распыливающие отверстия с высокой скоростью. При этом увеличивается и трение топлива о стенки распыливаюших отверстий, а следовательно, и турбулизация внутри струй топлива также возрастает.
Вследствие увеличения давления впрыскивания топливо в камеру сгорания будет впрыскиваться позже, то есть угол опережения впрыскивания топлива уменьшается. Следовательно, выполняется одно из требований к системам подачи топлива в дизель [1].
При незначительном увеличении частоты вращения коленчатого вала давление впрыскивания топлива целесообразно уменьшить, так как на данном режиме увеличивается как скорость воздушных вихрей в камере сгорания, так и скорость вытекающего из распыливаюших отверстий топлива вследствие увеличения скорости движения плунжера секции насоса высокого давления. В случае увеличения частоты вращения коленчатого вала увеличиваются и частоты вращения как шестерен 13, 14, так и центробежных грузов 8, которые под действием центробежных сил начинают расходиться и перемещают муфту 11 и золотник 16 влево. При этом происходит смещение радиального отверстия 26 золотника 16 относительно бокового отверстия 18, выполненного в цилиндре 15. Вследствие увеличения гидравлического сопротивления из-за перекрытия бокового отверстия 18 золотником 16 давление в радиальном 26 и осевом 27 каналах золотника 16, в трубопроводе 28 и в гидравлической камере 6 начинает снижаться, поршень 5 под действием пружины 4 поднимается вверх, жесткость пружины 4 уменьшается.
Так как жесткость пружины 4 уменьшается, то давление начала впрыскивания топлива тоже уменьшается, а угол опережения впрыскивания топлива увеличивается. Это обстоятельство является необходимым условием для оптимизации процесса смесеобразования и сгорания в дизелях.
При работе дизеля на режиме максимальной частоты вращения коленчатого вала центробежные силы, действующие на грузы 8, будут максимальными и поэтому золотник 16 сместится влево также на максимальную величину и корпус золотника 16 полностью перекроет боковое отверстие 18 в цилиндре 15. Давление масла, действующее на поршень 5, уменьшится вследствие перетекания масла из гидравлической камеры 6 через дросселирующее отверстие 7 поршня 5 в полость размещения пружины 4 иглы 2 и поршень 5 переместится вверх до упора в крышку 34 форсунки 1 Вследствие уменьшения давления масла, действующего на поршень 5, уменьшится жесткость пружины 4 и соответственно уменьшится давление начала впрыскивания топлива, а угол опережения топлива увеличится. Оба эти фактора оптимизируют протекание процесса сгорания, что способствует повышению мощности и экономичности дизеля и снижению токсичности отработавших газов.
Таким образом, заявляемая система подачи топлива в дизель при увеличении частоты вращения коленчатого вала уменьшает давление начала впрыскивания топлива, увеличивает угол опережения впрыскивания и обеспечивает масляное охлаждение форсунки. Данная система обладает следящим действием, так как определенной частоте вращения коленчатого вала соответствуют определенное давление начала впрыскивания топлива и угол опережения впрыскивания. Система обладает лучшей надежностью в работе по сравнению с прототипом.
Следовательно, заявляемая система подачи топлива в дизель оптимизирует процесс топливоподачи на различных скоростных режимах работы двигателя [1], в частности давление начала впрыскивания топлива и угол опережения впрыскивания. У топливных систем нашедших наибольшее распространение в дизелях привод плунжеров осуществляется от кулачкового вала топливного насоса высокого давления, имеющего жесткую кинематическую связь с коленчатым валом двигателя. Это приводит к уменьшению давления впрыскивания при уменьшении частоты вращения коленчатого вала вследствие падения средней скорости движения плунжера. Падение давления впрыскивания наблюдается у плунжерно-золотниковых систем также при работе на частичных нагрузочных режимах при уменьшении активности хода плунжера, что связано в основном с влиянием сжимаемости топлива, В то же время выполнение условий оптимазиции давления впрыскивания топлива позволяет уменьшить топливную экономичность дизеля на 2-7% в широком диапазоне режимов его работы [1].
Заявляемая система обеспечивает не только изменение давления впрыскивания топлива в зависимости от изменения частоты вращения коленчатого вала, но и выполняет функцию муфты опережения впрыскивания топлива.
Источник информации
1. Б.Н.Файнлеб. Топливная аппаратура автотракторных дизелей. Справочник. – Л.: Машиностроение. 1974. – 263 с.
Формула изобретения
Система для подачи топлива в дизель, содержащая насос высокого давления, топливопровод высокого давления, форсунку с запорным органом, пружиной и подвижным элементом, выполненным в виде поршня, размещенного в гидравлической камере, отличающаяся тем, что в поршне выполнено дросселирующее отверстие, а гидравлическая камера соединена трубопроводом с цилиндром, в котором установлен плунжер, имеющий осевое и радиальное отверстия, причем со стороны трубопровода плунжер подпружинен, а с другой стороны в плунжер упирается муфта центробежного измерителя частоты вращения коленчатого вала, содержащего центробежные грузы, выполненные в виде стальных шаров, плоскую тарелку, изготовленную вместе с муфтой, коническую тарелку, жестко соединенную с валом привода, при этом вал привода получает вращение от шестерни коленчатого вала, а в цилиндре выполнено боковое отверстие, соединенное трубопроводом с гидравлическим устройством, содержащим редукционный клапан, смазочный насос с приводом от электродвигателя постоянного тока, причем подача масла в смазочный насос производится из смазочной емкости, а включение электродвигателя постоянного тока производится с помощью электрического включателя.
РИСУНКИ
MM4A – Досрочное прекращение действия патента СССР или патента Российской Федерации на изобретение из-за неуплаты в установленный срок пошлины за поддержание патента в силе
Дата прекращения действия патента: 06.01.2008
Извещение опубликовано: 27.07.2009 БИ: 21/2009
|
|