|
|
(21), (22) Заявка: 2004107992/06, 18.03.2004
(24) Дата начала отсчета срока действия патента:
18.03.2004
(43) Дата публикации заявки: 27.09.2005
(46) Опубликовано: 27.12.2006
(56) Список документов, цитированных в отчете о поиске:
2093690 С1, 20.10.1997. RU 2093691 C1, 20.10.1997. RU 2095586 C1, 10.11.1997. GB 1298645 A, 06.12.1977. US 5664541 A, 09.09.1997.
Адрес для переписки:
390014, г.Рязань, Рязанский военный автомобильный институт, НИО, А.Д. Герасимову
|
(72) Автор(ы):
Новосадов Сергей Юрьевич (RU), Чиркин Денис Леонидович (RU), Неменков Виталий Сергеевич (RU), Лампартер Андрей Викторович (RU)
(73) Патентообладатель(и):
Рязанский военный автомобильный институт (RU)
|
(54) ДВИГАТЕЛЬ ВНУТРЕННЕГО СГОРАНИЯ
(57) Реферат:
Изобретение относится к машиностроению, в частности двигателестроению, и может найти применение в двигателях внутреннего сгорания. Двигатель внутреннего сгорания, содержащий цилиндр, головку цилиндров, в которой выполнена выемка с сопряженной подвижно с ней вставкой, ограничители перемещения, поршень, днище которого оснащено насадкой, взаимодействующей с выемкой головки цилиндров при движении поршня вверх, систему подачи энергоносителя, выхлопа отработавших газов, систему поджига в выемке головки цилиндров, при положении поршня в верхней мертвой точке, коленчатый вал и шатун, при этом выемка головки снабжена сопряженной с ней подвижно вставкой и ограничителями перемещения ее к поршню, причем выемка оснащена регулируемым упором и средством возврата вставки, выполненным в виде пружины, при этом выемка снабжена вставкой прямоугольного сечения с выполненным в ней конусным отверстием и устройством фиксации вставки в верхнем положении при воспламенении топлива. Изобретение обеспечивает улучшение динамических характеристик рабочего процесса. 1 ил.
Изобретение относится к машиностроению, в частности двигателестроению, и может найти применение в двигателях внутреннего сгорания.
Известен двигатель внутреннего сгорания (Авторское свидетельство РФ N 2093690, F 02 В 19/04, 1997), содержащий цилиндр, головку цилиндров, в которой выполнена выемка, поршень, днище которого оснащено насадкой, взаимодействующей с выемкой головки цилиндров при движении поршня вверх, систему подачи энергоносителя, выхлопа отработавших газов, систему поджига в выемке головки цилиндров, при положении поршня в верхней мертвой точке, коленчатый вал и шатун, при этом выемка головки снабжена сопряженной с ней подвижно вставкой и ограничителями перемещения ее к поршню, в выемке выполнены каналы, сообщающие ее с надпоршневой полостью, и она оснащена регулируемым упором и средством возврата вставки, до ограничителей, которое выполнено в виде пружины.
Недостатком данного механизма является то, что данная конструкция позволяет воспламенять основную горячую смесь только после преодоления поршнем верхней мертвой точки, кроме того, неравномерно распределяется фронт пламени по всему объему камеры сгорания, что негативно влияет на динамические характеристики рабочего процесса.
Технический результат направлен на улучшение динамических характеристик рабочего процесса.
Технический результат достигается тем, что двигатель внутреннего сгорания, содержащий цилиндр, головку цилиндров, в которой выполнена выемка с сопряженной подвижно с ней вставкой, ограничители перемещения, поршень, днище которого оснащено насадкой, взаимодействующей с выемкой головки цилиндров при движении поршня вверх, систему подачи энергоносителя, выхлопа отработавших газов, систему поджига в выемке головки цилиндров, при положении поршня в верхней мертвой точке, коленчатый вал и шатун, при этом выемка головки снабжена сопряженной с ней подвижно вставкой и ограничителями перемещения ее к поршню, причем выемка оснащена регулируемым упором и средством возврата вставки, выполненное в виде пружины, при этом выемка снабжена вставкой прямоугольного сечения с выполненным в ней конусным отверстием, и устройством фиксации вставки в верхнем положении при воспламенении топлива.
Отличительным признаком от прототипа является то, что выемка снабжена вставкой прямоугольного сечения, с выполненным в ней конусным отверстием и устройством фиксации вставки в верхнем положении при воспламенении топлива.
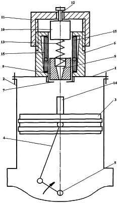
На чертеже изображен двигатель внутреннего сгорания.
Двигатель внутреннего сгорания содержит головку цилиндра 1, соединенную с блоком цилиндра 2, в котором размещен поршень 3, соединенный с шатуном 4 с коленчатым валом 5. Системы подачи энергоносителя и выхлопа отработанных газов условно не показаны, так как они не являются предметом заявки и могут быть такими, как они и имеются на существующих двигателях внутреннего сгорания. В головке 1 расположена выемка 6 с ограничителями 7 и вставкой 8, в которой выполнено конусное отверстие 9. В выемке 6 выполнено устройство фиксации 15 вставки в верхнем положении в виде двух прямоугольных пластин, соединенных с выемкой 6 шарнирно. Сверху выемка 6 имеет регулируемый упор 10, содержащий резьбовую втулку 11 и хвостовик 12, который предотвращает поворот упора 10 при регулировке. Между вставкой 8 и регулируемым упором 10 размещено средство возврата вставки 8 в виде пружины 13. На поршне 3 имеется насадка 14 на его днище. Насадка 14 свободно способна проходить между ограничителями 7 с зазором.
Двигатель работает следующим образом. После засасывания смеси при движении поршня 3 вниз он начинает двигаться вверх от вращающегося коленчатого вала 5, который передает движение на поршень 3. При этом происходят заполнение и постепенное сжатие горючей смеси, которая заполнила все пространство, включая и полость в выемке 6. Когда насадка 14 входит в выемку 6, перекрывая конусное отверстие 9, она начинает перемещать вставку 8 прямоугольного сечения, сжимая топливный заряд, заполнивший полость в выемке 6, давление повышается до вспышки смеси (процесс аналогичен процессу в дизелях). При возникновении избыточного давления в полости выемки 6 устройство фиксации 15 стопорит вставку в верхнем положении, а поршень 3, двигаясь вниз, открывает конусное отверстие 9, в результате чего возгорается смесь в надпоршневом пространстве в необходимый момент времени. В связи с этим давление в полости выемки 6 на устройство фиксации вставки 15 уменьшается и вставка 8 прямоугольного сечения перемещается пружиной до ограничителей 7, где она удерживается в крайнем нижнем положении до следующего цикла.
Регулировка момента воспламенения смеси осуществляется перемещением упора 10 от резьбовой втулки 11 (стопор условно не показан).
Таким образом, можно отрегулировать для получения вспышки смеси для любого типа горючего. Более того, можно нанести деления на резьбовой втулке 11 на разные типы горючего, такую маркировку желательно проводить на заводе.
Установка вставки 8 прямоугольного сечения и устройства фиксации 15 вставки в верхнем положении при возгорании топлива позволит производить поджиг топливной смеси в нужный момент времени, направляя фронт пламени в центр камеры сгорания, что обеспечивает равномерные динамические нагрузки на поршень.
Формула изобретения
Двигатель внутреннего сгорания, содержащий цилиндр, головку цилиндров, в которой выполнена выемка, с сопряженной подвижно с ней вставкой, ограничители перемещения, поршень, днище которого оснащено насадкой, взаимодействующей с выемкой головки цилиндров при движении поршня вверх, систему подачи энергоносителя, выхлопа отработавших газов, систему поджига в выемке головки цилиндров, при положении поршня в верхней мертвой точке, коленчатый вал и шатун, при этом выемка снабжена сопряженной с ней подвижно вставкой и ограничителями перемещения ее к поршню, причем выемка оснащена регулируемым упором и средством возврата вставки, выполненным в виде пружины, отличающийся тем, что выемка снабжена вставкой прямоугольного сечения с выполненным в ней конусным отверстием и устройством фиксации вставки в верхнем положении при воспламенении топлива.
РИСУНКИ
MM4A – Досрочное прекращение действия патента СССР или патента Российской Федерации на изобретение из-за неуплаты в установленный срок пошлины за поддержание патента в силе
Дата прекращения действия патента: 19.03.2008
Извещение опубликовано: 27.03.2010 БИ: 09/2010
|
|