|
(21), (22) Заявка: 2006109172/03, 23.03.2006
(24) Дата начала отсчета срока действия патента:
23.03.2006
(46) Опубликовано: 27.12.2006
(56) Список документов, цитированных в отчете о поиске:
RU 2149984 C1, 27.05.2000. RU 2038464 C1, 27.06.1995. SU 173169 A, 27.08.1963. SU 1240872 A1, 30.06.1986. RU 2132938 C1, 10.07.1999. RU 94033694 A1, 27.07.1996. RU 2227207 C2, 20.04.2004. RU 2211311 C2, 27.08.2003. RU 95111085 A1, 10.07.1997. US 4427067 A, 24.01.1984.
Адрес для переписки:
423450, Республика Татарстан, г. Альметьевск, ул. Ленина, 75, ОАО “Татнефть”, Нач. тех. отд.
|
(72) Автор(ы):
Хисамов Раис Салихович (RU), Евдокимов Александр Михайлович (RU), Ахметов Наиль Зангирович (RU)
(73) Патентообладатель(и):
Открытое акционерное общество “Татнефть” им. В.Д. Шашина (RU)
|
(54) СПОСОБ РАЗРАБОТКИ НЕФТЯНОЙ ЗАЛЕЖИ
(57) Реферат:
Изобретение относится к нефтяной промышленности и может найти применение при разработке нефтяной залежи с подстилающей водой. Обеспечивает увеличение продолжительности эффекта снижения обводненности добываемой продукции. Сущность изобретения: способ включает откачку пластовой воды из водоносного пласта до образования области пониженного уровня водонефтяного контакта, закачку пластовой воды в водоносный пласт и отбор нефти через добывающие скважины. Согласно изобретению откачку пластовой воды из водоносного пласта и закачку пластовой воды в водоносный пласт проводят в нагнетательной скважине одновременно раздельно. При этом закачку пластовой воды ведут через отверстия обсадной колонны нагнетательной скважины, которые перфорируют в зоне подошвы водоносного пласта. Добывающие скважины располагают в зоне пониженного уровня водонефтяного контакта. Отбор нефти из добывающих скважин осуществляют одновременно с откачкой пластовой воды. 1 ил.
Изобретение относится к нефтяной промышленности и может найти применение при разработке нефтяной залежи с подстилающей водой.
Известен способ разработки нефтяной залежи, подстилаемой водой, включающий одновременно раздельный отбор посредством эксплуатационных скважин нефти и пластовой воды соответственно из нефтяной и водяной зон залежи с одновременно закачкой в залежь воды посредством нагнетательных скважин (патент США № 2828819, кл. 166-9, опубл. 1958 г.).
Использование известного способа повышает обводненность нефти и загрязненность нефтью пластовой воды.
Наиболее близким к предложенному изобретению по технической сущности является способ разработки нефтяной залежи, подстилаемой водой, согласно которому осуществляют одновременно раздельную откачку посредством нефтяных скважин, нефти и пластовой воды из нефтяной и водяной зон залежи с одновременной закачкой в залежь воды нагнетательными скважинами. Откачку пластовой воды производят из центральной области нефтяной залежи с уровня подошвы водоносного пласта до образования области пониженного давления и понижения уровня водонефтяного контакта таким образом, что область перфорации нефтяных скважин оказывается выше уровня водонефтяного контакта. Откачку нефти осуществляют из периферийных нефтяных скважин. Отработанную пластовую воду закачивают в водоносный пласт через нагнетательные скважины, расположенные на границе водонефтяного контакта (патент РФ № 2149984, кл. Е 21 В 43/16, опубл. 2000.05.27).
Известный способ позволяет снизить обводненность добываемой продукции, однако эффект снижения обводненности непродолжителен, поскольку определяется проницаемостью пластовой воды по горизонтали.
В предложенном изобретении решается задача увеличения продолжительности эффекта снижения обводненности добываемой продукции.
Задача решается тем, что в способе разработки нефтяной залежи, включающем откачку пластовой воды из водоносного пласта до образования области пониженного уровня водонефтяного контакта, закачку пластовой воды в водоносный пласт и отбор нефти через добывающие скважины, согласно изобретению откачку пластовой воды из водоносного пласта и закачку пластовой воды в водоносный пласт проводят в скважине одновременно раздельно, при этом закачку пластовой воды ведут под водоносный пласт, а добывающие скважины располагают в зоне пониженного уровня водонефтяного контакта.
Признаками изобретения являются:
1) откачка пластовой воды из водоносного пласта до образования области пониженного уровня водонефтяного контакта;
2) закачка пластовой воды в водоносный пласт;
3) отбор нефти через добывающие скважины;
4) откачка пластовой воды из водоносного пласта и закачка пластовой воды в водоносный пласт в скважине одновременно раздельно;
5) закачка пластовой воды под водоносный пласт;
6) отбор нефти через добывающие скважины, расположенные в зоне пониженного уровня водонефтяного контакта.
Признаки 1-3 являются общими с прототипом, признаки 4-6 являются существенными отличительными признаками изобретения.
Сущность изобретения
При отборе нефти из нефтяной залежи вблизи добывающих скважин образуются конуса воды. Существующие способы борьбы с конусообразованием позволяют ликвидировать конуса на непродолжительное время. В предложенном изобретении решается задача увеличения продолжительности разработки нефтяной залежи без конусов обводнения и за счет этого увеличения продолжительности эффекта снижения обводненности добываемой продукции. Задача решается следующим образом.
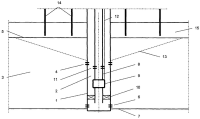
При разработке нефтяной залежи откачку пластовой воды и закачку в водоносный пласт проводят в нагнетательной скважине одновременно раздельно. Для этого собирают компоновку согласно чертежу. Обсадную колонну 1 скважины 2 перфорируют в зоне водоносного пласта 3 верхними перфорационными отверстиями 4 вблизи водонефтяного контакта 5 и нижними перфорационными отверстиями 6 в зоне подошвы 7 водоносного пласта 3. Скважину 2 оборудуют колонной насосно-компрессорных труб 8 с электроцентробежным насосом 9, пакером 10 и отверстиями 11 выше пакера 10. Пакер 10 устанавливают в интервале между верхними 4 и нижними перфорационными отверстиями 6 обсадной колонны 1. В разрыве колонны насосно-компрессорных труб 8 выше пакера 10 и ниже отверстий 11 размещают электроцентробежный насос 9, обращенный выходом вниз. Электроцентробежный насос 9 с поверхностью сообщают кабелем 12. Открытый низ колонны насосно-компрессорных труб 8 располагают напротив нижних перфорационных отверстий 6 в зоне подошвы 7 водоносного пласта 3. Посредством электроцентробежного насоса 9 производят откачку пластовой воды из водоносного пласта 3 вблизи водонефтяного контакта 5 до образования области пониженного уровня водонефтяного контакта 13 и закачку пластовой воды под водоносный пласт 3. При этом за счет преимущественной горизонтальной проницаемости водоносного пласта 3 происходит распределение пластовой воды под водоносным пластом 3 слоем, близким к равномерному. В то же время образуется зона пониженного уровня водонефтяного контакта 13, т.е. так называемый обратный конус или нефтяной конус вокруг скважины 2. Отбор нефти проводят через добывающие скважины 14, расположенные в нефтенасыщенной части пласта 15 в зоне пониженного уровня водонефтяного контакта 13.
Закачка пластовой воды под водоносный пласт 3 приводит к постепенному общему поднятию водонефтяного контакта 5 по всей залежи практически без локальных поднятий пластовой воды. Отбор пластовой воды из зоны пониженного уровня водонефтяного контакта 13 приводит к образованию обратного конуса нефти. За счет этого увеличивается продолжительность разработки нефтяной залежи без конусов обводнения, увеличивается продолжительность эффекта снижения обводненности добываемой продукции. Этому же способствует отбор нефти через добывающие скважины, расположенные в зоне пониженного уровня водонефтяного контакта 13. Одновременный отбор пластовой воды и отбор нефти из зоны пониженного уровня водонефтяного контакта приводит к сохранению образовавшегося обратного конуса и продолжительному безводному периоду отбора нефти.
Пример конкретного выполнения
Разрабатывают нефтяную залежь со следующими характеристиками: глубина водонефтяного контакта – 543 м, толщина водоносной части пласта 40 м, толщина нефтенасыщенной части пласта 10 м, пластовая температура 23°С, пластовое давление 7,4 МПа, пористость 14%, проницаемость 0,145 мкм2, нефтенасыщенность 75%, вязкость нефти 52,9 мПа·с, плотность нефти 0,884 кг/м3, плотность пластовой воды 1,02 кг/м3.
На залежи размещают нагнетательные скважины с компоновкой согласно чертежу.
Обсадную колонну 1 скважины 2 перфорируют в зоне водоносного пласта 3 верхними перфорационными отверстиями 4 ниже водонефтяного контакта 5 на глубине – 554÷-557 м и нижними перфорационными отверстиями 6 в зоне подошвы 7 водоносного пласта 3 на глубине – 583÷-585 м. Скважину 2 оборудуют колонной насосно-компрессорных труб 8 с электроцентробежным насосом 9 марки УЭЦНМ6-200-950 с производительностью 200 м3/сут, пакером 10 и отверстиями 11 выше пакера 10 на 20 м. Пакер 10 устанавливают в интервале между верхними 4 и нижними перфорационными отверстиями 6 обсадной колонны 1. В разрыве колонны насосно-компрессорных труб 8 выше пакера 10 и ниже отверстий 11 размещают электроцентробежный насос 9, обращенный выходом вниз. Электроцентробежный насос 9 с поверхностью сообщают кабелем 12. Открытый низ колонны насосно-компрессорных труб 8 располагают напротив нижних перфорационных отверстий 6 в зоне подошвы 7 водоносного пласта 3. Посредством электроцентробежного насоса 9 производят откачку пластовой воды из водоносного пласта 3 вблизи водонефтяного контакта 5 до образования области пониженного на 9÷11 м уровня водонефтяного контакта 13 и закачку пластовой воды под водоносный пласт 3 через нижние перфорационные отверстия 6 обсадной колонны 1. При этом за счет преимущественной горизонтальной проницаемости водоносного пласта 3 происходит распределение пластовой воды под водоносным пластом 3 слоем, близким к равномерному. В то же время образуется зона пониженного уровня водонефтяного контакта 13, т.е. так называемый обратный конус или нефтяной конус вокруг скважины 2. Отбор нефти проводят через добывающие скважины 14 с дебитом порядка 10÷20 м3/сут.
Скважины эксплуатируют в течение 360 сут. При этом безводный период добычи нефти составил 270 сут вместо 120 сут по прототипу. За этот период добыто 20 тыс. т нефти вместо 12 тыс. т по прототипу.
Применение предложенного способа позволит увеличить продолжительность эффекта снижения обводненности добываемой продукции.
Формула изобретения
Способ разработки нефтяной залежи, включающий откачку пластовой воды из водоносного пласта до образования области пониженного уровня водонефтяного контакта, закачку пластовой воды в водоносный пласт и отбор нефти через добывающие скважины, отличающийся тем, что откачку пластовой воды из водоносного пласта и закачку пластовой воды в водоносный пласт проводят в нагнетательной скважине одновременно раздельно, при этом закачку пластовой воды ведут через отверстия обсадной колонны нагнетательной скважины, которые перфорируют в зоне подошвы водоносного пласта, а добывающие скважины располагают в зоне пониженного уровня водонефтяного контакта и отбор нефти из них осуществляют одновременно с откачкой пластовой воды.
РИСУНКИ
MM4A – Досрочное прекращение действия патента СССР или патента Российской Федерации на изобретение из-за неуплаты в установленный срок пошлины за поддержание патента в силе
Дата прекращения действия патента: 24.03.2008
Извещение опубликовано: 27.06.2009 БИ: 18/2009
NF4A – Восстановление действия патента СССР или патента Российской Федерации на изобретение
Дата, с которой действие патента восстановлено: 20.01.2010
Извещение опубликовано: 20.01.2010 БИ: 02/2010
|