|
|
(21), (22) Заявка: 2005136513/11, 24.11.2005
(24) Дата начала отсчета срока действия патента:
24.11.2005
(46) Опубликовано: 27.12.2006
(56) Список документов, цитированных в отчете о поиске:
RU 2230675 C1, 10.05.2004. SU 1659235 A1, 30.06.1991. RU 2032553 C1, 10.04.1995. DE 3824028 A, 15.02.1990. EP 1236590 A1, 04.09.2002.
Адрес для переписки:
399770, Липецкая обл., г. Елец, ул. Коммунаров, 28, Елецкий государственный университет им. И.А. Бунина
|
(72) Автор(ы):
Сливинский Евгений Васильевич (RU), Яковлев Сергей Владимирович (RU)
(73) Патентообладатель(и):
Государственное образовательное учреждение высшего профессионального образования “Елецкий государственный университет им. И.А. Бунина” (RU)
|
(54) ТЯГОВО-СЦЕПНОЕ УСТРОЙСТВО
(57) Реферат:
Изобретение относится к области безрельсовых транспортных средств и может быть использовано в конструкциях автомобильных поездов и шарнирно-сочлененных автобусов. Тягово-сцепное устройство, преимущественно легкового автомобиля, включает шаровую головку, состоящую из двух частей – нижней, выполненной за одно целое с кронштейном тягово-сцепного устройства автомобиля, и верхней, – подвижно размещенной в корпусе дышла, и фиксируемых друг относительно друга. Кронштейн тягово-сцепного устройства автомобиля выполнен с сопряженными друг с другом каналами – продольным, в котором подвижно установлена тяга, шарнирно соединенная с расположенным в вертикальном канале кронштейна двуплечим рычагом с кулачком на своем конце, взаимодействующим с пазом, выполненным на стержне верхней части шаровой головки, причем другой конец упомянутой тяги соединен с подобным двуплечим рычагом, установленным внутри кузова легкового автомобиля и фиксируемым относительно последнего. Сопрягаемые поверхности кулачка и паза имеют криволинейные и прямолинейные поверхности, расположенные в вертикальной продольной плоскости кронштейна тягово-сцепного устройства автомобиля. Технический результат – создание устройства, обеспечивающего фиксацию сцепа непосредственно с места водителя автомобиля. 1 з.п. ф-лы, 3 ил.
Предлагаемое изобретение относится к области безрельсовых транспортных средств и может быть использовано в конструкциях автомобильных поездов и шарнирно-сочлененных автобусов.
Известна конструкция тягово-сцепного устройства, описанного в книге Щукин М.М. Сцепные устройства автомобилей и тягачей. – Машгиз, М-Л, 1961 г., описанная на стр.35 и показанная на фиг.28. Такое тягово-сцепное устройство предназначено для легковых автомобилей и автобусов и состоит из шара, которым заканчивается тяговый стержень изогнутой формы, жестко закрепленный на раме автомобиля или автобуса. На дышле прицепа выполнена полусферическая головка, охватывающая шар, обеспечивая тем самым сцеп тягача и прицепа. Для предотвращения расцепа звеньев автопоезда на дышле установлен замок, который и фиксирует дышло относительно шаровой головки. Существенным недостатком описанного тягово-сцепного устройства является невысокая надежность фиксирующего устройства замка и поэтому в практике известны случаи саморасцепа звеньев автопоезда, что приводит в итоге к аварийным ситуациям на дорогах.
Известно также тягово-сцепное устройство автопоезда, описное в патенте RU 2230675 C1. Такое устройство включает в себя также шаровую головку, но в отличие от аналога она состоит из двух частей: нижней, жестко связанной с кронштейном тягово-сцепного устройства автомобиля, и верхней, шарнирно установленной в дышле прицепа. Обе части шаровой головки соединяются между собой вертикально расположенным пальцем, который стопорится шариковым фиксатором, расположенным в нижней части шаровой головки. Несмотря на свою эффективность использования описанное устройство обладает существенным недостатком, заключающимся в том, что в условиях эксплуатации контроль за надежностью сцепа в движении автопоезда со стороны водителя полностью исключен и для того, чтобы проверить его качество, водитель должен выйти из автомобиля, а это не всегда удобно. Отсутствие же контроля за надежностью сцепа может привести к аварийным ситуациям.
Поэтому целью предлагаемого изобретения является создание устройства, обеспечивающего фиксацию сцепа непосредственно с места водителя автомобиля.
Поставленная цель достигается тем, что кронштейн тягово-сцепного устройства автомобиля выполнен с сопряженными друг с другом каналами – продольным, в котором подвижно установлена тяга, шарнирно соединенная с расположенным в вертикальном канале кронштейна двуплечим рычагом с кулачком на своем конце, взаимодействующим с пазом, выполненным на стержне верхней части шаровой головки, причем другой конец упомянутой тяги соединен с подобным двуплечим рычагом, установленным внутри кузова легкового автомобиля и фиксируемым относительно последнего. Сопрягаемые поверхности кулачка и паза имеют криволинейные и прямолинейные поверхности, расположенные в вертикальной продольной плоскости кронштейна тягово-сцепного устройства автомобиля.
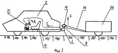
На чертежах фиг.1 показан общий вид тягово-сцепного устройства, смонтированного на звеньях автопоезда, на фиг.2 – его укрупненная часть в месте сопряжения дышла прицепа и кронштейна тягово-сцепного устройства автомобиля в разрезе и на фиг.3 – сечение указанной части по А-А.
Тягово-сцепное устройство представляет собой кронштейн 1 тягово-сцепного устройства автомобиля 2, выполненный за одно целое с нижней частью 3 шаровой головки, снабженной круговым выступом 4 расположенной в круговой впадине 5 верхней части 6 шаровой головки. Последняя так же снабжена стержнем 7, расположенным в отверстии 8 нижней части 2 шаровой головки. Стержень 7 имеет паз 9, в котором размещен кулачок 10 двуплечего рычага 11, шарнирно установленного на оси 12 и связанного с помощью шарнира 13 с тягой 14, установленной в продольном канале 15 кронштейна 1. Продольный канал 15 сопряжен с вертикальным каналом 16, также выполненным в кронштейне 1 и нижней части 2 шаровой головки. В кронштейне 1 имеются технологические отверстия, в которые вставлены заглушки 17. Верхняя часть 5 шаровой головки подвижно размещена в корпусе 18 дышла 19 прицепа 20. Тяга 14 другим своим концом также шарнирно соединена с двуплечим рычагом 21, установленным в салоне автомобиля 2.
Работает тягово-сцепное устройство следующим образом. Для расцепа автопоезда (на фиг.1 звенья автопоезда автомобиль 2 и прицеп 20 соединены между собой при помощи дышла 19 и кронштейна 1) водитель автомобиля 2, распустив фиксатор двуплечего рычага 21 (на чертежах фиксатор двуплечего рычага 21 не показан, так как конструкция его широко известна практике) поворачивает его по стрелке В, что обеспечивает движение тяги 14 по стрелке С, а так как она соединена с помощью шарнира 13 с двуплечим рычагом 11, то и он получает угловой поворот по стрелке Д, поворачиваясь на оси 12. Так как двуплечий рычаг 11 жестко соединен с кулачком 4, то он выходит из паза 9 стержня 7 по стрелке Е. После того как кулачок 10 полностью покинет паз 9, водитель фиксирует широко известными в технике способами двуплечий рычаг 21, выходит из автомобиля и вручную перемещает дышло 19 прицепа 20 по стрелке F совместно с корпусом 18 и верхней частью 6 шаровой головки. Для сцепа звеньев автопоезда указанная операция производится в обратном порядке. В случае ремонта деталей описанного устройства или профилактики его подвижных частей удаляют заглушки 17 (заглушки 17 могут быть выполнены в виде, например, пробок с нарезанными в них и кронштейне резьбой) и демонтируют ось 12 по стрелке, например, G. Таким же образом рассоединяют шарнир 13, после чего по стрелке N перемещают двуплечий рычаг 11. Произведя необходимый осмотр или замену указанных деталей, сборку производят в обратном порядке. В дальнейшем описанные процессы могут повторяться неоднократно.
Технико-экономическое преимущество предлагаемого технического решения в сравнении с известными очевидно, так как оно позволяет дистанционно управлять фиксацией элементов тягово-сцепного устройства автопоезда и в случае необходимости произвести расцеп его звеньев, не выходя из автомобиля, например, в создавшихся сложных аварийных ситуациях.
Формула изобретения
1. Тягово-сцепное устройство преимущественно легкового автомобиля, включающее шаровую головку, состоящую из двух частей – нижней, выполненной за одно целое с кронштейном тягово-сцепного устройства автомобиля, и верхней, подвижно размещенной в корпусе дышла, и фиксируемых друг относительно друга, отличающееся тем, что кронштейн тягово-сцепного устройства автомобиля выполнен с сопряженными друг с другом каналами – продольным, в котором подвижно установлена тяга, шарнирно соединенная с расположенным в вертикальном канале кронштейна двуплечим рычагом с кулачком на своем конце, взаимодействующим с пазом, выполненным на стержне верхней части шаровой головки, причем другой конец упомянутой тяги соединен с подобным двуплечим рычагом, установленным внутри кузова легкового автомобиля и фиксируемым относительно последнего.
2. Тягово-сцепное устройство по п.1, отличающееся тем, что сопрягаемые поверхности кулачка и паза имеют криволинейные и прямолинейные поверхности, расположенные в вертикальной продольной плоскости кронштейна тягово-сцепного устройства автомобиля.
РИСУНКИ
|
|