|
| На основании пункта 3 статьи 13 Патентного закона Российской Федерации от 23 сентября 1992 г. № 3517-I патентообладатель обязуется передать исключительное право на изобретение (уступить патент) на условиях, соответствующих установившейся практике, лицу, первому изъявившему такое желание и уведомившему об этом патентообладателя и федеральный орган исполнительной власти по интеллектуальной собственности, – гражданину РФ или российскому юридическому лицу. |
|
(21), (22) Заявка: 2005110213/12, 08.04.2005
(24) Дата начала отсчета срока действия патента:
08.04.2005
(46) Опубликовано: 27.12.2006
(56) Список документов, цитированных в отчете о поиске:
DE 3210842 A1, 06.10.1983. SU 282908 A, 28.09.1970. SU 1326332 A1, 30.07.1987. SU 850209 A, 30.07.1981. SU 977015 A, 30.11.1982. SU 1444158 A1, 06.04.1988.
Адрес для переписки:
107207, Москва, ул. Байкальская, 40/17, кв.224, И.В. Леонову
|
(72) Автор(ы):
Леонов Игорь Владимирович (RU)
(73) Патентообладатель(и):
Леонов Игорь Владимирович (RU)
|
(54) СПОСОБ ИЗМЕЛЬЧЕНИЯ ИЗНОШЕННЫХ ШИН И УСТРОЙСТВО ДЛЯ ЕГО ОСУЩЕСТВЛЕНИЯ
(57) Реферат:
Изобретение относится к области утилизации промышленных и бытовых отходов, в частности к переработке изношенных автомобильных и других шин. В способе измельчения изношенных шин измельчение производят в размещенной внутри корпуса рабочей камере, на стенках которой дополнительно размещены неподвижные режущие органы, потоком измельчаемых продуктов, образованным вращающимися режущими органами и направляющим аппаратом, выполненным в виде закрепленных на стенке рабочей камеры неподвижных режущих органов. Вначале осуществляют первичное грубое измельчение под действием ротора, установленного под загрузочным узлом и вращающегося с наименьшей скоростью, и неподвижных режущих органов на корпусе и режущих органов следующего второго ротора, вращающегося с большей скоростью, чем первый ротор. Затем грубоизмельченный материал измельчают вторым ротором о неподвижные режущие органы на корпусе и режущие органы следующего ротора, потом материал передают на последний ротор, вращающийся с наибольшей скоростью, где материал измельчают о режущие органы и выгружают. Изобретение предусматривает устройство, в котором внутри рабочей камеры установлены дополнительные вращающиеся роторы, имеющие одинаковые направления вращения с установленным под загрузочным узлом ротором, на которых размещены режущие органы, входящие в контакт через измельчаемые продукты между собой и с дополнительными неподвижными режущими органами, размещенными на стенках рабочей камеры, причем окружная скорость вращающихся режущих органов разных роторов имеет более высокие значения у тех из них, которые более близко расположены к установленному на выходе из рабочей камеры разгрузочному узлу. Изобретение обеспечивает снижение энергетических затрат и повышает эффективность измельчения. 2 н. и 6 з.п. ф-лы, 2 ил.
ОБЛАСТЬ ТЕХНИКИ
Изобретение относится к области утилизации промышленных и бытовых отходов, а именно к технологии переработки изношенных автомобильных и других шин, а также к устройствам для осуществления указанной технологии.
ПРЕДШЕСТВУЮЩИЙ УРОВЕНЬ ТЕХНИКИ
Утилизация изношенных шин является в настоящее время важной проблемой из-за нерентабельности существующих технологий их переработки по причине больших энергетических затрат при их измельчении.
Механический способ измельчения шин основан на взаимодействии режущих органов, неподвижных или совершающих различного вида движения, и измельчаемой шины. Известен способ (Патент RU №2051034 C1, 6 B 29 В 17/00), «при котором на вращающуюся шину воздействуют дисковыми ножами для продольного разрезания по окружности и дисковым ножом для поперечного разрезания». Известен способ измельчения (патент РФ №2021894), при котором протекторную часть выворачивают наизнанку и измельчение шины производят изнутри режущими органами. Известные способы не обеспечивает полного измельчения шин в одной измельчительной машине и требуют дополнительного измельчения в других машинах.
Многочисленные известные механические устройства измельчения шин основаны на принципе взаимодействия вращающихся режущих органов, захватывающих при их вращении части шин и измельчающих их о неподвижные режущие органы, имеющие различную форму (ножей, резцов, зубцов и т.п.). Известно устройство измельчения шин (Патент РФ N2005606, кл. В 29 В 17/00), в «котором измельчение осуществляют режущим узлом в виде конуса». Известны конструкции измельчительных машин шин фирмы «MTB-Recycling» (Quartier de la Gare. 38460 TREPT. FRANCE.), имеющих один вращающийся цилиндрический ротор и резцы, закрепленные на роторе и на корпусе. Применение в машине одного вращающегося ротора для измельчения шин заставляет увеличивать его размеры и вес, требует значительного снижения его скорости вращения. Все это снижает эффективность работы устройства и делает машину тяжелой и тихоходной, увеличивает и габаритные размеры измельчителя.
Известны устройства измельчения изношенных шин, содержащие два ротора, вращающиеся в разные стороны, между которыми происходит измельчение материала под действием возникающего давления (Устройство для переработки изношенных покрышек. Патент RU N 1696308 А1, 5 В 29 В 17/02. 07.12.91. Бюл. N45). Известное устройство отличается простотой конструкции, но не позволяет эффективно осуществлять процесс измельчения из-за того, что измельчаемый материал, находящийся между зубцами, подвергается всестороннему сжатию. Учитывая, что при стесненном сжатии материла между зубцами измельчительного устройства главные напряжения имеют близкие значения, то разрушение материала за счет достижения предельных касательных напряжений происходит при непомерно больших давлениях. Измельчительное устройство стесненного сжатия между вращающимися в разные стороны зубчатыми роторами не обеспечивает значительных сдвиговых деформаций, необходимых для высококой степени измельчения. Это требует организации многократного воздействие режущих органов и применения многочисленных машин для многоэтапного последовательного измельчения и, как следствие, значительных затрат энергии.
Рассмотрение признаков аналога и прототипа показывает, что основными по степени влияния на осуществимость и технический результат изобретения существенными признаками являются число роторов, совпадающее или противоположное направление и величины скоростей вращения их, а также ориентация и место установки режущих органов. Все известные устройства измельчения имеют один или более вращающихся роторов с установленными на них резцами, режущие кромки которых направлены по направлению вращения ротора. При наличии в устройстве измельчения одного ротора на корпусе должны быть установлены контактирующие с ними через измельчаемые продукты неподвижные резцы, режущие кромки которых направлены против направления вращения ротора. При наличии в устройстве измельчения более одного ротора с различными направлениями вращения резцы на неподвижном корпусе должны быть установлены с разными направлениями режущих кромок, ориентация которых связана с направлением вращения роторов. Однако различные направления режущих кромок неподвижных резцов не позволяют организовать движение измельчаемого материала по замкнутым траекториям для возвращения крупных фракций измельчаемого материала и многократного измельчения. Наилучших результатов можно достигнуть при установке режущих кромок неподвижных резцов в одном и том же направлении, в сторону, противоположную направлению вращения роторов, имеющих одинаковые направления вращения. Таким образом, признак одинакового или противоположного направления вращения роторов оказывает существенное влияние на осуществимость и технический результат изобретения, так как наличие в устройстве измельчения нескольких вращающихся в одинаковом направлении роторов позволяет установить неподвижные резцы с одинаковым направлением режущих кромок и организовать движение измельчаемого материала по замкнутым траекториям для возвращения крупных фракций измельчаемого материала и многократного измельчения, что увеличивает тем самым степень измельчения шин и эффективность устройства измельчения.
РАСКРЫТИЕ ИЗОБРЕТЕНИЯ
Целью настоящего изобретения является создание такого способа и устройства измельчения шин, реализация которых обеспечила бы повышение эффективности измельчения изношенных шин, а также снижение энергетических затрат. Общепризнанным способом улучшения эффективности измельчения является увеличение скорости измельчения и создание рабочими органами повышенных по сравнению со сжатием сдвиговых деформаций. Увеличение сдвиговых деформаций (по сравнению к измельчению между двумя вращающимися в разные стороны режущими органами) наблюдается при взаимодействии подвижных и неподвижных режущих органов, когда материал шин входит в контакт с подвижнымми и неподвижными режущими органами и подвергается касательным напряжениям . Напряжения yx поперечного сдвига определяются срезом в направлении окружной скорости Vz., вызываемой вращением со ротора 3. Режущие кромки резцов режущих органов (фиг.1 и 2) наклонены к оси вращения и расположены по винтовой линии под углом . Напряжения продольного сдвига yz определяются с осевой скоростью Vx (в направлении оси вращения X) в зависимости от угла наклона режущих кромок подвижных или неподвижных режущих органов к оси вращения ротора. Нормальные компоненты напряжения z и x, лежащие в плоскости среза материала шин, не вызывают перемещений берегов трещин, развиваемых относительным движением режущих органов и со скоростями Vz и Vx. Касательные напряжения yx и yz, параллельные плоскости сдвига, вызывают концентрацию напряжений у основания трещин, развиваемых относительным движением режущих органов, и являются причиной разрушения материала шин. Отрицательное нормальное напряжения сжатия y, возникающее за счет стесненного сжатия материала шин между режущими органами снижает эффект действия касательных напряжений yx и yz за счет возникновения внутреннего трения между свигаемыми слоями материала шин. Следует исключать появление отрицательного нормального напряжения y, возникающее за счет стесненного сжатия материала шин путем назначения зазора между режущими кромками подвижных и неподвижных режущих органов. При многостадийном измельчении шин в нескольких последовательно расположенных машинах окружные скорости роторов Vz разных машин различны. В заявляемом способе на первой стадии измельчения скорости минимальны, а затем увеличены, достигая максимального значения на заключительной стадии измельчения у разгрузочного узла, чтобы обеспечить неразрывность движения потока частиц и исключить появления заторов измельчаемого материала в рабочей камере.
Поставленная цель достигается тем, что в известном способе измельчения изношенных шин с помощью механического воздействия на измельчаемые продукты между вращающимся и неподвижными режущими органами измельчение производят в размещенной внутри корпуса рабочей камеры, на стенках которой размещены неподвижные режущие органы, потоком измельчаемых продуктов, образованным вращающимися режущими органами и направляющим аппаратом, выполненным в виде закрепленных на стенках рабочей камеры неподвижных режущих органов.
Согласно изобретения в способе вначале осуществляют первичное грубое измельчение под действием ротора, установленного под загрузочным узлом, и вращающегося с наименьшей скоростью, и неподвижных режущих органов на корпусе и режущих органов следующего второго ротора, вращающегося с большей скоростью, чем первый ротор, затем грубоизмельченный материал измельчают вторым ротором о неподвижные режущие органы на корпусе и режущие органы следующего ротора, потом материал передают на последний ротор, вращающийся с наибольшей скоростью, где материал измельчают о режущие органы и выгружают.
Лучший вариант осуществления способа достигается, когда дополнительное измельчение измельчаемых продуктов производят циркулирующим по замкнутым траекториям в рабочей камере потоком измельчаемых продуктов между вращающимися в одинаковую сторону режущими органами, имеющими различные величины Vz окружных скоростей, причем скорость движения потока измельчаемых продуктов, связанная с Vz, увеличивается при приближении к разгрузочному узлу, расположенному на выходе из рабочей камеры, в котором размещены решетки. При этом при уменьшении объема материала в верхней части рабочей камеры, осуществляют подачу мелких кусков материала через дополнительный загрузочный узел, расположенный в верхней части рабочей камеры над последним ротором. Поэтому наличие в устройстве измельчения нескольких вращающихся в одинаковом направлении роторов позволяет установить неподвижные резцы с одинаковым направлением режущих кромок и организовать движение измельчаемого материала по замкнутым траекториям для возвращения крупных фракций и многократного измельчения, что увеличивает тем самым эффективность измельчения.
Организация движения измельчаемого материала по замкнутым траекториям для возвращения крупных фракций материала шин и многократного измельчения увеличивает температуру его, поэтому в в процессе измельчения измельчаемые продукты охлаждают воздухом.
Устройство измельчения изношенных шин, содержащее корпус с размещенными на нем неподвижными режущими органами, с загрузочным и разгрузочным узлами, под загрузочным узлом которого установлен вращающийся ротор, на внешней поверхности которого размещены режущие органы, режущие кромки которых расположены в плоскости оси вращения, входящие в контакт через измельчаемые продукты с неподвижными режущими органами, причем разгрузочный узел выполнен в виде решетки, согласно изобретению внутри рабочее камеры установлены дополнительные вращающиеся роторы, имеющие одинаковые направления вращения с установленным под загрузочным узлом ротором, на которых размещены режущие органы, входящие в контакт через измельчаемые продукты между собой и с дополнительными неподвижными режущими органами, размещенными на стенках рабочей камеры.
Лучший вариант устройства для осуществления заявляемого способа заключается в том, что окружная скорость Vz вращающихся режущих органов разных роторов имеет более высокие значения у тех из них, которые более близко расположены к разгрузочному узлу, установленному на выходе из рабочей камеры. Увеличение окружной скорости вращающихся режущих органов, которые более близко расположены к разгрузочному узлу, позволяет обеспечить неразрывность потока движения измельчаемого материала и исключить образование застойных зон и заторов измельчаемого материала внутри рабочей камеры.
Лучший вариант осуществления изобретения связан с наличием вышерассмотренных существенных и развивающих или уточняющих признаков, характеризуемых величиной скорости и направлением вращения роторов, которое лучшим образом реализуется применением клиноременных передач от одного и того же двигателя. Привод роторов от одного двигателя с за счет последовательного изменения передаточного отношения между роторами обеспечивает согласование скоростей измельчаемого материала и снижение расходов на транспортировку измельчаемых материалов. В заявляемом устройстве вращающиеся роторы приведены во вращение посредством клиноременных передач, что обеспечивает одинаковые направления вращения связанных между собой вращающихся роторов.
Для повышения эффективности заявляемого устройства на корпусе установлены дополнительные загрузочные узлы. Над последним вращающимся ротором установлен дополнительный загрузочный узел в верхней части рабочей камеры. Разгрузочные узлы снабжены съемными решетками. Решетки могут быть выполнены в форме части цилиндров, охватывающих с зазором вращающиеся роторы с установленными на них режущими органами и на решетках установлены неподвижные режущие органы. Применение нескольких загрузочных и разгрузочных узлов позволяет производить введение и отбор различных фракций измельчаемого материала и повысить эффективность измельчения. Режущие органы выполнены в виде сменных резцов, прикрепленных посредством болтов, режущие кромки их наклонены к оси вращения, корпус устройства выполнен в виде сборных секций.
Существенные признаки заявляемого способа, которые совпадают с признаками аналога, заключаются в том, что измельчение изношенных шин осуществляется с помощью механического воздействия на измельчаемые продукты между вращающимся и неподвижными режущими органами.
Основная совокупность существенных признаков заявляемого способа, позволяющая реализовать достижение заявленного технического результата, заключается в том, что измельчение производят в размещенной внутри корпуса рабочей камере, на стенках которой размещены неподвижные режущие органы, потоком измельчаемых продуктов, образованным вращающимися режущими органами и направляющим аппаратом, выполненным в виде закрепленных на стенках рабочей камеры неподвижных режущих органов и что дополнительное измельчение измельчаемых продуктов производят циркулирующим по замкнутым траекториям в рабочей камере потоком измельчаемых продуктов между вращающимися в одинаковую сторону режущими органами, имеющими различные и величины окружных скоростей, причем скорость движения потока измельчаемых продуктов, связанная с окружной скоростью вращающихся режущих органов, увеличивается при приближении к разгрузочному узлу, расположенному на выходе из рабочей камеры, в котором размещены решетки.
Существенные признаки заявляемого устройства, которые совпадают с признаками аналога, заключаются в том, что устройство измельчения шин содержит корпус с размещенными на нем неподвижными режущими органами, с загрузочным и разгрузочным узлами, под загрузочным узлом которого установлен вращающийся ротор, на внешней поверхности которого размещены режущие органы, входящие в контакт через измельчаемые продукты с неподвижными режущими органами.
Основная совокупность существенных признаков заявляемого устройства, позволяющая реализовать достижение заявленного технического результата, заключается в том, что устройство дополнительно снабжено размещенной внутри корпуса рабочей камерой, на стенках которой размещены дополнительные неподвижные режущие органы, причем внутри рабочей камеры установлены дополнительные вращающиеся роторы, имеющие одинаковые направления вращения с установленным под загрузочным узлом ротором, на которых размещены режущие органы, входящие в контакт через измельчаемые продукты между собой и с дополнительными неподвижными режущими органами, размещенными на стенках рабочей камеры, причем окружная скорость вращающихся режущих органов разных роторов имеет более высокие значения у тех из них, которые более близко расположены к разгрузочному узлу, установленному на выходе из рабочей камеры, в котором размещены решетки.
При сравнении свойств заявляемого и известных решений было установлено, что у заявляемого решения появляются свойства, не совпадающие со свойствами известных, и что заявляемое решение обладает существенными отличиями.
КРАТКОЕ ОПИСАНИЕ ЧЕРТЕЖЕЙ
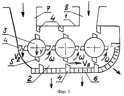
На фиг.1 изображен поперечный разрез устройства измельчения шин, имеющего корпус 1, внутри которого образована рабочая камера 2, в которой установлены неподвижные режущие органы, образованные прикрепленными к корпусу 1 резцами 4, и вращающиеся в одинаковые стороны роторы 3, на которых также установленны резцы 5, образующие вращающиеся режущие органы. Режущие кромки подвижных резцов 5 направлены по направлению вращения роторов 3, перемещающих материал шин в направлении окружной скорости, показанной стрелками. Режущие кромки неподвижных резцов 2, размещенных на внутренней поверхности корпуса 1, направлены против направления вращения роторов 3. В нижней части корпуса 1 выполнен разгрузочный узел 6 с неподвижными резцами 4, установленные в рабочей камере 2 внутри корпуса 1. Загрузочный узел 7 выполнен в верхней части корпуса 1 над ротором, который наиболее удален от двигателя 9 и вращается с нименьшей скоростью вращения.
Лучший вариант устройства
На фиг.2 изображен вид сверху лучшего варианта устройства. Внутри корпуса 1, который образует рабочую камеру 2, установлены неподвижные резцы 4 и вращающиеся в одинаковые стороны роторы 3, на которых также установленны резцы 5. Режущие кромки резцов 5, установленных на роторах 3, направлены по направлению вращения роторов, перемещающих измельчаемый материал в направлении, показанном стрелками на фиг.1. Режущие кромки неподвижных резцов 2, размещенных на внутренней поверхности корпуса 1, направлены против направления вращения роторов 3. Дополнительное загрузочный узел 8 выполнен в верхней части корпуса 1 над ротором, который вращается со скоростью вращения большей, чем ротор, размещенный под основным загрузочным узлом 7.
Движение вращающимся роторам 3 передается с помощью ведущих 9 и ведомых 10 шкивов, расположенных на концах роторов 3, клиноременной передачей 11 от общего двигателя 12. Наибольшую скорость вращения имеет ротор, соединяемый клиноременной передачей 11 с двигателем 12 и наиболее удаленный от загрузочного узла 7, наименьшую скорость вращения имеет ротор, расположенный под загрузочным узлом 8. Подвижные 5 и неподвижные 4 резцы прикреплены к роторам и корпусу с помощью болтов и имеют наклоненные к оси вращения под углом режущие кромки 13.
Реализация лучших вариантов изобретения состоит в исключении транспортеров из линии измельчения изношенных шин и непосредственной передачи измельчаемого материала от одного измельчительного ротора к другому внутри общей рабочей камеры 2, а также в расположении режущих кромок 13 по винтовой линии к оси вращения.
Работа устройства измельчения шин
Крупные куски шин загружаются (фиг.1 и фиг.2) в загрузочный узел 7 и попадают на ротор 3, который вращается с наименьшей скоростью вращения . Ротор 3, расположенный под загрузочным узлом 7, производит первичное грубое измельчение шин о неподвижные ножи 4, размещенные на корпусе 1 и о подвижные ножи 5 следующего контактируемого с ним другого ротора, который вращается с большей скоростью вращения . Измельчаемый материал шин ротором 3, расположенным под загрузочным узлом 7 подается внутрь рабочей камеры 2, откуда следующим вращающимся ротором передается на следующую стадию измельчения о неподвижные резцы 4, расположенные на решетке 6.
Для повышения производительности и улучшения эффективности измельчения резины направления вращения всех роторов сделаны одинаковыми путем соединения роторов клиноременной передачей 11, обеспечивающей положительное передаточное отношение между роторами. Таким образом, скорость резания в контактируемых роторах, имеющих положительное передаточное отношение, равна сумме окружных скоростей Vz роторов. Одинаковые направления вращения роторов, имеющих положительное передаточное отношение, обеспечивают направленное движение измельчаемого материала над разгрузочным узлом в виде решетки 6, производя измельчение о неподвижные резцы 4, размещенные в рабочей камере 2 и на нижней части корпуса 1. Каждый ротор перемещает измельчаемый материал шин над ситами 6 в сторону ротора, соединенного клиноременной передачей 11 с двигателем 12 и обладающего наибольшей скоростью вращения. После прохождения последнего ротора, соединенного клиноременной передачей 11 с двигателем 12, поток измельчаемого материала подается в верхнюю часть рабочей камеры 2, где также производится измельчение материала о размещенные в верхней части корпуса неподвижные ножи 4. Часть верхнего потока измельчаемого материала направляется в нижнюю часть рабочей камеры роторами, таким образом, что при подходе к первому ротору, расположенному под загрузочным узлом 7, расход потока материала в верхней части рабочей камеры уменьшается и появляется возможность подавать мелкие куски шин через дополнительное загрузочный узел 8, который выполнен в верхней части корпуса 1 над ротором, который вращается с угловой скоростью вращения, большей, чем первый ротор, размещенный под основным загрузочным узлом 7. Выгрузка измельченного материала шин производится из нижней части рабочей камеры 2 через решетки 6, смена которых позволяет изменять степень измельчения шин.
ПРОМЫШЛЕННАЯ ПРИМЕНИМОСТЬ
Заявляемое устройство измельчения шин позволяют повысить эффективность измельчения изношенных шин и снизить расход энергии. Моделирование показало, что технологический процесс измельчения шин в соответствии с заявленным изобретением может быть реализован с обеспечением экологической безопасности.
Подрисуночные подписи к заявке на патент
«Способ и устройство измельчения шин»:
Фиг.1. Поперечный разрез устройства измельчения шин.
Фиг.2. Вид сверху на устройство измельчения шин.
1. Корпус
2. Рабочая камера
3. Вращающийся ротор
4. Неподвижный режущий орган (резец)
5. Подвижный режущий орган (резец)
6. Разгрузочный узел (решетка)
7. Загрузочный узел
8. Дополнительный загрузочный узел
9. Ведущий шкив
10. Ведомый шкив
11. Клиноременная передача
12. Двигатель
13. Наклонная режущая кромка резца.
Формула изобретения
1. Способ измельчения изношенных шин, в котором измельчение производят в размещенной внутри корпуса рабочей камере, на стенках которой дополнительно размещены неподвижные режущие органы, потоком измельчаемых продуктов, образованным вращающимися режущими органами и направляющим аппаратом, выполненным в виде закрепленных на стенке рабочей камеры неподвижных режущих органов, отличающийся тем, что вначале осуществляют первичное грубое измельчение под действием ротора, установленного под загрузочным узлом и вращающегося с наименьшей скоростью, и неподвижных режущих органов на корпусе и режущих органов следующего второго ротора, вращающегося с большей скоростью, чем первый ротор, затем грубо измельченный материал измельчают вторым ротором о неподвижные режущие органы на корпусе и режущие органы следующего ротора, потом материал передают на последний ротор, вращающийся с наибольшей скоростью, где материал измельчают о режущие органы и выгружают.
2. Способ по п.1, отличающийся тем, что дополнительное измельчение измельчаемых продуктов производят циркулирующим по замкнутым траекториям в рабочей камере потоком измельчаемых продуктов вращающимися в одинаковую сторону режущими органами, имеющими различные величины окружных скоростей, причем скорость движения потока измельчаемых продуктов, связанная с окружной скоростью вращающихся режущих органов, увеличивается при приближении к разгрузочному узлу, расположенному на выходе из рабочей камеры, в котором размещены решетки, при этом при уменьшении объема материала в верхней части рабочей камеры осуществляют подачу мелких кусков материала через дополнительный загрузочный узел, расположенный в верхней части рабочей камеры над последним ротором.
3. Способ по п.2, отличающийся тем, что в процессе измельчения измельчаемые продукты охлаждают воздухом.
4. Устройство для измельчения изношенных шин, содержащее корпус с размещенными на нем неподвижными режущими органами, с загрузочным и разгрузочным узлами, под загрузочным узлом которого установлен вращающийся ротор, на внешней поверхности которого размещены режущие органы, режущие кромки которых расположены в плоскости оси вращения, входящие в контакт через измельчаемые продукты с неподвижными режущими органами, причем разгрузочный узел выполнен в виде решетки, отличающееся тем, что внутри рабочей камеры установлены дополнительные вращающиеся роторы, имеющие одинаковые направления вращения с установленным под загрузочным узлом ротором, на которых размещены режущие органы, входящие в контакт через измельчаемые продукты между собой и с дополнительными неподвижными режущими органами, размещенными на стенках рабочей камеры, причем окружная скорость вращающихся режущих органов разных роторов имеет более высокие значения у тех из них, которые более близко расположены к установленному на выходе из рабочей камеры разгрузочному узлу.
5. Устройство по п.5, отличающееся тем, что над последним вращающимся ротором установлен дополнительный загрузочный узел в верхней части рабочей камеры.
6. Устройство по п.6, отличающееся тем, что на корпусе установлены дополнительные разгрузочные узлы, причем последние выполнены в виде решеток.
7. Устройство по п.6, отличающееся тем, что разгрузочные узлы снабжены съемными решетками.
8. Устройство измельчения шин по любому из пп.4-7, отличающееся тем, что режущие кромки режущих органов наклонены к оси вращения.
РИСУНКИ
|
|