|
|
(21), (22) Заявка: 2004129633/02, 08.10.2004
(24) Дата начала отсчета срока действия патента:
08.10.2004
(30) Конвенционный приоритет:
10.10.2003 FR 03 11890
(43) Дата публикации заявки: 20.03.2006
(46) Опубликовано: 27.12.2006
(56) Список документов, цитированных в отчете о поиске:
ЕР 1148208 А, 24.10.2001. SU 1140905 А, 23.02.1985. SU 408724 А, 30.11.1973. SU 852469 А, 30.11.1981. ЛАШКО С.В. и др. Пайка металлов, М., Машиностроение, 1988, с.103.
Адрес для переписки:
129010, Москва, ул. Б. Спасская, 25, стр.3, ООО “Юридическая фирма Городисский и Партнеры”, пат.пов. Ю.Д.Кузнецову, рег.№ 595
|
(72) Автор(ы):
КЛЕМЕН Жан-Франсуа Дидье (FR)
(73) Патентообладатель(и):
СНЕКМА МОТЕР (FR)
|
(54) СПОСОБ ПАЙКИ ЛОПАТОК СПРЯМЛЯЮЩЕГО АППАРАТА КОМПРЕССОРА ТУРБОРЕАКТИВНОГО ДВИГАТЕЛЯ
(57) Реферат:
Изобретение может быть использовано при соединении пайкой металлических деталей из сплава на основе титана. Пайку осуществляют при давлении газа менее 1·10-2 Па. В качестве металлического припоя используют алюминиевый сплав, содержащий магний, а количество кремния в нем ограничено 0,3 мас.%. Металлические детали представляют собой внутренний бандаж и множество лопаток спрямляющего аппарата компрессора турбореактивного двигателя. Лопатки распределены в окружном направлении и проходят в радиальном направлении от внутреннего бандажа к наружному бандажу, и каждая из них проходит сквозь соответствующее отверстие, выполненное во внутреннем бандаже. Изобретение позволяет повысить механическую и химическую стойкость соединения. 2 н.п. и 13 з.п. ф-лы, 3 ил.
Предлагаемое изобретение относится к способу соединения металлических деталей из сплава на основе титана, в частности, внутреннего бандажа и лопаток спрямляющего аппарата компрессора авиационного турбореактивного двигателя.
В настоящее время для крепления изготовленных из титанового сплава неподвижных лопаток спрямляющего аппарата к внутреннему бандажу, также изготовленному из титанового сплава, используют приклеивание при помощи силиконовых эластомеров холодной вулканизации. Однако срок службы этих силиконовых эластомеров уменьшается при росте температуры функционирования компрессора. Таким образом, в случае компрессоров нового поколения, функционирующих при температурах, постоянно близких к 300°С, и в атмосфере, содержащей масляный туман, клеящие составы на основе силиконовых эластомеров подвергаются разрыхлению и выкрашиванию, которое снижает срок их службы практически до 100 часов.
В то же время, в документе ЕР 1148208 А описан способ соединения неподвижных лопаток с внутренним бандажом спрямляющего лопаточного аппарата при помощи пайки, но без указания материалов, из которых изготовлены соединяемые детали, а также без указания материала припоя. Обычно используемые припои обладают достаточно большим сроком службы в упомянутых выше условиях. Однако в существующем уровне техники не описаны металлические припои, приспособленные для пайки сплавов на основе титана.
Цель настоящего изобретения состоит в том, чтобы восполнить этот пробел и таким образом устранить недостатки известного способа приклеивания при помощи силиконовых эластомеров.
Неожиданным образом было установлено, что алюминиевые сплавы, имеющиеся в коммерческой продаже и предназначенные, в частности, для механических конструкций или для электрической сварки, подходят для пайки металлических материалов на основе титана.
В частности, настоящее изобретение предлагает способ описанного во введении типа и предусматривает, что этот способ включает в себя пайку с использованием в качестве металлического припоя алюминиевого сплава, содержащего магний и практически не содержащего кремний.
Механическая, физическая и химическая стойкость соединения, полученного с использованием способа согласно настоящему изобретению, оказываются более высокими по сравнению с клеевыми соединениями. Кроме того, процесс пайки оказывается менее дорогостоящим, чем процесс склеивания, причем как с точки зрения используемых материалов, так и с точки зрения осуществления такого соединения.
Наличие кремния в металлическом припое является нежелательным, поскольку кремний снижает температуру применения и устойчивость к коррозии.
Возможные дополнительные или уточняющие признаки настоящего изобретения перечислены ниже:
– алюминиевый сплав содержит от 0,5 до 8% магния по массе;
– алюминиевый сплав содержит примерно 5% магния по массе;
– алюминиевый сплав содержит не более 0,3% кремния по массе;
– металлические детали изготовлены из сплава на основе титана, содержащего от 5,5 до 6,75% алюминия и от 3,5 до 4,5% ванадия по массе;
– пайку осуществляют при давлении газа менее 1·10-2 Па;
– максимальная температура, воздействию которой подвергают припаиваемые детали в ходе пайки, составляет примерно между 660 и 670°С;
– продолжительность воздействия на припаиваемые детали температуры примерно между 660 до 670°С (т.е. время выдержи) составляет примерно 10 минут;
– металлический припой проникает в промежуток или зазор сборки между припаиваемыми деталями, имеющий толщину менее 0,8 мм;
– металлический припой проникает в зазор между припаиваемыми деталями, имеющий толщину, по меньшей мере равную 0,05 мм;
– используют такое количество металлического припоя, которое от 1,5 до 2 раз превышает объем зазора;
– алюминиевый сплав накладывают в форме проволоки;
– проволока имеет диаметр примерно от 0,5 до 2,5 мм;
– металлические детали представляют собой внутренний бандаж и множество лопаток спрямляющего аппарата компрессора турбореактивного двигателя, причем эти лопатки распределены в окружном направлении и проходят в радиальном направлении от внутреннего бандажа к наружному бандажу, и каждая из них проходит сквозь соответствующее отверстие, выполненное во внутреннем бандаже;
– концевые области лопаток выступают в радиальном направлении внутрь за пределы внутреннего бандажа;
– располагают проволоку в контакте с внутренней поверхностью внутреннего бандажа и вдоль профиля лопаток.
Объектом настоящего изобретения также является спрямляющий аппарат компрессора турбореактивного двигателя, содержащий внутренний бандаж из сплава на основе титана, наружный бандаж и множество лопаток из сплава на основе титана, распределенных в окружном направлении и проходящих в радиальном направлении от внутреннего бандажа к наружному бандажу, причем каждая лопатка проходит сквозь соответствующее отверстие, выполненное во внутреннем бандаже, отличающийся тем, что лопатки прикреплены к внутреннему бандажу паяным швом из сплава на основе алюминия, содержащего магний и практически не содержащего кремний, выполненным, в частности, при помощи описанного выше способа.
Признаки и преимущества настоящего изобретения будут лучше понятны из подробного описания, приведенного ниже со ссылкой на прилагаемые фигуры.
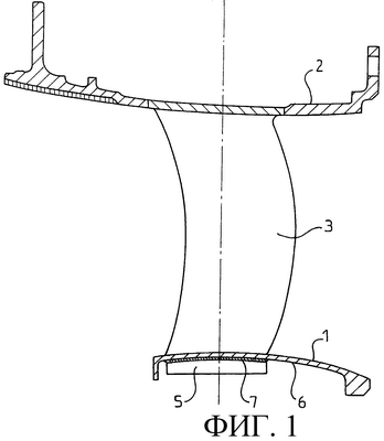
Фиг.1 представляет собой частичный схематический вид в осевом разрезе одной ступени спрямляющего аппарата компрессора авиационного турбореактивного двигателя, демонстрирующий лопатку, соединенную с внутренним бандажом при помощи способа согласно настоящему изобретению.
Фиг.2 представляет собой схематический вид в разрезе, демонстрирующий проволоку из алюминиевого сплава, размещенную на месте припаивания лопатки к внутреннему бандажу.
Фиг.3 представляет собой вид, аналогичный показанному на фиг.2 и демонстрирующий сборку, полученную после пайки.
На фиг.2 и 3 для большей ясности бандаж 1 и лопатка 3 представлены схематически в форме плоских пластин одинаковой толщины.
Частично представленная ступень лопаточного спрямляющего аппарата в классическом случае содержит неподвижный внутренний бандаж 1 и неподвижный наружный бандаж 2, а также ряд спрямляющих лопаток 3, проходящих в целом в радиальном направлении от внутреннего бандажа к наружной бандажу. Эти лопатки 3 распределены в окружном направлении по периферии бандажей, обычно равномерным образом. Внутренний бандаж 1 имеет отверстия 4, форма которых адаптирована к форме профиля (поперечного сечения) лопаток. Сквозь каждое из этих отверстий проходит одна лопатка 3, концевая область 5 которой выступает в направлении оси двигателя за пределы отверстия 4 и, следовательно, за пределы внутренней поверхности 6 этого бандажа 1. Лопатки 3 прикрепляют к наружному бандажу 2, например, при помощи сварки, осуществляемой электронным пучком.
В соответствии с настоящим изобретением, лопатки 3 прикрепляют к внутреннему бандажу 1 при помощи паяных швов 7, выполненных с использованием в качестве металлического припоя алюминиевого сплава, содержащего от 0,5 до 8% магния по массе и практически не содержащего кремний.
Предпочтительно, алюминиевый сплав в данном случае используют в форме проволоки диаметром примерно 2 мм.
Пример воплощения настоящего изобретения описан далее для случая применения при припаивании лопаток к внутреннему бандажу ступени спрямляющего аппарата компрессора авиационного турбореактивного двигателя, причем упомянутые лопатки и внутренний бандаж изготовлены из сплава ТА6V, который представляет собой сплав на основе титана, содержащий 6% алюминия и 4% ванадия по массе.
Лопатки 3 вставляют в сквозные отверстия 4, выполненные в стенке внутреннего бандажа 1 и адаптированные по своей форме к поперечному сечению лопаток, так, что вокруг лопаток между их наружной поверхностью и располагающейся против нее поверхностью отверстий 4 существует промежуток или зазор 9 сборки толщиной 0,35 мм. Концевая область 5 каждой лопатки выступает в направлении оси двигателя за пределы внутренней поверхности 6 внутреннего бандажа 1. После этого размещают проволоку 8 из сплава на основе алюминия, содержащего 5% магния и менее 0,3% кремния по массе, имеющую диаметр 2 мм и изогнутую в форме U-образного элемента вокруг упомянутой области 5 таким образом, чтобы она входила в контакт с противоположными поверхностями области 5 и с поверхностью 6 бандажа, как это показано на фиг.2.
Затем полученный таким образом узел помещают в вакуумную печь, в которой давление снижают до уровня ниже 1·10-2 Па. После этого выполняют следующий термический цикл:
– подъем от 20 до 400°С со скоростью 7°С/мин;
– плато при 400°С в течение 30 мин;
– подъем до 600°С со скоростью 7°С/мин;
– плато при 600°С в течение 10 мин;
– подъем до 660°С со скоростью 7°С/мин;
– плато между 660 и 670°С в течение 10 мин;
– охлаждение в вакууме до 400°С и далее в инертном газе.
В ходе этой термической обработки металл, из которого изготовлена проволока 8, расплавляется, проникает вследствие капиллярного эффекта в промежуток или зазор 9 сборки и заполняет этот зазор с формированием после охлаждения паяного шва 7, который имеет радиусы сопряжения 10 с каждой стороны бандажа и лопатки.
Описанный выше пример ни в коем случае не является ограничивающим. В частности, металлический припой может быть использован в форме, отличной от проволоки, например, в форме тонкой полосы, в виде порошка или пасты, и может быть размещен в зазоре 9, предпочтительно выходя при этом внутрь и/или наружу за пределы бандажа 1. Металлический сплав на основе титана, из которого изготовлены припаиваемые детали, может иметь химический состав, отличный от состава сплава ТА6V.
Формула изобретения
1. Способ соединения металлических деталей (1, 3) из сплава на основе титана, включающий их пайку с использованием металлического припоя, отличающийся тем, что пайку осуществляют при давлении газа менее 1·10-2 Па, а в качестве металлического припоя используют алюминиевый сплав, содержащий магний, а также кремний в количестве не более 0,3 мас.%.
2. Способ по п.1, отличающийся тем, что алюминиевый сплав содержит от 0,5 до 8 мас.% магния.
3. Способ по п.2, отличающийся тем, что алюминиевый сплав содержит примерно 5 мас.% магния.
4. Способ по п.1, отличающийся тем, что металлические детали (1, 3) изготовлены из сплава на основе титана, содержащего от 5,5 до 6,75 мас.% алюминия и от 3,5 до 4,5 мас.% ванадия.
5. Способ по п.1, отличающийся тем, что максимальная температура, воздействию которой подвергают детали (1, 3) в ходе пайки, составляет примерно между 660 и 670°С.
6. Способ по п.5, отличающийся тем, что продолжительность воздействия на детали (1, 3) температуры в диапазоне примерно между 660 и 670°С составляет примерно 10 мин.
7. Способ по п.1, отличающийся тем, что детали (1, 3) собирают с зазором (9) менее 0,8 мм, в который проникает металлический припой.
8. Способ по п.7, отличающийся тем, что детали (1, 3) собирают с зазором (9), по меньшей мере, равным 0,05 мм.
9. Способ по п.7 или 8, отличающийся тем, что используют такое количество металлического припоя, которое в 1,5-2 раза превышает объем зазора.
10. Способ по п.1, отличающийся тем, что используют припой из алюминиевого сплава в виде проволоки (8).
11. Способ по п.10, отличающийся тем, что проволока (8) имеет диаметр примерно от 0,5 до 2,5 мм.
12. Способ по п.1, отличающийся тем, что соединяют металлические детали (1, 3), представляющие собой внутренний бандаж (1) и множество лопаток (3) спрямляющего аппарата компрессора турбореактивного двигателя, причем эти лопатки распределены в окружном направлении и проходят в радиальном направлении от внутреннего бандажа к наружному бандажу (2) и каждая из них проходит сквозь соответствующее отверстие (4), выполненное во внутреннем бандаже (1).
13. Способ по п.12, отличающийся тем, что концевые области (5) лопаток (3) выступают в радиальном направлении внутрь за пределы внутреннего бандажа (1).
14. Способ по п.12 или 13, отличающийся тем, что используют припой из алюминиевого сплава в виде проволоки (8), которую располагают в контакте с внутренней поверхностью (6) внутреннего бандажа (1) и вдоль профиля лопаток (3).
15. Спрямляющий аппарат компрессора турбореактивного двигателя, содержащий внутренний бандаж (1) из сплава на основе титана, наружный бандаж (2) и множество лопаток (3) из сплава на основе титана, распределенных в окружном направлении и проходящих в радиальном направлении от внутреннего бандажа к наружному бандажу, причем каждая из лопаток проходит сквозь соответствующее отверстие (4), выполненное во внутреннем бандаже, и прикреплена к нему паяным швом (7), отличающийся тем, что лопатки соединены с внутренним бандажом при помощи способа по любому из пп.1-14.
РИСУНКИ
|
|