|
| На основании пункта 3 статьи 13 Патентного закона Российской Федерации от 23 сентября 1992 г. № 3517-I патентообладатель обязуется передать исключительное право на изобретение (уступить патент) на условиях, соответствующих установившейся практике, лицу, первому изъявившему такое желание и уведомившему об этом патентообладателя и федеральный орган исполнительной власти по интеллектуальной собственности, – гражданину РФ или российскому юридическому лицу. |
|
(21), (22) Заявка: 2005113767/15, 05.05.2005
(24) Дата начала отсчета срока действия патента:
05.05.2005
(46) Опубликовано: 27.12.2006
(56) Список документов, цитированных в отчете о поиске:
SU 904739 A, 15.02.1982. RU 2147915 C1, 27.04.2000. SU 999214 A1, 30.04.1992. SU 1544465 A1, 23.02.1990.
Адрес для переписки:
123458, Москва, ул. Твардовского, 11, кв.92, О.С. Кочетову
|
(72) Автор(ы):
Кочетов Олег Савельевич (RU), Кочетова Мария Олеговна (RU), Ходакова Татьяна Дмитриевна (RU), Стареев Михаил Евгеньевич (RU), Львов Геннадий Васильевич (RU), Львова Наталья Анатольевна (RU), Львова Юлия Геннадиевна (RU)
(73) Патентообладатель(и):
Кочетов Олег Савельевич (RU)
|
(54) ФИЛЬТР ИЗ МЕТАЛЛОКЕРАМИКИ
(57) Реферат:
Изобретение откосится к оборудованию для очистки газов и выделения из горячих газовых потоков ценных пылевидных продуктов, например катализаторов. Изобретение может найти применение в химии, металлургии и других отраслях промышленности. Технический результат – повышение степени очистки газового потока от целевого компонента и пыли. Фильтр содержит корпус, фильтрующий блок, закрепленный на перегородке в корпусе, устройство для регенерации и бункер для сбора пыли. Фильтрующий блок выполнен в виде закрепленных на перегородке фильтрующих патронов, включающих в себя фильтрующие элементы из листовой металлокерамики, полученные прокаткой металлического порошка из хромсодержащей нержавеющей стали Х30 или бронзы с последующим спеканием при температуре 800…1300°С. Фильтрующие элементы выполнены в виде по крайней мере двух последовательно закрепленных на газораспределительной трубе пакетов. 2 з.п. ф-лы, 3 ил.
Изобретение откосится к оборудованию для проведения адсорбционных процессов для очистки газов дуговых электропечей в производстве карбида кальция, стали, ферросплавов, для очистки доменного газа, в производстве урана, для выделения из горячих газовых потоков ценных пылевидных продуктов, например катализаторов.
Наиболее близким техническим решением к заявляемому объекту является фильтр из металлокерамики, содержащий корпус, фильтрующий блок, включающий фильтрующие элементы из листового пористого материала, закрепленные на перегородке в корпусе, устройство для регенерации и бункер уловленной пыли, по а.с. СССР №516415, В 01 D 53/02 от 23.01.74 г. (прототип).
Недостатком известного фильтра является то, что он не обеспечивает высокой степени очистки газового потока от целевого компонента и пыли.
Технический результат – повышение степени очистки газового потока от целевого компонента и пыли за счет увеличения площади контакта адсорбента с целевым компонентом.
Это достигается тем, что в фильтре из металлокерамики, содержащем корпус, фильтрующий блок, включающий фильтрующие элементы из листового пористого материала, закрепленные на перегородке в корпусе, устройство для регенерации и бункер уловленной пыли, фильтрующий блок выполнен в виде закрепленных на перегородке фильтрующих патронов, включающих в себя фильтрующие элементы, выполненные в виде, по крайней мере, двух последовательно закрепленных на газораспределительной трубе пакетов, а устройство для регенерации установлено на перегородке, причем фильтрующие элементы выполнены из листовой металлокерамики, полученной прокаткой металлического порошка хромсодержащей нержавеющей стали Х30 или бронзы с последующим спеканием при температуре 800…1300°С.
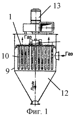
На фиг.1 изображен общий вид фильтра, на фиг.2 – фронтальный разрез фильтрующего патрона, на фиг.3 – сечение пакета фильтрующих элементов.
Фильтр из металлокерамики содержит корпус 9, фильтрующий блок 10, закрепленный на перегородке 1 в корпусе, устройство для регенерации 11, установленное на перегородке 1, и бункер 12 для сбора пыли. На корпусе может быть установлен вентиляторный агрегат 13. Фильтрующий блок 10 выполнен в виде закрепленных на перегородке фильтрующих патронов, включающих в себя фильтрующие элементы 7 из листовой металлокерамики, полученные прокаткой металлического порошка из хромсодержащей нержавеющей стали Х30 или бронзы с последующим спеканием при температуре 800…1300°С, которые закреплены в виде по крайней мере двух последовательно закрепленных на газораспределительной трубе 2 с перфорацией 3 фильтрующих пакетов. Внизу трубы расположена заглушка 4. Каждый из пакетов фильтрующих элементов выполнен в виде цилиндров 7 с круглым или овальным сечением из листового пористого материала, сваренных посредством аргоно-дуговой сварки, причем в нижней части которых закреплена заглушка с трубкой 8 для отсоса пыли, а в верхней в месте расположения перфорации 3 в газораспределительной трубе 2 установлены отражатели 6 арочного типа, приваренные к трубе 2. Индивидуальный бункер 5 выполнен конического сечения и закреплен своим днищем на газораспределительной трубе 2. Он связан с фильтрующими элементами 7 посредством трубок 8, закрепленных в днище фильтрующих элементов, причем коническая поверхность бункера выполнена упругой и раскрывающейся под действием сил тяжести собравшейся в бункере пыли, которая поступает в общий бункер 12.
Фильтр из металлокерамики работает следующим образом.
Газовый поток на очистку подается через боковой патрубок аппарата, встречает на своем пути фильтрующий блок 10 с фильтрующими патронами, проходит через фильтрующие элементы 7 и поступает в трубу 2. Очищенный газовый поток выводится из аппарата через выходной патрубок вентиляторным агрегатом 13. Степень засорения фильтрующих элементов контролируется датчиками давления (на чертежах не показаны), а очистка их осуществляется механизмом регенерации 11, например вибрационного типа.
Предлагаемое устройство позволяет существенно повысить степень очистки газового потока от целевого компонента и пыли за счет увеличения площадей контакта адсорбента с целевым компонентом при тех же габаритных размерах колонны, а также повысить эксплуатационные характеристики.
Формула изобретения
1. Фильтр из металлокерамики, содержащий корпус, фильтрующий блок, включающий фильтрующие элементы из листового пористого материала, закрепленные на перегородке в корпусе, устройство для регенерации и бункер уловленной пыли, отличающийся тем, что фильтрующий блок выполнен в виде закрепленных на перегородке фильтрующих патронов, включающих в себя фильтрующие элементы, выполненные в виде по крайней мере двух последовательно закрепленных на газораспределительной трубе пакетов, а устройство для регенерации установлено на перегородке, причем фильтрующие элементы выполнены из листовой металлокерамики, полученной прокаткой металлического порошка из хромсодержащей нержавеющей стали Х30 или бронзы с последующим спеканием при температуре 800…1300°С.
2. Фильтр из металлокерамики по п.1, отличающийся тем, что каждый из пакетов фильтрующих элементов выполнен в виде цилиндров с круглым или овальным сечением из листового пористого материала, сваренных посредством аргонодуговой сварки, причем в нижней части которых закреплена заглушка с трубкой для отсоса пыли, а в верхней в месте расположения перфорации в газораспределительной трубе установлены отражатели арочного типа, приваренные к трубе.
3. Фильтр из металлокерамики по п.1, отличающийся тем, что бункер конического сечения закреплен на газораспределительной трубе и связан с фильтрующими элементами посредством трубок, закрепленных в днище фильтрующих элементов, причем коническая поверхность бункера выполнена упругой и раскрывающейся под действием сил тяжести собравшейся в бункере пыли.
РИСУНКИ
|
|