|
|
(21), (22) Заявка: 2004104624/14, 24.10.2001
(24) Дата начала отсчета срока действия патента:
24.10.2001
(30) Конвенционный приоритет:
10.08.2001 HU P0103279
(43) Дата публикации заявки: 10.03.2005
(46) Опубликовано: 27.12.2006
(56) Список документов, цитированных в отчете о поиске:
RU 2045971 С1, 20.10.1995. RU 2116745 C1, 10.08.1988. US 5925034 A, 20.07.1999. US 5344433 A, 06.09.1994. DE 19954710 C1, 15.03.2001. US 5855595 A, 05.01.1999. US 5292346 A, 08.03.1994. US 1677016 A, 10.07.1928. US 1616722 A, 08.02.1927. US 1782906 A, 25.11.1930. US 1800277 A, 14.04.1931. US 2227422 A, 07.01.1941. WO 96/36396 A2, 21.11.1966. WO 98/22184 A1, 28.05.1998.
(85) Дата перевода заявки PCT на национальную фазу:
10.03.2004
(86) Заявка PCT:
HU 01/00102 (24.10.2001)
(87) Публикация PCT:
WO 03/013653 (20.02.2003)
Адрес для переписки:
119146, Москва, а/я 33, ИнтерПат, пат.пов. И.В.Журавлевой
|
(72) Автор(ы):
КЕМЕНИ Лайош (HU), ДОБОЗИ Аттила (HU), БОР Золт (HU), РАЦ Бела (HU), САБО Габор (HU), ИГНАЦ Ференц (HU)
(73) Патентообладатель(и):
КЕМЕНИ Лайош (HU), ДОБОЗИ Аттила (HU), БОР Золт (HU), РАЦ Бела (HU), САБО Габор (HU), ИГНАЦ Ференц (HU)
|
(54) АППАРАТ ДЛЯ СВЕТОЛЕЧЕНИЯ
(57) Реферат:
Изобретение относится к медицинской технике. Аппарат для светолечения для лечения и профилактики воспалительных болезней тела содержит источник ультрафиолетового света, излучающий пучок ультрафиолетового света, оптический согласующий узел, соединенное с ним светопроводящее устройство и соединенное с ним контактное устройство облучения ультрафиолетовым светом. Источником света является лампа дугового разряда, в которой устройство токоснабжения подключено к электродам, установленным в кварцевом баллоне. Баллон заполнен газом или смесью газов, излучающих свет частично в ультрафиолетовом спектре. Лампа снабжена вогнутым зеркалом, отражающим часть излучаемого пучка ультрафиолетового света, и конденсорной линзой, фокусирующей полный пучок ультрафиолетового света. Кварцевый баллон, вогнутое зеркало, конденсорная линза размещены в кожухе, имеющем выходное отверстие. За выходным отверстием размещены оптический фильтр и светопроводящее устройство. Изобретение позволяет повысить эффективность лечения при упрощении устройства. 10 з.п. ф-лы, 11 ил.
Настоящее изобретение относится к медицинским приборам, в частности к аппарату для светолечения, источнику света, оптическому согласующему узлу для него, а также применению аппарата.
Настоящее изобретение относится к аппарату для лечения и предупреждения часто встречающихся воспалительных болезней в полостях тела, например для лечения болезней слизистой оболочки носа и пазух полости носа, таких как: аллергическое воспаление носовой полости (сенная лихорадка), вазомоторный ринит, эозинофильный ринит неаллергического происхождения, хронической синусит (воспаление в пазухах полости носа) или полипы носа с помощью ультрафиолетового света.
Ринит – это воспалительное заболевание слизистой оболочки носа, для него характерны зуд в носу, чиханье, насморк или заложенность носа, иногда потеря обоняния. Воспаление слизистой оболочки носа часто сопровождается воспалением пазух носовой полости (риносинусит, хронический синусит). Как следствие частых и возобновляющихся воспалений слизистой оболочки, появляются повреждения чрезмерного роста тканей, так называемые полипы на слизистой оболочке.
Одной из таких характерных болезней является аллергическое воспаление носа (сенная лихорадка).
Аллергическое воспаление носа или сенная лихорадка является наиболее распространенным, поражающим от 10 до 20% населения. Число больных аллергическим воспалением слизистой оболочки носа очень быстро возросло особенно в развитых промышленных странах по истечении нескольких последних лет. Прямые и косвенные расходы на лечение составляют огромные суммы из-за большого числа больных.
Хотя сенная лихорадка не очень серьезное заболевание, ее неприятные симптомы сильно ухудшают качество жизни. Сенная лихорадка часто сопровождается аллергическим конъюнктивитом, а иногда и общими симптомами. У одних больных эти симптомы (сезонное воспаление носа) действуют несколько месяцев, а у других больных длятся целый год (круглогодичное воспаление носа).
Причинами появления симптомов являются сначала специфическое связывание IgE под действием аллергена на поверхности клеток, а после повторного воздействия аллергена активизация клеток, имеющих IgE рецепторы.
В результате этой активизации гистамин и другие заранее выработанные медиаторы выделяются из клеток, выделяющих гистамин, затем в клетках вырабатываются новые медиаторы, привлекая другие воспалительные клетки в слизистую оболочку (Howarth PH, Salagean M, Dokic D: Allergic rhinitis: not purely a histamine-related disease. Allergy 55: 7-16, 2000).
Лечение этой болезни не полностью решено. Для блокировки медиаторов, выделенных из увеличенного числа воспалительных клеток в слизистой оболочке, вызывающих клинические симптомы, применяются антигистамины временно или систематически. Хромогликат натрия применяется для торможения выделения медиатора, а кортикостероиды применяются временно или систематически для блокировки синтеза нового медиатора. При специальных условиях можно применять и терапию снижения чувствительности. Хотя развитие болезни и появление клинических симптомов в основном довольно хорошо известны, достижение состояния полностью без симптомов редко достигается с помощью ныне имеющихся лекарств, поэтому любой новый метод лечения этой болезни имеет большое значение для медицины.
Другой характерной болезнью является вазомоторный ринит.
Вазомоторный ринит – это воспалительное расстройство слизистой оболочки неизвестного происхождения, которое вызывается разными неспецифическими факторами. Клинические симптомы в большой мере похожи на симптомы аллергического воспаления носа, то есть постоянно заложенный нос, зуд в носу, чиханье, насморк, а также иногда возникает потеря обоняния. Симптомы появляются из-за медиаторов, активизирующих выделяющие клетки. Эти медиаторы выделяются нервными окончаниями слизистой оболочки из-за раздражительных воздействий.
Еще одной характерной болезнью является неаллергический эозинофильный ринит.
Это заболевание характеризуется большим количеством эозинофила в выделениях носа и отсутствием аллергического происхождения. Это заболевание часто связано с появлением полипа, чрезмерным приростом слизистой оболочки носа. Клинические симптомы те же самые, что и у аллергического воспаления носа.
Характерными заболеваниями являются также риносинусит и синусит.
Воспаление пазух полости носа часто сопровождается воспалительным состоянием слизистой оболочки носа (насо синусит), но изолированное воспалительное состояние пазух полости носа (синусит) тоже встречается часто. Это заболевание часто имеет аллергическое происхождение, хотя действительная причина часто остается неизвестной. Лечение не найдено, но обыкновенно применяется та же терапия, что для воспаления носа.
Ультрафиолетовый свет применяется уже более 20 лет для лечения аллергических и автоиммунных заболеваний кожи. Ультрафиолетовый свет тормозит иммунное противодействие клеток под действием антигенов и может привести к сопротивляемости (Streilein JW, Bergstresser PR: Genetic basis of ultraviolet-B on contact hypersensitivity. Immunogenetics 27: 252-258, 1988).
Иммунная реакция на подавляющее действие ультрафиолетового света основывается на тормозящем действии на выработку антигенов и на индуцирование апоптоза Т-клеток. Облучение псорально светочувствительной кожи светом ультрафиолет-Б (длина волны от 280 до 320 нм) или ультрафиолет-А (длина волны от 320 до 400 нм) тормозит ее иммунные процессы. Существует ряд аппаратов для лечения светом заболеваний кожи.
В настоящее время существует много различных источников ультрафиолетового света.
Эти источники света могут быть сгруппированы по принципу действия, по выходной энергии или мощности, по импульсному или непрерывному методу работы, по излучению монохромного или полихромного света и т.д.
Ранее для лечения использовались источники ультрафиолетового света с широким диапазоном волн (широкополосные UVB, BB-UVB). В последние годы широко используются более эффективные источники ультрафиолетового света с узким диапазоном волн (узкополосные NB-UVB) (Degitz К, Messer G, Plewig G, Röcken M: Schmalspektrum UVB 311 versus Breitspektrum UVB. Neue Entwicklungen in der Phototherapie. Hautarzt 49: 795-806, 1998).
На основании наших предыдущих исследований на пациентах, болеющих псориазом, было установлено, что ксенон-хлоридный эксимерный лазер с длиной волны 308 нм оказался более эффективным в лечении, чем NB-UVB источник (Bónis В, Kemény L, Dobozy A, Bor Zs, Szabó G, Ignácz F: 308 nm excimer laser for psoriasis. Lancet 35: 1522, 1977; Kemény L, Bónis В, Dobozy A, Bor Z, Szabó G, Ignácz F: 308 nm excimer laser thrapy for psoriasis. Arch Dermatol. 137: 95-96, 2001).
Появление оптических аппаратов, выпускающих ультрафиолетовый свет, дало значительное развитие светолечению. Примером может служить устройство, передающее ультрафиолетовый свет по волоконной оптике, используемой в инструменте Saalman Cup, в котором концентрированный ультрафиолетовый свет проходит по оптоволоконному кабелю. Поэтому он может быть применен для лечения маленьких повреждений кожи или слизистой оболочки (Taube KM, Fiedler H: Hochkonzentrierte UV. Bestrahlung kleiner Hautbezirke mit einem neuen Punktstrahler. Grundlagen und Ergebnisse. Deutsche Dermatologe, 10: 1453, 1992).
Такое устройство, однако, не может быть использовано в сравнительно маленьких полостных органах из-за довольно большого диаметра поверхности, которая соприкасается с кожей или со слизистой оболочкой. Оно не может быть введено в такие сравнительно маленькие полостные органы как, например, полость носа из-за толщины оптоволоконного кабеля. Этот прибор пригоден для лечения только таких полостных органов, в которых отдаленный конец оптического кабеля, а также поверхность для лечения можно наблюдать глазом (например, полость рта). Он также не может использоваться для лечения таких поверхностей тела, которые не могут зрительно контролироваться (слизистые оболочки полости носа, пазухи и слизистые оболочки желудочно-кишечной, а также мочеполовой системы).
Существует большое количество светопроводящих средств для передачи ультрафиолетового света, испускаемого источниками ультрафиолетового света. Свет длиной волны 308 нм от ксенон-хлоридного эксимерного лазера, подаваемым оптическим кабелем, может применяться для лечения сравнительно маленьких полостей, таких как канал корня зуба при удалении материала с зуба (Folwacny M, Haffner С, Hickel R: Substance removal on teeth with and without calculus using 308 nm XeCl excimer laser radiation. An in vitro investigation. J. Clin Periodontol 26: 306-12, 1999). Он также применим для лечения атеросклероза посредством лечения стенок кровеносных сосудов (U.S. Patent 4,686,979), или для улучшения снабжения сердца кислородом путем обеспечения сердца новыми кровеносными сосудами с помощью лазера (U.S. Patent 5,976,124), или прекращения образования новых сосудов при ангиопластике с помощью разрушения некоторых клеток сердечных мышц (U.S. Patent 5,053,033).
Важная общая черта этих систем заключается в том, что ультрафиолетовый свет, имеющий большую энергию у конца светопроводящей системы, падает на маленькие площади в несколько сотен квадратных микрон, где его действие приводит к разрушению химических связей, т.е. к разрушению и удалению ткани. С использованием оптического кабеля, состоящего из множества оптических волокон, стало возможным лечение больших повреждений (U.S. Patent 6,071,302; WO 9607451; Asawanonda P, Anderson RR, Chang Y, Taylor CR: 308 nm excimer laser for the treatment of psoriasis: a dose-response study. Arch Dermatol 136: 619-24, 2000).
Аппараты для лечения светом, соединенные с эндоскопом, применяются для светодинамического лечения опухолей (рак мочевого пузыря или бронхиальный рак), хотя в этих аппаратах ультрафиолетовый свет не применяется, и они снабжены специальными наконечниками для лечения опухоли (U.S. Patents of Nos. 4,313,431; 4,612,938; 4,67,6,231; 4,998,930; 5,146,917).
В настоящее время аппараты для лечения светом, испускающие ультрафиолетовый свет, представляют собой ручные инструменты, сконструированные для специальных целей, и они мало или совсем не пригодны для лечения под визуальным контролем в таких маленьких полостях тела как полость носа.
Известен аппарат для лечения и предупреждения воспалительных болезней тела, в том числе трубчатых полостей тела, к которым относятся полости уха, горла, носа, матки, мочевого пузыря, прямой кишки и другие, содержащий источник ультрафиолетового света, излучающий пучок ультрафиолетового света, оптический согласующий узел, соединенное с ним светопроводящее устройство и соединенное с ним контактное устройство облучения ультрафиолетовым светом (RU 2045971 C1, A 61 N 5/06, 20.10.1995).
Указанный аппарат использует, в основном, концентрированный солнечный свет для лечения пораженных точек поверхности тела. В этом аппарате излучение попадает на поверхность рефлектора. В существующих устройствах используются дорогостоящие излучатели УФ-излучения, довольно жесткого при лечении слизистых оболочек трубчатых полостей тела.
Целью данного изобретения является разработка аппарата, излучающего ультрафиолетовый свет, для лечения светом ультрафиолетового света, а также применение этого аппарата для лечения светом.
Только свет ультрафиолетовых лазеров благодаря особым свойствам лазерного света эффективно передается по оптоволоконным кабелям из тонких оптических волокон, имеющего диаметр в несколько десятых долей миллиметра, однако лазерные аппараты дороги. Поэтому необходим источник ультрафиолетового света, излучающий свет из маленького объема со световой энергией, необходимой для эффективного лечения светом даже при использовании оптоволоконного кабеля маленького диаметра (несколько десятых долей миллиметра).
Желательно, чтобы этот источник света был, по сравнению с лазером дешевым в производстве. Одним из возможных источников света является газозаполненная лампа с высоким давлением и короткой дугой.
Хотя ультрафиолетовый свет применялся в течение многих лет для лечения заболеваний чрезмерного прироста и воспалительных болезней кожи, ультрафиолетовый свет еще не применялся для лечения часто встречающихся иммунных заболеваний слизистой оболочки носа. Neumann и Finkelstein использовали красный свет узкого диапазона и низкого энергетического уровня для лечения слизистой оболочки носа и обнаружили, что он эффективен против круглогодичного воспаления и против полипов носа (Neumann I, Finkelstein Y: Narrow-band red light phototherapy in perennial allergic rhinitis and nasal polyposis. Ann. Allergy Asthma Immunol. 78: 399-406, 1997).
Результаты опытов, служащие основой настоящего изобретения, показывают, что одно или несколько повторных облучений слизистой оболочки носа и пазух носовой полости с применением ультрафиолетового света, имеющего разные длины волн (UVB, UVA, UVB и UVA, а также совместная терапия лекарством псорален и светом UVA) прекращают клинические симптомы воспалений носа или пазух полости носа, а также их совместное воспаление, появившееся по разным причинам, и приводят к уменьшению полипа носа. Предлагаемый аппарат оказался эффективным также для предупреждения этих болезней, когда лечение ультрафиолетным светом применялось до появления клинических симптомов.
Предметом настоящего изобретения является аппарат для светолечения, применяемый для предупреждения и лечения болезней тела главным образом заболеваний слизистой оболочки носа и пазух полости носа, слизистых оболочек полостей рта, горла, пищевода, желудка, тонкой и толстой кишки, желудочно-кишечного тракта, прямой кишки, ушей, трахеи, мочеполового тракта, portio, матки и конъюнктивы.
Отличительными признаками аппарата являются источник ультрафиолетового света, оптический согласующий узел, фокусирующий свет, светопроводящее устройство и контактное устройство облучения ультрафиолетовым светом.
Предметами изобретения являются также источник света и оптический согласующий узел настоящего аппарата, отличающиеся тем, что устройство токоснабжения подключается к электродам, встроенным в баллон кварцевой лампы. Баллон заполнен газом, например ксеноном, или смесью газов, например смесью ксенона, аргона и паров ртути. Газ или газовая смесь способен излучать свет частично в ультрафиолетовом спектре под действием электрического разряда. Баллон оснащен вогнутым зеркалом, отражающим часть пучка лучей ультрафиолетового света, и конденсорной линзой, фиксирующей ультрафиолетовый свет. Кварцевый баллон, вогнутое зеркало, конденсорная линза и выходное отверстие размещены в кожухе, а оптический фильтр и светопроводящее устройство установлены за выходным отверстием.
Аппарат согласно настоящему изобретению может быть эффективно использован для лечения или для предупреждения воспалительных заболеваний в полостях тела, например сенная лихорадка, вазомоторный ринит, неаллергической эозинофильный ринит, хронический ринит, чрезмерный рост тканей, в том числе полипов носа.
Аппарат согласно изобретению, составляющие его части, а также результаты использования аппарата показаны на фиг.1-11, где:
Фиг.1 – основные составляющие части аппарата для светолечения и их взаимное расположение.
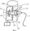
Фиг.2 – предпочтительный вариант выполнения источника ультрафиолетового света и оптический согласующий узел.
Фиг.3 – вариант выполнения оптического согласующего узла, в который одновременно поступает свет источника нацеливающего света, что позволяет следить за поверхностью, подлежащей лечению.
Фиг.4 – вариант выполнения контактного устройства, служащего для облучения ультрафиолетовым светом, в корпусе которого установлено светопроводящее устройство.
Фиг.5 – вариант выполнения контактного устройства облучения ультрафиолетовым светом, корпус которого не содержит светопроводящего устройства. Ультрафиолетовый свет направляется дихроическим зеркалом, а свет для осмотра направляется на поверхность, подлежащей лечению, с помощью вогнутого зеркала с отверстием в центре.
Фиг.6 – вариант выполнения контактного устройства облучения ультрафиолетовым светом с наконечником с отражающей свет поверхностью для облучения плоских поверхностей.
Фиг.7 – вариант выполнения контактного устройства облучения ультрафиолетовым светом с наконечником с отражающей свет поверхностью для лечения цилиндрически симметричных поверхностей.
Фиг.8 – вариант выполнения контактного устройства для точечного облучения.
Фиг.9 – аппарат для светолечения с применением гибкого эндоскопа.
Фиг.10 – график, иллюстрирующий, что ксенон-хлоридный лазер с длиной волны 308 нм смягчает такие клинические симптомы, как заложенность носа, зуд в носу, насморк, чиханье и зуд неба у пациентов, болеющих аллергическим ринитом.
Фиг.11 – график, иллюстрирующий, что лечение совместным применением ультрафиолетового света и лекарств смягчает такие клинические симптомы, как заложенность носа, зуд в носу, насморк, чиханье и зуд неба у пациентов, болеющих аллергическим ринитом.
Аппарат для светолечения, описанный в настоящем изобретении, применим для лечения и предупреждения часто встречающихся воспалительных болезней человеческого тела, особенно для лечения слизистой оболочки носа и пазух полости носа от таких болезней, как аллергическое воспаление носа (сенная лихорадка), вазомоторный ринит, неаллергический эозинофильный ринит, хронический синусит (воспаление пазух полости носа) или полипы носа с помощью ультрафиолетового света.
Фиг.1 схематически иллюстрирует аппарат для светолечения для лечения слизистой оболочки носа.
На фиг.1 показаны: источник ультрафиолетового света 1, выходной пучок лучей ультрафиолетового света 2, оптический согласующий узел 3, в котором при прохождении фокусируется ультрафиолетовый свет. Пучок лучей поступает в светопроводящее устройство 4, а из него – в контактное устройство 5 облучения ультрафиолетовым светом. Контактное устройство вводится в ноздрю 6 пациента. Свет из контактного устройства направляется на слизистую оболочку носа.
В качестве источника ультрафиолетового света могут быть использованы различные монохроматические источники света (лазеры), среди которых: ксенон-хлоридный лазер, азотный лазер, неодимовый лазер с умножением частоты, любой твердотельный лазер, ксенон-фторидный эксимерный лазер, ультрафиолетовые диодные лазеры любого типа или другие лазеры, излучающие свет в ультрафиолетовом спектре. Кроме монохроматических источников света для лечения могут применяться любые другие источники света, излучающие ультрафиолетовый свет в нескольких диапазонах спектра. Такими источниками являются дуговые лампы, заполненные ксеноном, парами ртути, ксеноном и парами ртути, флуоресцентные лампы и ультрафиолетовые светодиоды (UV-LED).
Хотя в качестве источника ультрафиолетового света 1 может применяться любой известный источник ультрафиолетового света, мы используем источник света, сконструированный, согласно данному изобретению, как показано на фиг.2.
На фиг.2 показаны устройство токоснабжения 7 и провода 8, соединяющие его с электродами 11. Электроды 11 размещены во внутреннем пространстве кварцевого баллона 12, заполненного газом. Часть пучка лучей ультрафиолетового света 2, созданного во внутреннем пространстве, отражается вогнутым зеркалом 9, а другая часть поступает непосредственно в конденсорную линзу 15. Фокусированный пучок лучей ультрафиолетового света 2 выходит из кожуха 10 через выходное отверстие 14, проходит через оптический фильтр 13, а затем поступает в светопроводящее устройство 4.
На фиг.2 показано, что ток идет от устройства токоснабжения 7 по проводам 8, а электроды 11 создают разряд в кварцевом баллоне 12, заполненном газом или смесью газов, состоящими, например, из ксенона, аргона и паров ртути, который излучает свет частично в ультрафиолетовом спектре. Объем разряда меняется в пределах от нескольких мм3 до десятых долей мм3. Этот объем разряда, излучающий пучок света, состоящий частично из ультрафиолетового света, поступает в фокус вогнутого зеркала 9, таким образом, часть света, излучаемого разрядом, падает на вогнутое зеркало 9, а отраженный параллельный пучок поступает в конденсорную линзу 15. Другая часть пучка 2, содержащая ультрафиолетовый свет, поступает прямо в конденсорную линзу 15. Конденсорная линза 15 фокусирует падающий на нее свет. Сфокусированные световые лучи выходят из кожуха 10 через выходное отверстие 14 на оптический фильтр 13. Оптический фильтр 13 выполняет спектральное фильтрование излучаемого света. В соответствии с выбранным фильтром в светопроводящее устройство поступят ультрафиолетовые лучи типа А и/или В.
Монохроматический или полихроматический ультрафиолетовый свет проходит через оптический согласующий узел 3 в светопроводящее устройство 4, соединенное с контактным устройством облучения 5, служащего для лечения.
На фиг.3 показан предпочтительный вариант воплощения оптического согласующего узла 3. Пучок ультрафиолетового света 2, поступающий в оптический согласующий узел 3, направляется дихроическим зеркалом 16 в светопроводящее устройство через систему линз 17. Дихроическое зеркало 16 одновременно выполняет и спектральное фильтрование. Свет источника 18 нацеливающего луча, например гелий-неонового лазера или диода, излучающего красный свет или свет любого другого цвета, проходит через дихроическое зеркало 16, таким образом, тоже поступит в светопроводящее устройство 4 через систему линз 17. При необходимости светопроводящее устройство 4 может применяться для обратного прохождения отраженного света и отраженный свет, проходящий через дихроическое зеркало, можно видеть в оптическом устройстве наблюдения 19.
В качестве светопроводящего устройства 4 может применяться любой оптический кабель или рукав, пригодный для прохождения ультрафиолетового света. Оптический кабель может состоять из различных материалов, например из волокон кварцевого стекла или из капиллярных трубок, наполненных проводящей ультрафиолетовый свет жидкостью, а внутренние поверхности трубок покрыты веществом, отражающим ультрафиолетовый свет. Диаметр кабеля может меняться от 1 микрона до 10 мм. Светопроводящее устройство 4, при необходимости, может выполнять также спектральное фильтрование.
Лечение слизистой оболочки носа и пазух полости носа можно провести, используя контактные устройства облучения 5, имеющие разные формы. Устройство вставляется и помещается в ноздре. Для лечения можно выбрать наиболее пригодное контактное устройство облучения 5 из ряда контактных устройств, выполненных в соответствии с данным изобретением.
Одно из предпочтительных вариантов выполнения контактного устройства облучения 5 показано на фиг.4. В этом варианте выполнения светопроводящее устройство 4 проходит через рукоятку 20, оптическую трубку 22 и заканчивается слегка выступающим концом из конического наконечника 24. На одном конце трубки 22 установлены лупа 21 и зеркало 28, а на другом конце установлена головка 25 с выходным окном 26. Головка 25 контактного устройства 5 облучения ультрафиолетовым светом соединяется с оптической трубкой 22 с помощью устройства крепления 23. Источник света 27 для осмотра установлен в рукоятке 20 и снабжается энергией от внутреннего или внешнего источника тока. Зеркало 28 подает свет осмотра на освещаемую поверхность. Ультрафиолетовый свет, свет осмотра и, при необходимости, нацеливающий свет проходят через выходное отверстие 26 на поверхность, подлежащую лечению. Лупа 21, установленная на контактном устройстве лечения ультрафиолетовым светом, служит для визуального наблюдения поверхности лечения.
На фиг.5 показан вариант выполнения контактного устройства облучения ультрафиолетовым светом, в котором на одном конце трубки 22 установлены лупа 21 и дихроическое зеркало 16, а на другом конце – головка 25 с выходным окном 26. Пучок ультрафиолетовых лучей 2 попадает из светопроводящего устройства 4 на линзу 29 рукоятки 20, отражается дихроическим зеркалом 16 оптической трубки 22 и поступает на поверхность лечения через выходное отверстие 26 головки 25. Источник света 27 для осмотра установлен в рукоятке 20. Свет осмотра проходит через дихроическое зеркало 16, отражается вогнутым зеркалом 30 с отверстием посередине и освещает поверхность лечения.
Можно использовать и такие контактные устройства облучения 5 ультрафиолетовым светом, при которых поверхность лечения контролируется с помощью внешнего источника света для осмотра.
На фиг.6 показан вариант выполнения контактного устройства облучения ультрафиолетовым светом, в котором светопроводящее устройство 4 установлено в рукоятку 31 удлиненной формы с коническим наконечником. Оптический согласующий узел 3 подает пучок ультрафиолетового света 2 в светопроводящее устройство 4, который поступает в головку 32 для облучения плоских поверхностей. Головка 32 для облучения плоских поверхностей соединена с рукояткой 31 с помощью устройства крепления 23. Пучок ультрафиолетового света 2 падает на поверхность, подлежащую лечению, после его отражения от поверхности кварцевой призмы или плоского зеркала.
На фиг.7 показано контактное устройство облучения 5 ультрафиолетовым светом для цилиндрически симметричного лечения полости носа. В этом варианте выполнения светопроводящее устройство 4 установлено в рукоятке 31 удлиненной формы с коническим наконечником. Пучок ультрафиолетового света 2 поступает в головку 33 цилиндрически симметричного облучения контактного устройства облучения ультрафиолетовым светом и, отражаясь от конической или сферической поверхности, падает радиально на поверхность, подлежащую лечению. Головка 33 цилиндрически симметрического облучения соединяется с рукояткой 31 с помощью устройства крепления 23. Данное устройство можно использовать для цилиндрически симметричного облучения полости носа.
Вариант выполнения устройства, показанный на фиг.8, используется для точечного облучения слизистой оболочки носа. Светопроводящее устройство 4 установлено в рукоятке 31 удлиненной формы с коническим наконечником. Пучок ультрафиолетового света 2 падает на поверхность, подлежащую лечению, через головку 35 для точечного облучения, выполненную в виде плоскопараллельного диска или линзы 36, изготовленной из кварца или из пластмассы, прозрачной для ультрафиолетовых лучей.
Другой вариант выполнения аппарата для точечного облучения слизистой оболочки показан на фиг.9. Пучок ультрафиолетового света 2, излучаемый источником света 1, фокусируется в оптическом согласующем узле 3, проходит через светопроводящее устройство 4, размещенном в гибком эндоскопе 37, и поступает в контактное устройство облучения ультрафиолетовым светом. Оптический кабель 42 для света осмотра и оптический кабель 38 передачи изображения также размещены в эндоскопе. Источник света 27 для осмотра снабжает систему видимым светом. Линза 41 для света осмотра направляет свет осмотра в оптический кабель 42 для света осмотра. Плоскопараллельный диск или линза 36 закрывает конец эндоскопа, входящий в контакт со слизистой оболочкой. Поверхность, облучаемая ультрафиолетовым светом, визуально контролируется с помощью устройства обработки изображения 39 гибкого эндоскопа 37.
Светопроводящее устройство 4 установлено в гибком эндоскопе 37 с возможностью поворота вокруг своей оси с помощью устройства 40 установки положения для изменения направления света, исходящего из наклонного отдаленного конца светопроводящего устройства 4. Это решение позволяет лечить и другие полостные органы, например гортань, пищеварительный тракт или мочеполовые органы.
Предпочтительней использовать оптическую систему PAL (панорамных кольцевых линз), прозрачную для ультрафиолетового света, вместо головки 33 цилиндрически симметрического облучения, а также вместо плоскопараллельного диска или линзы 36 точечного облучения контактного устройства 5 облучения ультрафиолетовым светом. Так как оптический аппарат PAL пригоден и для оптической обработки изображения, он позволяет одновременно осуществлять и осмотр поверхности лечения, и цилиндрически симметричное и точечное облучение.
Использование аппарата лечения светом согласно настоящему изобретению излагается ниже.
Аппарат для светолечения, описанный в настоящем изобретении, может применяться для лечения и предупреждения болезней, преимущественно для лечения часто встречающихся воспалительных заболеваний слизистых оболочек носа и пазух полости носа, таких как аллергическое воспаление носа (сенная лихорадка), вазомоторный ринит, неаллергический эозинофильный ринит, хронический синусит (воспаление в пазухах полости носа) или для лечения полипов носа (часто встречающееся повреждение от чрезмерного прироста слизистой оболочки носа при условиях хронического воспаления) с помощью ультрафиолетового света.
Применения аппарата основаны на результатах наших исследований, которые показывают, что ультрафиолетовый свет уменьшает число и снижает активность воспалительных клеток (действующих против аллергического раздражения эозинофильных и лимфатических клеток), выпускающих и синтетирующих медиаторы в слизистой оболочке, смягчая, таким образом, клинические симптомы аллергических заболеваний и заболеваний, связанных с чрезмерным приростом клеток. Это воздействие ультрафиолетового света частично связано с введением апоптоза.
Ксенон-хлоридный эксимерный лазер с длиной волн 308 нм является одним из наиболее подходящих источников света для облучения ультрафиолетовым светом. Результаты исследований показали, что свет ксенон-хлоридного лазера с длиной волн 308 нм вводит апоптоз Т-клеток в зависимости от дозы и длительности облучения. Сравнение способностей света ксенон-хлоридного лазера с длиной волн 308 нм и узкополосного UVB света (NB-UVB) к введению апоптоза Т-клеток показало, что свет ксенон-хлоридного лазера привел к значительно более сильному апоптозу Т-клеток, чем NB-UVB свет.
Кроме ксенон-хлоридного лазера можно применять и другие источники монохроматического света в качестве источника ультрафиолетового света, например азотный лазер, неодимовый лазер с умножением частоты или другой твердотельный лазер, ксенон-фторидный эксимерный лазер, ультрафиолетовый светодиодный лазер или любой другой лазер, излучающий свет в ультрафиолетовом спектре. Кроме того, для лечения можно использовать источники ультрафиолетового света, излучающие свет с различными длинами волн, как, например, лампы дугового разряда, заполненные ксеноном, парами ртути, смесью паров ртути и ксенона, флуоресцентные лампы, NB-UVB, ультрафиолетовые светодиодные, красковые лазеры.
Перед началом лечения носа и пазух полости носа ультрафиолетовым светом измеряют порог светочувствительности с помощью источника света, применяемого для облучения на той части кожи пациента, которая перед этим не подвергалась воздействию солнечного света.
Для этого измерения выбирают наиболее подходящее ручное устройство лечения слизистой оболочки носа и пазух полости носа, конец которого, входящий в контакт с облучаемой слизистой оболочкой, помещают в нос. Выбор наиболее подходящего ручного устройства зависит от места облучаемой поверхности, а также от анатомической формы носа и пазух полости носа пациента.
Первая эффективная доза лечения слизистой оболочки носа ультрафиолетовым светом находится в пределах от 20 до 1000 мДж/см2 в зависимости от применяемого источника света. Облучение ультрафиолетовым светом производится один или несколько раз в неделю с неизменными или возрастающими дозами в зависимости от восприимчивости пациента и уменьшения клинических симптомов.
Эти облучения ультрафиолетовым светом быстро и в значительной мере смягчают такие клинические симптомы как заложенность носа, зуд в носу, насморк, чиханье и зуд неба у пациентов, болеющих аллергическим ринитом.
На фиг.10 показан график изменения тяжести симптомов сенной лихорадки (0 = нет симптомов, 3 = очень сильные симптомы) перед облучением ксенон-хлоридным лазером и после трехнедельного облучения, при котором облучения с неизменными дозами были проведены два раза в неделю. После лечения клинические симптомы и жалобы больных значительно уменьшились. Подобное смягчение клинических симптомов наблюдалось у больных, болеющих вазомоторным ринитом, неаллергическим эозинофильным ринитом, хроническим синуситом, а размеры полипов носа значительно уменьшились после светолечения.
Для предупреждения сезонного аллергического ринита облучение ультрафиолетовым светом начинается до появления клинических симптомов. Облучение в этом случае основывается на минимальной дозе покраснения кожи (MED) пациента и проводится один или несколько раз в неделю.
Для повышения эффективности лечения ультрафиолетовым светом перед облучением даются лекарственные препараты (например, псорален), повышающие чувствительность к свету, что является так называемой светохимиотерапией. Повышающие чувствительность к свету препараты псорален (5-метоксипсорален, 8-метоксипсорален или триметоксипсорален) применяются в кремах или в растворах с концентрацией от 0,0005 до 0,5%. В случаях, когда препарат повышения чувствительности (например, псорален) и ультрафиолетовый свет применяются вместе для лечения, сначала измеряют минимальную дозу светотоксичности (MPD) на той части кожи пациента, которая не подвергалась воздействию солнечного света перед лечением, такой минимальной дозой является доза, вызывающая покраснение кожи после 72 часов. Лечение слизистой оболочки носа пациента начинается дозой от 0,1 до 5,0×MPD в зависимости от тяжести симптомов пациента. Эту дозу можно повысить в зависимости от восприимчивости пациента и облучение можно проводить один или несколько раз в неделю.
Лечение светохимиотерапией быстро и эффективно подавляет такие клинические симптомы, как заложенность носа, зуд в носу, насморк и зуд неба у пациентов, болеющих сенной лихорадкой. На фиг.11 показан график изменения тяжести симптомов у болеющих сенной лихорадкой перед лечением светохимиотерапией и после трехнедельного лечения ультрафиолетовым светом с неизменной дозой облучения и двумя облучениями в неделю. Все клинические симптомы и жалобы больных сильно уменьшились после светохимиотерапии. Подобное смягчение клинических симптомов наблюдалось у пациентов, болеющих вазомоторным ринитом, неаллергическим эозинофильным ринитом, хроническим синуситом, а размеры полипов носа значительно уменьшились после совместного лечения светохимиотерапией.
Подобно лечению ультрафиолетовым светом совместное лечение светохимиотерапией тоже пригодно для предупреждения клинических симптомов пациентов, болеющих сезонным аллергическим ринитом, в этом случае лечение начинается перед появлением симптомов. Для предупреждения заболевания светохимиотерапия начинается дозами от 0,1 до 2 MPD, и облучение проводится один или несколько раз в неделю в зависимости от восприимчивости пациента.
Аппарат для светолечения согласно настоящему изобретению применим для лечения, а также для предупреждения аллергических или автоиммунных воспалительных заболеваний и других органов (желудочно-кишечного тракта, мочеполового тракта и конъюнктивы).
Возможные побочные эффекты
Подобно действию кортикостероидов ограниченного применения для лечения ультрафиолетовый свет ввиду его иммунноподавляющего действия может способствовать появление вирусных и бактериальных заражений на облученных поверхностях, хотя вероятность таких заражений меньше, чем при применении ныне используемых препаратов местного подавления иммунной реакции, так как ультрафиолетовый свет оказывает прямое бактерицидное действие на микробы (Folwacny M, Liesenhoff Т, Lehn N, Horch НН: Bactericidal action of 308 nm excimer-laser radiation: an in-vitro investigation. Endodontics, 24: 781-785,1998), a также повышает непосредственное действие эпителиальных клеток на микробы (Csató M, Kenderessy SzA, Dobozy A: Enhancement of Candida Albicans killing activity of separated human epidemal cells by ultraviolet radiation. Br J Dermatol 116: 469-475, 1987).
Известно, что повторяемое облучение большими дозами ультрафиолетового света вызывает возможность образования карциномы. Эффект образования карциномы связан с дозой ультрафиолетового света, которая накапливается в течение нескольких лет. Так как действие ультрафиолетового света на образование карциномы зависит от накопленной дозы света, а облучение при светолечении, а также при светохимиотерапии слизистой оболочки носа намного меньше, чем те, которые повышают риск образования рака, повышенный риск образования карциномы в существующих методиках лечения очень мал.
Аппарат светолечения и его применение имеет следующие преимущества.
Во всем мире затрачиваются миллиарды долларов для лечения таких часто встречающихся болезней слизистой оболочки носа и пазух полости носа, как аллергическое воспаление носа (сенная лихорадка), вазомоторный ринит, неаллергический эозинофильный ринит, хронический синусит или полипы носа. Несмотря на имеющиеся возможности лечения, работоспособность больных сильно снижается. Аппарат светолечения быстро и эффективно смягчает клинические симптомы пациентов, поэтому прямые и косвенные расходы на лечение этих болезней в большой мере снижаются. Кроме того, источник света, описанный в настоящем изобретении, можно применять для лечения любой болезни, о которой известно, что излечивается ультрафиолетовым светом.
Применение аппарата для светолечения согласно настоящему изобретению иллюстрируется следующими примерами.
Пример 1
Симптомы пациента, страдавшего 10 лет от сенной лихорадки, вызванной Carex sp., не реагировали на применяемые антигистамины и кортикостероидные носовые капли. При осмотре пациент жаловался на сильные заложенность носа, зуд в носу, насморк, частое чиханье и зуд неба у носа. Минимальная доза (MED) была определена на спине пациента, не подверженной солнечному свету, используя ксенон-хлоридный лазер с длиной волн 308 нм, которая оказалась равной 200 мДж/см2. Светолечение началось спустя один день. Для этой цели применялся пучок ультрафиолетового света 2 с длиной волны 308 нм, излучаемый источником ультрафиолетового света (ксенон-хлоридного лазера). Пучок света был сфокусирован оптически и направлен в оптический кабель 4, изготовленный из кварца и имеющий диаметр 1,6 мм. Кабель подключался к контактному устройству 5 облучения, показанному на фиг.4. Выходное окно 26 устройства, закрытое плоскопараллельным прозрачным пластмассовым диском диаметром 4 мм, было приведено в контакт со слизистой оболочкой носа и поверхность облучалась дозой 100 мДж/см2. Облучение проводилось импульсами с частотой импульсов 1 Гц, длиной импульса 15 нс и энергией импульса 1,79 мДж, измеренной в окне 26 контактного устройства облучения 5. При диаметре окна 26, равном 4 мм, его площади 0,1256 см2, плотность энергии излучения составила 14,25 мДж/см2. Всего было применено 7 импульсов, чтобы составить дозу 100 мДж/см2. Было облучено 16 участков в каждой ноздре. Лечение наблюдалось визуально с использованием очков, защищающих от ультрафиолетовых лучей, с применением видимого света от источника света осмотра 27, размещенного в рукоятке 20 контактного устройства облучения 5 ультрафиолетовым светом. Время облучения составляло 5 минут, включая время перемещения устройства. Облучение не вызвало никаких неприятных ощущений у пациента. Облучение повторялось дважды в неделю, используя тот же самый аппарат, но доза облучения повышалась на 50 мДж/см2 каждую неделю. Симптомы и жалобы пациента заметно уменьшились после второго облучения и на третьей неделе после шестого облучения симптомы у пациента не наблюдались совсем. Облучение было остановлено и возвращения симптомов не наблюдалось. Облучение проводилось быстро и не причиняло неприятностей пациенту. В течение облучения пациент не принимал никаких лекарственных препаратов. Светолечение оказалось более эффективным, чем ранее использованные терапии.
Пример 2
Для пациентов, болеющих круглогодовым аллергическим воспалением слизистой оболочки носа, вызываемым домашними пылевыми клещами, для которых лечение антигистамином и ограниченно используемыми стероидами оказалась неэффективным, начали светолечение ксенон-хлоридным лазером с длиной волны 308 нм.
Определили MED у каждого пациента и начинали светолечение с дозой 0,5 MED. Головка 33 цилиндрически симметричного облучения контактного устройства облучения 5 вводилась во внутренний канал носовой полости, при этом поверхность цилиндрически симметрично облучалась светом ксенон-хлоридного лазера. Длина импульсов составляла 15 нс, частота облучения 10 Гц. Плотность энергии каждого импульса составляла 2 мДж/см2. Длительность дозы 100 мДж/см2 равнялась 5 сек. Затем головка цилиндрически симметричного облучения вводилась в среднюю, а затем в верхнюю часть носовой полости, и облучение повторялось таким же образом на этих местах. Облучение правой и левой носовых полостей длилось около 2 минут. Облучение повторялось дважды в неделю с теми же дозами. Клинические симптомы значительно улучшились у каждого больного после восьмого облучения, при этом никакие побочные эффекты не наблюдались.
Пример 3
Тяжелые симптомы больного, страдающего сенной лихорадкой, вызванной Carex sp., не улучшались достаточно от применения антигистаминов и ограниченно использованных кортикостероидовых носовых капель. При осмотре симптомы (заложенность носа, зуд в носу, насморк, частое чиханье и зуд неба у носа) оказались серезными и было решено применить светохимиотерапию. Определили минимальную дозу токсичности света на предплечье больного, не подверженном действию солнечного света. Для облучения применялся источник ультрафиолетового света, показанный на фиг.2, таким образом, что пучок 2 ультрафиолетового света с диапазоном длин волн от 310 до 350 нм, проходивший через оптические фильтры, поступал в светопроводящее устройство (оптический кабель) 4. Определили MPD как 500 мДж/см2 и начали облучение слизистой оболочки носа дозой 2,0×MPD (= 1000 мДж/см2), используя контактное устройство 5, показанное на фиг.4. Облучение проводилось после применения пульверизированного раствора 8-метоксипсоралена. Головка 25 контактного устройства облучения 5 ультрафиолетовым светом, показанная на фиг.4, была введена в полость носа и слизистая оболочка облучалась дозой 1000 мДж/см2. Плотность мощности ультрафиолетового света составляла 43,2 мВт/см2, измеренная у выходного окна 26 контактного устройства облучения ультрафиолетовым светом. Облучение наблюдалось визуально с применением очков для защиты от ультрафиолетовых лучей с применением лучей видимого света от источника света осмотра 27.
Контактное устройство облучения 5 ультрафиолетовым светом подводилось к слизистой оболочке всего на восьми местах в каждой ноздре. Облучение ноздрей длилось около 3 минут и не вызывало никаких неприятных ощущений у больного. Эта светохимиотерапия повторялась раз в неделю. Симптомы больного значительно улучшились после второго облучения, а после третьего облучения полностью исчезли. Лечение было прекращено после четвертой светохимиотерапии, и симптомы у больного не возобновились.
Пример 4
У пациента был найден большой полип носа в левой ноздре, который не уменьшался от ограниченного применения кортикостероидов, и этот полип был причиной хронического воспаления пазух полости носа, поэтому началось светолечение ксенон-хлоридным лазером. Минимальную дозу (MED) определили на спине больного, которая составила 250 мДж/см2. Для светолечения пучок ультрафиолетового света 2 с длиной волны 308 нм, излучаемый лазером, поступал после оптической фокусировки в кварцевый кабель 4, проводящий ультрафиолетовый свет с диаметром 0,5 мм, подключенный к контактному устройству 5 облучения ультрафиолетовым светом, показанному на фиг.8. Плоскопараллельный диск 36 указанного устройства облучения, выполненный из прозрачной пластмассы, имеющий толщину 2 мм, приводился в контакт с поверхностью полипа, затем круглый участок с диаметром 2 мм облучился дозой 750 мДж/см2. Облучение проводилось с частотой 5 Гц, длиной импульсов 15 нс, энергия импульса составляла 1,96 мДж, поэтому для облучения дозой 750 мДж/см2 потребовалось 12 импульсов. Через пять дней после одного единственного облучения полип исчез без какого-либо шрама и жалобы больного прекратились.
Пример 5
Для лечения симптомов больного с хроническим риносинуситом неизвестного происхождения ранее примененные лекарственные препараты (антигистамины, кортикостероиды и антибиотики) оказались неэффективными, поэтому было предложено светолечение. Для облучения использовался источник ультрафиолетового света 1, показанный на фиг.2. Сначала определили минимальную дозу (MED) на предплечье пациента, не подверженном солнечному свету, потом началось облучение слизистой оболочки носа дозой 140 мДж/см2. Плоскопараллельный диск 36 диаметром 4 мм контактного устройства ультрафиолетового облучения 5, показанного на фиг.4, вводился в контакт с пораженной слизистой оболочкой, поверхность которой была облучена. Облучение прошло под визуальным контролем с использованием защитных очков от ультрафиолетовых лучей и применением видимого света источника света осмотра 27. Ручное устройство было введено в контакт в восьми местах каждой ноздри, чтобы облучать всю поврежденную поверхность. Это облучение повторялось несколько раз в неделю. Симптомы больного значительно улучшились после шестого облучения, а после десятого облучения симптомы исчезли.
Даже по истечении одного месяца после окончания лечения симптомы у пациента не появились.
Перечень позиций
| 1 |
Источник ультрафиолетового света |
| 2 |
Пучок ультрафиолетового света |
| 3 |
Оптический согласующий узел |
| 4 |
Светопроводящее устройство |
| 5 |
Контактное устройство облучения ультрафиолетовым светом |
| 6 |
Ноздря |
| 7 |
Устройство токоснабжения |
| 8 |
Электрический провод |
| 9 |
Вогнутое зеркало |
| 10 |
Кожух |
| 11 |
Электрод |
| 12 |
Кварцевый баллон |
| 13 |
Оптический фильтр |
| 14 |
Выходное отверстие |
| 15 |
Конденсорная линза |
| 16 |
Дихроическое зеркало |
| 17 |
Система линз |
| 18 |
Источник нацеливающего света |
| 19 |
Оптическое устройство наблюдения |
| 20 |
Рукоятка |
| 21 |
Лупа |
| 22 |
Оптическая трубка |
| 23 |
Устройство крепления |
| 24 |
Конический наконечник |
| 25 |
Головка контактного устройства |
| 26 |
Выходное окно |
| 27 |
Источник света осмотра |
| 28 |
Зеркало |
| 29 |
Линза |
| 30 |
Вогнутое зеркало с центральным отверстием |
| 31 |
Рукоятка, имеющая форму авторучки |
| 32 |
Головка для облучения плоских поверхностей |
| 33 |
Головка цилиндрически симметричного облучения |
| 34 |
Боковая стенка, прозрачная для ультрафиолетового света |
| 35 |
Головка для точечного облучения |
| 36 |
Плоскопараллельный диск или линза |
| 37 |
Гибкий эндоскоп |
| 38 |
Оптический кабель передачи изображения |
| 39 |
Устройство обработки изображения |
| 40 |
Устройство установки положения |
| 41 |
Линза для света осмотра |
| 42 |
Оптический кабель для света осмотра |
Формула изобретения
1. Аппарат для светолечения для лечения и профилактики воспалительных болезней тела, в основном болезней носа, пазух полости носа, полости рта, горла, пищевода, желудка, тонкой и толстой кишок, прямой кишки, ушей, трахеи, мочеполового тракта, portio, матки и конъюнктивы, содержащий источник ультрафиолетового света, излучающий пучок ультрафиолетового света, оптический согласующий узел, соединенное с ним светопроводящее устройство и соединенное с ним контактное устройство облучения ультрафиолетовым светом, отличающийся тем, что указанные источник (1) ультрафиолетового света и оптический согласующий узел (3), выполнены таким образом, что источником света является лампа дугового разряда, в которой устройство токоснабжения (7) подключено к электродам (11), установленным в кварцевом баллоне (12), который заполнен газом или смесью газов, излучающих свет частично в ультрафиолетовом спектре, например ксеноном или смесью ксенона, аргона и паров ртути, причем указанная лампа снабжена вогнутым зеркалом (9), отражающим часть излучаемого пучка (2) ультрафиолетового света, и конденсорной линзой (15), фокусирующей полный пучок (2) ультрафиолетового света, кожухом (10), в котором размещены кварцевый баллон (12), вогнутое зеркало (9), конденсорная линза (15), при этом кожух имеет выходное отверстие (14), за которым расположены оптический фильтр (13) и светопроводящее устройство (4).
2. Аппарат по п.1, отличающийся тем, что оптический согласующий узел (3) содержит дихроическое зеркало (16) и систему линз (17), пропускающие кроме пучка (2) ультрафиолетового света и свет источника (18) нацеливающего света в светопроводящее устройство (4) с возможностью применения аппарата для наблюдения отраженного света, используя, при необходимости, оптическое устройство наблюдения (19).
3. Аппарат по п.1, отличающийся тем, что контактное устройство (5) облучения ультрафиолетовым светом содержит рукоятку (20), через которую проходит светопроводящее устройство (4), оптическую трубку (22), конический наконечник (24) и источник света осмотра (27), при этом на одном конце трубки (22) установлены лупа (21) и зеркало (28) или дихроическое зеркало (16), а на другом конце установлена головка (25), имеющая выходное окно (26) для одновременного излучения пучка ультрафиолетового света, направляющего света и света осмотра.
4. Аппарат по п.1, отличающийся тем, что контактное устройство (5) облучения ультрафиолетовым светом содержит рукоятку (31) с головкой (32) для лечения плоских поверхностей, или с головкой (33) для цилиндрически симметричного облучения, или с головкой (35) для точечного облучения.
5. Аппарат по п.1, отличающийся тем, что контактное устройство (5) облучения ультрафиолетовым светом содержит гибкий эндоскоп (37), через который проходит светопроводящее устройство (4), содержащий оптический кабель (42) для света осмотра и оптический кабель (38) для передачи изображения, при этом на одном конце гибкого эндоскопа (37) установлен плоскопараллельный диск или линза (36), а другим концом он соединен с устройством (39) обработки изображения с помощью оптического кабеля (38) передачи изображения.
6. Аппарат по п.1, отличающийся тем, что он применим для лечения или профилактики воспалительных болезней, связанных с чрезмерным приростом клеток тканей тела.
7. Аппарат по п.1, отличающийся тем, что он применим для лечения или профилактики воспалительных болезней, таких, как аллергический ринит или риносинусит.
8. Аппарат по п.1, отличающийся тем, что он применим для лечения или профилактики воспалительных болезней, таких, как вазомоторный ринит, неаллергический эозинофильный ринит и хронический синусит.
9. Аппарат по п.1, отличающийся тем, что он применим для лечения или профилактики воспалительных болезней слизистых оболочек желудочно-кишечного тракта и мочеполового тракта.
10. Аппарат по п.6, отличающийся тем, что он применим для лечения или профилактики воспалительных болезней, связанных с чрезмерным приростом клеток тканей тела, в том числе полипов носа.
11. Аппарат по п.1, отличающийся тем, что он применим для лечения слизистых оболочек с предварительным применением средств, повышающих светочувствительность.
РИСУНКИ
|
|