|
|
(21), (22) Заявка: 2005110579/14, 11.04.2005
(24) Дата начала отсчета срока действия патента:
11.04.2005
(46) Опубликовано: 27.12.2006
(56) Список документов, цитированных в отчете о поиске:
RU 2078593 C1, 10.05.1997. RU 2063254 С1, 10.07.1996. RU 2150304 C1, 10.06.2000. JP 2005028084 А, 03.02.2005. JP 2002233575 А, 20.08.2002.
Адрес для переписки:
607188, Нижегородская обл., г. Саров, пр. Мира, 37, ФГУП “РФЯЦ-ВНИИЭФ”, начальнику ОПИНТИ
|
(72) Автор(ы):
Лещинская Елена Викторовна (RU), Лещинский Герман Михайлович (RU)
(73) Патентообладатель(и):
Федеральное государственное унитарное предприятие “Российский федеральный ядерный центр – Всероссийский научно-исследовательский институт экспериментальной физики” – ФГУП “РФЯЦ-ВНИИЭФ” (RU)
|
(54) МАГНИТОТЕРАПЕВТИЧЕСКАЯ УСТАНОВКА
(57) Реферат:
Изобретение относится к медицинской технике. Установка содержит управляемый источник питания и охватывающий рабочую полость индуктор. Индуктор состоит из магнитопровода, выполненного из колец, навитых из полос электротехнической стали, и обмотки. Обмотка уложена вдоль магнитопровода. В кольцах магнитопровода в радиальных направлениях выполнены отверстия, в которых при помощи гаек через изоляционные втулки закреплены шпильки. Шпильки закреплены в каркасе с возможностью изменения зазора между кольцами магнитопровода и каркасом. Кольца по толщине, представляющей собой пакет из листовой стали, в местах прохождения шпилек стянуты гайками. Продольные элементы каркаса выполнены из нескольких частей, соединенных между собой изоляционными вставками. Изобретение позволяет упростить конструкцию, повысить ее технологичность, снизить потери мощности и уменьшить шум при работе установки. 3 ил.
Изобретение относится к медицинской технике и предназначено для лечения различных заболеваний путем одновременного и синхронного воздействия на все системы и органы человека равномерно вращающимся магнитным полем с периодически изменяющейся напряженностью.
Известен магнитотерапевтический аппарат Д.А.Синицкого (SU №826587 A 61 N 2/00, 1982) и магнитотерапевтическая установка (SU №1588425 А 61 N 2/00, 1990). В них вращающееся магнитное поле воздействует на тело пациента, помещенного в рабочую полость индуктора. Обмотка индукторов этих устройств уложена в пазах магнитопровода, собранного из штампованных колец электротехнической стали.
Недостатками этих устройств является сложность изготовления магнитопровода. Требуется изготовить большое количество колец сложного профиля диаметром около 1 метра и скрепить их в единый цилиндр. Это дорогостоящий и трудоемкий процесс, препятствующий широкому использованию таких устройств.
Известна магнитотерапевтическая установка «Бладгурт» (RU №2113869 МПК6 А 61 N 2/04, опубл. 27.06.98), в которой магнитопровод индуктора выполнен в виде ряда тороидальных катушек, свитых из ленты ферромагнитного материала, например стали, и соединенных вместе стяжками, на внутренней поверхности индуктора закреплены на одинаковом расстоянии друг от друга прямоугольные контуры обмоток. С наружной стороны индуктор охвачен цилиндрическим магнитным экраном и массивными торцевыми кольцами из ферромагнитного материала.
Недостатком данной установки является большое количество металла (магнитный экран и торцевые кольца), которые значительно увеличивают массу установки. Кроме этого, магнитопровод в виде тороидальных катушек, свитых из ленты ферромагнитного материала и соединенных стяжками до необходимой длины, представляет собой подвижную и нежесткую конструкцию, установка и закрепление которой достаточно сложный и трудоемкий процесс, при этом требуется специальный жесткий корпус или каркас.
Наиболее близкой по техническому решению к предлагаемой магнитотерапевтической установке является магнитотерапевтическая установка, описанная в патенте №2078593 МПК6 А 61 N 2/00, 2/02, опубл. 10.05.97, включающая управляемый источник питания и охватывающий рабочую полость индуктор. В данной установке магнитопровод индуктора выполнен составным из колец, навитых из полос электротехнической стали и установленных в пазы изоляционных колец с отверстиями, через которые протянуты витки обмотки. Индуктор вставлен в каркас с зазором и зафиксирован в каркасе посредством клиньев.
Недостатком указанной установки является сложность и трудоемкость изготовления изоляционных колец, имеющих диаметр около 1 м и большое число отверстий, по два отверстия на каждый виток обмотки ( 200 отверстий в каждом кольце), а также сложность монтажа обмотки, так как каждый виток надо протянуть через отверстия во всех изоляционных кольцах.
При создании данного изобретения решалась задача упрощения конструкции, повышения ее технологичности и эффективности работы.
При решении данной задачи техническим результатом явилось упрощение конструкции, повышение ее технологичности, снижение потерь мощности и снижение шума при работе установки.
Указанный результат достигается тем, что, по сравнению с прототипом, в котором кольца, навитые из полос электротехнической стали, вставляются в пазы дополнительных изоляционных колец с отверстиями для витков обмотки, зафиксированных в каркасе посредством клиньев, в предлагаемой установке в кольцах магнитопровода в радиальных направлениях выполнены отверстия, в которых при помощи гаек через изоляционные втулки закреплены шпильки, шпильки также закреплены в каркасе с возможностью изменения зазора между кольцами магнитопровода и каркасом, причем кольца по толщине, представляющей собой пакет из листовой стали, в местах прохождения шпилек стянуты гайками, а продольные элементы каркаса выполнены из нескольких частей, соединенных между собой изоляционными вставками.
Такая конструкция индуктора позволяет изготовить его без применения специального технологического оборудования. Кольца 1 поочередно вставляются в каркас и закрепляются при помощи шпилек 4 и гаек 7. Наличие кольцевого зазора между кольцами 1 и продольными элементами 3 каркаса и возможность изменять его позволяют выставить соосно кольца 1 и компенсировать погрешности изготовления каркаса, а также уложить обмотку.
Наличие изоляционных втулок 6, вставленных в отверстия колец 1, навитых из электротехнической стали, и стягивание кольца по толщине (пакет из листовой стали) гайками 7 способствует гашению вибрации колец и тем самым снижению шума при работе установки.
Вставки 8 из изоляционного материала в продольных элементах 3 каркаса, а также изоляционные втулки 6 в отверстиях колец 1 способствуют уменьшению потерь мощности, так как разрывают замкнутые витки, образованные продольными и кольцевыми элементами каркаса. В существующей установке до внедрения предлагаемого решения эти потери составляли около 20% мощности.
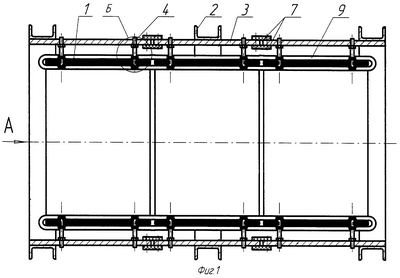
На фиг.1 представлен продольный разрез индуктора в каркасе, на фиг.2 – вид А фиг.1, на фиг.3 – вид Б фиг.1 в увеличенном масштабе.
Установка содержит управляемый источник питания (не показан), индуктор, состоящий из магнитопровода и уложенной вдоль него обмотки. Магнитопровод состоит из стальных колец 1, навитых из полосы электротехнической стали. Кольца 1 закреплены в жестком сварном каркасе, выполненном из кольцевых 2 и продольных 3 элементов, при помощи шпилек 4, ввернутых в продольные элементы 3 каркаса и зафиксированных гайками 5. Шпильки 4 вставлены в отверстия колец 1 магнитопровода через втулки 6, выполненные из изоляционного материала, например фибры или жесткой резины, и закреплены гайками 7. Продольные элементы 3 выполнены из нескольких частей, соединенных между собой через изоляционные вставки 8. Обмотка 9 выполнена по трехфазной схеме с соответствующими отводами.
Работает установка при подаче питания на трехфазную обмотку индуктора с управляемого источника питания, при этом создается равномерно вращающееся и изменяющееся по напряженности от нуля до максимума и обратно до нуля вихревое магнитное поле, воздействующее одновременно и синхронно на все тело больного, помещенного внутрь индуктора, и обеспечивающее лечебный эффект.
Формула изобретения
Магнитотерапевтическая установка, содержащая управляемый источник питания и охватывающий рабочую полость индуктор, состоящий из магнитопровода, выполненного из колец, навитых из полос электротехнической стали, и обмотки, уложенной вдоль магнитопровода, и установленный в жестком каркасе с зазором, причем каркас выполнен из кольцевых и продольных элементов, отличающаяся тем, что в кольцах магнитопровода в радиальных направлениях выполнены отверстия, в которых при помощи гаек через изоляционные втулки закреплены шпильки, шпильки также закреплены в каркасе с возможностью изменения зазора между кольцами магнитопровода и каркасом, причем кольца по толщине, представляющей собой пакет из листовой стали, в местах прохождения шпилек стянуты гайками, а продольные элементы каркаса выполнены из нескольких частей, соединенных между собой изоляционными вставками.
РИСУНКИ
|
|