|
|
(21), (22) Заявка: 2004121740/14, 15.07.2004
(24) Дата начала отсчета срока действия патента:
15.07.2004
(43) Дата публикации заявки: 10.01.2006
(46) Опубликовано: 27.12.2006
(56) Список документов, цитированных в отчете о поиске:
Эволюция протеза клапана сердца. “Медицина”, сб. трудов НУССХ им. А.Н.Бакулева РАМИ, 2004, с.134-144. SU 971314 A, 07.11.1982. RU 2062070 C1, 20.06.1996. RU 2130760 C1, 27.05.1999. RU 2066984 С1, 07.11.1982. DE 3409005 A1, 19.09.1985.
Адрес для переписки:
630055, г.Новосибирск, ул. Речкуновская, 15, ГУ ННИИПК
|
(72) Автор(ы):
Казаков Андрей Николаевич (RU), Караськов Александр Михайлович (RU)
(73) Патентообладатель(и):
ГУ Новосибирский научно-исследовательский институт патологии кровообращения им. акад. Е.Н. Мешалкина МЗ РФ (RU)
|
(54) МЕХАНИЧЕСКИЙ ПРОТЕЗ МИТРАЛЬНОГО КЛАПАНА СЕРДЦА
(57) Реферат:
Изобретение относится к медицинской технике, а именно к протезам клапанов сердца, и может быть использовано для замены пораженных митральных клапанов сердца. Основания створок клапана закреплены снаружи на торцах корпуса клапана по бокам на четырех выступающих дужках клапана. Каждая дужка имеет возможность ограничивать ход створок гранями паза шарнира угловой формы. Корпус имеет верхний и нижний горизонтальные буртики для размещения между ними участков тканей фиброзного кольца. В верхнем буртике выполнены отверстия для нитей при фиксации клапана. В основании корпуса закреплены пластины, выполняющие функцию подклапанных хорд. Технический результат состоит в приближении тока крови к естественному за счет формирования центрального отверстия клапана и расхождения створок от центра к сторонам корпуса клапана. 2 ил.
Изобретение относится к медицинской технике, а именно к протезам клапанов сердца, и может быть использовано для замены пораженных митральных клапанов сердца.
Известен искусственный клапан сердца, который содержит кольцевой углеситалловый корпус, центрально расположенные створки и пришивную манжету [1].
Недостатком известного клапана является то, что при его имплантации в предсердно-желудочковую позицию такой клапан нарушает естественный ток крови, выключает папиллярный аппарат из цикла сердечного сокращения, корпус клапана не обладает достаточной защитой от фиброзных разрастаний, манжета пропитываясь инфекционными агентами и сама способна стать очагом воспаления.
Цель изобретения – создание нового искусственного клапана сердца, предупреждающего указанные недостатки.
Цель достигается тем, что размеры, расположение, движение створок приближены к естественным створкам сердца человека и создают близкий к естественному поток крови. Безманжеточный корпус клапана обладает 4-уровневой недеформируемой защитой от фиброзных разрастаний. Введены дополнительные фиксаторы папиллярных мышц, которые создают аннулопапиллярную непрерывность.
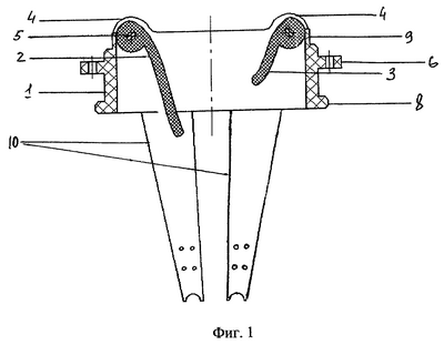
На фиг.1 представлена схема протеза, вид сбоку, на фиг.2 – то же, вид сверху.
Клапан содержит кольцевой корпус 1 и два запирательных элемента, представленные большой 2 и малой 3 створками. Большая по размеру створка является направляющей для тока крови. Основания створок шарнирно закреплены в четырех выступающих дужках 4. Корпусный паз шарнира 5 выполняет функцию ограничителя хода, т.е. своей угловой формой ограничивает амплитуду движения. В результате краевого крепления основания створок на четырех выступающих дужках по бокам относительно центральной оси корпуса открывание створок происходит в противоположные стороны, создавая условия для близкого к естественному току крови единым, неразделенным потоком через центральное отверстие клапана.
Кольцевой корпус клапана 1 имеет три недеформируемых буртика, препятствующие разрастанию паннуса к движущимся элементам протеза. Верхний горизонтальный буртик 6 имеет по всей окружности отверстия 7 для проведения шовного материала и выполняет функцию не только ограничителя нарастаний, но также служит для фиксации клапана. Нижний горизонтальный буртик 8 также препятствует нарушению запирательной функции возможным разрастанием ткани. Верхний вертикальный буртик 9 окаймляет внутренний радиус корпуса клапана. Выступающие дужки создают еще один ограничительный барьер для паннусных разрастаний.
От нижней части корпуса протеза отходят две пластины 10, замещающие функцию подклапанных хорд. Они могут быть обшиты тканью, а длина их соответствует длине замещаемых хорд.
Материалом, из которого должен быть изготовлен клапан, является углеситалл (пиролитический углерод). Данный материал длительный срок используется для изготовления искусственных клапанов сердца и доказал свою клиническую эффективность.
Механический протез митрального клапана работает следующим образом. При возрастании давления в левом предсердии створки открываются по ходу набегающего потока вниз, внутрь корпуса, при этом расхождение краев створок происходит в разные стороны, от центральной оси клапана – к корпусу клапана, формируется центральное, целостное пропускное отверстие с близким к естественному током крови. У имплантированного протеза в позицию фиброзного кольца митрального клапана защита от фиброзных разрастаний, представленная верхним горизонтальным буртиком, нижним горизонтальным буртиком, верхним вертикальным буртиком и четырьмя выступающими дужками, препятствует блокированию створок тканевыми разрастаниями. При имплантации протеза фиксированные папиллярные фиксаторы с головками папиллярных мышц возмещают функцию утраченных хорд, т.е. восстанавливают аннулопапиллярную непрерывность.
Источники информации
Формула изобретения
Механический протез митрального клапана сердца, содержащий запирающий элемент в виде створок и кольцевой корпус, отличающийся тем, что основания створок закреплены снаружи на торцах корпуса клапана по бокам на четырех выступающих дужках клапана, при этом каждая из выступающих дужек имеет возможность ограничивать ход створок из открытого в закрытое положение гранями паза шарнира угловой формы, корпус клапана имеет верхний и нижний горизонтальные буртики, между которыми помещены участки ткани фиброзного кольца и отверстия на верхнем буртике для проведения нитей при фиксации клапана, а в основании корпуса клапана закреплены две пластины, выполняющие функцию подклапанных хорд.
РИСУНКИ
MM4A – Досрочное прекращение действия патента СССР или патента Российской Федерации на изобретение из-за неуплаты в установленный срок пошлины за поддержание патента в силе
Дата прекращения действия патента: 16.07.2007
Извещение опубликовано: 27.02.2009 БИ: 06/2009
|
|