|
|
(21), (22) Заявка: 2004136593/12, 13.05.2003
(24) Дата начала отсчета срока действия патента:
13.05.2003
(30) Конвенционный приоритет:
15.05.2002 (пп.1-16) GB 0211074.0
(43) Дата публикации заявки: 27.06.2005
(46) Опубликовано: 20.12.2006
(56) Список документов, цитированных в отчете о поиске:
JP 2000051124 А, 22.02.2000. US 6286182 B1, 11.09.2001. DE 19907508 A1, 24.08.2000. RU 2017450 C1, 15.08.1994.
(85) Дата перевода заявки PCT на национальную фазу:
15.12.2004
(86) Заявка PCT:
GB 03/02054 (13.05.2003)
(87) Публикация PCT:
WO 03/096865 (27.11.2003)
Адрес для переписки:
129010, Москва, ул. Б.Спасская, 25, стр.3, ООО “Юридическая фирма Городисский и Партнеры”, пат.пов. С.А.Дорофееву
|
(72) Автор(ы):
БОДДИ Эндрю Дэвид (GB), ЭЛЗУЭРТИ Кристофер Томас (GB)
(73) Патентообладатель(и):
ТЕКТРОНИК ИНДАСТРИЗ КОМПАНИ ЛИМИТЕД (CN)
|
(54) УЗЕЛ РУКОЯТКИ ДЛЯ ПЫЛЕСОСА И ПЫЛЕСОС С ТАКОЙ РУКОЯТКОЙ
(57) Реферат:
Изобретение относится к пылеулавливающим устройствам, в частности к пылесосу и узлу рукоятки для него. Узел рукоятки для пылесоса соединен или выполнен с возможностью соединения с источником всасывания и обеспечивает возможность крепления трубки. Узел рукоятки образует канал для потока воздуха к указанному источнику всасывания от первого входного отверстия, где может крепиться указанная трубка, и в котором сам узел рукоятки содержит насадку, второе входное отверстие для потока воздуха к указанному каналу от указанной насадки и средство для перекрытия первого входного отверстия, когда указанная трубка не прикреплена. Данная конструкция устройства позволяет повысить удобство эксплуатации изобретения за счет меньшего количества смен насадок. 2 н. и 14 з.п. ф-лы, 7 ил.
Настоящее изобретение относится к узлу рукоятки для пылесоса, соединенному или выполненному с возможностью соединения с источником всасывания и обеспечивающему крепление насадки или трубки пылесоса, и пылесосу с такой рукояткой.
Обычно пылесосы комплектуются несколькими разными насадками для выполнения различных задач по очистке. Например, может быть насадка для очистки твердых полов и насадка для чистки ковров, которые предназначены для установки на жесткую, трубчатую, состоящую из одного или более частей, возможно телескопически раздвигающуюся и сдвигающуюся трубку, прикрепленную к рукоятке. Возможно использование одной насадки, допускающей легко выполняемую или иную настройку ее конфигурации для очистки и твердых и мягких поверхностей пола. К другим насадкам, которыми может комплектоваться пылесос, относятся щеточная насадка и насадка для очистки мебели, которые могут крепиться к рукоятке, чтобы ими можно было легко управлять и манипулировать с применением удлинительной трубки или без нее. Еще одна насадка, которой может комплектоваться пылесос, – это так называемая щелевая насадка, которая обычно имеет форму относительно короткой жесткой трубки со сплющенным сечением, которую можно вводить в пространство толщиной порядка 20 мм для проведения очистки мест, расположенных, например, за или под мебелью или за или под радиатором. Если каждая из указанных функций выполняется отдельной насадкой, лицо, осуществляющее очистку, может быть вынуждено за один сеанс очистки несколько раз менять насадки, которые крепятся к рукоятке (вместе с удлинительной трубкой, где это необходимо). Это неудобно.
В широком смысле целью настоящего изобретения является создание узла рукоятки для пылесоса, который осуществляет несколько функций, тем самым позволяя несколько сократить количество отдельных необходимых насадок и, тем самым, несколько уменьшить неудобство, связанное с их сменой.
Согласно настоящему изобретению предложен узел рукоятки для пылесоса, соединенный или выполненный с возможностью соединения с источником всасывания и обеспечивающий крепление всасывающей трубки, при этом узел рукоятки представляет собой проход для потока воздуха к источнику всасывания от первого входного отверстия, где может крепиться указанная трубка, и в котором сам узел рукоятки содержит очищающую насадку, второе входное отверстие для потока воздуха в указанный проход от указанной насадки, и средство для блокирования указанного первого входного отверстия, когда используется насадка без крепления трубки.
Трубка может сама блокировать второе входное отверстие, когда она прикреплена, или узел рукоятки может иметь средство для блокирования этого второго входного отверстия когда указанная трубка прикреплена.
Следует понимать, что при упоминании в настоящем описании узла рукоятки для крепления трубки, в некоторых обстоятельствах может потребоваться крепление насадки непосредственно на узел рукоятки, без использования трубки, и в объем притязаний включается узел рукоятки, к которому насадку можно крепить в общем так же, как и трубку.
Насадка, которую содержит рукоятка, может содержать насадку для очистки поверхности, включающую полость, с которой сообщается указанное второе входное отверстие и которая может приближаться к поверхности и перемещаться по ней для ее очистки. Она может иметь размер и форму, подходящие для очистки ступеней и подступенков лестниц, при этом часть или все граничные стенки, определяющие полость, могут быть снабжены щетками с короткой щетиной, участками ворсистой ткани или другими средствами, способствующими очистке.
Как вариант или дополнительно, насадка, которую содержит узел рукоятки, может содержать щелевую насадку, выполненную с возможностью перемещения между убранным положением, когда она не нужна, и выдвинутым положением, когда ее следует использовать.
Предпочтительно, щелевая насадка выполнена с возможностью поворота между убранным и выдвинутым положениями.
Далее, предпочтительно, узел рукоятки содержит и насадку для очистки поверхности, упомянутую выше, и щелевую насадку, при этом щелевая насадка в своем убранном положении лежит внутри полости насадки для очистки поверхности. В выдвинутом положении щелевая насадка выполнена с возможностью сообщения с указанным вторым входным отверстием в канал для воздуха в узле рукоятки и блокирования сообщения между вторым входным отверстием и полостью насадки для очистки поверхности.
Может иметься средство пружины, смещающее щелевую насадку в ее выдвинутое положение, и средство защелки, зацепляющееся за щелевую насадку для удержания ее в убранном положении и выполненное с возможностью отпускать щелевую насадку для перехода в выдвинутое положение по мере необходимости.
Помимо вышеописанных признаков, согласно которым предлагается многофункциональный узел рукоятки, который может устранить необходимость в некоторых отдельных насадках, которые до настоящего времени предлагались для пылесосов, узел рукоятки может быть адаптирован для передачи электроэнергии между проводниками, проходящими вдоль всасывающего шланга и проводниками, проходящими вдоль всасывающей трубки, если пылесос оснащен или может быть оснащен силовой насадкой, снабженной ворошителем/щеткой с приводом от электродвигателя. Узел рукоятки может содержать средство выключателя для управления электродвигателем такой силовой насадки.
Далее, узел рукоятки может иметь средство для управления источником всасывания, к которому проходит всасывающий шланг, например, выключателем включения/выключения и/или переключателем для управления мощностью всасывания пылесоса.
Ниже следует более подробное описание настоящего изобретения со ссылками на прилагаемые чертежи, на которых:
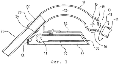
Фиг.1 – схематический вид сбоку первого варианта воплощения узла рукоятки согласно настоящему изобретению в первом рабочем состоянии.
Фиг.2 – вид, подобный фиг. 1, во втором рабочем состоянии.
Фиг.3 – вид, подобный фиг. 1, третьем рабочем состоянии.
Фиг.4 – вид снизу в перспективе узла рукоятки в состоянии, соответствующем фиг.5.
Фиг.6 и 7 – соответственно виды, соответствующие фиг.1, 2 и 3 другого варианта воплощения узла рукоятки согласно настоящему изобретению.
Как показано в схематической форме, на фиг.1-4 вариант узла рукоятки обозначен в целом позицией 10 и содержит изогнутый участок 11 захвата, внутри которого образован канал 12 для потока воздуха. На одном конце участка 11 захвата имеется соединение, в целом обозначенное позицией 13, с источником всасывания через всасывающий шланг 14. Источником всасывания может быть всасывающее устройство пылесоса “цилиндрического” или “вертикального” типа. Соединение 13 содержит первый вертлюжный узел 19, посредством которого шланг имеет возможность поворачиваться относительно узла рукоятки вокруг оси 15, как показано стрелкой 16, и второе соединение 17 в форме поворотной манжеты, благодаря которой шланг может вращаться вокруг его собственной продольной оси относительно узла рукоятки, как показано стрелкой 18.
На противоположном конце участка 11 захвата относительно того, к которому подсоединен шланг 14, узел рукоятки имеет пустотелую часть корпуса, которая в целом обозначена позицией 20. Спереди этой части 20 корпуса имеется отверстие 21, образующее первое впускное отверстие в воздушный канал 12, и в отверстие 21 вставляется концевой участок 22 трубки 23. Трубка 23 может состоять из одной или из двух частей и в последнем случае может быть выполнена с возможностью телескопического раздвигания и сдвигания. Когда трубка установлена, концевой участок 22 входит достаточно глубоко в часть 20 корпуса узла рукоятки, чтобы перекрыть сообщение между воздушным каналом 12 и остальным объемом части 20 корпуса, как будет описано ниже.
При использовании обычно к трубке 23 на ее противоположном конце относительно концевой части 22, вставленной в узел рукоятки, прикреплена насадка, например для очистки полов. Однако следует понимать, что в некоторых обстоятельствах насадку для очистки полов или другую насадку можно вставлять непосредственно в узел рукоятки без помощи трубки. В этом случае соединительная втулка насадки вставляется в узел рукоятки так же, как и концевая часть 22 трубки.
Рядом с отверстием 21 узла рукоятки внутри части 20 корпуса установлена поворотная заслонка 24, которая пружинным средством приведена в положение, показанное на фиг.2, 3, чтобы закрывать отверстие 21, когда трубка не установлена на узле рукоятки. Во время установки трубки заслонка 24 просто поворачивается против действия прижимающей ее пружины в положение, в котором она показана на фиг.1.
Участок 30 корпуса отходит назад от участка 20 корпуса узла рукоятки. Участок 30 имеет параллельные или немного сходящиеся боковые стенки 31, 32, заднюю стенку 33 и верхнюю стенку 34, которые совместно с передней стенкой 35 участка 20 корпуса определяют открытую снизу полость 36, позволяющую сам узел рукоятки использовать как насадку для очистки, например, ступеней, когда к нему не присоединена трубка. Воздушный канал 12 в участке захвата узла рукоятки сообщается с полостью 36 на своем переднем конце через внутреннюю полость части 20 и отверстие 44, которое является вторым входным отверстием в воздушный канал, при этом разрежение в полости 36 создается за счет того, что заслонка 24 закрыла отверстие 21 в узле рукоятки. На фиг.4 показано, что боковые стенки 31, 32 могут быть снабжены на своих нижних кромках, короткой щетиной, полосами ворсистой ткани или другим материалом, помогающим использовать узел рукоятки в качестве насадки.
Узел рукоятки также снабжен щелевой насадкой 40, которая выполнена поворотной между убранным положением, в котором она показана на фиг.1, 2 и 4, и выдвинутым положением, в котором она показана на фиг.3. Она закреплена в части 20 корпуса узла рукоятки с возможностью такого поворотного перемещения вокруг поперечно проходящей оси 41. Форма щелевой насадки хорошо известна и представляет собой относительно короткую по существу жесткую трубку сплющенного, в данном случае прямоугольного, сечения со скошенным соплом 42 на конце. Имеется отверстие 43, расположенное рядом с закрепленным на шарнире концом, ведущее во внутреннюю полость щелевой насадки и, когда щелевая насадка выдвинута, как показано на фиг. 3, отверстие 43 обеспечивает воздушный поток через щелевую насадку в пустотелую часть 20 корпуса узла рукоятки и, тем самым, в воздушный канал 12. Отверстие 43 совмещается с отверстием 44, которое ведет в пустотелую часть 20 корпуса и создает второе входное отверстие в воздушный канал 12. Когда щелевая насадка находится в этом положении, она перекрывает отверстие 44 из полости 36 части 30 корпуса.
Щелевая насадка 40 предпочтительно подпружинена к ее выдвинутому положению, в котором она показана на фиг.3, элемент 46 защелки, выполненный с возможностью перемещения на верхней стенке 33 части 30 корпуса и выполненный с возможностью зацепления за выступ 47 на щелевой насадке, предназначен для удержания щелевой насадки в ее убранном положении, в котором она размещена внутри полости 36.
Известны насадки для очистки пола, в которых встроены щетки/ворошители с приводом от электродвигателя, которыми оснащаются пылесосы для повышения эффективности очистки. Для использования такой силовой насадки необходимо предусмотреть электрические проводники, проходящие вдоль всасывающего шланга пылесоса и, далее, через рукоятку и трубку на насадку. Для такого применения применены электрические проводники, обозначенные позицией 50 на фиг.4 для взаимодействия с ответными электрическими разъемами, выполненными на взаимодействующем конце трубки. Узел рукоятки может содержать электрический переключатель для включения и выключения подачи питания на насадку: такой переключатель может иметь оперативный элемент, расположенный как показано позицией 51, чтобы быть легко доступным для лица, удерживающего участок 11 захвата узла рукоятки. Может устанавливаться еще один переключатель для управления электродвигателем всасывающего устройства, по меньшей мере для его включения и выключения и, возможно, для управления мощностью всасывания. Следует понимать, что соединение шланга, в целом обозначенное позицией 13, в этом случае должно обеспечивать соответствующее электрическое соединение между проводниками шланга и проводниками в узле рукоятки, которое способно выдерживать перемещение шланга относительно узла рукоятки.
На фиг.5 и 7 показан другой вариант узла рукоятки согласно настоящему изобретению с несколько иной конструкцией щелевой насадки по сравнению с вышеописанной. Общая конфигурация участка захвата рукоятки, соединения шланга и деталей корпуса 20 и 30 узла рукоятки такие же, как и описаны выше, и поэтому далее не будут подробно описываться. Этот другой вариант отличается от показанного на фиг.1-4 конструкцией, посредством которой входные отверстия в воздушный канал блокируются в зависимости от того, используется ли щелевая насадка, используется ли узел рукоятки как насадка для очистки ступеней или к ней прикреплена трубка.
В этом варианте щелевая насадка (обозначенная позицией 60) также шарнирно установлена одним концом внутри передней части (61) корпуса узла рукоятки и вместе с щелевой насадкой установлен поворотный кольцевой или барабанный элемент 62, оснащенный двумя поворотными, отходящими наружу заслонками 63, 64. Заслонка 63 подпружинена в положение, в котором она показана на фиг.6, в котором она перекрывает первое входное отверстие в воздушный канал узла рукоятки, в которое можно вставлять трубку. Когда трубка вставлена, как показано на фиг.5 заслонка 63 выталкивается против действия ее пружины. Трубка перекрывает сообщение между воздушным каналом и щелевой насадкой и полостью, в которой она размещена в убранном положении.
Когда заслонка 63 перекрывает входное отверстие, в которое вставляется трубка, пространство вокруг убранной щелевой насадки сообщается с воздушным каналом в участке захвата узла рукоятки, что позволяет использовать узел рукоятки как насадку, например, для чистки ступеней.
Когда щелевая насадка повернута в рабочее положение, как показано на фиг.7, барабан 62 повернут вместе с ней вокруг оси поворота щелевой насадки, и тогда заслонка 64 перекрывает входное отверстие из трубки в воздушный канал в участке захвата. Заслонка 63 перекрывает сообщение между воздушным каналом и частью 65 корпуса насадки. Поток воздуха в воздушном канале в участке захвата узла рукоятки возможен только из внутренней полости щелевой насадки, как показано стрелкой 67.
В вышеописанный узел рукоятки могут быть внесены различные изменения, остающиеся в рамках самого широкого объема настоящего изобретения. Например, в описанном варианте воздушный канал 12 проходит через ту часть рукоятки, которая служит участком захвата, за который держится пользователь. Однако можно создать отдельный участок захвата, в котором не будет воздушного канала, проходящего сквозь него. Это может быть желательно по эргономическим или другим причинам.
Описанный выше узел рукоятки предназначен для соединения с источником всасывания через всасывающий шланг. Известны пылесосы, в которых рукоятка подсоединяется непосредственно к источнику всасывания без какого-либо промежуточного шланга. Источник всасывания и узел рукоятки могут быть выполнены как единый, относительно легкий узел. Настоящее изобретение распространяется на такие пылесосы.
Щелевая насадка, описанная выше, выполнена с возможностью поворота относительно узла рукоятки между убранным и выдвинутым положениями. Настоящее изобретение предусматривает и ее перемещение и иным способом, например, скользящим, возможно, линейным перемещением. Далее, как описано выше, щелевая насадка в убранном положении лежит по существу внутри той части узла, которая образует насадку для очистки поверхности так, что когда используется эта насадка, интегрированная с узлом рукоятки, поток воздуха в узле рукоятки к источнику всасывания должен огибать щелевую насадку. Щелевая насадка в убранном положении может занимать какую-либо другую позицию, например, вдоль или рядом с той частью узла рукоятки, которая образует чистящую насадку. Кроме того, в самый широкий объем настоящего изобретения входит наличие в узле рукоятки только выдвижной щелевой насадки или только насадки для очистки поверхности, например, ступеней, а также наличие крепления для трубки.
В настоящем описании термин “содержит” означает “включает” или “состоит из”, а “содержащий” означает “включающий” или “состоящий из”.
Признаки, описанные в вышеприведенном описании, или в последующей формуле изобретения, или в приложенных чертежах, выраженные в их конкретных формах или в терминах средств для выполнения раскрытой функции, или способа, или процесса для достижения раскрытого результата, могут по отдельности или в любой комбинации использоваться для реализации настоящего изобретения в его различных формах.
Формула изобретения
1. Узел рукоятки для пылесоса, соединенный или выполненный с возможностью соединения с источником всасывания и обеспечивающий возможность крепления трубки, при этом узел рукоятки образует канал для потока воздуха к указанному источнику всасывания от первого входного отверстия, где может крепиться указанная трубка, и в котором сам узел рукоятки содержит насадку, второе входное отверстие для потока воздуха к указанному каналу от указанной насадки и средство для перекрытия первого входного отверстия, когда указанная трубка не прикреплена.
2. Узел по п.1, содержащий средство для перекрытия второго входного отверстия, когда трубка прикреплена.
3. Узел по п.1, в котором второе входное отверстие расположено так, чтобы перекрываться трубкой, когда она прикреплена.
4. Узел по любому из пп.1-3, в котором указанная насадка содержит насадку для очистки поверхности, содержащую полость, с которой сообщается указанное второе входное отверстие и которую можно подводить к поверхности и перемещать по ней для ее очистки.
5. Узел по п.4, в котором по меньшей мере часть ограничивающих стенок, образующих указанную полость, снабжена средством, способствующим проведению операции очистки.
6. Узел по любому из пп.1-3 или 5, в котором насадка содержит щелевую насадку, выполненную с возможностью перемещения между убранным и выдвинутым положениями.
7. Узел по п.6, в котором указанная щелевая насадка установлена с возможностью поворота между убранным и выдвинутым положениями.
8. Узел по п.6, в котором указанная щелевая насадка в убранном положении расположена внутри полости насадки для очистки поверхности.
9. Узел по п.8, в котором щелевая насадка в выдвинутом положении выполнена с возможностью сообщения с указанным вторым входным отверстием и перекрывать сообщения между вторым входным отверстием и полостью насадки для очистки поверхности.
10. Узел по любому из пп.7-9, дополнительно содержащий средство пружины, смещающее щелевую насадку в ее выдвинутое положение, и средство защелки, выполненное с возможностью зацепления с щелевой насадкой для удержания ее в убранном положении и выполненную с возможностью срабатывания для освобождения щелевой насадки для выдвижения.
11. Узел по любому из пп.1-3, 5, 7-9, который выполнен с возможностью передачи электроэнергии между проводниками, отходящими от источника всасывания и проводниками, проходящими вдоль трубки.
12. Узел по п.11, включающий средство для управления передачей электроэнергии.
13. Узел по любому из пп.1-3, 5, 7-9 или 12, включающий средство для управления источником всасывания.
14. Узел по любому из пп.1-3, 5, 7-9 или 12, соединенный или выполненный с возможностью соединения с всасывающим шлангом, ведущим к источнику всасывания.
15. Пылесос, содержащий источник всасывания и узел рукоятки по любому из предшествующих пунктов, соединенный или выполненный с возможностью соединения с источником всасывания.
16. Пылесос по п.15, дополнительно содержащий всасывающий шланг между источником всасывания и узлом рукоятки.
РИСУНКИ
|
|