|
|
(21), (22) Заявка: 2003105751/13, 27.02.2003
(24) Дата начала отсчета срока действия патента:
27.02.2003
(43) Дата публикации заявки: 10.09.2004
(46) Опубликовано: 20.12.2006
(56) Список документов, цитированных в отчете о поиске:
SU 950296, 25.08.1982. RU 2185761 C1, 27.07.2002. SU 772520, 28.10.1980. SU 33356, 30.11.1933.
Адрес для переписки:
446442, Самарская обл., п. Усть-Кинельский, ул. Учебная, 2, Самарская государственная сельхозакадемия
|
(72) Автор(ы):
Милюткин Владимир Александрович (RU), Стребков Николай Федорович (RU)
(73) Патентообладатель(и):
Самарская государственная сельскохозяйственная академия (RU)
|
(54) СПОСОБ ВЫДЕЛЕНИЯ СЕМЯН ИЗ ПЛОДОВ БАХЧЕВЫХ КУЛЬТУР, ПРЕИМУЩЕСТВЕННО ИЗ ПЛОДОВ ТЫКВЫ, И УСТРОЙСТВО ДЛЯ ЕГО ОСУЩЕСТВЛЕНИЯ
(57) Реферат:
Изобретение относится к сельскохозяйственному машиностроению, в частности к машинам для уборки и выделения семян из плодов бахчевых культур. Способ характеризуется тем, что сформированные в валок плоды направляют в ячейки подъемного барабана, посредством которого они поднимаются и сбрасываются на лоток. Затем плоды направляют в зону расположения барабанов с зацепами. Посредством вращающихся навстречу друг другу барабанов с зацепами плоды захватываются и направляются в промежуток между ними, где их разрезают на две половины. Затем плоды ориентируют срезанной частью вверх и фиксируют на транспортере для вычесывания семян с последующим их сбрасыванием в бункер. Очищенные от семян половинки плодов направляют для загрузки в транспортные средства. Устройство характеризуется тем, что оно имеет секцию валкообразователя, подъемный барабан ячеистого типа, скатный лоток, барабаны с зацепами, закрепленный на рамке верхнего барабана нож с зубовой наческой и опрокидыватель с противовесом, транспортер подачи, лента которого снабжена шипами, установленный на уровне нижнего барабана со стороны, противоположной движению плодов, и под углом к транспортеру подачи рольганг с упругогибкими пластинами, установленный над транспортером подачи барабан-выделитель с гибкими элементами, вычесывающими семена, и установленный под транспортером подачи бункер для семян с подвижным дном, сообщенный с транспортером для загрузки половинок и семян бахчевых культур в транспортные средства. Верхний барабан установлен с возможностью перемещения в вертикальной плоскости совместно с ножом и опрокидывателем. Нож установлен с возможностью возвратно-поступательного движения в продольном направлении относительно расположения барабанов. Опрокидыватель закреплен с возможностью перемещения по сектору окружности вокруг неподвижной оси. Использование изобретения позволяет снизить трудоемкость технологического процесса выделения семян из плодов бахчевых культур и улучшить качество получаемой продукции. 2 н.п. ф-лы, 2 ил.
Изобретение относится к сельскохозяйственным процессам производства продовольственной продукции, в частности к способам выделения семян из плодов бахчевых культур и устройствам для их осуществления.
Известны способы выделения семян из бахчевых культур а.с. №772500, которые обеспечивают выделение семян путем измельчения плодов на мелкие фракции, отделение семян от мякоти с помощью водного душа и сепарации семян через просветы решет. При этом каждая операция выполняется отдельным устройством, входящим в общую технологическую последовательность, образуя стационарные линии с большим объемом потребления воды, электроэнергии и применения большого количества транспортных средств для доставки бахчевых культур к месту переработки. Кроме этого, применяемые способы не исключают повреждения семян.
Известны также и устройства для осуществления применяемых способов а.с. №950296, 772500, которые выполняют технологический процесс выделения семян непосредственно в движении вдоль сформированного валка, но только плодов арбузов, у которых за счет собственного сока рабочий процесс отделения семян от мякоти и мезги возможен без воды.
По совокупности общих осуществленных признаков технологический процесс и техническое решение а.с. №950296 приняты за прототип.
Недостатки прототипа:
– высокая энергоемкость технологического процесса выделения семян из плодов бахчевых культур, в т.ч. и из плодов тыквы;
– необходимость использования большого количества воды и применения транспортных средств для доставки плодов бахчевых культур к месту переработки;
– технология выделения семян трудоемка и не исключает повреждения продукции.
Задача изобретения – снижение трудоемкости технологического процесса и улучшение качества продукции.
Задача решается за счет того, что сформированные в валок плоды направляют посредством подъемного барабана и лотка в зону расположения барабанов с зацепами, вращающихся на встречу друг другу, где плоды захватываются и направляются в промежуток между ними, при этом плоды разрезают на две половинки, которые направляют на транспортер подачи – нижнюю сразу посредством рольганга, а верхнюю после ее разворота срезанной поверхностью вверх посредством опрокидывателя, затем половинки, ориентированные срезанной частью вверх, фиксируют на подающем транспортере для вычесывания семян с последующим их сбрасыванием в бункер, причем очищенные от семян половинки плодов направляют для загрузки в транспортное средство. При этом используется устройство, которое имеет секцию валкообразователя, подъемный барабан ячеистого типа, скатный лоток для направления плодов на расположенные друг над другом с промежутком между ними и вращающиеся навстречу друг другу барабаны с зацепами, закрепленный на рамке верхнего барабана нож с зубовой наческой, опрокидыватель с противовесом и подающий транспортер, лента которого снабжена шипами, при этом на уровне нижнего барабана со стороны, противоположной движению плодов, и под углом к подающему транспортеру установлен рольганг с упругогибкими пластинами, над подающим транспортером – барабан-выделитель с гибкими элементами, вычесывающими семена, а под подающим транспортером расположен бункер для семян с подвижным дном, сообщенный с транспортером для загрузки половинок и семян бахчевых культур в транспортные средства, причем верхний барабан установлен с возможностью перемещения в вертикальной плоскости совместно с ножом и опрокидывателем, нож установлен с возможностью возвратно-поступательного движения в продольном направлении относительно расположения барабанов, а опрокидыватель закреплен с возможностью перемещения по сектору окружности вокруг неподвижной оси.
Совокупность указанных признаков отличает предлагаемый способ выделения семян из бахчевых культур и устройство для его осуществления от прототипа и определяет соответствие технологического и технического решений критерию «Новизна».
Технический результат изобретения – снижение энергоемкости и технологического процесса, улучшение качества продукции и расширение сферы применения способа выделения семян и устройства для его осуществления.
Использование устройства для выделения семян из плодов бахчевых культур в виде мобильного агрегата позволяет исключить из технологии процесс измельчения плодов на мелкие фракции и сократить при этом повреждения готовой продукции.
Кроме этого, исключается из технологии применение транспортных средств, расход воды и сокращается количество технологических операций. Это дает возможность в значительной мере сократить энергоемкость технологического процесса, улучшить качество продукции и позволит предлагаемому устройству найти широкое практическое применение в сфере производства продовольственной продукции.
Технический результат: энергоемкость технологического процесса снижается, качество продукции улучшается, сфера применения расширяется.
Отмеченные существенные признаки, отличающие предлагаемые способ и устройство от прототипа, не обнаружены автором в известных науке и технике решениях. Таким образом предлагаемые технологические и технические решения соответствуют критерию «Существенные отличия».
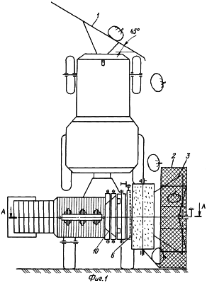
На фиг.1 схематично изображено устройство для выделения семян из плодов бахчевых культур.
На фиг.2 – вид А-А.
Устройство содержит секцию валкообразователя 1, установленную на передней навеске энергосредства под углом к направлению движения, подъемный барабан 2 ячеистого типа с приводом от реакции с почвой, скатный лоток 3, барабаны 4 с зацепами на их поверхности, расположенные друг над другом с заданным пространством между ними. На рамке верхнего барабана закреплены нож 5 с зубовой наческой 6 и опрокидыватель 7 с противовесом 8. На уровне нижнего барабана установлен рольганг 9 с упругогибкими пластинами 10 под углом к подающему транспортеру 11, лента которого снабжена шипами 12. На подающем транспортере установлен барабан-выделитель 13 с гибкими элементами 14. Под подающим транспортером расположен бункер для семян 15 с подвижным дном, сообщенный с транспортером 16 для загрузки половинок в транспортные средства.
Устройство работает следующим образом.
В процессе движения агрегата находящиеся в зоне захвата секцией 1 валкообразователя плоды бахчевых культур сдвигаются в сторону от прохода, формируя валок из плодов. Попадая в сетчатые ячеи подъемного барабана 2, плоды поднимаются и сбрасываются на лоток 3, по которому скатываются в зону расположения барабанов. Барабаны, вращаясь на встречу друг другу благодаря наличию зацепов на их поверхности, захватывают плоды и направляют их в пространство между ними. Одновременно с этим верхний барабан поднимается вверх на высоту, соответствующую половине плода, устанавливая при этом нож 5 и опрокидыватель 7 на уровне средней линии плода. Затем при движении нож разрезает плод на две половинки, которые направляют на транспортер подачи 11 – нижнюю сразу посредством рольганга 9, а верхняя передней частью по ходу движения ложится на плоскую часть опрокидывателя. Тыльная сторона половинки после схода с ножа поступает на рольганг, а передняя часть в это время поддерживает ее, создавая опрокидывающий момент, затем вторая половинка занимает на рольганге положение, обратное первоначальному, и вслед за первой поступает на транспортер подачи, одновременно ориентируется с помощью упругих пластин 10 в продольном направлении относительно средней линии движения.
После схода половинок с ножей верхний барабан опускается, устанавливая нож и опрокидыватель в исходное положение относительно следующего плода. При поступлении половинок на подающий транспортер 11 последние накалываются на шипы 12, занимая устойчивое положение от смещения от осевой линии. В процессе поступательного движения половинок гибкие элементы 14, врезаясь в мякоть плодов, вычесывают семена и сбрасывают их в бункер 15, а половинки плодов – на транспортер 16 для загрузки их в транспортные средства. Периодически по мере заполнения бункера семена с помощью движения бункера поступают на транспортер 16, а затем в кузов транспортных средств.
Формула изобретения
1. Способ выделения семян из плодов бахчевых культур, преимущественно из плодов тыквы, характеризующийся тем, что сформированные в валок плоды направляют посредством подъемного барабана и лотка в зону расположения барабанов с зацепами, вращающихся навстречу друг другу, где плоды захватываются и направляются в промежуток между ними, при этом плоды разрезают на две половинки, которые направляют на транспортер подачи – нижнюю сразу посредством рольганга, а верхнюю – после ее разворота срезанной поверхностью вверх посредством опрокидывателя, затем половинки, ориентированные срезанной частью вверх, фиксируют на подающем транспортере для вычесывания семян с последующим их сбрасыванием в бункер, причем очищенные от семян половинки плодов направляют для загрузки в транспортные средства.
2. Устройство для выделения семян из плодов бахчевых культур, преимущественно из плодов тыквы, характеризующееся тем, что оно имеет секцию валкообразователя, подъемный барабан ячеистого типа, скатный лоток для направления плодов на расположенные друг над другом с промежутком и вращающиеся навстречу друг другу барабаны с зацепами, закрепленный на рамке верхнего барабана нож с зубовой наческой и опрокидыватель с противовесом и подающий транспортер, лента которого снабжена шипами, при этом на уровне нижнего барабана со стороны, противоположной движению плодов, и под углом к подающему транспортеру установлен рольганг с упругогибкими пластинами, над подающим транспортером – барабан-выделитель с гибкими элементами, вычесывающими семена, а под подающим транспортером расположен бункер для семян с подвижным дном, сообщенный с транспортером для загрузки половинок и семян бахчевых культур в транспортные средства, причем верхний барабан установлен с возможностью перемещения в вертикальной плоскости совместно с ножом и опрокидывателем, нож установлен с возможностью возвратно-поступательного движения в продольном направлении относительно расположения барабанов, а опрокидыватель закреплен с возможностью перемещения по сектору окружности вокруг неподвижной оси.
РИСУНКИ
MM4A – Досрочное прекращение действия патента СССР или патента Российской Федерации на изобретение из-за неуплаты в установленный срок пошлины за поддержание патента в силе
Извещение опубликовано: 10.08.2007 БИ: 22/2007
|
|