|
|
(21), (22) Заявка: 2005118059/12, 14.06.2005
(24) Дата начала отсчета срока действия патента:
14.06.2005
(46) Опубликовано: 20.12.2006
(56) Список документов, цитированных в отчете о поиске:
RU 2183397 C1, 20.06.2002. SU 1812930 A3, 30.04.1993. SU 1792587 A1, 07.02.1993. SU 1697620 A1, 15.12.1991. RU 2024221 C1, 15.12.1994. RU 2023367 C1, 30.11.1994. RU 2001547 C1, 30.10.1993. DE 3042734 A1, 27.05.1981. US 4314571 A, 09.02.1982.
Адрес для переписки:
127349, Москва, Шенкурский пр., 10в, кв.138, Е.Ф. Ветрову
|
(72) Автор(ы):
Ветров Евгений Федорович (RU), Арбузов Павел Моисеевич (RU), Чернявская Валентина Павловна (RU), Сумаруков Олег Евгениевич (RU), Игнатьев Василий Герасимович (RU)
(73) Патентообладатель(и):
Общество с ограниченной ответственностью “Аэровис Лтд.” (RU)
|
(54) ОЧИСТКА ЗЕРНОУБОРОЧНОГО КОМБАЙНА
(57) Реферат:
Изобретение относится к сельскохозяйственному машиностроению и может быть использовано в зерноуборочных комбайнах. Очистка зерноуборочного комбайна содержит стрясную доску с решетной надставкой, скатный воздухопроницаемый лист, верхнее и нижнее решета, вентилятор с рабочими колесами. Корпус вентилятора выполнен в виде обечайки и сопряженных с ней стенок, образующих основной и дополнительный патрубки. Верхняя полка дополнительного патрубка установлена под концом стрясной доски. В корпусе вентилятора установлена радиальная перегородка, верхний торец которой расположен в зоне начала скатного листа, а нижний торец – над обечайкой с зазором. Нижняя стенка корпуса вентилятора установлена относительно скатного воздухопроницаемого листа с образованием проема, а начало нижнего решета смещено в сторону скатного воздухопроницаемого листа относительно начала верхнего решета. Конструкция очистки зерноуборочного комбайна обеспечивает повышение качества сепарации и уменьшение потерь за счет лучшего воздухораспределения в рабочей зоне очистки. 1 ил.
Изобретение относится к сельскохозяйственному машиностроению, а именно к конструкции зерноуборочного комбайна.
Наиболее эффективно настоящее изобретение может быть использовано при уборке зерновых культур, например пшеницы, ячменя, риса, сои и других, а также семян бобовых (клевера, люцерны), семян злаковых (тимофеевки, райграса), а также семенников стеблевых и овощных культур.
Известна очистка зерноуборочного комбайна (см. патент РФ №2024221, М. кл. А 01 F 12/44, 1994 г.), содержащая стрясную доску с пальцевой гребенкой и расположенную под последней с образованием проема относительно заднего конца стрясной доски решетную надставку, верхнее и нижнее решета, скатный воздухопроницаемый лист, установленный с частичным перекрытием нижнего решета, причем под стрясной доской и скатным воздухопроницаемым листом расположен корпус вентилятора с рабочими колесами осевого типа, выполненный в виде обечайки и сопряженных с ней передней и нижней стенок, образующих основной и дополнительный патрубки с радиально закрепленной на плоском щите перегородкой, верхний торец которой расположен в зоне начала скатного воздухопроницаемого листа, а нижний торец – над обечайкой с зазором, при этом на выходе основного патрубка установлен перфорированный клапан, а дополнительный патрубок имеет вспомогательный канал, входная часть которого образована стрясной доской и скатным воздухопроницаемым листом.
Недостатком этой очистки является то, что интенсивный воздушный поток направлен под небольшим углом к решетной надставке и в основном скользит вдоль последней. Такой пологий вход приводит к тому, что векторы скорости воздушного потока и поступающего на начало решетной надставки зернового вороха различаются незначительно и воздушный поток лишь ускоряет, но недостаточно эффективно разрыхляет ворох. Еще одним недостатком указанной очистки является существенная неравномерность воздушных потоков по ширине очистки в начале решетной надставки.
Наиболее близким аналогом является очистка зерноуборочного комбайна (см. патент РФ №2183397, М. кл. А 01 F 12/44, 2002 г.), содержащая верхний и нижний решетные станы, стрясную доску с решетной надставкой, скатный воздухопроницаемый лист, вентилятор с двумя рабочими колесами осевого типа, установленными по краям корпуса, выполненного в виде обечайки и сопряженных с ней передней и нижней стенок и разделенного на основной и дополнительный патрубки радиально закрепленной на плоском щите перегородкой, верхний торец которой расположен в зоне начала скатного воздухопроницаемого листа, а нижний торец – над обечайкой с зазором, при этом на выходе основного патрубка установлен перфорированный клапан, а дополнительный патрубок имеет образованный стрясной доской и скатным воздухопроницаемым листом вспомогательный канал, длина входной части которого меньше половины его высоты, при этом нижняя часть упомянутой перегородки повернута относительно оси, проходящей через вал вентилятора, в сторону дополнительного патрубка на острый угол от вертикали, а верхний торец перегородки смещен в сторону скатного воздухопроницаемого листа, причем нижняя стенка корпуса имеет длину, меньшую диаметра вентилятора, и установлена с углом подъема до 35°.
Недостатком этой очистки является значительное гидравлическое сопротивление элементов очистки, обеспечивающих подтекание воздушного потока ко второй половине решетной надставки, началу верхнего решета, а также к нижнему решету, что приводит к недостаточному обдуванию и дополнительным вихревым движениям в указанных зонах очистки, а пологий вход воздушного потока в решетную надставку приводит к недостаточно эффективному воздействию его на зерновой ворох на решетной надставке.
Технической задачей, решаемой данным изобретением, является повышение качества сепарации, уменьшение потерь зерна за счет лучшего воздухораспределения в рабочей зоне очистки и упрощение конструкции.
Для достижения поставленной задачи очистка зерноуборочного комбайна содержит стрясную доску с решетной надставкой и установленный под решетной надставкой скатный воздухопроницаемый лист, верхнее и нижнее решета, причем под стрясной доской и скатным воздухопроницаемым листом расположен вентилятор очистки с двумя рабочими колесами осевого типа диаметром D, установленными по краям корпуса, выполненного в виде обечайки и сопряженных с ней передней и нижней стенок и разделенного на основной и дополнительный патрубки радиально закрепленной на плоском щите перегородкой, верхний торец которой расположен перед скатным воздухопроницаемым листом, а нижний торец – над обечайкой с зазором, причем под концом стрясной доски установлена верхняя полка дополнительного патрубка, выполненная в виде пластины, примыкающей задним концом к решетной надставке под острым углом относительно стрясной доски, а передняя часть верхней полки расположена в зоне верхнего конца передней стенки корпуса вентилятора, установленной на расстоянии по горизонтали не более D от оси вентилятора, при этом нижняя стенка корпуса вентилятора установлена относительно скатного воздухопроницаемого листа с образованием проема, высота которого составляет не менее одной трети D, причем длина скатного воздухопроницаемого листа не превышает длину расположенной над ним решетной надставки, а начало нижнего решета смещено в сторону скатного воздухопроницаемого листа относительно начала верхнего решета на величину большую одной десятой D.
Такое конструктивное исполнение позволяет наиболее полно обеспечить воздухораспределение в соответствии с поставленной технической задачей и упростить конструкцию.
Описанные выше особенности и преимущества настоящего изобретения станут более понятными из следующего конкретного описания выполнения очистки зерноуборочного комбайна и прилагаемого чертежа, на котором показано устройство для очистки зернового вороха согласно изобретению.
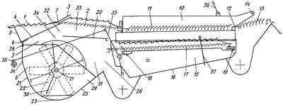
Очистка зерноуборочного комбайна содержит стрясную доску 1 с решетной надставкой 2, причем в конце стрясной доски 1 установлена пальцевая гребенка 3, а под концом стрясной доски, снизу установлена выполненная в виде пластины верхняя полка 4 дополнительного патрубка 5, расположенного под стрясной доской 1 вентилятора очистки 6, примыкающая задним концом 7 к решетной надставке 2 под острым утлом относительно стрясной доски и передним концом 8, предпочтительно отгибом 9, опирающаяся на стрясную доску 1, верхний решетный стан 10 с жестко закрепленным в его остове верхним решетом 11 и с помощью шарнира 12 с удлинителем 13, устройство регулирования наклона 14 удлинителя 13 и нижний решетный стан 15 со скатом 16 и нижним решетом 17. Нижнее решето 17 фиксируется в стане 15 в передних 18 и задних 19 отверстиях и начало его смещено относительно начала верхнего решета 11 на величину большую одной десятой D в сторону скатного воздухопроницаемого листа 20, установленного под решетной надставкой 2 и выполненного предпочтительно из одной пластины с жесткостями и элементами крепления, причем длина скатного воздухопроницаемого листа 20 не превышает длину расположенной над ним решетной надставки 2. Под скатным воздухопроницаемым листом 20 расположен корпус 21 вентилятора очистки 6 с двумя рабочими колесами 22 осевого типа правого и левого вращения одинакового диаметра D, установленными по краям корпуса 21, выполненного в виде обечайки 23 и сопряженных с ней передней 24 и нижней 25 стенок. Нижняя стенка 25 корпуса 21 вентилятора установлена относительно скатного воздухопроницаемого листа 20 с образованием проема 26, высота которого составляет не менее одной трети D, преимущественно в пределах (0,52÷0,55)D. Передняя стенка 24 корпуса 21 вентилятора выполнена изогнутой и установлена на расстоянии по горизонтали не более диаметра рабочего колеса D, предпочтительно в пределах (0,58÷0,62)D от оси вентилятора 27, а верхний конец передней 24 стенки корпуса вентилятора 21 снабжен гибким фартуком 28, примыкающим к верхней полке 4 дополнительного патрубка в зоне ее переднего конца 8. В корпусе 21 установлена выполненная из двух половин и закрепленная с двух сторон на плоском щите 29 радиальная перегородка 30, образующая с нижней 25 стенкой основной 31 и с передней 24 стенкой дополнительный 5 патрубки для распределения воздушных потоков. Воздушный поток из дополнительного патрубка 5 переходит во входную часть 32 вспомогательного канала 33. Туда же дополнительно поступает попутный приток воздуха через скатный воздухопроницаемый лист 20. После чего воздух выходит из вспомогательного канала через решетную надставку 2 и начальный участок верхнего решета 11. Верхняя часть радиальной перегородки 30, разделяющей основной 31 и дополнительный 5 патрубки, направлена к пластине верхней полки 4 дополнительного патрубка, причем ее верхний торец расположен перед скатным воздухопроницаемым листом 20 с образованием зазора 34 до 0,3D, а нижний торец расположен над обечайкой 23 с зазором. Очистка опирается на раму комбайна с помощью двуплечих рычагов 35, задних рычагов 36 верхнего стана 10 и задних рычагов 37 нижнего стана 15. Колебательное движение очистки осуществляется кривошипно-шатунным механизмом 38.
Для отработки параметров пластины верхней полки 4 дополнительного патрубка 5 в сочетании с передней стенкой 24 корпуса 21 вентилятора очистки были выполнены аэродинамические и технологические (полевые) испытания. При проведении опытов наклон к стрясной доске пластины верхней полки 4 составлял 20°, а также выполнен опыт с наклоном пластины верхней полки 4 к стрясной доске 0°. При наклоне 0° вход воздушного потока в решетную надставку определяется направлением стрясной доски, в результате чего поток направлен под небольшим углом (примерно 5° за счет изменения направления при прохождении гребенок решета наддува) к решетной надставке 2 и в основном скользит вдоль нее. Такой пологий вход воздушного потока в решетную надставку 2 приводит к тому, что векторы скорости потока и подаваемого к началу решетной надставки 2 зернового вороха различаются незначительно, и воздушный поток лишь ускоряет, но недостаточно эффективно разрыхляет зерновой ворох. Изменить вектор скорости регулированием наклона гребенок не представляется возможным не только потому, что гребенки благодаря гофрам на поверхности воздухопроницаемы даже в закрытом положении, но главным образом потому, что направление основной части потока определяется верхней полкой дополнительного патрубка. Использование пластины верхней полки 4 с наклоном относительно стрясной доски под острым, не менее 10° углом позволяет эффективно изменить направление потока над решетной надставкой 2. Как показали аэродинамические испытания, установку пластины верхней полки 4 с увеличенным наклоном целесообразно сочетать со смещением по горизонтали (на 60…80 мм) передней стенки 24 корпуса 21 вентилятора к оси 27 вентилятора, то есть с установкой передней стенки 24 на расстоянии не более диаметра рабочего колеса вентилятора D, предпочтительно в пределах (0,58÷0,62)D от оси 23 вентилятора. При этом не только исключаются вихревые движения в зоне фартука 28, но и происходит перераспределение потоков над нижним решетом 17: значительное (до 63%) увеличение абсолютной скорости и, самое главное, эпюра скорости становится падающей, то есть соответствующей нагрузке (подаче зернового вороха) на нижнее решето 17. Дополнительно вектор скорости в начале решетной надставки 2 поворачивается в сторону зернового вороха и примерно на 10% повышается абсолютное значение скорости на начальном участке (200…250 мм) решетной надставки 2, а затем профиль скорости “проседает” примерно на 5-6%. Таким образом, происходит перераспределение скорости и благоприятным образом: интенсивный всплеск скорости в начале решетной надставки 2 при большем наклоне потока и постепенное падение на остальном участке вплоть до удлинителя 13 верхнего решета. При этом передняя стенка 24 корпуса 21 вентилятора должна быть установлена на расстоянии по горизонтали не более диаметра рабочего колеса D от оси 27 вентилятора, предпочтительно в пределах (0,58÷0,62)D. Дальнейшее смещение передней стенки 24 корпуса 21 к оси 27 вентилятора (на расстояние менее 0,58D) оказывает уже незначительное влияние, а предельным конструктивно является смещение 0,52D. При проведении технологических (полевых) опытов влияние наклона пластины верхней полки 4 дополнительного патрубка 5 с одновременным смещением передней стенки 24 корпуса 21 к оси 27 вентилятора проверялось по 17 полевым опытам. Математическая модель процесса сепарации позволяет установить, что, начиная с угла наклона пластины верхней полки 4 относительно стрясной доски в 10°, обеспечивается снижение потерь зерна, а наклон верхней полки 20°±3° следует считать оптимальным. При этом направление пластины верхней полки совпадает с направлением колебаний стрясной доски. Предельно допустимым наклоном следует считать расширенный на три значения ошибки наклон верхней полки, то есть около 30°. Экспериментально установлено, что для оптимального наклона верхней полки 20° при среднем значении потерь зерна за очисткой 0,28% абсолютное значение снижения потерь зерна составляет 0,14%, то есть снижение в 2 раза. Одновременно обеспечивается относительное снижение сорных примесей в бункере на 21%. Установлено также, что увеличение наклона верхней полки дополнительного патрубка особенно важно при повышенной влажности зерна.
Установка нижней стенки 25 корпуса 21 вентилятора относительно скатного воздухопроницаемого листа 20 с образованием проема 26, то есть без клапана, приводит к резкому повышению интенсивности потоков над нижним решетом 17: в среднем на 22% в связи со значительным снижением общего гидравлического сопротивления системы. Особенно заметно изменение скорости воздушного потока над передней частью нижнего решета 17 – оно достигает 46%. Скорость воздушного потока над верхним решетом 11 от его начала постепенно повышается к концу удлинителя 13 (от 2% до 8%). Оптимальная величина проема по вертикали между нижней стенкой 25 корпуса 21 вентилятора и концом скатного воздухопроницаемого листа 20 определена из общего уравнения процесса сепарации, полученного по результатам полевых испытаний. Оптимальная величина проема соответствует наклону нижней стенки 25 корпуса 21 вентилятора к горизонтали приблизительно 36°, то есть высота проема 26 составляет 0,56D для наиболее распространенного рабочего диапазона подач на очистку 2,1…4,6 кг/с и большой исходной засоренности вороха (до 34%). Блок опытов при контрольных полевых испытаниях системы очистки показал, что использование увеличенного до 40° наклона нижней стенки 25 корпуса 21 вентилятора, то есть уменьшение высоты проема 26 до 0,52D позволяет стабилизировать процесс сепарации как по потерям, так и сорным примесям. При уменьшении высоты проема 26 потоки становятся более эффективными с точки зрения снижения потерь зерна в связи с изменением вектора скорости над основной частью верхнего решета. При этом не только обеспечивается снижение потерь зерна (на 0,1% – до среднего значения 0,16%), но и зависимость потерь зерна от нагрузки на очистку становится более пологой, то есть снижается чувствительность очистки к нагрузке (подаче вороха). Кроме того, снижение сорной примеси в бункере при прочих равных условиях составляет значительную величину – примерно на 1,3%, до среднего значения 1,1%. Поэтому нижнюю стенку 25 корпуса вентилятора необходимо устанавливать относительно скатного воздухопроницаемого листа 20 с образованием проема 26, высота которого должна быть не менее одной трети диаметра рабочего колеса D, преимущественно в пределах (0,52÷0,56)D.
Для отработки параметров воздухопроницаемого скатного листа 20 также выполнены аэродинамические и технологические (полевые) испытания. При проведении испытаний использовались скатные листы 20 с длиной проточной (перфорированной) части 755, 520 и 480 мм при длине проточной части решетной надставки 2 равной 535 мм, то есть в двух опытах не превышающей длину расположенной над ним решетной надставки. Аэродинамические испытания показали, что выполнение скатного воздухопроницаемого листа 20 длиной, не превышающей длину расположенной над ним решетной надставки 2, приводит к значительному (в интервале от 27% до 4%) увеличению скорости над верхним решетом 11 и удлинителем 13, причем указанное повышение происходит наиболее благоприятным образом, то есть максимальное повышение (до 27%) в начале верхнего решета 11 при линейном снижении (до 4%) к концу удлинителя 13. Тем самым предотвращается оседание легких примесей на верхнем решете 11 и удлинителе 13 и верхний стан разгружается. При проведении полевых опытов установлено, что при выполнении скатного воздухопроницаемого листа 20 длиной, не превышающей длину расположенной над ним решетной надставки 2, происходит снижение сорной примеси в бункере приблизительно на 1,8%, то есть практически в 2 раза. Для упрощения конструкции скатный воздухопроницаемый лист 20 выполнен однопластинчатым с жесткостями и элементами крепления
Верхний торец радиальной перегородки 30 должен располагаться в зоне начала скатного воздухопроницаемого листа 20. Полевые испытания показали, что при работе на сухом ворохе верхний торец перегородки может примыкать к воздухопроницаемому скатному листу. При повышенной влажности и засоренности вороха верхний торец радиальной перегородки должен размещаться перед скатным воздухопроницаемым листом 20 с образованием зазора 34 до 0,4D, что позволяет снизить потери зерна за очисткой (средние значения потерь зерна без зазора и с зазором составляют соответственно 0,22% и 0,15%). Одновременно происходит и существенное снижение сорных примесей в бункере, приблизительно на 1,5% (с 1,96% до 0,46%), причем оно увеличивается при повышении подачи примесей на очистку. Происходит это потому, что поток в дополнительном патрубке 5 образуется в результате слияния двух струй относительно радиальной перегородки 30: из дополнительного и основного патрубков. При слиянии струй заметно повышается интенсивность турбулентности, что делает воздушный поток более активным и обеспечивает улучшение технологических показателей работы комбайна.
Дополнительно начало нижнего решета 17 смещено за счет удлинения нижнего решета в сторону скатного воздухопроницаемого листа 20 относительно начала верхнего решета 11 на величину большую одной десятой D. Экспериментально установлено, что при сравнении схем очистки, отличающихся при неизменном положении заднего конца нижнего решета только величиной смещения начала нижнего решета 17 относительно начала верхнего 11 соответственно на 0,27D и на 0,15D, имеет место различный характер изменения зависимости потерь зерна от подачи примесей на очистку. Обе зависимости линейные, но для первой схемы указанная зависимость восходящая, для второй – падающая, то есть неустойчивая. Сорные примеси в бункере для обеих схем не связаны со значением подачи примесей на очистку, но среднее значение для неустойчивой зависимости заметно больше (1,09% против 0,66%). Устойчивый характер зависимости технологических показателей от подачи примесей на очистку имеет место, начиная с 0,17D. Оптимальные результаты достигаются при смещении начала нижнего решета и соответственно удлинении всего решета на 0,27D, то есть на пять рядов гребенок. Однако с учетом ошибки опыта оптимальное значение следует расширить в обе стороны на один ряд гребенок, что соответствует диапазону (0,22÷0,34)D. Следовательно, использование схемы со смещенным началом нижнего решета 17 относительно начала верхнего решета 11 в сторону скатного воздухопроницаемого листа 20, то есть с удлиненным по меньшей мере на три ряда гребенок нижним решетом создает запас работоспособности на полях с повышенной засоренностью сорняками, а также при высоких значениях соломистости убираемого поля, причем указанное смещение должно быть не менее 0,1D, предпочтительно в диапазоне (0,22÷0,34)D.
Очистка зерноуборочного комбайна работает следующим образом. В процессе сепарации зерновой ворох поступает сначала на стрясную доску 1, затем на решетную надставку 2, где происходит обработка вороха воздушным потоком и разделение его на фракции. Прошедшая через решетную надставку 2 зерновая фракция поступает на скатный воздухопроницаемый лист 20. Далее зерновая фракция со скатного воздухопроницаемого листа 20 и верхнего решета 11 поступает на нижнее решето 17. При этом крупная фракция – солома, колосья и тому подобное – с верхнего решета 11 идут сходом до удлинителя 13 верхнего решета, где выделяются колоски. При прохождении зернового вороха по верхнему решету 11 из него также выдувается легкая фракция. Остатки крупных примесей (части недомолоченных колосков, соломка и тому подобное) поступают в колосовой шнек. Зерновая фракция, попавшая на нижнее решето 17, проходит окончательную обработку: зерно проходом поступает на скат 16 и далее в зерновой шнек. При прохождении зерна по нижнему решету 17, где оно проходит повторную обработку воздушным потоком, выделенные легкие примеси направляются за пределы очистки зерноуборочного комбайна или в копнитель (на чертеже не показан). Колебательное движение очистки осуществляется с помощью кривошипно-шатунного механизма 38, двуплечих рычагов 35 и задних рычагов 36, 37 верхнего стана 10 и нижнего стана 15.
Такое выполнение очистки зерноуборочного комбайна позволяет обеспечить высокоэффективные режимы работы, уменьшить зависимость потерь зерна от нагрузки на очистку, более гибко приспособиться к условиям уборки и, следовательно, снизить потери зерна и повысить качество технологического процесса сепарации при уборке различных культур в разных почвенно-климатических условиях. Серийная очистка обеспечивает выполнение агротехнических требований при приведенных подачах до 7,1 кг/с, а новая при приведенных подачах – до 9,3 кг/с, что полностью соответствует требованиям технического задания на систему очистки комбайна нового поколения. Новая очистка обеспечивает в сравнении с серийной одновременно снижение потерь зерна и сорной примеси в бункере. При подачах вороха для серийной очистки до 4,2 кг/с и для новой до 4,9 кг/с потери за серийной очисткой составляют в среднем 0,22%, а за новой – в среднем 0,18%. Новая очистка обеспечивает существенное снижение сорной примеси в бункерном ворохе в среднем на 0,5%: у серийной очистки среднее значений сорной примеси в бункере 1,36%, а у новой – 0,85%. Причем снижение сорной примеси в бункере увеличивается с повышением подачи примесей на очистку. Важно также, что работа новой очистки меньше зависит от основной, влияющей на качественные показатели характеристики поля – от подачи примесей на очистку, причем одновременно как по потерям, так и по сорным примесям. Использование схемы с удлиненным нижним решетом создает запас работоспособности на полях с повышенной засоренностью сорняками, а также при высоких значениях соломистости убираемого поля.
Формула изобретения
Очистка зерноуборочного комбайна, содержащая стрясную доску с решетной надставкой и установленный под решетной надставкой скатный воздухопроницаемый лист, верхнее и нижнее решета, причем под стрясной доской и скатным воздухопроницаемым листом расположен вентилятор очистки с двумя рабочими колесами осевого типа диаметром D, установленными по краям корпуса, выполненного в виде обечайки и сопряженных с ней передней и нижней стенок и разделенного на основной и дополнительный патрубки радиально закрепленной на плоском щите перегородкой, верхний торец которой расположен перед скатным воздухопроницаемым листом, а нижний торец – над обечайкой с зазором, отличающаяся тем, что под концом стрясной доски установлена верхняя полка дополнительного патрубка, выполненная в виде пластины, примыкающей задним концом к решетной надставке под острым углом относительно стрясной доски, а передняя часть верхней полки расположена в зоне верхнего конца передней стенки корпуса вентилятора, установленной на расстоянии по горизонтали не более D от оси вентилятора, при этом нижняя стенка корпуса вентилятора установлена относительно скатного воздухопроницаемого листа с образованием проема, высота которого составляет не менее одной трети D, причем длина скатного воздухопроницаемого листа не превышает длину расположенной над ним решетной надставки, а начало нижнего решета смещено в сторону скатного воздухопроницаемого листа относительно начала верхнего решета на величину большую одной десятой D.
РИСУНКИ
|
|