|
|
(21), (22) Заявка: 2005115321/28, 20.05.2005
(24) Дата начала отсчета срока действия патента:
20.05.2005
(46) Опубликовано: 10.12.2006
(56) Список документов, цитированных в отчете о поиске:
RU 2106619 C1, 10.03.1998. SU 1798935 A1, 28.02.1993. RU 2243629 C2, 27.12.2004. RU 2237985 C1, 10.10.2004. US 4521905 A, 04.06.1985. GB 2175778 A, 12.03.1986. JP 6018447 A, 25.01.1994. US 5675625 A, 07.10.1997. JP 1185500 A, 25.07.1989.
Адрес для переписки:
140003, Московская обл., г. Люберцы, в/ч 75360
|
(72) Автор(ы):
Маклашевский Виктор Яковлевич (RU), Кеткович Андрей Анатольевич (RU)
(73) Патентообладатель(и):
Войсковая часть 75360 (RU), Маклашевский Виктор Яковлевич (RU), Кеткович Андрей Анатольевич (RU)
|
(54) СКАНИРУЮЩИЙ ЛАЗЕРНЫЙ ЦЕНТРАТОР ДЛЯ РЕНТГЕНОВСКОГО ИЗЛУЧАТЕЛЯ
(57) Реферат:
Использование: для ориентации излучателя по отношению к объекту. Сущность: заключается в том, что в него дополнительно введены вращающийся с частотой f 20 Гц ротор в виде полого цилиндра, ось вращения которого совпадает с осью лазера, ротор расположен между первым отражателем и лазером, на торце ротора, расположенной ближе к лазеру, установлен оптический растр в виде совокупности прозрачных и непрозрачных штрихов шириной t и высотой Н, ширина штрихов выбирается из условия t= /sin( /2), где – длина волны излучения лазера, – угол излучения рентгеновского излучателя, высота штрихов выбирается с учетом соотношения H d, где d – диаметр лазерного пучка, на другом торце ротора установлена маска с центральным отверстием и двумя симметрично расположенными отверстиями с расстоянием между ними D, а длина ротора В на оси лазера определяется соотношением где к=1÷2 – технологический коэффициент, а диаметральная линия, соединяющая центры отверстий маски, перпендикулярна вертикальному направлению штрихов растра, при этом расстояние от растра до центра первого отражателя по оси лазера А равно расстоянию от этого центра до фокуса рентгеновской трубки по оси рентгеновского пучка. Технический результат: возможность оценки области объекта, просвечиваемого рентгеновским излучением, а также возможность определения центра данной области и, кроме того, упрощение определения расстояния от рентгеновского излучателя до объекта. 4 ил.
Изобретение относится к неразрушающему контролю с использованием рентгеновского излучения и может быть применено для контроля материалов и изделий радиационным методом в различных отраслях машиностроения.
Известен лазерный центратор, содержащий корпус, расположенный в нем лазер с двусторонним выходом излучения, оптическая ось выхода излучения которого параллельна продольной оси рентгеновского излучателя, два отражателя, первый из которых, выполненный из оргстекла, установлен на пересечении оптической оси лазера с осью рентгеновского пучка излучателя с возможностью поворота вокруг оси перпендикулярной плоскости, задаваемой оптической осью выхода излучения лазера с осью рентгеновского пучка, в диапазоне углов 25-65°, а второй установлен с возможностью поворота вокруг оси, параллельной оси поворота первого отражателя, на оптической оси выхода излучения вне проекции на нее выходного окна рентгеновского излучателя, средство индикации фокусного расстояния в виде указателя со шкалой, закрепленной на корпусе центратора, связанного с вторым отражателем, и средство прерывания пучка от второго отражателя, выполненное в виде откидной шторки, установленной до или после второго отражателя [1].
Это устройство не позволяет оценивать размер рентгеновского пучка в плоскости изделия и, кроме того, имеет пониженную точность измерения фокусного расстояния из-за сложностей с совмещением малоразмерных светящихся точек, плохо различимых при больших расстояниях до объекта.
Известен также лазерный центратор, содержащий корпус, расположенный в нем лазер с двусторонним выходом излучения, оптическая ось которого параллельна продольной оси рентгеновского излучателя, два отражателя, первый из которых установлен на пересечении оптической оси лазера с осью рентгеновского пучка, а второй установлен на оптической оси выхода излучения лазера вне проекции на нее выходного окна рентгеновского излучателя с возможностью его поворота вокруг оси, перпендикулярной плоскости, задаваемой оптической осью выхода излучения лазера с осью рентгеновского пучка, и средство индикации фокусного расстояния в виде указателя со шкалой, закрепленной на корпусе центратора, дополнительно снабжен двумя цилиндрическими линзами, установленными на оси излучения лазера, поперек каждого его выходного пучка, первая между одним из торцов лазерного излучателя и первым отражателем, а вторая – между вторым торцом лазерного излучателя и вторым отражателем, а их фокус выбирается из соотношения f=h/tg где h – радиус лазерного пучка, – угол излучения рентгеновского излучателя, при этом цилиндрические линзы установлены с возможностью вращения вокруг оси лазерного пучка [2].
Недостаток этого центратора – невозможность оценки области объекта, просвечиваемого рентгеновским излучением, а также сложность определения центра этой зоны и определения расстояния от рентгеновского излучателя до объекта в связи с необходимостью вращения цилиндрических линз.
Для устранения этих недостатков лазерный центратор, содержащий корпус, расположенный в нем лазер с двусторонним выходом излучения, оптическая ось которого параллельна продольной оси рентгеновского излучателя, два отражателя, первый из которых установлен на пересечении оптической оси лазера с осью рентгеновского пучка, а второй установлен на оптической оси выхода излучения лазера вне проекции на нее выходного окна рентгеновского излучателя с возможностью его поворота вокруг оси, перпендикулярной плоскости, задаваемой оптической осью выхода излучения лазера с осью рентгеновского пучка, и средство индикации фокусного расстояния в виде указателя со шкалой, закрепленной на корпусе центратора, цилиндрическую линзу, установленную на оси излучения лазера, поперек его выходного пучка, между вторым торцом лазерного излучателя и вторым отражателем, фокус которой выбирается из соотношения f=h/tg , где h – радиус лазерного пучка, – угол излучения рентгеновского излучателя, при этом цилиндрическая линза установлена с возможностью вращения вокруг оси лазерного пучка, дополнительно введены вращающийся с частотой f 20 Гц ротор в виде полого цилиндра, ось вращения которого совпадает с осью лазера, ротор расположен между первым отражателем и лазером, на торце ротора, расположенным ближе к лазеру, установлен оптический растр в виде совокупности прозрачных и непрозрачных штрихов шириной t и высотой H, ширина штрихов, выбирается из условия t= /sin( /2), где – длина волны излучения лазера, – угол излучения рентгеновского излучателя, высота штрихов выбирается с учетом соотношения H d, где d – диаметр лазерного пучка, на другом торце ротора установлена маска с центральным отверстием и двумя симметрично расположенными отверстиями с расстоянием между ними D, а длина ротора В по оси лазера определяется соотношением где к=1÷2 – технологический коэффициент, а диаметральная линия, соединяющая центры отверстий маски, перпендикулярна вертикальному направлению штрихов растра, при этом расстояние от растра до центра первого отражателя и от этого центра до фокуса рентгеновской трубки по оси рентгеновского пучка равны.
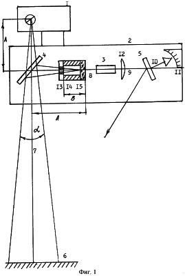
Изобретение поясняется чертежом (фиг.1), на котором представлена схема устройства.
Лазерный центратор содержит рентгеновский излучатель 1, к которому крепится корпус 2 с расположенным в нем лазером 3 с двусторонним выходом излучения, оптическая ось выхода излучения которого параллельна продольной оси рентгеновского излучателя, два отражателя 4 и 5, первый 4 из которых, выполненный из оргстекла, установлен на пересечении оптической оси лазера 8 с осью рентгеновского пучка излучателя (падающего на контролируемую поверхность 6) с возможностью поворота вокруг оси, перпендикулярной плоскости, задаваемой оптической осью 8 выхода излучения лазера с осью 7 рентгеновского пучка, в диапазоне углов 25-65°, а второй 5 установлен с возможностью поворота вокруг оси, параллельной оси поворота первого отражателя на оптической оси 9 выхода излучения вне проекции на нее выходного окна рентгеновского излучателя, средство индикации фокусного расстояния в виде указателя 10 со шкалой 11, закрепленной на корпусе 2 центратора, связанного с вторым отражателем 5, и средство прерывания пучка от второго отражателя 5, выполненное в виде откидной шторки, установленной до или после второго отражателя.
В центраторе имеется цилиндрическая линза 12, которая установлена на оптической оси лазерного пучка между торцом лазера и отражателем 5 таким образом, что на объекте 6 образуется вертикальная светящаяся полоса.
На оси лазера 3 между его первым выходным торцом и первым отражателем 4 установлен с возможностью вращения относительно оси лазера с частотой f 10 Гц ротор в виде полого цилиндра на одном из торцов которого, ближнем к лазеру, перпендикулярно оси лазера установлен оптический растр, состоящий из совокупности параллельных друг другу прозрачных и непрозрачных штрихов (фиг.2а) шириной t и высотой H d, где d – диаметр лазерного пучка, на другом торце ротора 14 установлена маска 13 с центральным отверстием и двумя отверстиями, симметрично расположенными относительно оси лазера по диаметру ротора на расстоянии D друг от друга (фиг.2а).
Длина ротора В определяется из очевидного соотношения (фиг.3)
где к=1,1÷1,5 – технологический коэффициент, обусловленный необходимостью наличия конструктивного зазора между краями отверстий, диаметр которых принят равным диаметру d пучка лазера.
Устройство работает следующим образом. Излучение лазера 3, выходящее из его первого выходного торца по оптическому растру 15, в соответствии c законами дифракции трансформируется в совокупность лучей, один из которых, соответствующий нулевому порядку дифракции, распространяется вдоль оси лазера. Лучи других дифракционных порядков распространяются в плоскости, перпендикулярной вертикальному направлению линий растра под углами ±к· к оси лазера, где к=0, 1, 2…n – порядок дифракции. Соотношение между углами дифракции , длиной волны лазера и шириной штрихов растра t имеет вид [3]: t·sin =к· (к=0, 1, 2…м).
В предлагаемом устройстве используются только наиболее интенсивные лучи нулевого и ±1 порядка, что также упрощает анализ дифракционного изображения на объекте. Для этого на оси лазера на расстоянии B от растра установлена непрозрачная маска с тремя отверстиями диаметром d, равными диаметру луча лазера. Расстояние между отверстиями выбирается в соответствии c ранее отмеченным таким, чтобы через маску прошли только лучи нулевого и ±1-го порядка, центры отверстий при этом расположены на диаметре маски, перпендикулярном штрихам растра.
Растр, маска жестко закреплена на полом роторе, который приводится во вращение частотой f 20 Гц (привод не показан на схеме фиг.1 в силу общеизвестности подобных технических решений), при вращении растра лучи ±1-го порядка образуют полую коническую поверхность, что позволяет сформировать на поверхности объекта 6 светящееся кольцо.
Расстояние между штрихами растра подобрано так, что угол дифракции 1-го порядка соответствует углу излучения рентгеновского излучателя , а расстояние от вершины конуса лучей до центра первого отражателя выбрано равным расстоянию от этого центра до фокуса рентгеновской трубки. При атом после отражения от первого отражателя полый конический пучок лазерных лучей распространяется в пространстве, полностью повторяя геометрию соосного с ним пучка рентгеновского излучателям.
На объекте, таким образом, наблюдатель видит яркое кольцо, диаметр которого равен диаметру зоны объекта, просвечиваемой рентгеновским пучком, а также яркую точку в центре этого кольца, положение которой совпадает с точкой пересечения объекта с осью рентгеновского пучка.
При частоте вращения ротора f’ 20 Гц в силу инерционности зрения изображения кольца воспринимается практически как слитное.
В процессе работы оператор наводит центратор на нужную зону объекта, совмещая ее центр с лазерным кольцом, а затем, вращая второй отражатель, совмещает яркую точку в центре лазерного кольца с лазерной полоской, формируемой цилиндрической линзой перед вторым выходным торцом лазера (фиг.4), и снимает со шкалы устройства отсчет, равный расстоянию от объекта до рентгеновского излучателя, аналогично патенту-аналогу [2].
Для повышения контраста изображения лазерных лучей на объекте, особенно в условиях интенсивной солнечной засветки, рекомендуется наблюдать объект через узкополосный светофильтр с длиной волны пропускания, совпадающей с длиной волны лазера.
Растр выполняется фотолитографическим методом, хорошо освоенным в электронной и оптической промышленности. Ширина штрихов для получения углов дифракции 1-го порядка в диапазоне 6°÷10°, что соответствует углам излучения реальных рентгеновских излучателей =12°÷20°, составляет 2÷5 мкм, что вполне реализовано на практике даже на обычных фотоматериалах типа “Микрат” и т.п. Размер растра принят равным диаметру излучения серийных лазеров, т.е. H 1÷2 мм, излучающих на длине волны =0,63 мкм (наиболее распространенный диапазон изучения газовых полупроводниковых лазеров).
Применяя роторы различной ширины, можно легко изменять угловой размер лазерного конического пучка.
Источники информации
1. Патент RU 1798935. Лазерный центратор.
2. Патент RU 2106619. Лазерный центратор для рентгеновского излучателя.
3. Справочник конструктора оптико-механических приборов/Под ред. В.А.Панова. М.: Машиностроение, 1980, 742 с.
Формула изобретения
Лазерный центратор, содержащий корпус, расположенный в нем лазер с двусторонним выходом излучения, оптическая ось которого параллельна продольной оси рентгеновского излучателя, два отражателя, первый из которых установлен на пересечении оптической оси лазера с осью рентгеновского пучка, а второй установлен на оптической оси выхода излучения лазера вне проекции на нее выходного окна рентгеновского излучателя с возможностью его поворота вокруг оси, перпендикулярной плоскости, задаваемой оптической осью выхода излучения лазера и осью рентгеновского пучка, и средство индикации фокусного расстояния в виде указателя со шкалой, закрепленной на корпусе центратора, цилиндрическую линзу, установленную на оси излучения лазера поперек его выходного пучка между вторым торцом лазерного излучателя и вторым отражателем, фокус которой выбирается из соотношения f=h/tg , где h – радиус лазерного пучка, – угол излучения рентгеновского излучателя, при этом цилиндрическая линза установлена с возможностью вращения вокруг оси лазерного пучка, отличающийся тем, что в него дополнительно введены вращающийся с частотой f 20 Гц ротор в виде полого цилиндра, ось вращения которого совпадает с осью лазера, ротор расположен между первым отражателем и лазером, на торце ротора, расположенном ближе к лазеру, установлен оптический растр в виде совокупности прозрачных и непрозрачных штрихов шириной t и высотой Н, ширина штрихов выбирается из условия t= /sin( /2), где – длина волны излучения лазера, – угол излучения рентгеновского излучателя, высота штрихов выбирается с учетом соотношения H d, где d – диаметр лазерного пучка, на другом торце ротора установлена маска с центральным отверстием и двумя симметрично расположенными отверстиями с расстоянием между ними D, а длина ротора В на оси лазера определяется соотношением

где к=1÷2 – технологический коэффициент,
а диаметральная линия, соединяющая центры отверстий маски, перпендикулярна вертикальному направлению штрихов растра, при этом расстояние от растра до центра первого отражателя по оси лазера А равно расстоянию от этого центра до фокуса рентгеновской трубки по оси рентгеновского пучка.
РИСУНКИ
MM4A – Досрочное прекращение действия патента СССР или патента Российской Федерации на изобретение из-за неуплаты в установленный срок пошлины за поддержание патента в силе
Дата прекращения действия патента: 21.05.2007
Извещение опубликовано: 27.08.2008 БИ: 24/2008
|
|