|
(21), (22) Заявка: 2004124545/09, 11.08.2004
(24) Дата начала отсчета срока действия патента:
11.08.2004
(30) Конвенционный приоритет:
12.08.2003 (пп.1-14) KR 10-2003-0055795
(43) Дата публикации заявки: 27.01.2006
(46) Опубликовано: 10.12.2006
(56) Список документов, цитированных в отчете о поиске:
RU 2139631 C1, 10.10.1999. US 2003065934 A1, 03.04.2003. US 20030013485 A1, 16.01.2003. WO 02102104 A1, 19.12.2002. EP 1220556 A1, 03.07.2002. US 5077790 A1, 31.12.1991. JP 2002078001 A1, 15.03.2002. JP 2001111703 A1, 20.04.2001. EP 0818899 A1, 14.01.1998.
Адрес для переписки:
129010, Москва, ул. Б. Спасская, 25, стр.3, ООО “Юридическая фирма Городисский и Партнеры”, пат.пов. Ю.Д.Кузнецову, рег.№ 595
|
(72) Автор(ы):
ДЗУНГ Киунг-им (KR)
(73) Патентообладатель(и):
САМСУНГ ЭЛЕКТРОНИКС КО.,ЛТД (KR)
|
(54) СИСТЕМА И СПОСОБ УПРАВЛЕНИЯ МОБИЛЬНЫМ ТЕРМИНАЛОМ С ИСПОЛЬЗОВАНИЕМ ЦИФРОВОЙ ПОДПИСИ
(57) Реферат:
Изобретение относится к системам мобильной связи, и, в частности, к системам управления мобильным терминалом с использованием цифровой подписи. Техническим результатом является собственно создание усовершенствованной системы управления мобильным терминалом в соответствии с информацией о состоянии мобильного терминала, достигаемый тем, что содержит сервер для подготовки командного сообщения для соответствующего мобильного терминала в соответствии с информацией о состоянии мобильного терминала, установленной пользователем, добавления цифровой подписи к составленному командному сообщению и передачи результирующего сообщения, а мобильный терминал осуществляет аутентификацию командного сообщения, переданного с сервера, и выполняет операции выключения питания, а также входной и выходной регистрации мобильного терминала в соответствии с аутентифицированным командным сообщением. 5. н. и 9 з.п. ф-лы, 4 ил.
Настоящая заявка испрашивает приоритет заявки на выдачу патента Кореи № 10-2003-0055795, поданной 12 августа 2003 г. в Ведомство по интеллектуальной собственности Кореи, которая включена в настоящее описание посредством ссылки.
Изобретение относится к системе и способу управления мобильным терминалом с использованием цифровой подписи, и в частности, к системе и способу управления мобильным терминалом с использованием цифровой подписи, в которых сервер подготавливает командное сообщение в соответствии с информацией о состоянии мобильного терминала, установленной пользователем, и управляет соответствующим мобильным терминалом посредством составленного командного сообщения.
Обычно, в случае потери своего мобильного терминала пользователь может запретить его использование третьим лицом и предотвратить доступ к информации, хранимой в мобильном терминале, путем передачи на потерянный мобильный терминал управляющего сигнала, обеспечивающего выключение или перевод мобильного терминала в блокированное состояние.
Однако при таком обычном способе дистанционного управления мобильным терминалом возникает проблема, связанная с невозможностью идентификации субъекта, испрашивающего управление мобильным терминалом, в связи с чем возможно управление несанкционированным лицом, которое является нежелательным.
Настоящее изобретения направлено на решение вышеупомянутой проблемы. Задачей изобретения является создание системы и способа управления мобильным терминалом с использованием цифровой подписи, в которых сервер подготавливает командное сообщение в соответствии с информацией о состоянии мобильного терминала, установленной пользователем, а мобильный терминал аутентифицирует подготовленное командное сообщение, и которые обеспечивают возможность управления мобильным терминалом только посредством аутентифицированного сообщения.
В соответствии с первым объектом настоящего изобретения для достижения цели, упомянутой выше, предлагается сервер, на котором командное сообщение подготавливают для соответствующего мобильного терминала в соответствии с информацией о состоянии мобильного терминала, установленной пользователем, и передают после добавления цифровой подписи к подготовленному сообщению. Командное сообщение может включать в себя команду операции и цифровую подпись для мобильного терминала, уникальный номер мобильного терминала и порядковый номер. Сервер может содержать базу данных для хранения информации о мобильном терминале и информации о состоянии мобильного терминала, установленной пользователем; первый блок аутентификации для аутентификации мобильного терминала; и первый контроллер для управления с целью подготовки командного сообщения в соответствии с информацией о состоянии мобильного терминала, установленной пользователем, и передачи подготовленного командного сообщения.
В соответствии с другим объектом настоящего изобретения предлагается мобильный терминал, в котором осуществляют аутентификацию командного сообщения, переданного на него с сервера и в соответствии с аутентифицированным командным сообщением выполняются операции, например, выключения питания, входной и выходной регистрации. Командное сообщение может включать в себя, например, команду операции для мобильного терминала, уникальный номер мобильного терминала и цифровую подпись для аутентификации. Мобильный терминал может содержать второй блок аутентификации для аутентификации командного сообщения, передаваемого с сервера; и второй контроллер для запроса к серверу на пересылку на него сообщения входной регистрации, и управления операциями выключения питания, входной и выходной регистрации мобильного терминала в соответствии с командным сообщением, переданным с сервера.
В соответствии с третьим объектом настоящего изобретения предлагается способ управления мобильным терминалом с использованием цифровой подписи, содержащий этапы приема сообщения запроса на входную регистрацию с мобильного терминала; подготовку сообщения с подтверждением входной регистрации, если состояние мобильного терминала, установленное пользователем, является состоянием разрешения входной регистрации, или сообщения с отказом входной регистрации, если состояние мобильного терминала является состоянием отказа входной регистрации, и передачи подготовленного сообщения на мобильный терминал. Сообщение может включать в себя команду операции для мобильного терминала, уникальный номер мобильного терминала и цифровую подпись для аутентификации.
В соответствии с четвертым объектом настоящего изобретения предлагается способ управления мобильным терминалом с использованием цифровой подписи, содержащий этапы запроса к серверу на пересылку сообщения, выводимого при входной регистрации, при включенном питании мобильного терминала; приема командного сообщения, подготовленного в соответствии с информацией о состоянии мобильного терминала, установленной пользователем, с сервера; аутентификации полученного командного сообщения; и инициирования выполнения входной регистрации мобильного терминала, если сообщение содержит подтверждение входной регистрации, или инициирования невыполнения входной регистрации, если сообщение не содержит подтверждения входной регистрации, после завершения аутентификации командного сообщения.
Кроме того, этап запроса на сообщение входной регистрации может быть выполнен, когда мобильный терминал установлен в режим безопасной входной регистрации. Установка режима безопасной входной регистрации выполняется путем проведения этапов приема сообщения о выключении питания, подготовленного сервером в соответствии с запросом пользователя на выключение питания; аутентификации сообщения о выключении питания, полученного с сервера; прерывания подачи питания на мобильный терминал при завершении аутентификации командного сообщения; и установки мобильного терминала в режим безопасной входной регистрации при выключенном питании.
Указанные выше и другие цели, особенности и преимущества настоящего изобретения очевидны из нижеследующего описания предпочтительных вариантов его осуществления, приводимых со ссылками на прилагаемые чертежи, на которых:
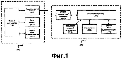
Фиг.1 – блок-схема системы управления мобильным терминалом с использованием цифровой подписи в соответствии с настоящим изобретением;
Фиг.2 – структурная схема процесса прерывания подачи питания на мобильный терминал в способе управления мобильным терминалом с использованием цифровой подписи в соответствии с настоящим изобретением;
Фиг.3 – структурная схема способа управления мобильным терминалом с использованием цифровой подписи в соответствии с настоящим изобретением; и
Фиг.4 – структуры командных сообщений в соответствии с вариантом осуществления настоящего изобретения.
Ниже приводится подробное описание предпочтительных вариантов осуществления настоящего изобретения со ссылками на прилагаемые чертежи.
На фиг.1 представлена блок-схема системы управления мобильным терминалом с использованием цифровой подписи в соответствии с вариантом осуществления настоящего изобретения. Система содержит сервер 100, включающий в свой состав первый передатчик/приемник 110, базу 120 данных, первый блок 130 аутентификации и первый контроллер 140. Система содержит также мобильный терминал 200, включающий в свой состав второй передатчик/приемник 210, процессор 220 входной регистрации, блок 230 питания, второй блок 240 аутентификации и второй контроллер 250.
Сервер 100 подготавливает командное сообщение для соответствующего мобильного терминала 200 в соответствии с информацией о состоянии мобильного терминала, установленной пользователем, добавляет цифровую подпись к составленному командному сообщению и передает результирующее командное сообщение на мобильный терминал.
Первый передатчик/приемник 110 передает командное сообщение, составленное первым контроллером 140, на мобильный терминал 200 и принимает сообщение с запросом на входную регистрацию, посланное мобильным терминалом 200. Причем первый передатчик/приемник 110 содержит процессор MMS для передачи и приема сообщений и процессор HTTP для передачи и приема информации через беспроводную сеть Интернет.
База 120 данных хранит информацию о мобильном терминале и информацию о состоянии мобильного терминала, установленную пользователем. Причем база 120 данных хранит уникальный номер, серийный номер, информацию о состоянии и другую информацию о мобильном терминале 200. Информация о состоянии представляет собой информацию о текущем состоянии мобильного терминала 200. Например, информация о состоянии включает в себя информацию об установке мобильного терминала 200 пользователем в состояние с выключенным питанием или в состояние с входной/выходной регистрацией в зависимости от того, был ли мобильный терминал 200 потерян или нет.
Первый блок 130 аутентификации осуществляет процесс аутентификации для мобильного терминала 200. Причем первый блок 130 аутентификации обеспечивает цифровую подпись и сертификат сервера 100, гарантирующие и подтверждающие его легальность. То есть цифровая подпись – это подпись, используемая для доказательства идентичности человека, составившего электронный документ, реальному человеку, о котором идет речь. Цифровая подпись используется для защиты первоначального содержимого переданного электронного документа от изменения. Преимущество использования цифровой подписи состоит в простоте передачи цифрового документа и защиты его от подделки другими людьми, а также в возможности автоматического поддержания временной отметки. Причем под цифровой подписью можно понимать цифровую подпись RSA (Райвеста-Шамира-Адлемана), цифровую подпись ECDSA (алгоритм цифровой подписи на эллиптических кривых) или т.п. Далее сертификат используется для идентификации пользователя и содержит электронную информацию, означающую, что служба сертификации подтверждает и удостоверяет взаимосвязь между ключом верификации цифровой подписи и физическим или юридическим лицом, являющимся владельцем ключа верификации, и т.п. Сертификат выпускается частной или общедоступной службой сертификации и генерируется путем подписи общедоступного ключа пользователя и информации об имени и других данных выпускающей стороны с ключом подписи службы сертификации.
Первый контроллер 140 подготавливает командное сообщение в соответствии с информацией о состоянии мобильного терминала, установленной пользователем, и выполняет управление передачей составленного командного сообщения на мобильный терминал 200. Например, в случае потери мобильного терминала 200 пользователем информация о состоянии мобильного терминала задается, как правило, в виде “Питание выключено”. А в случае возврата потерянного мобильного терминала 200 пользователю информация о состоянии мобильного терминала задается, как правило, в виде “Входная регистрация” (в виде подтверждения входной регистрации). Кроме того, командное сообщение является сообщением для управления операциями мобильного терминала 200 и включает в себя команду операции, цифровую подпись и сертификат для мобильного терминала 200, уникальный номер мобильного терминала 200 и порядковый номер.
Мобильный терминал 200 аутентифицирует командное сообщения, посланное сервером 100, выполняет операции выключения питания, а также входной и выходной регистрации в соответствии с аутентифицированным командным сообщением и переходит в режим безопасной входной регистрации в состоянии с выключенным питанием. В состоянии с выключенным питанием мобильный терминал пересылает на сервер 100 сообщение, выводимое при входной регистрации. Причем режим безопасной входной регистрации представляет собой режим, при котором входная регистрация мобильного терминала 200 возможна только при передаче на него сообщения разрешения входной регистрации с аутентифицированного сервера 100. Сообщение при входной регистрации является сообщением с запросом к серверу 100 о разрешении входной регистрации мобильного терминала. Кроме того, мобильный терминал может быть идентифицирован как интеллектуальный телефон, сотовый телефон, ПЦС, карманный ПК или т.п.
Второй передатчик/приемник 210 принимает командное сообщение, посланное сервером 100, и передает сообщение на сервер 100 входной регистрации мобильного терминала 200. Причем второй передатчик/приемник 210 содержит процессор MMS (не показан) для передачи и приема сообщений и процессор HTTP (не показан) для передачи и приема информации через беспроводную сеть Интернет.
Процессор 220 входной регистрации выполняет входную регистрацию мобильного терминала 200. Например, при передаче на него сообщения о разрешении входной регистрации с сервера 100 процессор 220 входной регистрации осуществляет входную регистрацию мобильного терминала 200.
Блок 230 питания выполняет включение/выключение питания мобильного терминала 200. Например, при передаче на него сообщения о выключении питания с сервера 100 блок 230 питания прерывает подачу питания на мобильный терминал 200.
Второй блок 240 аутентификации аутентифицирует сообщение, посланное сервером 100. Второй блок 240 аутентификации выполняет аутентификацию для сервера 100 путем дешифрования переданной цифровой подписи с помощью первого блока 130 аутентификации и верификации цифровой подписи.
Второй контроллер 250 запрашивает сервер 100 о пересылке сообщения входной регистрации и управляет мобильным терминалом 200 посредством операций, определяемых командным сообщением, посланным сервером. То есть при пересылке командного сообщения с сервера 100 сообщение заверяется (аутентифицируется) посредством второго блока 240 аутентификации. После завершения аутентификации второй контроллер 250 прерывает подачу питания на мобильный терминал 200 путем управления блоком 230 питания или осуществляет входную или выходную регистрацию мобильного терминала 200 путем управления процессором 220 входной регистрации в соответствии с переданным командным сообщением.
На фиг.2 представлена структурная схема процесса прерывания подачи питания на мобильный терминал в способе управления мобильным терминалом с использованием цифровой подписи в соответствии с настоящим изобретением. Сначала в случае потери пользователем своего мобильного терминала 200 он запрашивает сервер 100 о прерывании подачи питания на свой мобильный терминал (S100).
После приема запроса о выключении питания от пользователя сервер 100 подготавливает сообщение о выключении питания и пересылает его на мобильный терминал 200 (S102). Причем сообщение о выключении питания включает в себя команду операции выключения питания, цифровую подпись и сертификат для мобильного терминала 200, его уникальный номер и порядковый номер.
Затем, когда первый контроллер 140 сервера 100 подготавливает сообщение о выключении питания, включающее в себя цифровую подпись и сертификат, и передает сообщение на мобильный терминал 200, второй передатчик/приемник 210 принимает сообщение, переданное с сервера 100, и передает его на второй контроллер 250.
Следовательно, второй контроллер 250 аутентифицирует переданное сообщение с помощью второго блока 240 аутентификации (S104). То есть аутентификация выполняется путем дешифрования цифровой подписи и сертификата в составе переданного сообщения и верификации дешифрованной информации. В частности, уникальный номер мобильного терминала 200 в составе переданного сообщения сравнивается с номером, хранимым в блоке памяти (не показан) мобильного терминала 200. В случае идентичности сравниваемых номеров цифровая подпись в составе переданного сообщения далее подвергается верификации. Причем верификация цифровой подписи выполняется на основе сертификата, хранимого во втором блоке 240 аутентификации.
После завершения верификации в процессе аутентификации (S106) второй блок 240 аутентификации передает результаты верификации на второй контроллер 250 и второй контроллер 250 прерывает подачу питания на мобильный терминал 200 в соответствии с содержимым переданного сообщения. При этом второй контроллер 250 выполняет управление установкой мобильного терминала 200 в режим безопасной входной регистрации, а блок 230 питания прерывает подачу питания на мобильный терминал 200 (S108).
При выключении питания мобильного терминала 200 второй контроллер 250 передает сообщение о завершении выключения питания на сервер 100. При этом, если сервер 100 не принимает сообщения о завершении выключения питания с мобильного терминала 200 в пределах заданного периода времени, этапы с S102 по S108 повторяются. Причем пользователь или сервер 100 может произвольно устанавливать заданный период времени и число повторений этапов с S102 по S108.
Если сервер 100 не принимает сообщение о завершении выключения питания с мобильного терминала 200 даже после заданного числа повторений этапов, сервер 100 проверяет вновь намерение пользователя выполнить выключение питания мобильного терминала 200. Если пользователь вновь запрашивает о выключении питания мобильного терминала 200, сервер 100 вновь выполняет этапы с S102 по S108.
На фиг.3 представлена структурная схема способа управления мобильным терминалом с использованием цифровой подписи в соответствии с настоящим изобретением. Сначала, когда на мобильный терминал 200 подается питание (S200), второй контроллер 250 передает сообщение с запросом на входную регистрацию на сервер 100, чтобы запросить о сообщении, будет ли осуществлена входная регистрация мобильного терминала 200 (S202). Причем второй контроллер 250 подготавливает сообщение запроса на входную регистрацию и передает его на сервер 100 через второй передатчик/приемник 210. При этом сообщение, подготовленное вторым контроллером 250, содержит запрос на входную регистрацию мобильного терминала 200 и уникальный номер мобильного терминала 200.
Предполагается, что при включенном питании мобильный терминал 200 устанавливается в режим безопасной входной регистрации.
Первый передатчик/приемник 110 принимает сообщение с запросом на входную регистрацию, переданное с мобильного терминала 200, и передает его на первый контроллер 140. Первый контроллер 140 извлекает информацию о состоянии мобильного терминала, установленную пользователем, из базы данных, проверяет состояние соответствующего мобильного терминала 200 (S204) и подготавливает командное сообщение в соответствии с информацией о состоянии мобильного терминала.
То есть, если состояние мобильного терминала 200, установленное пользователем, является состоянием разрешения входной регистрации, то первый контроллер 140 подготавливает сообщение разрешения входной регистрации и передает его на мобильный терминал 200 (S206, S208). В противном случае первый контроллер 140 подготавливает сообщение отказа входной регистрации и передает его на мобильный терминал 200 (S210). Причем сообщение, посланное первым контроллером 140, включает в себя команду операции и цифровую подпись для мобильного терминала 200, его уникальный номер и порядковый номер. Причем команда операции для мобильного терминала 200 относится к команде операции, связанной с разрешением/отказом входной регистрации. Уникальный номер относится к специфическому номеру мобильного терминала (например, к номеру телефона, т.е. 011-xxx-xxxx, в случае интеллектуального телефона). Цифровая подпись позволяет подтвердить безопасность и надежность сервера 100, пересылающего сообщение. Порядковый номер используется для определения кратности передачи сообщения, посланного первым контроллером 140. Первый контроллер 140 произвольно устанавливает порядковый номер.
Далее, когда первый контроллер 140 сервера 100 подготавливает сообщение, включающее в себя цифровую подпись и сертификат, и передает его на мобильный терминал 200, второй передатчик/приемник 210 принимает сообщение, переданное с сервера 100, и передает его на второй контроллер 250.
Следовательно, второй контроллер 250 аутентифицирует переданное сообщение с помощью второго блока 240 аутентификации (S212). То есть аутентификация выполняется путем дешифрования цифровой подписи и сертификата в составе переданного сообщения и верификации дешифрованной информации. В частности, уникальный номер мобильного терминала 200 в составе переданного сообщения сравнивается с номером, хранимым в блоке памяти (не показан) мобильного терминала 200. В случае идентичности сравниваемых номеров цифровая подпись в составе переданного сообщения далее подвергается верификации. Причем верификация цифровой подписи выполняется на основе сертификата, хранимого во втором блоке 240 аутентификации.
После этого, по завершении верификации в процессе аутентификации (S214) второй блок 240 аутентификации передает результаты верификации на второй контроллер 250 и второй контроллер 250 управляет мобильным терминалом 200 в соответствии с командой операции, соответствующей содержимому сообщения, переданного с сервера 100. Если команда операции переданного сообщения является сообщением разрешения входной регистрации мобильного терминала 200, то выполняется процесс входной регистрации мобильного терминала 200 (S216, S218). Если команда операции переданного сообщения является сообщением отказа входной регистрации мобильного терминала 200, то процесс входной регистрации мобильного терминала 200 не выполняется.
В случае входной регистрации мобильного терминала 200 в безопасном режиме пользователь может инициировать поддержку установки режима безопасной входной регистрации или использовать мобильный терминал после отмены функции безопасности.
На фиг.4 представлены структуры командных сообщений в соответствии с вариантом осуществления настоящего изобретения. Причем командные сообщения относятся к сообщениям для управления операциями, связанными с выключением питания и разрешением/отказом входной регистрации мобильного терминала 200.
Как показано на чертеже, сообщение о выключении питания включает в себя сообщение для управления выключением питания, уникальный номер мобильного терминала 200 (например, идентификатор интеллектуального телефона) и порядковый номер (или случайное число). После передачи сообщения о выключении питания цифровая подпись, подписанная сервером 100, и сертификат для сертификации подписи далее включаются в состав сообщения о выключении питания и затем осуществляется передача результирующего сообщения о выключении питания. Причем уникальный номер мобильного терминала 200 соответствует номеру телефона в случае интеллектуального телефона, а порядковый номер представляет собой число, случайно устанавливаемое для каждого сообщения и обеспечивающее невозможность скрытного использования сообщения.
Представленное ниже сообщение с запросом на входную регистрацию включает в себя сообщение запроса входной регистрации мобильного терминала 200 и уникальный номер мобильного терминала 200.
Приводимое далее сообщение разрешения/отказа входной регистрации включает в себя сообщение разрешения/отказа входной регистрации мобильного терминала 200, уникальный номер мобильного терминала 200 и порядковый номер. После передачи сообщения разрешения/отказа входной регистрации цифровая подпись, подписанная сервером 100, и сертификат для сертификации подписи включаются в состав сообщения разрешения/отказа входной регистрации и затем осуществляется передача результирующего сообщения.
В соответствии с настоящим изобретением, описанным выше, сервер подготавливает командное сообщение в соответствии с информацией о состоянии мобильного терминала, установленной пользователем, и передает подготовленное командное сообщение на мобильный терминал, а мобильный терминал аутентифицирует переданное командное сообщение. Таким образом, имеется преимущество, состоящее в возможности управления мобильным терминалом только посредством аутентифицированного сообщения.
Кроме того, если пользователь запрашивает выключение питания мобильного терминала, то мобильный терминал устанавливается в режим безопасной входной регистрации, и затем питание выключается. Если третье лицо, получившее мобильный терминал в свое распоряжение, намеревается осуществить входную регистрацию мобильного терминала, то это можно сделать только после выполнения аутентификации мобильного терминала с помощью цифровой подписи. Таким образом, имеется преимущество, состоящее в возможности ограничения использования мобильного терминала незарегистрированным третьим лицом даже без установки функции шифрования или блокировки в мобильном терминале.
Выше приведено подробное описание настоящего изобретения на примерах его осуществления. Однако специалистам в данной области техники очевидна возможность различных модификаций и изменений, не выходящих за пределы сущности и объема изобретения, определенных прилагаемой формулой изобретения. Таким образом, простые изменения в примерах осуществления настоящего изобретения рассматриваются как входящие в объем изобретения.
Формула изобретения
1. Сервер, используемый для управления мобильным терминалом, содержащий
первый контроллер, выполненный с возможностью подготовки командного сообщения для мобильного терминала в соответствии с информацией о состоянии мобильного терминала, установленной пользователем, а также выполненный с возможностью добавления цифровой подписи к подготовленному командному сообщению, и
первый приемник/передатчик, выполненный с возможностью передачи на мобильный терминал командного сообщения с добавленной цифровой подписью,
при этом командное сообщение содержит разрешение входной регистрации для мобильного терминала, если состоянием мобильного терминала является состояние разрешенной входной регистрации, и командное сообщение содержит отказ входной регистрации для мобильного терминала, если состоянием мобильного терминала является состояние отказа входной регистрации.
2. Сервер по п.1, в котором командное сообщение содержит команду операции и цифровую подпись для мобильного терминала, соответствующий мобильному терминалу уникальный номер и порядковый номер.
3. Сервер по п.1, дополнительно содержащий базу данных, выполненную с возможностью сохранять информацию о мобильном терминале и информацию о состоянии мобильного терминала, установленную пользователем,
первый блок аутентификации, выполненный с возможностью аутентифицировать мобильный терминал.
4. Мобильный терминал, выполненный с возможностью приема командного сообщения, переданного с сервера, содержащий
передатчик/приемник, предназначенный для приема командного сообщения от сервера,
блок аутентификации, выполненный с возможностью аутентифицировать принятое командное сообщение, и
контроллер, выполненный с возможностью после завершения аутентификации командного сообщения инициирования выполнения мобильным терминалом входной регистрации, если командное сообщение содержит разрешение входной регистрации, или инициирования невыполнения мобильным терминалом входной регистрации, если командное сообщение содержит отказ входной регистрации.
5. Мобильный терминал по п.4, в котором командное сообщение включает в себя команду операции для мобильного терминала, соответствующий мобильному терминалу уникальный номер и цифровую подпись для аутентификации.
6. Мобильный терминал по п.4, в котором контроллер дополнительно выполнен с возможностью запрашивать сервер выполнить отправку ему командного сообщения и управлять операцией выключения питания в соответствии с командным сообщением, переданным с сервера.
7. Система управления мобильным терминалом с использованием цифровой подписи, содержащая
сервер, выполненный с возможностью подготавливать командное сообщение, соответствующее мобильному терминалу, согласно информации о состоянии мобильного терминала, установленной пользователем, добавлять цифровую подпись к подготовленному командному сообщению и передавать результирующее сообщение на мобильный терминал, при этом командное сообщение содержит разрешение входной регистрации для мобильного терминала, если состоянием мобильного терминала является состояние разрешенной входной регистрации, и командное сообщение содержит отказ входной регистрации для мобильного терминала, если состоянием мобильного терминала является состояние отказа входной регистрации, и
мобильный терминал, выполненный с возможностью приема и аутентификации командного сообщения, переданного с сервера, и выполнения входной регистрации, если аутентифицированное командное сообщение содержит разрешение входной регистрации, или невыполнения входной регистрации, если аутентифицированное командное сообщение содержит отказ входной регистрации.
8. Способ управления мобильным терминалом с использованием цифровой подписи в системе управления мобильным терминалом, включающей в себя, по меньшей мере, сервер и мобильный терминал, заключающийся в том, что выполняют
установку на сервере состояния мобильного терминала,
прием на сервере сообщения с запросом на входную регистрацию от мобильного терминала,
подготовку на сервере сообщения разрешения входной регистрации, если состоянием мобильного терминала является состояние разрешенной входной регистрации,
подготовку на сервере сообщения с отказом входной регистрации, если состоянием мобильного терминала является состояние отказа входной регистрации, и
передачу подготовленного сообщения на мобильный терминал,
причем сообщение разрешения входной регистрации или сообщение отказа входной регистрации включает в себя, по меньшей мере, команду операции для мобильного терминала и цифровую подпись для аутентификации.
9. Способ по п.8, в котором сообщение разрешения входной регистрации или сообщение отказа входной регистрации дополнительно включает в себя уникальный номер мобильного терминала.
10. Способ управления мобильным терминалом с использованием цифровой подписи в системе управления мобильным терминалом, включающей в себя, по меньшей мере, сервер и мобильный терминал, заключающийся в том, что выполняют
запрос сервера на подготовку командного сообщения, содержащего цифровую подпись, и пересылку этого сообщения на мобильный терминал при включенном питании мобильного терминала,
прием посредством мобильного терминала командного сообщения, подготовленного в соответствии с информацией о состоянии мобильного терминала, установленной пользователем на сервере,
аутентификацию мобильным терминалом принятого командного сообщения,
после завершения аутентификации командного сообщения инициирование выполнения входной регистрации мобильного терминала, если командное сообщение содержит разрешение входной регистрации, или инициирование невыполнения входной регистрации мобильного терминала, если командное сообщение содержит отказ входной регистрации.
11. Способ по п.10, в котором запрос на подготовку командного сообщения выполняют при установке мобильного терминала в режим безопасной входной регистрации.
12. Способ по п.11, в котором установка режима безопасной входной регистрации включает в себя
прием мобильным терминалом сообщения о выключении питания, подготовленного сервером в соответствии с запросом на выключение питания от пользователя,
аутентификацию сообщения о выключении питания, принятого с сервера,
прерывание подачи питания на мобильный терминал при завершении аутентификации командного сообщения и
установку мобильного терминала в режим безопасной входной регистрации при выключенном питании мобильного терминала.
13. Способ по п.12, в котором прерывание подачи питания на мобильный терминал при завершении аутентификации командного сообщения дополнительно включает в себя передачу сообщения о завершении выключения питания на сервер при выключенном питании мобильного терминала.
14. Способ по п.10, в котором командное сообщение дополнительно включает в себя команду операции для мобильного терминала и уникальный номер мобильного терминала.
РИСУНКИ
|