|
|
(21), (22) Заявка: 2003132874/09, 04.04.2002
(24) Дата начала отсчета срока действия патента:
04.04.2002
(30) Конвенционный приоритет:
12.04.2001 EP 01201346.2
(43) Дата публикации заявки: 20.04.2005
(46) Опубликовано: 10.12.2006
(56) Список документов, цитированных в отчете о поиске:
ЕР 1005229 А, 31.05.2000. RU 99104151 A, 27.01.2001. ЕР 0947953 А, 06.10.1999.
(85) Дата перевода заявки PCT на национальную фазу:
12.11.2003
(86) Заявка PCT:
IB 02/01231 (04.04.2002)
(87) Публикация PCT:
WO 02/085027 (24.10.2002)
Адрес для переписки:
129010, Москва, ул. Б. Спасская, 25, стр.3, ООО “Юридическая фирма Городисский и Партнеры”, пат.пов. Ю.Д.Кузнецову, рег.№ 595
|
(72) Автор(ы):
ЛИННАРТЗ Йохан П.М.Г (NL), ТАЛСТРА Йохан С. (NL)
(73) Патентообладатель(и):
КОНИНКЛЕЙКЕ ФИЛИПС ЭЛЕКТРОНИКС Н.В. (NL)
|
(54) ВНЕДРЕНИЕ ВОДЯНОГО ЗНАКА
(57) Реферат:
Изобретение относится к способу внедрения водяного знака и к устройству транскодирования и цифровой записи, включающему в себя средство для внедрения водяного знака. Первый вариант выполнения включает систему внедрения водяного знака с транскодером, содержащим каскадно-включенные декодеры/кодеры и относящимся к типу, обычно используемому в устройствах цифровой записи. Входной поток данных в первом формате принимается декодером (10) транскодера. Параметры кодирования подаются с первого выхода декодера (10) на первый вход кодера (30) транскодера. Второй выходной сигнал декодера (10) содержит полный видеосигнал, который подается на первый вход сумматора (24). Выходной сигнал генератора (22) водяного знака подается на второй вход сумматора (24). Выходной сигнал сумматора (24) подается на второй вход кодера (30). Выходной сигнал кодера (30) содержит информацию, подлежащую записи во втором формате, который является совместимым с носителем данных. Техническим результатом является создание устройства, которое устраняет необходимость введения дополнительных сложных систем восстановления и повторного сжатия. 2 н. и 7 з.п. ф-лы, 8 ил.
Настоящее изобретение относится к устройству, устройству цифровой записи и способу, в частности, включающим в себя возможность внедрения водяного знака.
Внедрение водяного знака в цифровые видео- и аудиоданные содержит включение восстановимых сообщений в данные предпочтительно таким образом, который создает незаметные изменения в представлении данных, представляемых устройством вывода видео или аудио. Например, водяной знак может проявлять себя в представлении данных, представляемых устройством вывода видео, в виде малых псевдослучайных изменений яркости изображения. Процесс внедрения водяного знака известен как выполнение водяного знака. Простая практическая реализация такого устройства внедрения водяного знака может использовать предварительно определенный двумерный рисунок водяного знака, содержащий значения +1 и -1. Устройство внедрения добавляет каждое значение водяного знака к значению яркости соответствующего пиксела в изображении, т.е. он повышает или понижает яркость исходного изображения на один шаг квантования в соответствии с рисунком водяного знака. В технической литературе были предложены многие другие схемы выполнения водяных знаков. Например, все дополнительные операции могут быть выполнены в области дискретного косинусного преобразования (ДКП, DCT) или быстрого преобразования Фурье (БПФ, FFT). Для достижения оптимальной обнаруживаемости водяного знака электронным устройством, и при этом обеспечения незаметности для глаза или уха человека, внедрение обычно выполняется с учетом перцептуальных маскирующих свойств аудио- или видеосигнала. Водяной знак внедряется интенсивно (например, более одного шага квантования) в области, где аудиовизуальные возможности восприятия человека менее чувствительные к изменениям. С другой стороны, внедрение может выполняться слабо или вообще может не выполняться в областях, где наблюдение человека чувствительно к изменениям. Часто рисунок водяного знака сохраняется в секрете и публично не описывается.
Выполнение водяного знака может быть использовано для предоставления информации об источнике данных или состоянии авторского права данных. Одной полезной функциональной возможностью, осуществляемой водяными знаками, является возможность уведомления оборудования цифровой записи о состоянии авторского права данных. Если цифровой водяной знак указывает, что данные защищены авторским правом, то оборудование цифровой записи может отказаться от создания несанкционированной копии. Эта функциональная возможность может быть расширена на использование водяных знаков, указывающих на копии первого поколения, с которых разрешено сделать одну копию, причем скопированные данные затем повторно маркируются другим водяным знаком (или замещающим водяным знаком), указывающим на состояние второго поколения данных. Оборудование цифровой записи может интерпретировать повторно маркированные данные и отказаться делать дополнительные копии. Такая схема может быть использована для разрешения выполнения одной резервной копии данных или при записи вещательных сигналов, причем водяной знак оригинала указывает на состояние «однократная копия», и водяные знаки в повторно маркированных данных указывают на состояние «дальнейшее копирование запрещено».
Некоторые широко используемые способы выполнения водяных знаков описаны в следующей статье: I.J. Cox, M. Miller, J. P. M. G. Linnartz and A. C. C. Kalker, “A review of watermarking principles and practices”, которая находится в Главе 17 публикации “Digital Signal Processing for Multimedia Systems”, K. K. Parhi and T. Nishitani (eds.), Marcel Dekker, Inc., New York, March 1999, pp. 461-486.
Проблема с повторной маркировкой цифровых данных в оборудовании цифровой записи, особенно в отношении оборудования цифровой записи для домашнего применения, заключается в сложной сущности процессов выполнения водяных знаков. Определенные проблемы могут иметь место при выполнении водяных знаков в цифровых данных, закодированных по схеме MPEG (разработанной Экспертной группой по движущимся изображениям), потому что должен сохраняться синтаксис потока битов MPEG для предотвращения вредного опустошения/переполнения буфера. Эти проблемы могут быть преодолены, но посредством повышения сложности системы внедрения водяного знака.
Полное декодирование потока битов MPEG для введения водяного знака в воспринимаемую видеоинформацию устраняет проблему опустошения/переполнения буфера и дает большую гибкость при различимости водяного знака в представлении данных, представляемых устройством вывода. Однако восстановление, включаемое в полное декодирование, выполняется с интенсивными вычислениями, и очень вероятно, что потребуется интенсивное повторное сжатие для снижения объема хранимых данных после того, как произошла повторная маркировка. Такое восстановление и повторное сжатие не подходят для элементарных записывающих устройств из-за затрат, вводимых в результате включения систем восстановления и повторного сжатия, необходимых для системы внедрения водяного знака. Восстановление и последующее повторное сжатие также имеет тенденцию введения дополнительного шума квантования, особенно если выполняется с использованием систем сжатия потребительского уровня.
Целью предпочтительных вариантов выполнения настоящего изобретения является предоставление устройства, устройства цифровой записи и способа, которые устраняют или снижают до некоторой степени по меньшей мере одну из описанных выше проблем. Другой целью вариантов выполнения изобретения является предоставление такого способа и устройства, которые устраняют необходимость введения дополнительных сложных систем восстановления и повторного сжатия, требуемых некоторыми способами известного уровня техники, и которые подходят для применения в домашнем оборудовании цифровой записи.
Частной целью вариантов выполнения изобретения является предоставление устройства транскодирования, устройства цифровой записи и способа, в которых сложность выполнения водяного знака снижается посредством внедрения водяного знака во время операции транскодирования, в которых такая операция транскодирования представляет собой операцию, которая уже требуется для обеспечения необходимого преобразования форматов.
В соответствии с первым аспектом изобретения предоставляется устройство транскодирования, содержащее: транскодер для преобразования входного потока данных, содержащего информацию в первом формате, во второй формат; и устройство внедрения водяного знака для внедрения водяного знака в выходной поток данных, причем устройство отличается тем, что устройство внедрения водяного знака предназначено для приема первых данных от первой части транскодера и подачи данных с водяным знаком на вторую часть транскодера.
Описанное выше устройство позволяет встроить систему внедрения водяного знака, которая не требует введения дополнительных сложных систем восстановления и повторного сжатия, вместо этого используются преимущества частичного декодирования и повторного кодирования, которые так или иначе необходимы при преобразовании из одного формата в другой.
Предпочтительно, что устройство внедрения водяного знака предназначено для маркирования выходного потока данных с целью отражения требуемого состояния информации, подлежащей записи. Требуемым состоянием является, предпочтительно, состояние копии информации, подлежащей записи.
Предпочтительно, что первая часть транскодера содержит декодирующее средство для по меньшей мере частичного декодирования входного потока данных, содержащего информацию в первом формате.
Предпочтительно, что вторая часть транскодера содержит кодирующее средство для преобразования во второй формат. Первый и второй форматы могут быть, по существу, одинаковыми, но могут иметь различные параметры сжатия, такие как различные скорости передачи битов.
Предпочтительно, что вторым форматом является формат записи, имеющий пониженную скорость передачи битов по сравнению с первым форматом.
Первым форматом может быть схема кодирования MPEG.
В частности, первый формат может быть закодирован в формате транспортного потока (ТП, TS) MPEG-2.
Вторым форматом может быть формат программного потока. Более конкретно, вторым форматом, предпочтительно, является формат программного потока (ПП, PS) MPEG-2.
Альтернативно, первым форматом может быть формат транспортного потока (ТП), а вторым форматом может быть перезаписываемый формат реального времени (ПФРВ, RTRW).
Предпочтительно, что информация, подлежащая записи, содержит видео- или аудиоинформацию.
Предпочтительно, что носитель данных содержит диск, жесткий диск, твердотельную память или ленту.
Предпочтительно, что устройство внедрения водяного знака и транскодер совместно используют общую систему управления синтаксисом.
Предпочтительно, что транскодер для преобразования входящего потока данных и устройство внедрения водяного знака совместно используют общую систему управления синтаксисом, относящуюся ко второму формату, совместимому с носителем данных.
Транскодер, предпочтительно, содержит каскадно-включенные декодер и кодер.
Система транскодирования может содержать транскодер скорости передачи битов с компенсацией движения.
Система транскодирования может содержать транскодер скорости передачи битов с переквантованием коэффициентов дискретного косинусного преобразования.
Система транскодирования может содержать транскодер скорости передачи битов с демпфированием коэффициентов дискретного косинусного преобразования.
Изобретение включает в себя устройство цифровой записи, содержащее устройство транскодирования.
В соответствии со вторым аспектом изобретения предоставляется способ внедрения водяного знака в информацию принимаемого потока данных, причем способ содержит: прием входного потока данных, содержащего информацию в первом формате, и декодирование данных из упомянутого первого формата для получения декодированных данных; внедрение водяного знака в декодированные данные для получения декодированных данных с водяным знаком и кодирование декодированных данных с водяным знаком во второй формат.
Предпочтительно, что параметры кодирования из входного потока данных используются для адаптации водяного знака к контенту (значимому информационному наполнению), в который он должен быть внедрен.
Способ по второму аспекту может содержать любой из признаков или ограничений устройства по первому аспекту в любой логической комбинации.
Для лучшего понимания изобретения и для того, чтобы показать, как могут быть реализованы варианты выполнения изобретения, ссылка теперь делается, в качестве примера, на прилагаемые схематические чертежи, на которых:
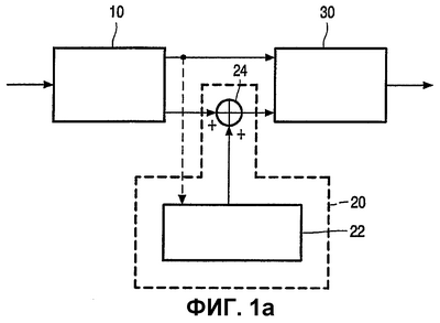
на фиг. 1 показана блок-схема, представляющая часть устройства цифровой записи в соответствии с первым вариантом выполнения изобретения, в котором транскодирование выполняется каскадно-включенными декодером и кодером;
на фиг. 1b и 1с показаны альтернативные варианты устройства внедрения водяного знака;
на фиг. 2 показана блок-схема, представляющая часть устройства цифровой записи в соответствии со вторым вариантом выполнения изобретения, в котором транскодирование выполняется транскодером скорости передачи битов с компенсацией движения;
на фиг. 3 показана блок-схема, представляющая часть устройства цифровой записи в соответствии с третьим вариантом выполнения изобретения, в котором транскодирование выполняется транскодером скорости передачи битов;
на фиг. 4 показана блок-схема, представляющая часть устройства цифровой записи в соответствии с четвертым вариантом выполнения изобретения, в котором устройство внедрения водяного знака объединено с транскодером скорости передачи битов, в котором демпфируются коэффициенты дискретного косинусного преобразования (ДКП) высокого порядка;
на фиг. 5 показана кривая снижения скорости передачи битов, используемая совместно с вариантом выполнения по фиг. 4 для демпфирования коэффициентов ДКП высокого порядка;
на фиг. 6 показано устройство цифровой записи в соответствии с вариантом выполнения изобретения.
Любое устройство цифровой записи, которое может записывать аналоговый сигнал посредством кодирования аналогового сигнала в цифровой формат и которое затем может воспроизводить кодированный видеосигнал, включает в себя систему транскодирования. Объединенные действия повторного форматирования и адаптации скорости передачи битов входящего цифрового видеосигнала к значению/формату, подходящему для данного носителя данных, составляют транскодирование. Простым способом реализации транскодера является использование каскадно-включенных декодера и кодера. Ряд известных устройств цифровой записи для видеоприменений содержит каскадно-включенные декодер и кодер, и схемы транскодирования, использующие такое устройство, дают преимущества в том, что фильтрация и другие операции могут быть выполнены над видеосигналом в пиксельной области. Такие операции могут улучшить качество изображения.
Первый вариант выполнения настоящего изобретения включает в себя систему внедрения водяного знака с транскодерами, содержащими каскадно-включенные декодеры/кодеры и относящимися к типу, широко распространенному в устройствах цифровой записи.
На фиг. 1а показана первая часть транскодера, которая содержит декодер 10, устройство 20 внедрения водяного знака, и вторая часть транскодера, которая содержит кодер 30. Устройство 20 внедрения водяного знака содержит генератор 22 водяного знака и сумматор 24. Т.е. рисунок водяного знака, например, генерируемый «на лету» генератором псевдослучайного шума или, альтернативно, считываемый из памяти, объединяется со значениями яркости пикселей в изображении, видео, или с выборками звукового контента. Входной поток данных подается на декодер 10. Первый выходной сигнал декодера 10 содержит параметры кодирования и подается на первый вход кодера 30. Второй выходной сигнал декодера 10 содержит полный видеосигнал и подается на первый вход сумматора 24. Выходной сигнал генератора 22 водяного знака подается на второй вход сумматора 24. Выходной сигнал сумматора 24 подается на второй вход кодера 30. Выходной сигнал кодера 30 содержит информацию, подлежащую записи в формате, совместимом с носителем данных.
Входной поток данных находится в первом формате и может быть принят декодером 10 от источника цифровой информации, который является внешним для устройства цифровой записи, или некоторая начальная обработка входящего потока данных, такая как демодуляция, автоматическая регулировка усиления или другая обработка, может быть выполнена другими системами в устройстве цифровой записи. Выходной сигнал кодера 30, который находится во втором формате, определяемом схемой кодирования кодера и подходящим для возможного носителя данных, может быть подан непосредственно на носитель данных, понятно, однако, что может быть применена некоторая дополнительная обработка выходного сигнала кодера 30, если потребуется.
Обычно входной сигнал декодера 10 содержит формат ТП MPEG-2, и выходной сигнал кодера 30 содержит формат ПП MPEG-2. Генерирование полного видеосигнала декодером 10 позволяет устройству 20 внедрения водяного знака выполнить внедрение водяного знака, который не ограничивается необходимостью сохранения синтаксиса входного формата или любой другой схемы кодирования.
Альтернативно, первый формат и второй формат могут быть идентичными, но применять различные параметры сжатия. Например, первым форматом может быть формат транспортного потока (ТП), и вторым форматом также может быть транспортный поток, однако, тот, который использует другую (обычно меньшую) скорость передачи битов для сжатия видео (более значительного). В этом случае операцией транскодирования является та, которая (частично) интерпретирует видео и устраняет менее существенные данные. Такая операция, например переквантование, хорошо подходит для объединения с добавлением водяного знака.
Сумматор 24 объединяет информацию водяного знака, подаваемую на его второй вход с выхода генератора 22 водяного знака, и видеосигнал, подаваемый на его первый вход от декодера 10.
Пунктирная линия (—-), показанная на фиг. 1а, представляет необязательное соединение, которое может быть предусмотрено в некоторых вариантах выполнения. Это необязательное соединение позволяет подавать определенные параметры кодирования на устройство 20 внедрения водяного знака с первого выхода декодера 10. Эти параметры интерпретируются генератором 22 водяного знака и могут быть использованы для того, чтобы сделать процесс внедрения водяного знака локально адаптивным для адаптации к принятому «ведущему» видео, и могут выполнить некоторый анализ видео, так что водяной знак может быть внедрен с соответствующей интенсивностью, возможно, зависящей от водяного знака, уже присутствующего во входящем потоке данных и обнаруживаемого детектором/интерпретатором водяного знака (не показан).
Адаптивное управление интенсивностью введения может быть достигнуто посредством, например, включения умножителя (не показан) на выходе генератора 22 водяного знака для умножения этого выходного сигнала на адаптивный коэффициент усиления до подачи умноженного результата на сумматор 24. Другой реализацией является замена сумматора на умножитель (в этом случае генератор водяного знака не будет генерировать числа, близкие к 0, но числа, близкие к 1).
Процесс внедрения водяного знака во многих реализациях может интерпретироваться просто как «примешивание» сигнала псевдослучайного шума. Мощность сигнала шума выбирается такой, чтобы он не мог быть легко обнаружен человеком-наблюдателем. Для достижения неразличимости параметры мощности внедренного сигнала предпочтительно адаптируются к локальным и временным маскирующим свойствам контента. На практике оценивание (т.е. вычисление маскирующих свойств) может быть сложной задачей. Однако можно извлечь информацию о маскирующих свойствах посредством считывания параметров, таких как тип изображения, размер шага квантования и матрица квантования, используемых алгоритмом сжатия, из входящего потока первого формата. Это указывается пунктирной линией. В действительности, при сжатии с потерями кодер уже выполнил анализ контента для определения того, какие части требуют точного представления и какие части допускают относительно неточное представление, основываясь на перцептуальной модели свойств маскирования ошибок. Кодер использует их для эффективного сжатия видео. Т.е. маскирующая информация неявно передается потоком формата 1, потому что синтаксис потока описывает, как определенные части были сжаты в более сильной степени, допуская бульшие (но все же незначительные) ошибки, чем другие части. Устройство внедрения водяного знака может использовать ее посредством внедрения водяного знака более интенсивно в тех частях, где оно определило (при помощи «побочной» информации в пределах пунктирной линии на фиг. 1), что кодер (после анализа перцептуальных свойств контента) принял относительно большие ошибки в контенте.
На фиг. 1b и 1с показаны альтернативные варианты устройства 20′ и 20″ внедрения водяного знака, соответственно. На фиг. 1b и 1с устройства 20′, 20″ внедрения водяного знака являются адаптивными устройствами внедрения для изменения интенсивности внедрения, как описано выше. Интенсивность внедрения управляется до той степени, при которой изменение значений пиксела становится визуально очевидным. Информация, необходимая для определения такой соответствующей интенсивности, передается информационным потоком в двух местах: (i) в информации заголовка (например, тип изображения, матрица квантования и т.д.) и (ii) в значениях самих коэффициентов кодирования (например, коэффициентов ДКП).
Как подробно показано на фиг. 1b, можно видеть, что присутствуют те же обобщенные элементы, что показаны на фиг. 1а, и они содержат декодер 10, устройство 20′ внедрения водяного знака и кодер 30. В данном случае устройство 20′ внедрения водяного знака содержит генератор 22′ водяного знака, сумматор 24′, первый умножитель 25′, фильтр 26′ и второй умножитель 27′. Генератор 22′ водяного знака принимает параметрическую информацию (i) от декодера 10 и выводит сигнал адаптивного водяного знака на первый вход второго умножителя 27′. Фильтр 26 принимает декодированные коэффициенты (ii) от декодера 10 и фильтрует эти коэффициенты, подавая отфильтрованный вариант на второй вход второго умножителя 27′. Второй умножитель 27′ умножает информацию адаптивного водяного знака на отфильтрованные коэффициенты и подает произведение на первый вход первого умножителя 25′. Второй вход первого умножителя 25′ принимает сигнал , который отражает глобальную или обобщенную интенсивность внедрения водяного знака. Произведение первого и второго входных сигналов первого умножителя 25′ затем выводится на первый вход сумматора 24′. Второй вход сумматора 24′ соединен с выходом декодированных коэффициентов декодера 10, и сумматор 24′ подает, со своего выхода, поток коэффициентов с информацией с внедренным водяным знаком на вход кодера 30.
Из вышеприведенного описания варианта выполнения на фиг. 1b можно видеть, что устройство 20′ внедрения водяного знака обеспечивает то, что водяной знак внедряется с определенной интенсивностью, которая управляется установкой обобщенной глобальной интенсивности и установкой переменной интенсивности, определяемыми параметрами (i), декодированными декодером 10. Математически, если временно не учитывать конкретные фильтрующие характеристики фильтра 26′, то выходной сигнал сумматора 24′ представляет собой: DCT+(DCT.W. )=DCT(1+W ). В этом уравнении W – адаптивный выходной сигнал генератора 22′ водяного знака, DCT представляет коэффициенты, выводимые декодером 10, и является установкой внедрения глобальной интенсивности. Итак, в данном случае видно, что водяной знак вводится посредством умножения коэффициентов, выводимых декодером, на коэффициент (1+W ).
Как показано более конкретно на фиг. 1с, устройство 20″ внедрения водяного знака содержит генератор 22″ водяного знака, сумматор 24″ и первый умножитель 25″. Генератор 22″ водяного знака принимает как параметры (i), так и коэффициенты (ii) от декодера 10 и выводит адаптивный водяной знак на первый вход первого умножителя 25″. Второй вход первого умножителя принимает глобальный коэффициент внедрения , и первый умножитель 25″ выводит произведение первого и второго входного сигналов на первый вход сумматора 24″. Второй входной сигнал сумматора 24″ содержит коэффициенты от декодера 10. Сумма первого и второго входных сигналов сумматора 24″ выводится на вход кодера 30.
Как понятно из вышеописанного, существуют многочисленные различные способы объединения сигнала водяного знака с коэффициентами от декодера 10, и хотя в других вариантах выполнения изобретения, описанных ниже, упоминается только один конкретный способ (т.е. суммирование водяного знака с коэффициентами), понятно, что объем настоящего изобретения охватывает все различные применимые способы включения информации водяного знака в поток коэффициентов.
Хотя выше было описано адаптивное выполнение водяного знака, также понятно, что может быть исключено необязательное соединение между первым выходом декодера 10 и устройством 20 внедрения водяного знака, и, таким образом, конструкция устройства 20 внедрения водяного знака может быть упрощена за счет либо потери адаптивной сущности процесса внедрения водяного знака, либо необходимости выполнения перцептуального анализа в качестве дополнительной задачи в устройстве 20 внедрения.
Хотя декодер 10, устройство 20 внедрения водяного знака и кодер 30 показаны в виде отдельных объектов, понятно, что эти объекты могут быть объединены, например, на одной микросхеме. Объединение, выполненное таким образом, имеет преимущества в безопасности, заключающиеся в том, что становится более трудным злонамеренное вмешательство в генератор 22 водяного знака (или извлечение секретов рисунка водяного знака).
Второй вариант выполнения изобретения включает систему внедрения водяного знака с транскодером скорости передачи битов с компенсацией движения (ТСПБ-КД, MC-BRT). ТСПБ-КД использует преимущество обратимости декодирования/кодирования для обеспечения упрощенной архитектуры транскодера относительно каскадно-включенных декодера/кодера.
На фиг. 2 показаны декодер 50 с переменной длиной кода (ниже ДПДК), первая схема 52 деквантования (ниже DQ1), первый вычитатель 54, схема 56 квантования (ниже Q1), кодер 58 с переменной длиной кода (ниже КПДК), вторая схема 61 деквантования (ниже DQ2), второй вычитатель 62, схема 63 обратного дискретного косинусного преобразования (ниже ОДКП), память 64 изображений (ниже ПАМ), схема 65 компенсации движения (ниже МС), схема 66 дискретного косинусного преобразования (ниже ДКП) и устройство 70 внедрения водяного знака. DQ2 61, второй вычитатель 62, ОДКП 63, ПАМ 64, МС 65 и ДКП 66 образуют компонентные части схемы 60 компенсации ошибок (ниже ЕСС). ДПДК 50, DQ1 52, первый вычитатель 54, Q1 56, КПДК 58 и ЕСС 60 в отдельности образуют обычный компенсатор движения транскодера скорости передачи битов. Устройство 70 внедрения водяного знака содержит сумматор 74 и генератор 72 водяного знака.
Простыми словами, устройство 70 внедрения водяного знака принимает первые данные от первой части (в данном случае ДПДК 50, DQ1 52 и первый вычитатель 54) транскодера и выводит данные на вторую часть (Q1 56, КПДК 58).
Более конкретно, входной поток данных первого формата подается на ДПДК 50. Первый выходной сигнал ДПДК 50, содержащий декодированные кодом переменной длины коэффициенты квантования, подается на DQ1 52. Второй выходной сигнал ДПДК 50, содержащий векторы движения, заголовки и т.д., подается на первый вход КПДК 58. Векторы движения со второго выхода ДПДК 50 подаются на первый вход МС 65 схемы 60 компенсации ошибок. Деквантованные декодированные кодом переменной длины коэффициенты с выхода DQ1 52 подаются на первый вход первого вычитателя 54. Второй вход первого вычитателя 54 принимает коэффициенты компенсации ошибок обычным образом от ДКП 66 ЕСС 60. Выходной сигнал первого вычитателя 54 содержит разность между его первым и вторым входными сигналами. Выходной сигнал первого вычитателя 54 подается на первый вход второго вычитателя 62 ЕСС 60 и на первый вход сумматора 74 устройства 70 внедрения водяного знака. Выходной сигнал генератора 72 водяного знака устройства 70 внедрения водяного знака подается на второй вход сумматора 74. Выходной сигнал сумматора 74, который содержит сумму его первого и второго входных сигналов, подается на первый вход Q1 56. Второй вход Q1 56 принимает информацию управления скоростью передачи битов. Выходной сигнал Q1 56, который содержит переквантованные коэффициенты, включающий теперь дополнительный водяной знак, подается на второй вход КПДК 58. Первый выходной сигнал КПДК 58 содержит информацию управления скоростью передачи битов, которая подается обратно на второй вход Q 56. Второй выходной сигнал КПДК 58 содержит кодированную кодом переменной длины и квантованную информацию (теперь включающую информацию с внедренным водяным знаком), подлежащую записи, во втором формате, который совместим с данным носителем данных.
Выходной сигнал Q1 56 подается на вход DQ2 61 ЕСС 60. Выходной сигнал DQ2 61, содержащий деквантованные коэффициенты, подается на второй вход второго вычитателя 62. Выходной сигнал второго вычитателя содержит разность между выходным сигналом DQ2 61 и выходным сигналом первого вычитателя 54. Выходной сигнал второго вычитателя 62 подается на ОДКП 63. Выходной сигнал ОДКП 63 подается на ПАМ 64. Выходной сигнал ПАМ 64 подается на второй вход МС 65. Выходной сигнал МС 65 подается на ДКП 66. Выходной сигнал ДКП 66 подается на второй вход первого вычитателя 54, тем самым завершая цепь контура обратной связи компенсации ошибок.
Входной поток данных, принимаемый ДПДК 50, и выходной сигнал КПДК 58 имеют характеристики, аналогичные тем, которые были описаны в отношении входного потока данных и выходного сигнала первого варианта выполнения. Как ранее упомянуто, схемная архитектура варианта выполнения по фиг. 2 совершенно обычная, кроме добавления устройства 70 внедрения водяного знака, и поэтому принцип действия транскодера самого по себе хорошо известен специалисту в этой области техники.
В этом варианте выполнения водяной знак добавляется к видеоинформации в области дискретного косинусного преобразования, таким образом сохраняя гибкость, предоставляемую посредством недобавления водяного знака в схеме кодирования MPEG конечного выходного сигнала. Сложность этой схемы меньше, чем сложность, необходимая для выполнения полного декодирования/кодирования первого варианта выполнения.
В общих чертах, компенсация движения и предсказание движения могут вызвать дублирование фрагментов водяного знака таким образом, который не подразумевается; например, в видеоданных могут появиться многочисленные, взаимно сдвинутые копии водяного знака. Это может быть нежелательным для обнаружения предполагаемого водяного знака. Для того, чтобы способствовать устранению возможного нежелательного дублирования водяного знака, в варианте выполнения по фиг. 2 выходной сигнал генератора 72 водяного знака добавляется к видеоданным в области дискретного косинусного преобразования посредством сумматора 74 в цепи прямой передачи контура обратной связи компенсации ошибок.
Другими альтернативами конфигурации, показанной на фиг. 2, являются расположение сумматора 74 непосредственно после DQ1 52 или непосредственно после Q1 56. Все такие варианты получают дополнительную пользу из преимущества уменьшенной сложности в результате исключения необходимости полного дублирования декодеров/кодеров.
Второй вариант выполнения изобретения, показанный на фиг. 2, может быть выполнен локально адаптивным посредством подачи параметров кодирования, извлекаемых ДПДК 50, на генератор 72 водяного знака аналогично необязательному соединению в варианте выполнения по фиг. 1. В этом отношении генератор 72 водяного знака может включать в себя внутренний или внешний умножитель для изменения интенсивности применения водяного знака адаптивным образом, предложенным в отношении первого варианта выполнения. Генератор 72 водяного знака также может принимать от Q1 56 побочную информацию, например тип изображения, размеры шага квантования или матрицу квантования.
Третий вариант выполнения изобретения, показанный на фиг. 3, включает систему внедрения водяного знака с транскодером скорости передачи битов с переквантованием коэффициентов дискретного косинусного преобразования (ТСПБ, BRT). ТСПБ представляет собой упрощение ТСПБ-КД второго варианта выполнения, в котором исключен контур обратной связи компенсации ошибок в ЕСС 60. ТСПБ использует преимущество обратимости декодирования/кодирования для предоставления упрощенной архитектуры транскодера относительно каскадно-включенных декодера/кодера и за счет возможного накопления ошибок переквантования – значительное упрощение относительно ТСПБ-КД.
На фиг. 3 более подробно показаны ДПДК 50, DQ1 52, устройство 70 внедрения водяного знака, Q1 56 и КПДК 58. Устройство 70 внедрения водяного знака содержит сумматор 74 и генератор 72 водяного знака аналогично варианту выполнения по фиг. 2. Прохождение сигнала со входа ДПДК 50 на выход КПДК 58 идентично прохождению сигнала во втором варианте выполнения, кроме исключения в данном случае ЕСС 60.
Для специалиста в этой области техники понятно, что схема варианта выполнения на фиг. 3 является полностью обычной, кроме добавления генератора водяного знака между DQ1 52 и Q1 56.
Пунктирная линия (—-) представляет необязательное соединение между ДПДК 50 и генератором 72 водяного знака для выполнения устройства 70 внедрения водяного знака локально адаптивным аналогично первому варианту выполнения. Например, I-, B- и P-кадры могут обрабатываться по-разному для ослабления распространения ошибок/артефактов.
Четвертый вариант выполнения изобретения включает систему внедрения водяного знака в транскодере с демпфированием коэффициентов дискретного косинусного преобразования (ТСПБ’, BRT’). ТСПБ’ почти аналогичен ТСПБ, что можно видеть при сравнении фиг. 4 с фиг. 3.
На фиг. 4 показаны ДПДК 50, DQ1 52, устройство 70 внедрения водяного знака, Q1 56 и КПДК 58. Снова, устройство внедрения водяного знака содержит генератор 72 водяного знака и сумматор 74. Разница между вариантами выполнения, показанными на фиг. 3 и фиг. 4, заключается в принципе действия Q1 56. В ТСПБ’ Q1 56 не переквантует все коэффициенты дискретного косинусного преобразования, а вместо этого он демпфирует коэффициенты более высоких порядков. DQ1 52 и Q1 56 управляются скоростью передачи битов. Когда требуемый возможный выходной сигнал имеет более низкую скорость передачи битов (т.е. формат 1 имеет более высокую скорость передачи битов, чем формат 2), выходной сигнал имеет большее количество шагов квантования. Степень, с которой этот шаг квантования согласуется со скоростью передачи битов, измеряется на выходе КПДК 58, который, в свою очередь, управляет скоростью передачи битов.
Демпфирование коэффициентов высокого порядка означает, что транскодер не только изменяет шкалу квантования для уменьшения скорости передачи битов, но также ослабляет ДКП-компоненты высокого порядка для исключения раздражающих проблем медленного перемещения.
На фиг. 5 показана характеристика, которую Q1 56 может применять к коэффициентам ДКП с целью получения такого демпфирования высокого порядка и, тем самым, уменьшения скорости передачи битов.
На фигуре показан коэффициент ослабления КО конкретного коэффициента ДКП как функция положения зигзагообразного сканирования ДКП (коэффициент ДКП). Другими словами, с повышением частоты в этом случае (и, таким образом, с повышением положения при зигзагообразном сканировании) увеличивается подлежащее использованию ослабление. Ослабление никогда не составляет 100%, так что даже коэффициенты ДКП самых высоких частот никогда не ослабляются полностью до нуля.
В результате применения этой кривой в генераторе 72 водяного знака становятся перцептуально менее видимыми артефакты кодирования, т.е. накопления ошибок. Накопление ошибок становится перцептуально видимым в алгоритмах переквантования без контура обратной связи вследствие того факта, что оказывается воздействие на коэффициенты ДКП низких частот.
Описанные выше варианты выполнения обеспечивают устройства, пригодные для использования в домашнем оборудовании цифровой записи, включающем системы внедрения водяного знака, которые не требуют введения дополнительных сложных систем восстановления и повторного сжатия.
Последние три упомянутых способа транскодирования скорости передачи битов не являются взаимно исключающими, так что это означает, что также могут быть выполнены комбинированные решения.
На фиг. 6 показано устройство 1 цифровой записи в соответствии с вариантом выполнения изобретения, такое как персональный видеомагнитофон или телевизионная приставка. Устройство 1 цифровой записи содержит схему согласно фиг. 1а для транскодирования и внедрения водяного знака. Схема дополнительно содержит записывающее устройство 40 для хранения сигнала, получаемого от кодера 30, на носителе данных, таком как жесткий диск, лента, компакт-диск, цифровой универсальный диск (DVD) и т.д. Записывающим устройством 40 является соответствующее записывающее устройство, такое как накопитель на жестких дисках, устройство записи на магнитную ленту, устройство записи на компакт-диск, устройство записи на цифровой универсальный диск и т.д. Помимо схемы по фиг. 1а устройство цифровой записи также может содержать вариант выполнения в соответствии с одной из других фигур – 1b, 1с, 2, 3 или 4. В этом документе описан принцип объединения транскодирования и введения водяного знака. Это снижает сложность и может ослаблять визуальные артефакты. Были даны различные примеры реализаций, но объем не ограничивается ими – напротив, объем изобретения ограничивается исключительно прилагаемой формулой изобретения.
Хотя текст сосредоточен на видео, идея также применима к аудио. Заявители дополнительно отмечают, что в процессе внедрения водяного знака информация перцептуального маскирования (если генерируется и используется транскодером) может быть выгодно использована устройством внедрения водяного знака. Это будет иметь место преимущественно в звуковых применениях. Вероятно, что она будет полезна также в видео.
Необходимо отметить, что вышеупомянутые варианты выполнения иллюстрируют, а не ограничивают изобретение, и что специалист в этой области техники сможет сконструировать многие альтернативные варианты выполнения в пределах объема прилагаемой формулы изобретения. В формуле изобретения любой знак ссылки, помещенный между скобками, не должен рассматриваться как ограничивающий формулу изобретения. Слово «содержащий» не исключает присутствие других элементов или этапов кроме тех, которые перечислены в формуле изобретения. Изобретение может быть реализовано посредством аппаратных средств, содержащих несколько отдельных элементов, и посредством запрограммированного соответствующим образом компьютера. В пунктах формулы изобретения, относящихся к устройству и перечисляющих несколько средств, некоторые из этих средств могут быть реализованы одним и тем же элементом аппаратных средств. Простой факт, что определенные меры изложены во взаимно различных зависимых пунктах формулы изобретения, не означает, что комбинация этих мер не может быть выгодно использована.
Формула изобретения
1. Устройство для внедрения водяного знака в поток цифровых данных, содержащее транскодер для преобразования входного потока цифровых данных, содержащего информацию в первом формате, во второй формат, при этом транскодер содержит первую часть, содержащую декодирующее средство для по меньшей мере частичного декодирования входного потока цифровых данных в первом формате, и вторую часть, содержащую кодирующее средство для преобразования во второй формат, и модуль внедрения водяного знака для внедрения водяного знака в выходной поток данных, причем устройство отличается тем, что модуль внедрения водяного знака выполнен с возможностью приема первых данных от первой части транскодера и подачи выходного потока данных с водяным знаком на вторую часть транскодера.
2. Устройство по п.1, в котором транскодер содержит каскадно-включенные декодер и кодер.
3. Устройство по п.1, в котором транскодер содержит транскодер скорости передачи битов с компенсацией движения.
4. Устройство по п.1, в котором транскодер содержит транскодер скорости передачи битов с переквантованием коэффициентов дискретного косинусного преобразования.
5. Устройство по п.1, в котором транскодер содержит транскодер скорости передачи битов с демпфированием коэффициентов дискретного косинусного преобразования.
6. Устройство по п.1, в котором вторым форматом является формат, совместимый с носителем данных, на котором должна храниться информация.
7. Устройство по п.1, в котором первый и второй форматы идентичны, кроме того, что они имеют различные характеристики сжатия.
8. Устройство по п.1, в котором параметры кодирования из входного потока данных используются для адаптации водяного знака к контенту, в который он должен быть внедрен.
9. Устройство цифровой записи, содержащее устройство по п.1 и средство для записи выходного потока данных на носитель данных,
РИСУНКИ
|
|