|
|
(21), (22) Заявка: 2005121437/09, 07.07.2005
(24) Дата начала отсчета срока действия патента:
07.07.2005
(30) Конвенционный приоритет:
26.10.2004 KR 10-2004-0085808
(46) Опубликовано: 10.12.2006
(56) Список документов, цитированных в отчете о поиске:
RU 2098531 C1, 10.12.1997. RU 20517 U1, 10.11.2001. RU 22843 U1, 27.04.2002. SU 1452871 A1, 23.01.1989. SU 1083282 A1, 30.03.1984. SU 1594642 A1, 23.09.1990. SU 1700673 A1, 23.12.1991. GB 1193094 A, 28.05.1970. US 3939673 A, 24.02.1976. US 5283708 A, 01.02.1994. DE 3436786 A1, 17.04.1986.
Адрес для переписки:
129010, Москва, ул. Б.Спасская, 25, стр.3, ООО “Юридическая фирма Городисский и Партнеры”, пат.пов. Г.Б. Егоровой, рег.№ 513
|
(72) Автор(ы):
СА Ми Хиун (KR), ЛИМ Сеунг Моо (KR)
(73) Патентообладатель(и):
САМСУНГ ЭЛЕКТРОНИКС КО., ЛТД. (KR)
|
(54) УСТРОЙСТВО И СПОСОБ УПРАВЛЕНИЯ ДВИГАТЕЛЕМ В СТИРАЛЬНОЙ МАШИНЕ
(57) Реферат:
Изобретение относится к области электротехники и может быть использовано для управления двигателем стиральной машины. Техническим результатом является предотвращение повышения температуры двигателя и преобразователя постоянного тока в переменный до аварийного уровня. В устройстве и способе управления двигателем в стиральной машине датчик скорости предназначен для измерения скорости двигателя, контроллер выполняет сравнение измеренного значения скорости с заданным значением скорости для оценки мощности, приложенной к двигателю. В соответствии с результатом сравнения регулируют частоту включения двигателя, управление двигателем осуществляют в соответствии с отрегулированной частотой включения. Оценку мощности двигателя выполняют на основе скорости двигателя. Частоту включения уменьшают, если оценка мощности двигателя будет слишком высока. 2 н. и 8 з.п. ф-лы, 3 ил.
Устройства и способы, соответствующие настоящему изобретению, относятся к управлению двигателем стиральной машины, и более конкретно, к управлению двигателем стиральной машины, в которой частоту включения двигателя регулируют в соответствии с мощностью, подаваемой к двигателю, оценку которой выполняют на основе скорости двигателя.
В стиральных машинах обычно используют двигатель для стирки, предназначенный для вращения барабана, или пульсатор.
Обычно в качестве двигателя для стирки используют высокоэффективный, обладающий хорошими рабочими характеристиками бесщеточный двигатель постоянного тока (БЩПТ).
Стиральная машина обычно включает преобразователь постоянного тока в переменный, предназначенный для управления двигателем для стирки. Однако в случае перегрузки двигателя для стирки двигатель и преобразователь постоянного тока в переменный могут перегреваться до аварийной температуры.
Для предотвращения перегрева двигателя для стирки и преобразователя постоянного тока в переменный в обычных блоках управления двигателем используется способ, в котором на двигатель для стирки устанавливают датчик температуры для определения температуры двигателя и, если будет определен высокий уровень температуры двигателя, изменяют текущий режим стирки на другой и двигателем управляют в соответствии с измененным режимом стирки. Однако этот способ связан с повышением затрат при производстве из-за необходимости использования датчика температуры. Для исключения перегрева можно использовать другой способ, в котором двигатель для стирки останавливают, если температура двигателя, определяемая датчиком температуры, становится высокой, и работу двигателя для стирки возобновляют, когда определяемая температура понижается до безопасного уровня. Однако этот способ связан с излишним увеличением времени, требуемым для завершения стирки, поскольку двигатель останавливают для снижения температуры двигателя.
Целью изобретения является создание устройства и способа управления двигателем стиральной машины, в которых частоту включения двигателя регулируют в соответствии с мощностью, подаваемой на двигатель, оценку которой производят на основе скорости двигателя, предотвращая, таким образом, повышение как температуры двигателя, так и температуры преобразователя постоянного тока в переменный до аварийного уровня.
Для достижения этой цели согласно изобретению предложено устройство управления двигателем стиральной машины, причем это устройство содержит: датчик скорости, предназначенный для измерения скорости двигателя, и контроллер, предназначенный для сравнения измеренной скорости с целевой скоростью, для оценки мощности, подаваемой на двигатель, регулировки частоты включения двигателя, в соответствии с результатом сравнения, и управления двигателем в соответствии с отрегулированной частотой включения двигателя.
Контроллер выполняет усреднение разности между значениями скорости, измеренными с помощью датчика скорости, и целевым значением скорости и сравнивает среднее значение разности с опорным значением для регулировки частоты включения двигателя.
Устройство дополнительно содержит входной блок, предназначенный для установки рабочего цикла стиральной машины, и блок памяти, предназначенный для сохранения установленного значения частоты включения двигателя, соответствующего установленному рабочему циклу, в котором контроллер использует установленное значение частоты включения, когда двигатель включается в работу, и регулирует частоту включения двигателя так, чтобы она была ниже, чем установленная частота включения, если среднее значение разности между измеренным значением скорости и целевым значением скорости в течение времени в соответствии с установленной частотой включения будет меньше, чем опорное значение.
Контроллер сохраняет значение разности между измеренным значением скорости и целевым значением скорости в течение времени включения, соответствующего частоте включения двигателя, в течение периода работы двигателя и усредняет сохраненные значения разности.
Если контроллер в течение этого периода работы определяет, что необходимо отрегулировать частоту включения двигателя, контроллер использует отрегулированную частоту включения в следующем периоде.
Для достижения цели также согласно изобретению предложен способ управления двигателем стиральной машины, содержащий установку частоты включения двигателя в соответствии с рабочим циклом стиральной машины; измерение скорости двигателя в течение времени включения в соответствии с установленным значением частоты включения; сравнение измеренной скорости с целевым значением скорости для оценки мощности, подаваемой в двигатель; регулирование частоты включения двигателя в соответствии с результатом сравнения и управление двигателем в соответствии с отрегулированной частотой включения двигателя.
Сравнение измеренной скорости с целевым значением скорости содержит усреднение разности между значениями скорости, измеренными датчиком скорости, и целевым значением скорости в течение времени включения в соответствии с частотой включения двигателя; сравнение усредненного значения разности с опорным значением; и регулирование частоты включения, установленной для рабочего цикла стиральной машины, путем уменьшения частоты включения, если среднее значение разности будет больше, чем опорное значение.
Контроллер регулирует частоту включения двигателя на основе установленной частоты включения, усредненного значения разности и опорного значения.
Рабочий цикл представляет собой цикл стирки или цикл полоскания, в ходе выполнения которого двигатель поочередно включается и останавливается.
Частоту включения двигателя периодически проверяют, и, если определяется, что необходимо отрегулировать частоту включения двигателя в соответствии с разностью между измеренной и целевой скоростями в течение периода времени, для следующего периода используют отрегулированную частоту включения двигателя.
Приведенные выше и/или другие цели и преимущества изобретения будут очевидны и более понятны из следующего описания примеров вариантов выполнения, которые следует рассматривать совместно с прилагаемыми чертежами, на которых:
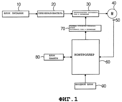
фиг.1 – блок-схема устройства, предназначенного для управления двигателем стиральной машины, в соответствии с примером варианта выполнения настоящего изобретения;
фиг.2 – схема, иллюстрирующая управление частотой включения двигателя в соответствии с примером варианта выполнения настоящего изобретения; и
фиг.3 – схема последовательности выполнения операций способа управления двигателем в стиральной машине в соответствии с примером варианта выполнения настоящего изобретения.
Рассмотрим подробно примеры вариантов выполнения настоящего изобретения, которые представлены на прилагаемых чертежах, на которых одинаковыми ссылочными позициями обозначены одинаковые элементы. Примеры вариантов выполнения описаны ниже со ссылкой на чертежи для пояснения настоящего изобретения.
Настоящее изобретение будет описано со ссылкой на устройство, предназначенное для управления двигателем стиральной машины, которое направлено на двигатель для стирки, управляемый с использованием преобразователя постоянного тока в переменный. Однако настоящее изобретение не ограничено двигателем для стирки. Например, настоящее изобретение также может быть направлено на двигатель, который генерирует движущую силу для привода пульсатора или вращения барабана для стирки.
Если в двигателе для стирки происходит перегрузка, температура повышается до аварийного уровня не только двигателя для стирки, но также и преобразователя постоянного тока в переменный, включая переключающий элемент привода двигателя для стирки.
Повышение температуры двигателя стирки связано как с частотой включения двигателя для стирки, так и с мощностью, приложенной к двигателю. Мощность двигателя функционально связана с разностью между скоростью двигателя и целевым значением его скорости.
Принимая во внимание эти факты, в настоящем изобретении мощность, приложенную к двигателю, оценивают на основе скорости двигателя и частоте включения двигателя, установленных в соответствии с рабочим циклом, и регулируют так, чтобы мощность двигателя находилась в пределах соответствующего диапазона, что, таким образом, предотвращает перегрузку двигателя и в связи с этим исключает чрезмерное повышение температуры как двигателя, так и преобразователя постоянного тока в переменный.
Как показано на фиг.1, устройство для управления двигателем стиральной машины, в соответствии с настоящим изобретением, включает преобразователь 30 постоянного тока в переменный для подачи мощности привода в двигатель 40. Преобразователь 30 постоянного тока в переменный соединен с блоком 10 питания через преобразователь 20 и подключен к контроллеру 60 через задающее устройство 70 преобразователя постоянного тока в переменный. Преобразователь 20 преобразует энергию переменного тока, поступающую из блока 10 питания, в постоянный ток, и подает энергию постоянного тока в преобразователь 30 постоянного тока в переменный. Преобразователь 30 постоянного тока в переменный, который включает переключающий элемент, преобразует энергию постоянного тока, получаемую из преобразователя 20, в энергию переменного тока и передает энергию переменного тока в двигатель 40, в результате чего двигатель 40 вращается с требуемой скоростью.
Датчик 50 скорости установлен для определения скорости двигателя 40 во время его работы и формирует сигнал скорости двигателя, который передает определяемую скорость двигателя в контроллер 60. Датчик 50 скорости выполнен с использованием датчика Холла.
Контроллер 60 определяет скорость двигателя 40 на основе сигнала скорости двигателя, принимаемого от датчика 50 скорости, и передает на выход сигнал управления двигателем в задающее устройство 70 преобразователя постоянного тока в переменный, в результате чего скорость двигателя достигает целевого значения скорости. Задающее устройство 70 преобразователя постоянного тока в переменный подает на выход сигнал управления преобразователем 30 постоянного тока в переменный, для управления элементом переключателя преобразователя 30 постоянного тока в переменный, на основе сигнала управления двигателем, поступающего из контроллера 60.
Пользователь использует входной блок 90 для установки требуемого рабочего цикла стиральной машины.
В ответ на установку рабочего цикла стиральная машина через входной блок 90 и контроллер 60 принимает из блока 80 памяти информацию об установленной частоте включения, соответствующей установленному рабочему циклу, и выполняет управление двигателем 40 в соответствии с установленной частотой включения. Установленную частоту включения двигателя 40 в рабочем цикле, таком, как цикл стирки или цикл полоскания, определяют на основе соотношения между временем включения и временами выключения, которые используются в рабочем цикле. Требуемое значение из установленных значений частоты включения выбирают в соответствии с рабочим циклом, заданным пользователем.
Блок 80 памяти содержит информацию управления двигателем, такую, как установленные значения частоты включения, соответствующие требуемым рабочим циклам стиральной машины.
Перегрузка может произойти в двигателе 40 из-за нагрузки при стирке и свойств поглощения стираемого белья. Если не учитывать перегрузку двигателя, в катушках двигателя образуется тепло, повышающее температуру двигателя 40 и приводящее к перегреву элемента переключателя в преобразователе 30 постоянного тока в переменный. Если датчик температуры установлен для непосредственного определения температуры каждого из преобразователя 30 постоянного тока в переменный и двигателя 40, повышаются экономические затраты. Поэтому в примере варианта выполнения настоящего изобретения датчик температуры можно исключить, и вместо этого контроллер 60 рассчитывает мощность, прикладываемую к двигателю 40, которая функционально связана с температурой двигателя и температурой преобразователя постоянного тока в переменный, и регулирует частоту включения двигателя 40, в соответствии с расчетной мощностью двигателя, для предотвращения перегрева двигателя 40 и преобразователя 30 постоянного тока в переменный.
Как показано на фиг.2, двигатель 40 работает в соответствии с частотой включения, установленной для рабочего цикла, заданного пользователем. В частности, двигатель 40 поочередно включается и останавливается с временем (ta1) включения двигателя и временем (tb1) отключения двигателя в соответствии с установленной частотой включения. Если ожидается перегрев двигателя 40 и преобразователя 30 постоянного тока в переменный, поскольку была получена высокая оценка мощности двигателя в течение определенного периода (Pn) работы двигателя 40, рассчитывают отрегулированную частоту включения путем снижения установленной частоты включения и, начиная со следующего периода (Pn+1), двигателем 40 управляют в соответствии с отрегулированной частотой включения, при которой используют уменьшенное время (tan+1) включения. Эту процедуру, при которой рассчитывается мощность двигателя и регулируется частота включения двигателя в соответствии с расчетной мощностью двигателя, продолжают также при последующей работе двигателя 40.
Ниже, со ссылкой на фиг.3, приведено подробное описание выполняемого контроллером 60 процесса расчета мощности, прикладываемой к двигателю 40, на основе скорости двигателя 40 и регулирования частоты включения двигателя 40 на основе оценки мощности двигателя.
Вначале пользователь устанавливает требуемый рабочий цикл с использованием входного блока 90 (101). Контроллер 60 принимает информацию о частоте включения, соответствующей установленному рабочему циклу, из блока 80 памяти и управляет задающим устройством 70 преобразователя постоянного тока в переменный для управления двигателем 40 в соответствии с установленной частотой включения (103). В установленном рабочем цикле, таком, как цикл стирки или цикл полоскания, двигатель 40 поочередно вращается в течение времени включения и останавливается в течение времени выключения в соответствии с установленной частотой включения.
Во время работы двигателя контроллер 60 определяет, включен ли двигатель (105), и рассчитывает скорость двигателя 40 в соответствии с сигналом скорости двигателя, поступающим от датчика 50 скорости, если двигатель включен (107). Контроллер 60 рассчитывает разницу (ниже также называется “загрузкой”) между расчетной скоростью двигателя и целевым значением скорости, установленным в соответствии с установленным рабочим циклом (109), и сохраняет расчетную загрузку в блоке 80 памяти (111). Контроллер 60 определяет, настало ли время окончания состояния включения двигателя 40 (113), и переходит к операции 105, если время окончания состояния включения двигателя 40 не настало.
Если во время операции 113 будет определено, что время окончания состояния включения двигателя 40 настало, контроллер 60 отключает двигатель 40 (115) и рассчитывает среднее значение загрузки путем усреднения значений загрузки, сохраненных в блоке 80 памяти, в течение времени включения двигателя (117). Контроллер 60 определяет, не превышает ли усредненное значение загрузки установленное опорное значение загрузки (119), и рассчитывает отрегулированную частоту включения для предотвращения перегрева преобразователя 30 постоянного тока в переменный и двигателя 40, если будет определено, что усредненное значение загрузки выше, чем установленное опорное значение загрузки (121). Отрегулированную частоту включения рассчитывают на основе отношения усредненного значения загрузки к опорному значению загрузки, как выражено в следующих уравнениях.
Отрегулированное значение частоты включения = (установленная частота включения) × (опорное значение загрузки/усредненное значение загрузки)
Установленная частота включения = (установленное время включения) × 100/(установленное время включения + установленное время отключения).
Контроллер 60 рассчитывает отрегулированное время включения и отрегулированное время выключения в соответствии с отрегулированной частотой включения, которая выражена в следующих уравнениях (123).
Отрегулированное время включения = отрегулированная частота включения × (установленное время включения + установленное время отключения)/100
Отрегулированное время выключения = отрегулированное время включения × (100 – отрегулированная частота включения)/ отрегулированная частота включения
Затем контроллер 60 определяет, не следует ли закончить цикл стирки или полоскания (125), и переходит к операции 105, если будет определено, что цикл стирки или полоскания следует продолжить. Если во время выполнения операции 105 будет определено, что двигатель 40 отключен, контроллер 60 определяет, настало ли время для отключения состояния “выключено” двигателя 40 (127). Если время для окончания состояния отключения двигателя 40 не настало, контроллер 60 возвращается к операции 105 для продолжения состояния “выключено” двигателя 40.
Если во время операции 127 будет определено, что настало время для окончания состояния “выключено” двигателя 40, двигатель 40 включают в следующем периоде. Частоту включения двигателя, рассчитанную во время операции 123 в соответствии с отрегулированным временем включения двигателя и временем отключения двигателя, используют в течение следующего периода. Контроллер 60 затем возвращается к операции 105 для повторения описанной выше процедуры (то есть для расчета усредненной загрузки двигателя в соответствии с отрегулированной частотой включения двигателя и выполнения сравнения усредненного значения загрузки с опорным значением загрузки).
Если во время операции 125 будет определено, что цикл стирки или полоскания должен быть закончен, контроллер 60 прекращает подачу энергии в двигатель 40 для остановки двигателя 40.
Из приведенного выше описания очевидно, что настоящее изобретение обеспечивает устройство и способ управления двигателем стиральной машины, которые имеют следующие преимущества. Мощность, прикладываемую к двигателю, оценивают на основе скорости двигателя и частоту включения двигателя регулируют с понижением, если будет получено высокое значение оценки мощности двигателя, что предотвращает перегрев двигателя и преобразователя постоянного тока в переменный, который может возникнуть во время циклов стирки или полоскания. Кроме того, устройство управления двигателем, в соответствии с настоящим изобретением, может быть выполнено без использования датчика температуры, как в обычных блоках управления двигателем, что снижает затраты. Кроме того, двигатель не останавливается в результате увеличения температуры двигателя, что предотвращает излишнее увеличение времени, требуемого для завершения стирки.
Хотя были представлены и описаны примеры вариантов выполнения настоящего изобретения, для специалистов в данной области техники будет понятно, что изменения могут быть выполнены в этих примерах вариантов выполнения без отхода от принципов и сущности изобретения, объем которой определен в формуле изобретения и ее эквивалентах.
Формула изобретения
1. Устройство управления двигателем стиральной машины, содержащее датчик скорости, предназначенный для измерения скорости двигателя; и контроллер, который определяет расчетную мощность, подаваемую на двигатель, путем сравнения измеренного значения скорости двигателя и заданного значения скорости двигателя, определяет отрегулированную частоту включения двигателя путем регулирования частоты включения двигателя в соответствии с расчетной мощностью двигателя и выполняет управление двигателем в соответствии с отрегулированной частотой включения.
2. Устройство по п.1, в котором контроллер выполняет оценку мощности двигателя путем усреднения разности между измеренным значением скорости двигателя и заданным значением скорости и определяет отрегулированную частоту включения путем сравнения усредненной разности между измеренной скоростью и заданной скоростью с опорным значением.
3. Устройство по п.2, дополнительно содержащее входной блок, который устанавливает рабочий цикл стиральной машины; и блок памяти, в котором сохраняются значения частоты включения, соответствующие рабочему циклу, в котором контроллер сначала выполняет управление двигателем в соответствии с установленной частотой включения при включении двигателя и затем управляет двигателем в соответствии с отрегулированной частотой включения и генерирует отрегулированное значение частоты включения путем установки более низкой частоты включения двигателя, чем установленная частота вращения двигателя, если среднее значение разности между измеренной скоростью и заданным значением скорости в течение времени включения, соответствующего частоте включения, ниже опорного значения.
4. Устройство по п.2, в котором контроллер сохраняет значение разности между измеренным значением скорости и заданным значением скорости в течение времени включения, соответствующего частоте включения двигателя, в каждом периоде работы двигателя и усредняет сохраненные значения разности.
5. Устройство по п.4, в котором, если контроллер в течение периода работы определяет, что необходимо отрегулировать частоту включения двигателя, контроллер использует отрегулированную частоту включения в следующем периоде.
6. Способ управления двигателем стиральной машины, при котором устанавливают частоту включения двигателя в соответствии с рабочим циклом стиральной машины; измеряют скорость двигателя в течение времени включения в соответствии с частотой включения; определяют расчетную мощность, приложенную к двигателю, путем сравнения измеренной скорости с заданным значением скорости двигателя; регулируют частоту включения двигателя в соответствии с расчетной мощностью двигателя и управляют двигателем в соответствии с отрегулированной частотой включения двигателя.
7. Способ по п.6, при котором при сравнении измеренной скорости с заданной скоростью усредняют разность между измеренным значением скорости и заданным значением скорости в течение времени включения в соответствии с частотой включения двигателя и сравнивают усредненное значение разности между измеренной скоростью с опорным значением; и при регулировании частоты включения осуществляют регулирование частоты включения, установленной для рабочего цикла стиральной машины, путем уменьшения частоты включения, если среднее значение разности будет больше, чем опорное значение.
8. Способ по п.7, при котором отрегулированную частоту включения определяют на основе частоты включения, установленной для рабочего цикла, усредненного значения разности и опорного значения.
9. Способ по п.8, при котором рабочий цикл представляет собой цикл стирки или цикл полоскания, в котором двигатель поочередно включается и останавливается.
10. Способ по п.6, при котором частоту включения двигателя периодически проверяют, и если определяется, что необходимо регулировать частоту включения двигателя в соответствии с разностью между измеренной скоростью и заданным значением скорости в течение периода работы, отрегулированное значение частоты используют для следующего периода.
РИСУНКИ
|
|