|
|
(21), (22) Заявка: 2004118065/09, 30.10.2002
(24) Дата начала отсчета срока действия патента:
30.10.2002
(30) Конвенционный приоритет:
16.11.2001 FR 01 14879
(43) Дата публикации заявки: 10.11.2005
(46) Опубликовано: 10.12.2006
(56) Список документов, цитированных в отчете о поиске:
WO 01/27958 A1, 19.04.2001. SU 1836742 A3, 27.10.1998. US 5774319 A, 30.06.1998. FR 2759489 A, 14.08.1998.
(85) Дата перевода заявки PCT на национальную фазу:
16.06.2004
(86) Заявка PCT:
FR 02/03729 (30.10.2002)
(87) Публикация PCT:
WO 03/043156 (22.05.2003)
Адрес для переписки:
129010, Москва, ул. Б. Спасская, 25, стр.3, ООО “Юридическая фирма Городисский и Партнеры”, пат.пов. Ю.Д.Кузнецову, рег.№ 595
|
(72) Автор(ы):
КЮНИ Жан-Кристоф (FR), ГИБЕР Филипп (FR), БОРАН Жилль (FR)
(73) Патентообладатель(и):
ШНЕЙДЕР ЭЛЕКТРИК ЭНДЮСТРИ САС (FR)
|
(54) МОДУЛЬ УПРАВЛЕНИЯ И ЗАЩИТЫ ПРЕРЫВАТЕЛЯ
(57) Реферат:
Изобретение относится к области электротехники и касается модуля управления и защиты для многополюсного прерывателя низкого напряжения, который содержит основание, управляющий электромагнит и выключатель, воздействующий на подвижные контакты для подключения и отключения полюсов. Съемный модуль управления и защиты содержит электронную карту, содержащую блок обработки, устройство управления и устройство защиты, предназначенные для активизации электромагнита и выключателя в ответ на управляющий сигнал и на сигнал размыкания из блока обработки. Блок обработки может удалить управляющий сигнал электромагнита в случае нарушения функционирования устройства защиты. Установка следящей системы между устройством управления электромагнитом и устройством управления выключателем и использование централизованных электронных средств обработки обеспечивает повышение надежности функционирования электрического многополюсного прерывателя. 2 н. и 11 з.п. ф-лы, 3 ил.
Область техники
Настоящее изобретение касается модуля управления и защиты электрического прерывателя низкого напряжения, такого как замыкатель-разъединитель. Указанный модуль управления и защиты обеспечивает управление электромагнитом и выключателем, предназначен для отключения или включения полюсов электрического прерывателя. Изобретение касается также электрического прерывателя, подключаемого к указанному модулю управления и защиты.
Предшествующий уровень техники
Замыкатель-разъединитель является многополюсным электрическим устройством, которое используется для управления и защиты электрической нагрузки, такой как привод. С одной стороны, устройство позволяет с помощью управляющего электромагнита, относящегося к «замыкателю», произвольно управлять подачей питания к проводникам, соединенным с нагрузкой, и ее прерыванием. С другой стороны, устройство позволяет с помощью механизма электромагнитного размыкания, называемого далее «выключатель» и относящегося к части прерывателя, автоматически управлять отключением проводников при тепловой перегрузке или коротком замыкании, по меньшей мере, в одном из проводников.
В таком устройстве полюса снабжены неподвижными и подвижными контактами, находящимися внутри камер отключения. Электромагнит воздействует на многополюсное устройство, т.е. на подвижные контакты, чтобы отключить или подключить полюса в ответ на команду от управляющего устройства. Выключатель также воздействует на многополюсное устройство путем воздействия на подвижные контакты, для отключения полюсов в ответ на сигнал обнаружения нарушения электрического свойства от устройства защиты. Выключатель может быть оборудован устройством ручного управления, которое само может воздействовать на многополюсное устройство для отключения подвижных контактов.
В документе ЕР 366519 раскрыт замыкатель-разъединитель указанного выше типа. Защитное устройство является механическим, что требует наличия большого числа устройств для охвата необходимого диапазона напряжения и токов. В документе FR 2759489 электромагнит замыкателя-разъединителя осуществляет переключение в режиме включения и отключения. Гибридные характеристики электромагнита и необходимая скорость управления в режиме разъединения создают проблемы.
В документе WO 01/27958 раскрыт замыкатель-разъединитель, в котором проводники мощности, неподвижные и подвижные контакты, управляющий электромагнит и выключатель, размещены в основании устройства. Основание связано проводами с электронным устройством управления и защиты, которое выполнено в форме заменяемого съемного модуля по отношению к основанию. Указанное устройство позволяет использовать для одного и того же основания защитные модули разных калибров и сократить количество комбинаций, необходимых для охвата всего диапазона. Кроме того, указанное устройство позволяет осуществить идентификацию замыкателя-разъединителя пользователем сразу после подключения питания.
Однако необходимо гарантировать безопасность функционирования различных устройств, обеспечивающих управление и защиту прерывателя указанного типа.
Краткое изложение сущности изобретения
Задачей настоящего изобретения является создание модуля управления и защиты прерывателя для повышения надежности функционирования замыкателя-разъединителя путем установки следящей системы между устройством управления электромагнитом и устройством управления выключателем для повышения надежности благодаря использованию централизованных электронных средств обработки, предназначенных одновременно для регулировки и контроля работы электромагнита и отключающего устройства.
Поставленная задача согласно изобретению решена путем создания модуля управления и защиты для многополюсного прерывателя низкого напряжения, предназначенного для управления электрической нагрузкой и ее защиты. Прерыватель содержит основание со встроенными токопроводящими линиями, снабженное неподвижными и подвижными контактами, управляющий электромагнит и выключатель для воздействия на подвижные контакты для отключения или подключения полюсов. Модуль управления и защиты содержит съемный корпус, закрепленный на основании, и датчики тока, измеряющие силу тока, проходящего по токопроводящим линиям, а также электронную карту, содержащую блок обработки, и электронное устройство управления, а также электронное устройство защиты, предназначенное для приведения в действие через управляющий ограничитель соответственно управляющего электромагнита, и выключатель в ответ на сигнал управления и сигнал размыкания соответственно, которые передаются блоком обработки. Модуль характеризуется тем, что блок обработки предназначен для отмены сигнала управления электромагнита в случае нарушения функционирования устройства защиты.
Электронное защитное устройство содержит средство аккумулирования энергии, позволяющее накапливать электроэнергию, по меньшей мере, равную уровню, достаточному для активизирования выключателя. Согласно одному варианту выполнения блок обработки отменяет управляющий сигнал электромагнита, когда электроэнергия, накопленная средствами аккумулирования, ниже указанного уровня. Блок обработки отменяет управляющий сигнал электромагнита также, когда обнаружено нарушение соединения между электронным устройством защиты и выключателем.
Кроме того, задачей изобретения является оптимизация конструкции замыкателя-разъединителя для упрощения установки защитного модуля, упрощения его регулировки пользователем, уменьшения числа компонентов, используемых для его изготовления, и повышение надежности соединений между основанием и модулем защиты.
Согласно другому варианту выполнения электронная карта установлена таким образом, чтобы непосредственно принимать сигналы от управляющего ограничителя, а средства для работы оператора в режиме диалога расположены на передней грани корпуса. Указанные средства для работы оператора в режиме диалога содержат устройство для выбора одного параметра регулировки, а блок обработки содержит средство расчета для определения на основе указанного параметра регулировки пороговой величины размыкания при нарушении теплового режима и пороговой величины размыкания при магнитных нарушениях.
Изобретение касается также многополюсного электрического устройства отключения, предназначенного для управления и защиты электрической нагрузки, содержащего основание, в которое встроены токопроводящие линии, снабженные неподвижными и подвижными контактами, управляющий электромагнит и выключатель, предназначенные для воздействия на указанные подвижные контакты. Электрическое устройство характеризуется тем, что основание подключено к модулю защиты и управления и может быть съемным.
Краткое описание чертежей
Характеристики и преимущества настоящего изобретения раскрыты в подробном описании предпочтительных вариантов воплощения со ссылками на сопровождающие чертежи, на которых:
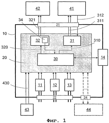
фиг.1 изображает функциональную блок-схему модуля управления и защиты согласно изобретению;
фиг.2 – упрощенную схему модуля управления и защиты, установленного на основании прерывателя согласно изобретению;
фиг.3 – упрощенную схему модуля управления и защиты с кнопкой ручного управления согласно изобретению;
Описание предпочтительных вариантов осуществления изобретения
Многополюсный прерыватель (фиг.1) типа «замыкатель-разъединитель», инверторный замыкатель-разъединитель или пусковое устройство содержит основание 50, к которому присоединен с помощью электричества съемный, заменяемый модуль 10 управления и защиты. Задняя часть основания 50 представляет собой классические средства 57 крепления к подложке, такие как стандартная направляющая (шина) или несущая пластинка, на которой расположены полюса, имеющие верхний и нижний неподвижные контакты, расположенные между подвижными контактами 52. Верхние неподвижные контакты соединены с верхними токопроводящими линиями 53 (линии питания), которые обеспечивают непрерывность прохождения электрического тока от электросети к полюсам прерывателя. Нижние неподвижные контакты соединены с нижними токопроводящими линиями 54 (линии нагрузки), которые обеспечивают непрерывность прохождения электрического тока от полюсов прерывателя к электрической нагрузке, обычно управляемому электроприводу, которому требуется защита с помощью прерывателя. Как показано на фиг.2, неподвижные и подвижные контакты расположены со стороны задней части устройства. Ограничитель 22 мощности установлен на верхних токопроводящих линиях 54. Указанный ограничитель 22 мощности позволяет подключать датчики 11, 12, 13 электрического тока, модуля 10 управления и защиты, предназначенные для измерения тока, проходящего через различные полюса.
Подвижные контакты 52 находятся в отключенном положении, когда они отключены от неподвижных контактов, что приводит к отключению полюсов. Они находятся в подключенном положении, когда подключены к неподвижным контактам, что приводит к включению полюсов, а значит, прохождению тока к электрической нагрузке при непрерывности тока в ограничителе 22 мощности. На фиг.2 показаны подвижные контакты 52 в отключенном положении.
Для каждого полюса подвижные контакты 52 расположены на подвижном мостике, который способствует отключению путем перемещения кнопочного выключателя 58, а включение осуществляется с помощью пружины 59, когда кнопочный выключатель 58 отпущен, таким образом выполняется действие, обычно называемое «выключение полюса». Различные элементы механически воздействуют друг на друга для перемещения кнопочного выключателя 58 для отключения и включения подвижных контактов 52 посредством известных механических связей (не показаны). Эти различные элементы, принадлежащие основанию 50, представляют собой управляемый электромагнит 41, электромагнитный выключатель 42 и кнопку 51 ручного управления. Известным образом электромагнитный выключатель 42 и кнопка 51 ручного управления воздействуют на подвижные контакты.
Управляющий электромагнит 41 представляет собой схему с одним устойчивым положением и содержит катушку, на которую подают постоянный ток. Электромагнит управляет включением подвижных контактов 52, когда ток проходит по катушке, и отключением подвижных контактов 52 при отсутствии тока. Электромагнитный выключатель 42 представляет собой схему с двумя устойчивыми положениями быстрого действия, при прохождении по катушке тока осуществляется отключение подвижных контактов 52, независимо от состояния электромагнита 41.
Кнопка 51 ручного управления расположена на передней грани основания 50 так, чтобы она была легко доступна для оператора, когда прерыватель находится в рабочем состоянии. Кнопка 51 может иметь положение Пуск (ON) и положение Стоп (OFF). Положение Стоп инициирует отключение контактов 52, при этом устройство переходит в положение Отключено. Переход от положения Стоп к положению Пуск ведет к повторному присоединению выключателя 42 и включению подвижных контактов 52 при условии поступления соответствующей команды от электромагнита 41. Кнопка 51 может также принимать третье положение: Отключение (TRIP), которое достигается в результате срабатывания выключателя 42, при нарушении теплового режима или магнитного нарушения.
Модуль 10 управления и защиты можно заменять и удалять с основания 50. Модуль содержит корпус, предпочтительно имеющий форму параллелепипеда с вертикально расположенной секцией в форме буквы L. В корпусе размещены датчики 11, 12, 13 тока, предназначенные для измерения силы тока, проходящего по нижним токопроводящим линиям 54 и через электронную карту 20, а также средства 14 работы оператора в режиме диалога, расположенные на передней грани корпуса так, чтобы они были легко доступны для оператора.
Согласно изобретению электронная карта 20 модуля 10 управления и защиты содержит центральный блок 30 обработки, соединенный с электронным устройством 31 управления и электронным устройством 32 защиты. Электронное устройство 31 управления соединено с управляющим электромагнитом 41 посредством поляризованного бифилярного соединения 311, а электронное устройство 32 защиты соединено с выключателем 42 с помощью поляризованного бифилярного соединения 321. На электронную карту 20 поступает сигнал 430 о подаче электроэнергии, идущий от модуля 43 подачи энергии. Указанный сигнал 430 может быть ошибочно принят за команду Пуск/Стоп (А1, А2), предназначенную для управления электромагнитом 41. В другом варианте воплощения команду Пуск/Стоп на электромагнит подают отдельно в виде логического сигнала или через коммутационную сеть.
Электронное устройство 31 управления предназначено для активизации управляющего электромагнита 41 в ответ на управляющий сигнал 310 электромагнита из блока 30 обработки. Для этого после приема управляющего сигнала 310 устройство 31 управления устанавливает рабочий уровень напряжения в порядке получения команд Пуск/Стоп. Если этот уровень напряжения выше уровня так называемого «напряжения подъема», то устройство подает на электромагнит 41 энергию, необходимую для его подъема (энергия вызова) с помощью соединения 311, что приводит к включению подвижных контактов 52, затем оно подает на электромагнит энергию, необходимую для удержания (энергия удержания), которая обычно меньше энергии вызова. Когда прекращается подача управляющего сигнала 310, устройство 31 управления путем прекращения подачи энергии дает команду электромагниту 41 опуститься. С точки зрения безопасности описанная система имеет преимущество в том, что, поскольку электромагнит 41 является схемой с одним устойчивым положением, прекращение подачи энергии на модуль 10 управления и защиты автоматически приводит к опусканию электромагнита 41. Кроме того, как будет подробно описано ниже, управляющий сигнал 310 электромагнита 41 посылают только после того, как будет проверено, что энергия, необходимая для функционирования выключателя 42, была достаточной.
В соответствии с предпочтительным вариантом воплощения изобретения устройство 31 управления может получать от основания 50 сигнал 312 идентификации электромагнита 41. Указанный сигнал 312 идентификации позволяет электронному устройству 31 управления распознать тип электромагнита, находящегося в основании 50. В основание 50 могут быть встроены электромагниты двух типов в зависимости от калибра устройства отключения. Указанные два типа электромагнита действуют на базе катушки, имеющей питание постоянного тока, например, 24В, но с различным потреблением электроэнергии. Катушка электромагнита первого типа потребляет около 200 мА, тогда как второго типа – только 100 мА. Второй тип электромагнита наиболее хорошо адаптирован с точки зрения экономичности присоединения прерывателя напрямую без промежуточной трансляции к автоматизированному оборудованию, такому как программируемый автомат, компактные выходы которого, имеющие 24В постоянного тока, обычно не могут выдать более 100 мА.
Электронное устройство 31 управления адаптирует величину тока, проходящего по бифилярному соединению 311, к различным величинам, в зависимости от состояния сигнала 312 идентификации. Сигнал 312 идентификации проходит через один проводник, который либо подключен к выводу «плюс» бифилярного соединения 311 (для электромагнита второго типа с сокращенным потреблением электроэнергии), либо отключен от любого вывода (для электромагнита первого типа). Таким образом, для устройства 31 управления легко протестировать наличие напряжения для сигнала 312 идентификации, чтобы установить силу тока бифилярного соединения на нужном уровне.
Бифилярное соединение 321 для управления выключателем 42, бифилярное соединение 311 для управления электромагнитом 41 и сигнал 312 идентификации электромагнита 41 передаются между основанием 50 и электронной картой 20 модуля 10 с помощью единственного управляющего ограничителя 21, который содержит пять коннекторов, как описано в Примере (например, типа давящей пластинки).
Электронное устройство 32 предназначено для активизации выключателя 42 по сигналу 320 от блока 30 обработки. Сигнал 320 направляется в случае, когда блок 30 обработки обнаруживает наличие нарушений в работе одного или нескольких полюсов, особенно нарушений теплового режима, магнитных нарушений или короткого замыкания, на основании сигнала идентификации, получаемого от датчиков 11, 12, 13 тока. Чтобы обеспечить срабатывание выключателя 42, электронное устройство 32 защиты содержит средства 34 аккумулирования энергии, позволяющие накапливать энергию, по меньшей мере равную определенному уровню, достаточному для активизации выключателя 42. Указанные средства 34 аккумулирования представляют собой емкость, расположенную на электронной карте, которая заряжается, как только она оказывается под напряжением электронной карты 20. После приема сигнала 320, поступающего от блока 30 обработки, накопленную в указанной емкости электроэнергию направляют с помощью электронного устройства 32 защиты на бифилярное соединение 321, чтобы обеспечить мгновенную активизацию выключателя 42.
Таким образом, благодаря блоку 30 обработки, модуль 10 управления и защиты может одновременно активизировать два различных устройства, воздействующих на полюсы – выключатель 42 в случае обнаружения дефекта на выводах прерывателя (функция разъединителя) и управляющий электромагнит 41, чтобы отключить или включить выводы прерывателя по произвольной команде (функция включения). Согласно предпочтительному варианту воплощения, блок 30 обработки может быть встроен в элемент специализированной интегральной схемы (ASIC), установленный на электронной карте 20.
Однако, чтобы гарантировать оптимальную надежность функционирования, достаточно проверить тот факт, что прерыватель постоянно может активизировать выключатель 42. Поэтому в соответствии с изобретением блок 30 обработки выполняет функцию сравнения, т.е. постоянно следит за работой электронного устройства 32 защиты. Как только в электронном устройстве 32 защиты при помощи указанной функции сравнения обнаруживают нарушение функционирования, блок 30 обработки может исключить управляющий сигнал 310, чтобы выполнить отключение подвижных контактов 52 устройства отключения. Таким образом создают избыточность функции безопасности, которая заметна для потребителя, так как благодаря блоку 30 обработки модуль 10 управления и защиты прерывателя предохраняет полюса не только от нарушений теплового режима, магнитных нарушений и короткого замыкания при активизации выключателя 42, но может ограждать себя от нарушений при активизации указанного выключателя 42, так как он может отключить управляющий сигнал 310 с электромагнита 41.
Таким образом, с помощью модуля 10 управления и защиты распознают различные нарушения функционирования электронного устройства 32 защиты. Можно непрерывно контролировать тот факт, что уровень накопления энергии в средствах 34 аккумулирования является достаточным и что электронное соединение между устройством 32 защиты и выключателем 42 выполнено верно.
Для этого функция сравнения блока 30 обработки может обеспечить измерение электрической энергии, накопленной в средствах 34 аккумулирования энергии, чтобы постоянно проверять, что указанная электроэнергия по меньшей мере равна уровню, достаточному для активизации выключателя 42. Если электроэнергия, накопленная в средствах 34 аккумулирования, меньше указанного уровня, это означает, что прерыватель не может активизировать выключатель 42 в случае нарушений теплового режима и магнитных нарушений, что может привести к потенциально опасной ситуации, если подвижные контакты 52 будут включены.
Функция сравнения блока 30 обработки постоянно проверяет, что электрическое соединение между модулем 10 управления и защиты и выключателем 42 через управляющий ограничитель 21 выполнено верно. Для этого модуль 10 способен сформировать сигнал с малой амплитудой, проходящий через бифилярное соединение 321, используя небольшой генератор тока; указанный ток достаточен для тестирования включения в цепь бифилярного соединения 321, но не достаточен для активизации выключателя 42. Если бифилярное соединение 321 не обладает большой пропускной способностью (нарушение соединения между модулем 10 управления и защиты и выключателем 42), это означает, что прерыватель вероятнее всего не будет иметь средств для активизации выключателя 42 в случае нарушения теплового режима, магнитных нарушений или короткого замыкания, создавая потенциально опасную ситуацию, если подвижные контакты 52 включены.
В обоих случаях нарушений функционирования, упомянутых выше, благодаря изобретению, блок 30 обработки имеет возможность установить прерыватель в безопасное положение, исключив управляющий сигнал 310, чтобы электронное управляющее устройство 31 прекратило подачу электроэнергии на электромагнит 41 с помощью отключения подвижных контактов 52.
Блок 30 обработки не выполняет никакого управления электромагнитом 41 с помощью управляющего сигнала 310, без предварительной проверки того, что
– энергия, накопленная в средствах 34 аккумулирования, выше или равна уровню, достаточному для активизации выключателя 42,
– соединение между модулем 10 управления и защиты и выключателем 42 является эффективным.
Таким образом, модуль 10 управления и защиты обеспечивает безопасность прерывателя, так как он существенно уменьшает вероятность возникновения аварийной ситуации и обеспечивает подачу электроэнергии на полюсы, при этом обеспечивает защитные функции в случае нарушения теплового режима, магнитного режима или короткого замыкания.
Кроме того, благодаря наличию централизованного блока 30 обработки, модуль 10 управления и защиты может, в зависимости от выбранного режима функционирования, разными способами управлять нарушением теплового режима в одной или нескольких токопроводящих линиях. Например, когда нарушение теплового режима возникает при работе в автоматическом режиме, блок 30 обработки отменяет с электромагнита только управляющий сигнал 310, не формируя при этом сигнала 320 размыкания на выключатель. Через определенное время бездействия, и если режим работы нормальный, блок 30 обработки вновь осуществляет автоматический режим подачи управляющего сигнала 310 электромагнита. Такой режим работы выгоден для управления приводами, расположенными на расстоянии или труднодоступными, так как он исключает локальное вмешательство оператора для повторного включения прерывателя вручную, как только возникнет простое нарушение теплового режима. Если нарушение теплового режима возникает повторно, блок 30 обработки активизирует выключатель 42.
Изобретение обеспечивает простоту изготовления и воплощения модуля 10 управления и защиты.
Согласно изобретению, электронную карту 20 устанавливают в корпус модуля 10 управления и защиты так, чтобы напрямую принимать сигналы от датчиков 11, 12, 13 тока управляющего ограничителя 21, а также средств 14 для работы оператора в режиме диалога без необходимости наличия соединений с коммутаторами и проводами. Это упрощает сборку и повышает надежность соединений. Электронную карту 20 (фиг.2) устанавливают в прерыватель в строго вертикальном положении. Карта имеет переднюю грань 20а, расположенную по направлению к передней части прерывателя, и заднюю грань 20b, расположенную по направлению к задней части прерывателя. Средства 14 для работы оператора в режиме диалога проходят через корпус таким образом, чтобы быть доступными для оператора, который находится перед прерывателем, и укреплены с помощью пайки на передней грани 20а карты. Управляющий ограничитель 21 укреплен также с помощью пайки на задней грани 20b карты и проходит через корпус для соединения с основанием 50.
Датчики 11, 12, 13 электрического тока встроены строго перпендикулярно в электронную карту 20 в горизонтальной плоскости в направлении к задней части прерывателя. Такое расположение уменьшает риск нагревания электронной карты датчиками тока. Передним торцом каждый датчик 11, 12, 13 тока соединяют с задней гранью 20b электронной карты 20, например, посредством двух контактных выводов, припаянных непосредственно к карте. На заднем торце каждый датчик 11, 12, 13 тока соединяют последовательно с помощью ограничителя 22 мощности (состоящего из зажимов и штырей), общего для каждого вывода нижней токопроводящей линии 54 прерывателя. Таким образом, когда модуль 10 управления и защиты отсутствует, нижние токопроводящие линии 54 обязательно открыты на уровне ограничителя 22 мощности, и тогда прерыватель находится в безопасном положении.
Прерыватель может иметь дополнительный блок 44, расположенный под модулем 10 управления и защиты (фиг.2). Соединитель 24 (например, пластинка), проходящий через корпус, непосредственно укрепляют на электронной карте 20, он позволяет осуществлять связь между модулем 10 управления и защиты и дополнительным блоком 44.
Указанные различные расположения позволяют максимально упростить выполнение соединений между электронной картой 20 и ее внешним окружением, исключая дополнительное сопряжение, требующее наличия жил или электропроводов.
Модуль 10 управления и защиты предназначен для заглубления в основание 50 и выхода из основания 50 в горизонтальном направлении Х спереди назад. Ограничитель 22 мощности и управляющий ограничитель 21 ориентированы оба к заднему концу корпуса модуля 10 управления и защиты в том же направлении Х.
При заглублении они присоединяются к дополнительным соединительным элементам, направленным к переднему концу основания 50. Это увеличивает надежность контактов и упрощает установку модуля 10, так как усилие нажима для соединения имеет то же направление, что и усилие для заглубления модуля 10. Кроме того, во время выхода модуля 10 управления и защиты отсоединение управляющего ограничителя 21 выполняется всегда до отключения ограничителя 22 мощности, в частности, благодаря длине штырей ограничителя 22 мощности. Это обеспечивает дополнительную защитную функцию, гарантируя исключение любого прерывания подачи тока на нагрузку. Действительно, как только управляющий ограничитель 21 отключается, на управляющий электромагнит 41 больше не поступает электропитание, что влечет за собой отключение подвижных контактов 52.
Кнопку 51 ручного управления устанавливают таким образом, что когда она находится в положении Стоп (фиг.2), она не мешает выходу и заглублению модуля 10 управления и защиты в основание 50. Но когда кнопка 51 ручного управления находится в положении Пуск (фиг.3), он накрывает верх корпуса модуля 10 управления и защиты, что полностью исключает несвоевременный выход модуля, обеспечивая дополнительную защитную функцию.
Чтобы обеспечить быстрое включение прерывателя оператором, средства 14 для работы оператора в режиме диалога содержат устройство для выбора типа кодового колесика потенциометра или аналогичное устройство, доступное для оператора, расположенное на передней части корпуса. Указанное устройство позволяет оператору выбрать единственную величину параметра настройки IR, которую можно прочесть на передней грани корпуса. Согласно изобретению, блок 30 обработки содержит средства вычисления для определения величины IR в качестве пороговой для отключения при магнитных нарушениях. Оператор легко выбирает величину параметра регулировки IR, так как она обычно соответствует номинальной характеристике тока, указанной на приводе. Она изменяется между величиной IRmin и величиной IRmax, которые заранее определяют в модуле 10 управления и защиты в соответствии с его калибром.
Когда один из токов статора мотора, измеренных датчиками 11, 12, 13 тока, превышает пороговую величину приблизительно в 15 раз по сравнению с величиной максимума IRmax,, блок 30 обработки модуля 10 мгновенно определяет нарушение как короткое замыкание. Когда один из токов статора превышает пороговую величину приблизительно в 15 раз по сравнению с величиной регулировки IR за время порядка 100 мс, блок 30 обработки определяет нарушение как магнитную перегрузку. Для определения нарушения типа тепловой перегрузки, традиционно выполняющегося с помощью биметаллического термометра, блок 30 обработки создает и сохраняет в памяти исходя из измерений токов статора тепловое состояние, пропорциональное квадрату тока в фазах и показывающее состояния теплового режима привода, которое следует учитывать в зависимости от номинального тока IR, регулируемого оператором. Нарушение теплового режима определяют с помощью блока 30 обработки модуля 10, когда нарушено равновесие измеренных токов статора или когда состояние теплового режима превышает величину, которую определяют по классической схеме защиты, показывающей изменение времени размыкания в зависимости от тока, и которую сохраняют в памяти блока 30 обработки. Варианты тепловой защиты могут быть выбраны на уровне электронной карты 20 во время сборки модуля 10 (класс защиты, типы приводов).
Кроме того, средства 14 для работы оператора в режиме диалога могут также содержать тестовую кнопку на передней грани корпуса, которая позволяет оператору моделировать нарушения теплового режима, искусственно изменяя состояние теплового режима привода. Для некоторых версий можно рассмотреть более сложные средства 14 для работы оператора в режиме диалога, позволяющие вывести на световой терминал, например на небольшой экран на передней грани корпуса, дополнительную информацию.
Формула изобретения
1. Модуль (10) управления и защиты для многополюсного прерывателя низкого напряжения, предназначенного для управления и защиты электрической нагрузки и содержащего основание (50) со встроенными токопроводящими линиями (53, 54), снабженное неподвижными и подвижными контактами, управляющий электромагнит (41) и выключатель (42) для воздействия на подвижные контакты (52) для отключения и включения полюсов, при этом модуль (10) управления и защиты содержит съемный и сопрягающийся с основанием (50) корпус, в котором размещены
датчики (11, 12, 13) тока для измерения силы тока, проходящего по токопроводящим линиям (54),
электронная карта (20), снабженная блоком (30) обработки и содержащая электронное устройство (31) управления и электронное устройство (32) защиты, предназначенные для активизации через управляющий ограничитель (21), управляющий электромагнит (41) и выключатель (42) в ответ на управляющий сигнал (310) и сигнал (320) выключения блока (30) обработки, отличающийся тем, что блок (30) обработки предназначен для отмены управляющего сигнала (310) электромагнита (41) в случае нарушения функционирования устройства (32) защиты.
2. Модуль управления и защиты по п.1, отличающийся тем, что электронное устройство (32) защиты содержит средства (34) аккумулирования энергии, позволяющие накапливать электроэнергию, по меньшей мере равную уровню, достаточному для активизации выключателя (42), при котором блок (30) обработки отменяет управляющий сигнал (310) электромагнита (41), когда электроэнергия, накопленная средствами (34) аккумулирования, ниже указанного уровня.
3. Модуль управления и защиты по п.2, отличающийся тем, что блок (30) обработки предназначен для определения уровня электроэнергии, накопленной в средствах (34) аккумулирования, он выше или равен уровню, достаточному для активизирования выключателя (42) перед направлением управляющего сигнала (310).
4. Модуль управления и защиты по п.1, отличающийся тем, что блок (30) обработки предназначен для отмены управляющего сигнала (310) электромагнита (41), когда обнаружено нарушение соединения между электронным устройством (32) защиты и выключателем (42).
5. Модуль управления и защиты по п.1, отличающийся тем, что блок (30) обработки предназначен для отмены управляющего сигнала (310) электромагнита (41) при обнаружении нарушения теплового режима без передачи сигнала выключения выключателем (42).
6. Модуль управления и защиты по п.1, отличающийся тем, что электронная карта (20) установлена так, чтобы напрямую получать сигнал от датчиков (11, 12, 13) тока, управляющего ограничителя (21) и средств (14) для работы оператора в режиме диалога, расположенных на передней грани корпуса.
7. Модуль управления и защиты по п.6, отличающийся тем, что электронная карта (20) предназначена для непосредственного получения сигнала от электрического соединителя (24), что позволяет осуществить связь между модулем (10) управления и защиты и дополнительным блоком (44) прерывателя.
8. Модуль управления и защиты по п.6, отличающийся тем, что средства (14) для работы оператора в режиме диалога содержат устройство для выбора одного параметра регулировки (IR), при этом блок (30) обработки содержит средства вычисления для определения из указанного параметра регулировки (IR) пороговой величины размыкания при нарушении теплового режима и пороговой величины размыкания при нарушении магнитного потока.
9. Модуль управления и защиты по п.1, отличающийся тем, что датчики (11, 12, 13) тока соединены последовательно с токопроводящими линиями основания (50) через ограничитель (22) мощности, при этом управляющий ограничитель (21) и ограничитель (22) мощности ориентированы к заднему концу корпуса в направлении (X), соответствующем оси входа и выхода модуля (10) в/из основания (50) прерывателя.
10. Модуль управления и защиты по п.9, отличающийся тем, что при отсоединении модуля управления и защиты (10) от основания (50) прерывателя управляющий ограничитель (21) отсоединяется от основания (50) до ограничителя (22) мощности.
11. Модуль управления и защиты по п.1, отличающийся тем, что на электронное устройство (31) управления поступает от основания (50) через управляющий ограничитель (21) сигнал (312) идентификации электромагнита (41).
12. Модуль управления и защиты по п.11, отличающийся тем, что электронное устройство (31) управления использует сигнал (312) идентификации для адаптации величины силы тока, который подается для управления электромагнитом (41).
13. Электрический многополюсный прерыватель, предназначенный для управления и защиты электрической нагрузки, содержащий основание (50) со встроенными токопроводящими линиями (53, 54), снабженными неподвижными и подвижными контактами, управляющий электромагнит (41) и выключатель (42) для воздействия на подвижные контакты (52), отличающийся тем, что основание (50) выполнено съемным по отношению к модулю (10) управления и защиты по любому из предыдущих пп.1-12.
РИСУНКИ
|
|