|
|
(21), (22) Заявка: 2004102510/09, 24.06.2002
(24) Дата начала отсчета срока действия патента:
24.06.2002
(30) Конвенционный приоритет:
29.06.2001 IT MI2001A001394
(43) Дата публикации заявки: 10.05.2005
(46) Опубликовано: 10.12.2006
(56) Список документов, цитированных в отчете о поиске:
US 4251791 А, 17.02.1981. RU 2120910 C1, 27.10.1998. US 4492036 А, 08.01.1985. GB 2121238 А, 14.12.1983. DE 2337887 А, 27.02.1975.
(85) Дата перевода заявки PCT на национальную фазу:
29.01.2004
(86) Заявка PCT:
EP 02/06944 (24.06.2002)
(87) Публикация PCT:
WO 03/003388 (09.01.2003)
Адрес для переписки:
129010, Москва, ул. Б.Спасская, 25, стр.3, ООО “Юридическая фирма Городисский и Партнеры”, пат.пов. Г.Б. Егоровой, рег.№ 513
|
(72) Автор(ы):
ВИЧЕНТЕЛЛИ Клаудио (IT)
(73) Патентообладатель(и):
ВИЧЕНТЕЛЛИ Клаудио (IT)
|
(54) МАГНИТНЫЙ МОДУЛЬ КРЕПЛЕНИЯ С СИСТЕМОЙ ДЛЯ ПОДКЛЮЧЕНИЯ/ОТКЛЮЧЕНИЯ И РЕГУЛИРОВАНИЯ МАГНИТНОЙ СИЛЫ КРЕПЛЕНИЯ И УСТРОЙСТВО, ПОЛУЧАЕМОЕ С ИСПОЛЬЗОВАНИЕМ МАГНИТНОГО МОДУЛЯ
(57) Реферат:
Изобретение относится к электротехнике и может быть использовано для крепления к ферромагнитной поверхности. Технический результат состоит в возможности подключения/отключения магнитной силы крепления. Головка магнитного модуля для магнитного крепления к ферромагнитной поверхности другого магнитного или ферромагнитного модуля содержит: первый многополюсный магнитный статор, который, в свою очередь, определяет многополюсную магнитную поверхность крепления, и многополюсный магнитный ротор, или второй многополюсный магнитный статор, коаксиальный с первым многополюсным магнитным статором и обращенный к нему. Они оборудованы средством для ориентирования полюсов многополюсного магнитного ротора или второго многополюсного магнитного статора последовательно или параллельно относительно полюсов первого многополюсного магнитного статора, чтобы отключать или подключать многополюсную магнитную поверхность крепления первого магнитного статора. 3 н. и 19 з.п. ф-лы, 10 ил.
Настоящее изобретение касается магнитного модуля, оборудованного системой для подключения магнитной силы для крепления дополнительного магнитного или ферромагнитного модуля к ферромагнитной поверхности, для использования в случае, если магнитный модуль развивает магнитную силу притяжения, сопоставимую с пределом человеческой силы или превосходящую его. Изобретение также касается устройств, получаемых с использованием этих магнитных модулей.
Европейская заявка на патент № EP 9902040, которая принадлежит заявителю предлагаемого изобретения, описывает устройство, полученное из комбинации магнитных модулей с другими магнитными и/или ферромагнитными модулями. Магнитные модули, описываемые в упомянутой заявке, включают в себя по меньшей мере один активный магнитный элемент, то есть элемент, который имеет две полярные поверхности противоположного знака, и по меньшей мере один ферромагнитный элемент.
Одна из фундаментальных характеристик устройства, описанного в Европейской заявке на патент № EP 9902040, заключается в том, что магнитный поток, производимый активными магнитными элементами, вовлеченными в крепление между модулями, по меньшей мере частично замкнут накоротко через ферромагнитные элементы модулей, и в том, что разности в магнитном потенциале, производимом активными магнитными элементами, вовлеченными в крепление между модулями, последовательно складываются.
Такая система крепления позволяет достигнуть высокого отношения силы крепления между модулями в устройстве к весу устройства в целом, таким образом обеспечивая конструкцию из ровных независимых решетчатых структур высокой сложности, например, возведение подмостков для театральных сценических декораций или рекламных панелей.
Когда силы магнитного притяжения между модулями превышают порог 2-3 кг – заданный предел человеческой силы, чтобы облегчать монтаж и демонтаж, и по причинам безопасности – становится желательным обеспечить систему, способную подключать/отключать крепление между модулями.
Таким образом, задачей настоящего изобретения является создание магнитного модуля, оборудованного системой для подключения/отключения магнитной силы для крепления магнитного модуля к ферромагнитной поверхности другого магнитного или ферромагнитного модуля.
Эта задача решается посредством оборудования магнитного модуля системой для подключения/отключения магнитной силы крепления магнитного модуля с помощью системы инверсии полюсов механического/ручного или механического/электрического типа, в соответствии с независимым пунктом 1 формулы изобретения, или электромагнитного типа, в соответствии с независимым пунктом 23 формулы изобретения.
Магнитный модуль с механической/ручной или механической/электрической системой инверсии полюсов отличается тем, что имеет по меньшей мере одну проходящую в осевом направлении головку, оборудованную системой для подключения магнитной силы для крепления упомянутого магнитного модуля к ферромагнитной поверхности, причем упомянутая по меньшей мере одна головка содержит:
– многополюсный магнитный статор, коаксиальный с головкой, где магнитный статор имеет магнитно подключаемую многополюсную статорную поверхность для магнитного крепления к ферромагнитной поверхности, причем статорная поверхность сформирована посредством расположения индуцируемых магнитным полем магнитных полюсов, которые поочередно имеют магнитную полярность противоположного знака;
– многополюсный магнитный ротор, коаксиальный с многополюсным магнитным статором, где магнитный ротор имеет многополюсную роторную поверхность напротив многополюсной статорной поверхности и сформирован посредством расположения магнитных полюсов, которые поочередно имеют магнитную полярность противоположного знака; расположение полюсов многополюсной роторной поверхности является зеркальным относительно расположения многополюсной статорной поверхности; магнитный ротор вращается относительно оси головки между положением, которое полностью подключает многополюсную статорную поверхность, в которой каждый магнитный полюс многополюсной статорной поверхности обращен к соответствующему магнитному полюсу идентичного знака многополюсной роторной поверхности так, что магнитный поток, производимый магнитным статором и магнитным ротором, складывается вместе и замыкается накоротко через ферромагнитную поверхность, и полностью отключенным положением многополюсной статорной поверхности, в котором каждый магнитный полюс многополюсной статорной поверхности обращен к соответствующему магнитному полюсу противоположного знака многополюсной роторной поверхности так, что магнитный поток, производимый магнитным статором, полностью замыкается накоротко магнитным ротором.
Магнитный статор включает в себя некоторое количество статорных постоянных магнитов, размещенных вокруг оси магнитного статора, и некоторое количество ферромагнитных секторов, каждый из которых вставлен между соответствующей парой статорных постоянных магнитов из упомянутого количества статорных постоянных магнитов; причем статорные постоянные магниты имеют ось поляризации, ориентированную по существу параллельно многополюсной статорной поверхности, упомянутые статорные постоянные магниты из каждой пары статорных постоянных магнитов обращены друг к другу с магнитной полярностью идентичного знака; многополюсная статорная поверхность крепления сформирована из структуры поверхности каждого из ферромагнитных секторов.
Магнитный ротор включает в себя: некоторое количество роторных постоянных магнитов, размещенных вокруг оси магнитного ротора, роторные постоянные магниты имеют ось поляризации, ориентированную по существу ортогонально к многополюсной статорной поверхности, каждый из роторных постоянных магнитов имеет магнитную поляризацию, противоположную магнитной поляризации смежного роторного постоянного магнита; а ферромагнитное ярмо применяется для подсоединения магнитных полюсов напротив магнитного статора всех роторных постоянных магнитов.
Магнитный модуль с электромагнитной системой инверсии полюсов отличается тем, что имеет по меньшей мере одну проходящую в осевом направлении головку, оборудованную системой для подключения магнитной силы для крепления магнитного модуля к ферромагнитной поверхности, где по меньшей мере одна головка содержит:
– первый многополюсный магнитный статор, коаксиальный с головкой, причем первый магнитный статор имеет магнитно подключаемую многополюсную первую статорную поверхность для магнитного крепления к ферромагнитной поверхности, где первая статорная поверхность сформирована посредством расположения индуцируемых магнитным полем магнитных полюсов, которые поочередно имеют магнитную полярность противоположного знака;
– второй многополюсный магнитный статор, коаксиальный с первым многополюсным магнитным статором, причем второй магнитный статор имеет многополюсную вторую статорную поверхность напротив многополюсной первой статорной поверхности и сформирован посредством расположения магнитных полюсов, которые поочередно имеют магнитную полярность противоположного знака; расположение полюсов многополюсной второй статорной поверхности является зеркальным относительно расположения многополюсной первой статорной поверхности;
– средство для подключения/отключения многополюсной первой статорной поверхности первого статора посредством инвертирования полярности множества полюсов второго магнитного статора, причем средство для подключения/отключения многополюсной первой статорной поверхности первого статора переключает вторую многополюсную статорную поверхность между состоянием, которое подключает многополюсную первую статорную поверхность, при котором каждый магнитный полюс многополюсной первой статорной поверхности обращен к соответствующему магнитному полюсу идентичного знака многополюсной второй статорной поверхности так, что магнитный поток, производимый первым магнитным статором и вторым магнитным статором, складываются вместе и замыкаются накоротко через ферромагнитную поверхность, и отключенным состоянием многополюсной первой статорной поверхности, в котором каждый магнитный полюс многополюсной первой статорной поверхности обращен к соответствующему магнитному полюсу противоположного знака многополюсной второй статорной поверхности так, что магнитный поток, производимый первым магнитным статором, полностью замыкается накоротко вторым магнитным статором.
Первый магнитный статор включает в себя некоторое количество первых статорных постоянных магнитов, размещенных вокруг оси первого магнитного статора, и некоторое количество ферромагнитных секторов, каждый из которых вставлен между соответствующей парой первых статорных постоянных магнитов из упомянутого количества первых статорных постоянных магнитов; первые статорные постоянные магниты имеют ось поляризации, ориентированную по существу параллельно многополюсной первой статорной поверхности, первые статорные постоянные магниты каждой пары из первых статорных постоянных магнитов обращены один к другому с магнитной полярностью идентичного знака; первая многополюсная статорная поверхность крепления сформирована из структуры поверхности каждого из ферромагнитных секторов.
Второй магнитный статор включает в себя: некоторое количество электромагнитов, размещенных вокруг оси второго магнитного статора, причем электромагниты имеют ось поляризации, ориентированную по существу ортогонально многополюсной статорной поверхности, каждый из электромагнитов имеет магнитную поляризацию, противоположную магнитной поляризации смежного электромагнита; а ферромагнитное ярмо применяется для подсоединения магнитных полюсов напротив первого магнитного статора всех электромагнитов.
Изобретение также описывает устройство магнитных модулей, объединенных друг с другом и, возможно, также с ферромагнитными модулями, отличающееся тем, что ферромагнитная поверхность крепления в устройстве обеспечена ферромагнитным элементом, объединенным в магнитных модулях, или принадлежащий каким-либо отдельным ферромагнитным модулям, которые могут быть включены в устройство, или многополюсной магнитной статорной поверхностью крепления головки (головок) других магнитных модулей. Таким образом, головку одного магнитного модуля можно крепить непосредственно к головке другого магнитного модуля, или головку одного или более магнитных модулей можно крепить к ферромагнитному элементу другого магнитного модуля, или головку одного или более магнитных модулей можно крепить к ферромагнитному модулю.
У каждой ферромагнитной поверхности крепления в устройстве обеспечена магнитная цепь, образованная подключенной головкой одного или более действующих совместно магнитных модулей на ферромагнитной поверхности крепления; в магнитной цепи магнитный поток, производимый на ферромагнитной поверхности крепления подключенной головкой одного или более действующих совместно магнитных модулей, полностью или по меньшей мере частично замкнут накоротко через головку одного или более действующих совместно магнитных модулей на ферромагнитной поверхности крепления, и через ферромагнитную поверхность крепления обеспечен упомянутым ферромагнитным элементом; в магнитной цепи, кроме того, разности в магнитном потенциале, производимом подключенной головкой одного или более действующих совместно магнитных модулей на ферромагнитной поверхности крепления, объединяются, последовательно складываясь.
Там, где это требуется, ферромагнитные модули также можно образовывать из ферромагнитного элемента, покрытого немагнитной матрицей, например, материалом с высоким коэффициентом статического трения.
Система для подключения/отключения крепления магнитного модуля в настоящем изобретении является быстродействующей и легкой, и это позволяет обеспечивать высокое отношение силы крепления между модулями в устройстве к глобальному весу устройства, которое нужно поддерживать в подключенной фазе.
В полностью отключенной фазе система для подключения/отключения крепления магнитного модуля позволяет обеспечивать магнитный поток, производимый магнитными элементами в головке, полностью замыкаемый накоротко внутри головки магнитного модуля.
Настоящее изобретение предлагает систему для подключения/отключения одной или больше головок магнитного модуля, которая способна регулировать силу крепления, а также оборудована устройством для предотвращения ее случайного отключения.
Изобретение также обеспечивает преимущество, заключающееся в том, что в случае магнитного модуля с более чем одной головкой, каждая головка может работать независимо от других.
Эти аспекты будут разъяснены в последующем описании предпочтительных вариантов осуществления изобретения, описанных посредством примера, без ограничения более общих принципов, представленных в прилагаемой формуле изобретения.
Дальнейшее описание поясняется прилагаемыми чертежами, на которых:
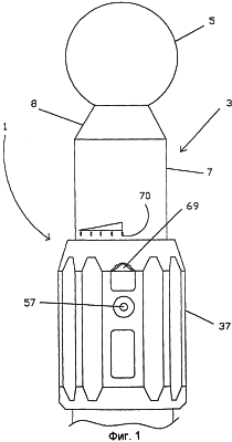
фиг.1 изображает вид сбоку возможного применения головки магнитного модуля в соответствии с настоящим изобретением, прикрепленного к ферромагнитному модулю;
фиг.2 представляет вид в поперечном разрезе по оси головки, иллюстрируемой на фиг.1;
фиг.3 представляет горизонтальную проекцию головки, иллюстрируемой на фиг.1;
фиг.4 представляет горизонтальную проекцию магнитного ротора головки на фиг.1;
фиг.5 представляет вид сбоку устройства модулей в соответствии с настоящим изобретением, объединенных при помощи устройства придания жесткости;
фиг.6 представляет вид сбоку магнитного модуля в соответствии с настоящим изобретением, разрезанного по его оси;
фиг.7 представляет вид сбоку дополнительного магнитного модуля в соответствии с настоящим изобретением, разрезанного по его оси;
фиг.8 представляет вид сбоку с частичным поперечным разрезом магнитного модуля в соответствии с настоящим изобретением, оборудованного средством для блокирования магнитного модуля под растягивающим напряжением относительно элемента жесткости, в который вставлен магнитный модуль;
фиг.9 представляет вид спереди с частичным поперечным разрезом фиг.8, с магнитным ротором в таком положении, в котором головка полностью подключена; и
фиг.10 представляет вид спереди с частичным поперечным разрезом фиг.8, с магнитным ротором в таком положении, в котором головка отключена.
На фиг.1-4 представлен магнитный модуль 1, оборудованный головкой 3, которую можно подключать для получения магнитного крепления к ферромагнитной поверхности сферического ферромагнитного модуля 5.
Головка 3 модуля 1 проходит в осевом направлении, обозначенном на фиг.2 штрих-пунктирной линией A-A, и содержит в осевом направлении полую цилиндрическую манжету 7, оборудованную конической вершиной 8, магнитным статором 9 и магнитным ротором 11, находящимся напротив манжеты 7, коаксиально и внутри относительно нее.
Магнитный статор 9 занимает осевое положение относительно манжеты 7, соответствующее вершине 8 манжеты 7, в то время как магнитный ротор 11 занимает более внутреннее осевое положение.
Магнитный статор 9 образован из основного ферромагнитного элемента или корпуса 13, разделенного в радиальном направлении на шесть идентичных секторов 15 шестью радиальными канавками 17, расположенными под равными углами в плоскостях, проходящих через ось головки 3.
Активный магнитный элемент, то есть постоянный магнит 19, прикреплен внутри каждой канавки 17 в основном ферромагнитном корпусе 13 магнитного статора 9. Постоянные магниты 19 идентичны и расположены так, что их ось магнитной поляризации по существу параллельна поверхности 21 головки магнитного статора, в то время как каждая пара смежных постоянных магнитов 19 представляет магнитную полярность того же самого знака по направлению к ферромагнитному сектору 15, который они определяют. Эти шесть секторов 15 основного ферромагнитного корпуса 13 магнитного статора 9 формируют многополюсную статорную поверхность 21 крепления, магнитно индуцируемую активными магнитными элементами 19 с поочередными положительной и отрицательной магнитной полярностью.
Основной ферромагнитный корпус 13 магнитного статора 9 может быть представлен одной деталью, как описано выше, или он также может быть разделен на полностью отдельные сектора, размещенные по всему углу 360° и разнесенные друг от друга в поперечном направлении таким образом, чтобы определять места для размещения постоянных магнитов магнитного статора 9.
Многополюсная поверхность 21 головки основного ферромагнитного корпуса 13 магнитного статора 9 выровнена с вершиной 8 манжеты 7 и состоит из шести полярных областей с 60-градусной апертурой и зеркальной многополюсной базовой поверхностью 23.
Магнитный статор 9 может быть прикреплен к манжете 7 посредством механического заклинивания между выступами 25 на манжете 7 и соответствующими выемками 27 в корпусе 9 магнитного статора.
Магнитный ротор 11 головки 3 содержит шесть идентичных активных магнитных элементов, то есть шесть постоянных магнитов 29, и ферромагнитный элемент или ярмо 31 для соединения и поддержания постоянных магнитов 29, помещенных, относительно постоянных магнитов 29, на боковой стороне, напротив магнитного статора 9.
Шесть постоянных магнитов 29 магнитного ротора 11 имеют ось поляризации, ортогональную статорной многополюсной поверхности 21.
Шесть постоянных магнитов 29 магнитного ротора 11 размещены под равными углами вокруг оси головки 3 и с переменной полярностью, образуя многополюсную роторную поверхность 33, зеркальную к многополюсной статорной поверхности 21 крепления.
Задание размеров магнитных и ферромагнитных компонентов магнитного статора 9 и магнитного ротора 11 должно быть таким, что, когда головка 3 отключена, когда каждый полюс многополюсной статорной поверхности 21 является в магнитном отношении последовательным с соответствующим полюсом многополюсной роторной поверхности 33, магнитный ротор 11 может полностью поглощать магнитный поток, производимый магнитным статором 9, полностью замыкая накоротко упомянутый поток через ферромагнитное ярмо 31, чтобы оставлять многополюсную статорную поверхность 21 магнитного статора 9 отключенной с целью крепления магнитного модуля 1 к ферромагнитной поверхности модуля 5.
Ферромагнитный модуль 5 является полым, и его толщина должна поддерживаться минимальной, для увеличения отношения магнитной силы крепления между двумя модулями к весу этих двух модулей, тем не менее принимая во внимание, что толщина ферромагнитного модуля 5 не может быть уменьшена ниже некоторой величины, чтобы гарантировать полное замыкание накоротко магнитного потока, производимого головкой 3. Однако для данного протяжения многополюсной статорной поверхности 21 можно поддерживать полное замыкание накоротко магнитного потока, компенсируя любое снижение толщины ферромагнитного модуля 5 с увеличением количества пар полюсов в магнитном статоре 9.
В возможном варианте настоящего изобретения часть магнитного ротора, соответствующая постоянным магнитам 29 и ярму 31, которое соединяет их, может быть заменена корпусом, имеющим такую же конструкцию, как магнитный статор 9, то есть основной ферромагнитный корпус, содержащий набор активных магнитных элементов, помещенных точно так же, как в магнитном статоре 9. В этом случае, многополюсная роторная поверхность 33 индуцируется активными магнитными элементами магнитного ротора.
Магнитный ротор 11 содержит раструб 35 для направления вращения магнитного ротора 11, коаксиально относительно манжеты 7 и внутри нее, и жестко простираясь к ярму 31 для поддержания постоянных магнитов 29 магнитного ротора 11 от ярма 31, находящегося напротив постоянных магнитов 29.
Чтобы направлять вращение магнитного ротора 11, раструб 35 для направления магнитного ротора 11 сам направляется внутренней стенкой манжеты 7.
И многополюсная роторная поверхность 33, и базовая поверхность 23 магнитного статора 9 оборудованы фрикционными дисками из высокопрочной стали, предназначенными для облегчения относительного вращения между магнитным статором 9 и магнитным ротором 11, при обеспечении минимального сопротивления прохождению магнитного потока от одной стороны к другой.
Головка 3 магнитного модуля 1 содержит цилиндрическое кольцо 37, закрепляемое коаксиально и снаружи к манжете 7 так, что оно может поворачиваться и скользить относительно оси манжеты 7, чтобы механически/вручную приводить в действие вращение магнитного ротора 11.
Для передачи вращения кольца 37 к магнитному ротору 11 кольцо 37 диаметрально поддерживает тягу 39 передачи усилий, пригнанную в паре диаметрально выровненных прорезей 41, вырезанных в кромке 43 на конце раструба 35, расположенном в осевом направлении напротив магнитного статора 9.
Прорези 41 являются удлиненными в осевом направлении, чтобы удерживать тягу 39 передачи усилий в зацеплении, но свободной для скольжения в осевом направлении манжеты 7.
Тяга 39 передачи усилий помещена поперек двух разрезов 45, вырезанных вдоль двух диаметрально противоположных отрезков окружности манжеты 7.
Разрезы 45 в манжете 7 также имеют отверстия в осевом направлении манжеты 7, чтобы обеспечить возможность смещения тяги 39 и связанного кольца 37 в осевом направлении манжеты 7.
Кромка каждого разреза 45 в манжете 7, наиболее удаленная в осевом направлении от вершины 8 манжеты 7, сформирована с рядом бороздок 47, вырезанных с угловыми промежутками, диаметрально напротив бороздок 47 на противолежащем разрезе.
Тяга 39 передачи усилий прижимается к этой кромке в разрезах 45 манжеты 7 штифтом 49, который может перемещаться в осевом направлении во втулке 53 в направляющем раструбе 35, коаксиально головке 3, и упруго нагружен цилиндрической пружиной 51, помещенной между штифтом 49 и заплечиком внутри втулки 53.
Поэтому вращение кольца 37 может быть ступенчато блокировано каждый раз, когда тяга 39 передачи усилий защелкивается относительно пары противолежащих бороздок 47 в разрезах 45 манжеты 7. Каждая ступень при вращении кольца 37 соответствует уровню подключения головки 3.
Для регулирования уровня подключения головки 3, кольцо 37 поворачивают вручную до тех пор, пока стрелка 69 индикатора, обеспеченная на внешней поверхности кольца 37, не расположится на одной линии с заданным уровнем 70 подключения, выбираемым из множества возможных уровней, выгравированных на внешней поверхности манжеты 7.
В полностью подключенном состоянии головки 3 полюсы многополюсной статорной поверхности 21 обращены к полюсам того же знака многополюсной роторной поверхности 33 магнитного ротора 11. Магнитный поток, производимый магнитным статором 9, добавляется к потоку, производимому магнитным ротором 11, и замыкается накоротко через ферромагнитный шар 5.
В полностью отключенном состоянии головки 3, получаемом при повороте магнитного ротора 11 на 60°, полюсы многополюсной статорной поверхности 21 обращены к полюсам противоположного знака многополюсной роторной поверхности 33. Полный магнитный поток, производимый магнитным статором 9, замыкается накоротко магнитным ротором 11, и разности в магнитном потенциале, устанавливаемом в магнитном статоре 9, последовательно добавляются к разностям в магнитном потенциале магнитного ротора 11 через ферромагнитное ярмо 31.
В соответствующих угловых положениях между магнитным статором 9 и магнитным ротором 11, которые проходят от полностью отключенного к полностью подключаемому положению головки 3, постепенно увеличивающееся соотношение потока, производимого магнитным статором 9 и магнитным ротором 11, замыкается накоротко через ферромагнитный шар 5 так, что сила крепления между магнитным модулем 1 и ферромагнитным модулем 5 также постепенно увеличивается.
Головка 3 модуля 1 также может иметь отличающуюся систему для приведения в действие вращения магнитного ротора 11, например, электрического/механического типа. Эта система содержит отверстие в манжете и зубчатом колесе, прикрепленном коаксиально и жестко к раструбу магнитного ротора. Вращение ротора можно регулировать при помощи электрической отвертки с имеющим форму шестерни наконечником, способным сцепляться с зубчатым колесом через отверстие в манжете.
Магнитный модуль 1 также включает в себя предохранительное устройство, которое предотвращает любое случайное отключение головки 3.
Предохранительное устройство содержит отверстие 55 в кольце 37 и защелку 57 с пружиной 59, которую можно выравнивать с отверстием 55 в кольце 37 в соответствии с положением магнитного ротора 11, в котором головка 3 полностью подключена.
Защелка 57 вставлена в небольшой цилиндр 61, который прикреплен через манжету 7 и может проходить под действием пружины 59 в отверстие 55 в кольце 37 так, чтобы блокировать вращение кольца 37. Для отключения или регулирования головки 3, начиная от полностью подключаемого положения, просто требуется использовать остроконечный инструмент, вставленный в отверстие 55 в кольце 37, чтобы заставить защелку 57 возвратиться внутрь ее контейнерного цилиндра 61 против действия силы пружины 59.
Не отходя от контекста настоящего изобретения, головку магнитного модуля также можно подключать посредством электромагнитной системы для индуцирования полярной инверсии головки. Она просто включает в себя замену предварительно описанного магнитного ротора вторым магнитным статором, идентичным вышеупомянутому магнитному ротору, за исключением того, что постоянные магниты второго магнитного статора должны иметь значительно более низкую коэрцитивную силу, чем постоянные магниты первого статора, и каждый из них должен быть окруженным соответствующим инверсионным соленоидом. Ток, производимый подходящим генератором постоянного тока, циркулирует в каждом соленоиде в одном направлении или в другом, чтобы инвертировать полярность соответствующего постоянного магнита. В этом случае сила крепления регулируется посредством подачи тока переменной интенсивности, а надежность головки является присущей, поскольку головка отключается только при подаче тока, противоположного току, подаваемому для подключения головки.
Фиг.5 иллюстрирует набор магнитных модулей крепления, содержащих два магнитных модуля 1, прикрепленных к ферромагнитному модулю 5. Если необходимо, конструкции может быть придана жесткость с помощью углового элемента 65 жесткости в комплекте с трубами 77 для соединения с магнитными модулями 1 такого типа, который соответствует описанному в заявке на патент №MI2001A000608, принадлежащей заявителю предлагаемого изобретения.
Когда обе головки 3 магнитных модулей 1 подключены, магнитный поток циркулирует между двумя головками 3 через ферромагнитный шар 5; в этой магнитной цепи разности в магнитном потенциале, установленном в магнитном статоре и роторе каждой головки 3, магнитно добавляются последовательно к разности в магнитном потенциале в магнитном статоре и роторе другой головки 3.
Следовательно, в общем, каждый раз, когда подключаемая головка 3 дополнительного магнитного модуля 1 прикрепляется к ферромагнитному модулю 5, происходит увеличение силы, прикрепляющей магнитный модуль 1 к ферромагнитному модулю 5.
Модуль 1 также может действовать, как система для соединения с элементом жесткости типа, описанного в заявке на патент № MI2001A000608, способного жестко прикреплять магнитный модуль 1 к элементу 65 жесткости, когда магнитный модуль 1 подвергается растягивающему напряжению, более высокому, чем сила магнитного притяжения, проявляемая рассматриваемым магнитным модулем 1. Упомянутую систему соединения можно обеспечивать на всех магнитных модулях или только на определенных магнитных модулях, подвергающихся растягивающим напряжениям, превышающим силу магнитного притяжения, которую они способны производить.
Такая система соединения согласно возможной реализации, иллюстрируемой на фиг.8-10, состоит из набора штифтов 71, в этом случае из трех, шарнирно сочлененных с периферией манжеты 7 и выступающих радиально сквозь толщину манжеты 7 так, что они входят в соответствующую выемку 75 в соединяющих трубах 77 элемента 65 жесткости в соответствии с подключаемым состоянием головки в магнитном модуле 1.
Три штифта 71 размещаются на угловом расстоянии 120°; они могут поворачиваться в плоскости, ортогональной оси манжеты 7, и они могут вводиться или отводиться посредством скольжения в соответствующих кулачках 79, вставленных во внешнюю периферию раструба 35, который жестко прикреплен к ротору 11. При размещении ротора 11 в положении, совпадающем с полностью отключенным состоянием головки магнитного модуля 1, каждый штифт 71 оставляет свой соответствующий кулачок 79 и отводится внутрь манжеты 7, таким образом позволяя магнитному модулю 1 выскальзывать из элемента 65 жесткости.
Фиг.6 изображает модуль 1′ с двумя коаксиальными головками 3, которые можно подключать независимо друг от друга. Две головки 3 прикреплены к концам цилиндрической соединительной трубы 67, которую можно делать, например, из пластмассы, или углеродного волокна, или алюминия.
Снова на фиг.6, магнитный статор одной из головок 3 имеет плоскую многополюсную поверхность 21 головки, подходящую для крепления к плоской ферромагнитной поверхности на магнитном или ферромагнитном модуле, в то время как магнитный статор другой головки 3 имеет аркообразную многополюсную поверхность 21 головки, подходящую для крепления к сферическому магнитному или ферромагнитному модулю.
Конечно, форма многополюсной поверхности головки магнитного статора может быть по желанию различной, чтобы соответствовать форме поверхности для крепления, и также может быть по желанию различной в данном магнитном модуле, содержащем больше одной головки 3 крепления.
Фиг.7 изображает конструкцию с магнитным модулем 1″, который позволяет обеспечивать крепление другого магнитного модуля.
Магнитный модуль 1″ имеет только одну головку 3 для подключения, но оборудованную ферромагнитным элементом 63 на противоположном в осевом направлении конце упомянутой головки 3.
В этом случае, внешняя поверхность ферромагнитного элемента 63 магнитного модуля 1″ может быть прикреплена посредством подключения головки другого магнитного модуля.
Конечно, изобретение простирается на случай крепления головки магнитного модуля к ферромагнитной поверхности даже без прямого контакта, с неферромагнитным материалом между ними. Это может иметь место, например, если сферический ферромагнитный модуль фиг.5 покрыт немагнитным материалом с высоким коэффициентом трения.
При монтаже решетчатых конструкций в соответствии с настоящим изобретением, иногда необходимо закрывать конструкцию, добавляя конечный модуль между модулями с установленным расстоянием между центрами, например, удлиненный магнитный модуль между двумя сферическими ферромагнитными модулями, находящимися уже в положении с установленным расстоянием между ними.
Для облегчения упомянутой операции, особенно когда модули в конструкции связаны посредством элементов жесткости, соединительная труба на головках магнитного модуля по настоящему изобретению, например цилиндрическая труба, обозначенная на фиг.6 ссылочной позицией 67, может быть оборудована раздвижной системой соединения между головками.
В качестве примера, соединительная труба 67 на фиг.6 может быть разделена на две части, каждая из которых жестко прикреплена к одной головке магнитного модуля, а центральное тело с раздвижным перемещением и продольным штыковым зажимом может быть вставлено между этими двумя отдельными частями. Головки магнитного модуля, таким образом, могут быть сведены ближе друг к другу, чтобы вставить магнитный модуль в решетчатую структуру, затем разведены дальше друг от друга для их окончательного расположения, поворачивая трубу, чтобы отпустить штыковой зажим. Это решение можно обеспечивать по мере необходимости на одном, нескольких или всех магнитных модулях.
Формула изобретения
1. Магнитный модуль для конструкции устройства, содержащий тело (67) в форме трубы, магнитную головку (3), проходящую в осевом направлении от конца тела (67) в форме трубы, при этом магнитная головка (3) имеет переднюю поверхность (21) для прикрепления к ферромагнитной поверхности (5), отличающийся тем, что магнитная головка (3) содержит:
многополюсный магнитный статор (9), расположенный коаксиально с магнитной головкой (3), причем магнитный статор (9) содержит множество периферически расположенных полюсных элементов (15), которые определяют первую прикрепляемую многополюсную статорную поверхность (21) на переднем конце и вторую многополюсную поверхность (23) на заднем конце, первое множество магнитов (19), расположенных между полюсными элементами (15) для образования полюсных наконечников переменной полярности (N,S) на обеих первой и второй многополюсных поверхностях (21, 23),
многополюсный магнитный ротор (11), расположенный коаксиально с многополюсным магнитным статором (9), причем многополюсный магнитный ротор (11) содержит заднее ярмо (31) и второе множество магнитов (29), периферически расположенных на заднем ферромагнитном ярме (31), при этом второе множество магнитов образует третью многополюсную поверхность (33), имеющую полюсные наконечники переменной полярности (N,S), обращенные ко второй многополюсной поверхности (23),
многополюсный магнитный ротор (11) поддерживается с возможностью поворота для перемещения между первым угловым положением, в котором каждый из полюсных наконечников (N,S) третьей многополюсной поверхности (33) обращен к соответствующим полюсным наконечникам (N,S) второй многополюсной поверхности (23), имеющим ту же полярность (N,S), для активизации магнитной головки (3), и вторым угловым положением, в котором каждый из полюсных наконечников (N, S) третьей многополюсной поверхности (33) обращен к соответствующим полюсным наконечникам (N,S) второй многополюсной поверхности (23), имеющим обратную полярность (N,S), для дезактивизации магнитной головки (3).
2. Магнитный модуль по п.1, отличающийся тем, что многополюсный магнитный ротор (11) установлен с возможностью углового перемещения в, по меньшей мере, одном промежуточном положении между упомянутыми первым и вторым угловыми положениями.
3. Магнитный модуль по п.1, отличающийся тем, что каждый магнит (19) многополюсного магнитного статора (9) расположен в радиально простирающихся канавках (17) и имеет ось поляризации, которая проходит поперечно канавке (17) и ориентирована, по существу, параллельно первой многополюсной поверхности (21).
4. Магнитный модуль по п.3, отличающийся тем, что каждый магнит (29) многополюсного магнитного ротора (11) имеет ось поляризации, которая проходит параллельно продольной оси магнитной головки (3).
5. Магнитный модуль по п.1, отличающийся тем, что магнитная головка (3) имеет расположенную коаксиально относительно нее полую манжету (7), которая имеет внутреннюю цилиндрическую стенку, и тем, что магнитный ротор (11) имеет цилиндрический направляющий раструб (35), который простирается коаксиально внутри полой манжеты (7) и установлен с возможностью вращения, направляемый цилиндрической внутренней стенкой манжеты (7).
6. Магнитный модуль по п.1, отличающийся тем, что имеет приводящуюся в действие вручную систему для вращения многополюсного магнитного ротора (11).
7. Магнитный модуль по п.6, отличающийся тем, что упомянутая приводная система для многополюсного магнитного ротора (11) содержит цилиндрическое приводное кольцо (37), установленное с возможностью скольжения и вращения снаружи манжеты (7), и средство (39, 41) для передачи вращения кольца (37) манжете (7).
8. Магнитный модуль по п.7, отличающийся тем, что средство для передачи вращения внешнего цилиндрического кольца (37) содержит пару диаметрально выровненных прорезей (41), вырезанных в кромке (43) на конце раструба (35), расположенных параллельно оси магнитной головки (3), и тягу (39), прикрепленную по диаметру внешнего кольца (37) и вставленную с возможностью скольжения внутри упомянутой пары прорезей (41) цилиндрического кольца (37) и в диаметрально противоположных и периферически простирающихся разрезах (45).
9. Магнитный модуль по п.8, отличающийся тем, что содержит средство (47) для блокирования вращения кольца (37), которое содержит множество бороздок (47), вырезанных с угловыми интервалами в диаметрально противоположных разрезах (45).
10. Магнитный модуль по п.7, отличающийся тем, что содержит предохранительное устройство (55, 57) для предотвращения вращения приводного кольца (37).
11. Магнитный модуль по п.10, отличающийся тем, что предохранительное устройство содержит подпружиненную защелку (57), поддерживаемую манжетой (7) с возможностью скольжения в ортогональном направлении относительно оси магнитной головки (3), при этом подпружиненная защелка (57) зацеплена в отверстии (55) приводного кольца (37) в активизированном состоянии многополюсной магнитной поверхности (21).
12. Магнитный модуль по п.11, в котором для соединения модулей (1) используется элемент (65) жесткости, содержащий соединяющие трубы (77) для вставления магнитной головки (3), он содержит набор блокирующих штифтов (71), установленных шарнирно и простирающихся радиально через манжету (7) для зацепления с соответствующими выемками (75) в соединяющих трубках (77) элемента (65) жесткости, и многополюсный магнитный ротор содержит набор кулачков (79) для удлинения блокирующих штифтов (71) снаружи манжеты (7) для зацепления с выемками (75) в соединяющих трубах (77) в активизированном состоянии магнитной головки (3), соответственно отведения блокирующих штифтов (71) внутрь манжеты (7) в дезактивированном состоянии магнитной головки (3).
13. Магнитный модуль по п.1, отличающийся тем, что он содержит электрическую/механическую приводную систему для вращения магнитного ротора (11).
14. Магнитный модуль по п.13, отличающийся тем, что электрическая/механическая приводная система содержит зубчатое колесо, расположенное коаксиально с многополюсным магнитным ротором (11), и электрическую винтовую подачу, имеющую наконечник в форме шестерни для зацепления с зубчатым колесом.
15. Магнитный модуль по п.1, отличающийся тем, что содержит раздвижную систему для изменения его длины.
16. Магнитный модуль по п.15, отличающийся тем, что содержит штыковой зажим для соединения раздвижной системы с многополюсной магнитной головкой (3).
17. Магнитный модуль по п.1, отличающийся тем, что многополюсная поверхность для крепления является плоской поверхностью.
18. Магнитный модуль по п.1, отличающийся тем, что многополюсная поверхность (21) для крепления представляет собой аркообразную поверхность.
19. Магнитный модуль по п.1, отличающийся тем, что многополюсная магнитная головка (3) расположена, по меньшей мере, на одном конце тела (67) в форме трубы.
20. Магнитный модуль по п.1, отличающийся тем, что на одном конце тела (67) в форме трубы расположена многополюсная магнитная головка (3), а на его другом конце расположен прикрепляющий ферромагнитный элемент (63).
21. Магнитный модуль для конструкции устройства, содержащий тело (67) в форме трубы, магнитную головку (3), проходящую в осевом направлении от конца тела (67) в форме трубы, при этом магнитная головка (3) имеет переднюю поверхность (21) для прикрепления к ферромагнитной поверхности (5), отличающийся тем, что магнитная головка (3) содержит
многополюсный магнитный статор (9) и многополюсный магнитный ротор (11), расположенный коаксиально с магнитной головкой (3), причем магнитный статор (9) содержит первое множество периферически расположенных полюсных элементов (15), которые определяют первую прикрепляемую поверхность (21) на переднем конце и вторую многополюсную поверхность (23) на заднем конце, и первое множество магнитов (19), расположенных между полюсными элементами (15) для образования полюсных наконечников переменной полярности (N,S) на обеих первой и второй многополюсных поверхностях (21, 23), многополюсный магнитный ротор (11) содержит второе множество периферически расположенных полюсных элементов (15), которые определяют третью прикрепляемую многополюсную поверхность (33) на переднем конце, и второе множество магнитов (19), расположенных между полюсными элементами (15) для образования полюсных наконечников переменной полярности (N, S) на третьей многополюсной поверхности (33), при этом многополюсный магнитный ротор (11) поддерживается с возможностью поворота для перемещения между первым угловым положением, в котором каждый из полюсных наконечников (N,S) третьей многополюсной поверхности (33) обращен к соответствующим полюсным наконечникам (N,S) второй многополюсной поверхности (23), имеющим ту же полярность (N,S), для активизации магнитной головки (3), и вторым угловым положением, в котором каждый из полюсных наконечников (N,S) третьей многополюсной поверхности (33) обращен к соответствующим полюсным наконечникам (N,S) второй многополюсной поверхности (23), имеющим обратную полярность (N,S), для дезактивации магнитной головки (3).
22. Магнитный модуль для конструкции устройства, содержащий тело (67) в форме трубы, магнитную головку (3), проходящую в осевом направлении от конца тела (67) в форме трубы, при этом магнитная головка (3) имеет переднюю поверхность (21) для прикрепления к ферромагнитной поверхности (5), отличающийся тем, что магнитная головка (3) содержит
многополюсный магнитный статор (9), расположенный коаксиально с магнитной головкой (3), причем магнитный статор (9) содержит множество периферически расположенных полюсных элементов (15), которые определяют первую прикрепляемую поверхность (21) на переднем конце и вторую многополюсную поверхность (23) на заднем конце, первое множество магнитов (19), расположенных между полюсными элементами (15) для образования полюсных наконечников переменной полярности (N,S) на обеих первой и второй многополюсных поверхностях (21, 23),
второй многополюсный магнитный статор, расположенный коаксиально первому многополюсному магнитному статору (9), при этом второй многополюсный магнитный статор содержит заднее ферромагнитное ярмо и множество магнитов, периферически расположенных на ферромагнитном ярме, при этом магниты имеют переменную полярность для обеспечения полюсных наконечников переменной полярности (N,S), обращенных ко второй многополюсной поверхности (23), при этом магниты окружены соответствующими соленоидами, соединяемыми с разрядным генератором постоянного тока для изменения полярностей магнитов для активизации и дезактивации многополюсной магнитной головки (3).
РИСУНКИ
MM4A – Досрочное прекращение действия патента СССР или патента Российской Федерации на изобретение из-за неуплаты в установленный срок пошлины за поддержание патента в силе
Дата прекращения действия патента: 25.06.2009
Извещение опубликовано: 20.07.2010 БИ: 20/2010
|
|