|
|
(21), (22) Заявка: 2004100234/09, 30.05.2002
(24) Дата начала отсчета срока действия патента:
30.05.2002
(30) Конвенционный приоритет:
07.06.2001 GB 0113905.4
(43) Дата публикации заявки: 10.06.2005
(46) Опубликовано: 10.12.2006
(56) Список документов, цитированных в отчете о поиске:
WO 00/79546 A1, 28.12.2000. RU 2068587 C1, 27.10.1996. RU 2043670 C1, 10.09.1995. WO 9938173 A, 29.07.1999. US 4137494 A, 30.01.1979. GB 1142254 A, 05.02.1969.
(85) Дата перевода заявки PCT на национальную фазу:
08.01.2004
(86) Заявка PCT:
GB 02/02523 (30.05.2002)
(87) Публикация PCT:
WO 02/099822 (12.12.2002)
Адрес для переписки:
129010, Москва, ул. Б. Спасская, 25, стр.3, ООО “Юридическая фирма Городисский и Партнеры”, пат.пов. Ю.Д.Кузнецову, рег.№ 595
|
(72) Автор(ы):
ЛАССИ Дэвид (GB), БЛОР Дэвид (GB), ЛАФЛИН Пол Джонатан (GB), ХАНДЗ Филип Джеймс Уолтон (GB)
(73) Патентообладатель(и):
ПЕРАТЕК ЛТД (GB)
|
(54) АНАЛИТИЧЕСКОЕ УСТРОЙСТВО
(57) Реферат:
Изобретение относится к аналитическому устройству, в частности к датчику для обнаружения и измерения количества материалов, находящихся в текучей форме. Датчик на химические или биологические вещества или частицы или радиацию содержит тело из полимерной композиции, которое имеет первый уровень электропроводности в состоянии покоя и является переводимым в состояние со вторым, отличающимся уровнем электропроводности за счет изменения механического напряжения, приложенного к телу при помощи растяжения или сжатия, или электрического поля, и электроды, соединенные с указанным телом для подсоединения к электрической схеме, чувствительной к изменению проводимости указанного тела. Датчик содержит канальный элемент с образованным в нем каналом для протекания испытуемой текучей среды. Указанное тело является проницаемым для указанной текучей среды и простирается поперек канала, так что текучая среда протекает через указанное тело. Тело может представлять собой слой гранул. Слой гранул поддерживается в канале между двумя перфорированными решетками, образующими электроды. Тело может представлять собой лист. Лист содержит пену или текстиль с диспергированными в ней/нем гранулами указанной полимерной композиции. Техническим результатом является то, что он может обеспечивать статическое и динамическое контактирование, и то, что свойства системы могут изменяться в реальном масштабе времени. 8 з.п. ф-лы, 32 ил.
Область техники
Настоящее изобретение относится к аналитическому устройству, в частности к датчику для обнаружения и измерения количеств материалов, находящихся в текучей форме.
Известные датчики, которые основаны на использовании сжимаемого полимерного элемента, содержащего проводящий наполнитель и зависящего от “перколяции”, то есть от электрического контакта между частицами наполнителя, имеют различные недостатки, в частности ограниченный диапазон изменения электропроводности.
В заявке PCT/GB00/02402, опубликованной как WO 00/79546, раскрыт датчик на различные химические или биологические вещества или радиацию, который включает в себя:
a) контактную головку, представляющую собой полимерную композицию, которая содержит по меньшей мере один по существу непроводящий полимер и по меньшей мере один электрически проводящий наполнитель и является электрически непроводящей (изолирующей) в состоянии покоя, но становится проводящей при воздействии механического напряжения или электростатического заряда;
b) средство доступа испытываемой пробы к головке;
c) средство подключения головки к электрической схеме, позволяющей измерять электрические свойства полимерной композиции.
Выражение “полимерная композиция” будет использовано здесь для обозначения композиции, которая содержит полимер и проводящие частицы наполнителя из металла, сплава или восстановленного оксида металла, причем указанная композиция имеет первый уровень электропроводности в состоянии покоя и может быть переведена в состояние со вторым уровнем электропроводности за счет изменения напряжения, приложенного за счет растяжения, сжатия, или электрического поля. Более подробно композиции такого типа раскрыты в РСТ-заявках GB98/00206 и GB99/00205, опубликованных соответственно как WO 98/33193 и 99/38173, которые включены в данное описание в качестве ссылки.
Авторам настоящего изобретения удалось теперь создать полезные датчики, в которых могут найти практическое применение свойства указанной полимерной композиции. Вообще говоря, в датчиках в соответствии с настоящим изобретением могут быть использованы преимущественные или возможные признаки, приведенные в заявке PCT/GB00/002402, в частности:
в полимерной композиции капсулирующая (охватывающая) полимерная фаза является сильно отрицательной в трибоэлектрическом ряду, нелегко накапливает электроны на своей поверхности и является проницаемой для целого ряда газов и других подвижных молекул, поступающих в головку и/или на ее поверхность, в результате чего изменяются электрические свойства полимерной композиции;
контактная головка может включать в себя средство создания напряжений, например механического сжатия, растяжения или изгиба, или источник электрического или магнитного поля, чтобы привести полимерную композицию в состояние с таким уровнем электропроводности, который соответствует требуемой чувствительности датчика;
датчик может обеспечивать статическое или динамическое контактирование. Для статического контактирования может быть использован портативный блок с погружением головки в пробу, которая содержится в контейнере. Для динамического контактирования датчик может быть введен в протекающий поток пробы или может иметь свои собственные подающие и/или выпускные каналы и, возможно, насосное средство для подвода и/или вывода пробы. Такое насосное средство преимущественно является перистальтическим, как, например, при медицинском исследовании;
свойства системы могут изменяться в реальном масштабе времени, например при контролировании работы двигателя, хода химического процесса или качества атмосферы;
в предпочтительном датчике полимерная композиция может быть возбуждена при помощи линейного или нелинейного поля переменного тока. Различные технологии могут быть использованы для выделения представляющего интерес сигнала из шумов и сигналов помех, например реактивность (реактивное сопротивление), индуктивность, профиль сигнала, фазовый профиль, частота, пространственная и временная когерентность;
в другом примере полимерная композиция удерживается в переходном (неустановившемся) состоянии за счет приложения электростатического заряда; затем повышенная ионизация как следствие воздействия ядерного излучения изменяет электрическое удельное сопротивление, реактивность, импеданс или другие электрические свойства системы;
в еще одном примере в полимерную композицию введен комплексообразующий ионофор или другой материал типа «замок и ключ» или адсорбирующий материал. Такими материалами могут быть краун-эфиры, цеолиты, твердые и жидкие иониты, биологические антитела, а также их аналоги или другие аналогичные материалы. При возбуждении полем постоянного тока, линейным или нелинейным полем переменного тока такие материалы изменяют свои электрические свойства в соответствии с адсорбцией материалов или степенью контакта с источниками радиации. Такие материалы обладают потенциалом для сужения ширины полосы пропускания (bandwidth) для адсорбированных частиц и повышения селективности системы. В еще одном примере в полимерную композицию введен электрид, то есть материал, в котором электрон представляет собой единственный анион, типичным примером которого является цезий-15-краун-5, полученный путем испарения металлического цезия над 15-краун-5. Подобным же образом могут быть использованы и другие ионофоры, цеолиты и ионообменные материалы. Такая композиция имеет низкую работу выхода электрона, типично < 1 электрон-вольта, так что низкие напряжения постоянного тока или неравномерные напряжения переменного тока переключают ее из непроводящей в проводящую фазу с уменьшением постоянной времени и увеличением ширины полосы пропускания для адсорбированных частиц и селективности системы. Такие материалы могут быть использованы для обнаружения наличия адсорбированных материалов и/или источников радиации.
Сущность изобретения
В соответствии с настоящим изобретением предлагается датчик для обнаружения различных химических или биологических веществ (частиц) или радиации, в котором испытуемая текучая среда контактирует с полимерной композицией, содержащей полимер и проводящие частицы наполнителя из металла, сплава или восстановленного оксида металла, имеющей первый уровень электропроводности в состоянии покоя и переводимой в состояние со вторым уровнем электропроводности за счет изменения напряжения, приложенного за счет растяжения или сжатия, либо электрического поля, причем полимерная композиция характеризуется по меньшей мере одним из следующих признаков:
(a) находится в форме частиц, по меньшей мере 90 мас.% которых задерживаются на сите 100 меш; и/или
(b) содержит проницаемое тело, простирающееся поперек канала для потока текучей среды и/или обеспечивающее входную и выходную диффузию испытуемой текучей среды; и/или
(c) механически соединена с деталью из полимера, разбухающего за счет компонента испытуемой текучей среды.
В соответствии с аспектом (a), преимущественно по меньшей мере 90% частиц задерживаются на сите 50 меш. В большинстве случаев частицы проходят через сито 18 меш, а преимущественно через сито, большее, чем например 10 меш. Частицы являются приблизительно сферическими и имеют средний диаметр свыше 150 мкм, а преимущественно свыше 300 мкм, и обычно вплоть до 1 мм, а возможно вплоть до 2 мм. Такие частицы преимущественно могут быть использованы в соответствии с аспектами (b) и (c) настоящего изобретения. Предпочтительные формы частиц описаны ниже.
Частицы могут быть распределены случайным образом во вмещающем их сосуде с взаимным сцеплением или без него или находятся на несущей пластичной основе, такой как пена или текстиль.
В соответствии с аспектами (a) и (b) отклик (выходной сигнал) датчика обусловлен воздействием анализируемых веществ (частиц) или радиации на полимер в полимерной композиции или в несущей основе. Результатом такого воздействия преимущественно является разбухание полимера, расширяющее промежутки между проводящими частицами наполнителя, и, следовательно, падение электропроводности. Такое расширение удлиняет траекторию движения электронов через полимерное покрытие на частицах наполнителя и, следовательно, снижает квантовую туннельную проводимость.
В соответствии с аспектом (c), воздействие механически соединенной детали заключается в сжатии полимерной композиции, в результате чего уменьшаются промежутки между частицами наполнителя, что укорачивает траекторию движения электрона и повышает туннельную проводимость. Такая деталь может действовать как механический элемент, например поршень или рычаг; вместо этого или дополнительно она может действовать распределенным образом, например, в виде частиц, перемешанных с частицами полимерной композиции. Очевидно, что работа в соответствии с аспектом (c) может препятствовать работе в соответствии с аспектами (a) или (b); однако это может найти применение в специальных условиях.
Каждый датчик содержит средство омического соединения полимерной композиции с электрической схемой. Для соответствия очень длинной кривой зависимости электропроводности от приложенного напряжения электрическая схема преимущественно включает в себя полевые транзисторы и логарифмические усилители. Для того, чтобы различать аналиты (т.е. анализируемые вещества) по скорости изменения электропроводности могут быть использованы различные схемные решения. Омическое соединение (контакт) преимущественно может быть создано за счет введения проницаемого блока из полимерной композиции между сетками из полностью или частично омически проводящего материала, например металла, или между сетками из легкого металлического покрытия на пластмассе или керамике или из металлизированной керамики. Если полимерная композиция имеет форму листа, натянутого поперек канала, то установленные с промежутками омические проводники могут, например, механически удерживаться в контакте с указанным листом или образованы на нем в виде покрытия, такого как богатая металлом краска или нанесенный из паровой фазы слой. Промежуточные и/или внешние проводники, омические или другие, могут содержать предварительно напряженную полимерную композицию, возможно на полимерной или текстильной несущей основе.
Каждый датчик в соответствии с аспектом (a) или (b) дополнительно содержит средство для напряжения полимерной композиции до исходного уровня электропроводности, который подвержен измеряемому изменению в результате контакта с испытуемой текучей средой. Это обычно делают путем сжатия тела, располагая его в трубке между решетками (сетками) и сближая решетки друг с другом преимущественно при помощи воздействия внутреннего патрубка, который телескопически скользит внутри трубки, с возможным использованием микрометра. Для композиции в форме листа напряжение преимущественно производят за счет растяжения при помощи действия, аналогичного натягиванию носка (a sock-donning action), или за счет изгиба с опорой или без нее, например, при помощи шаблона (оправки), или за счет деформирования диска в плоский конус или сфероид.
Каждая полимерная композиция может быть напряжена перед контактированием. Это может быть осуществлено, например, за счет выбора подходящего состава композиции, в частности за счет перемешивания в присутствии летучей жидкости, при удалении которой композиция сжимается и становится проводящей. В соответствии с другим способом, отклик сопротивления композиции на напряжение может быть измерен после контактирования и сравнен со стандартным откликом обычно той же самой или дублирующей головки, находящейся в равновесии с пустой (контрольной) текучей средой. Механическим средством для предварительного напряжения может быть, например, винт, гидравлическое, пьезоэлектрическое, магнитное и тепловое расширение, например, с использованием пьезоэлемента.
Предпочтительная композиция находится в форме частиц, покрытых полимером. Покрытие может иметь усадку, преимущественно со сжатием, достаточным для предварительного напряжения композиции до проводящего состояния. Частицами могут быть, например, описанные здесь гранулы, их агломераты или же это может быть измельченная сыпучая композиция. Покрытие является проницаемым для аналитов, которые должен измерять датчик. Оно также должно быть достаточно тонким для того, чтобы обеспечивать электропроводность за счет квантового туннелирования, как это описано ниже, или может иметь большую толщину в случае наличия в нем того же проводящего наполнителя, что и имеющийся в композиции, и/или в случае углерода. Полимер с усадкой преимущественно является термореактивным, например является эпоксидной смолой, имидом малеиновой кислоты или 3-мерным олефиновым полимером.
Предварительно напряженные частицы могут быть использованы в слое с рыхлой упаковкой, как это показано далее на фиг.1(a), 3(c) или 4(d). Частицы преимущественно могут быть сцеплены вместе, возможно при приложении небольшого сжатия, создаваемого в блоке формования, показанном далее на фиг.7. Таким образом, может быть установлена серия блоков, различающихся по отклику на аналит, но имеющих взаимозаменяемую структуру датчика.
В соответствии с аспектом (c) возможен вариант, когда начинают с непроводящего состояния или с “высокого исходного сопротивления” в качестве альтернативы первоначальному напряжению до проводящего состояния и используют разбухание полимерного элемента для того, чтобы создать или увеличить проводимость в полимерной композиции.
Вместо этого или в дополнение к этому каждый датчик может быть переведен на первый уровень электропроводности за счет приложения электрического напряжения и/или электростатического, радиационного или магнитного поля. Первый уровень электропроводности полимерной композиции преимущественно соответствует по существу нулю или низкому значению (“высокое исходное сопротивление”), достаточному для того, чтобы подтвердить наличие датчика в схеме.
Датчик может быть использован в сочетании с внешним средством для модификации его отклика. Например, текучая среда может контактировать выше по течению относительно головки с сорбентом, позволяющим эффективно удалять один отслеживаемый материал и оставлять другой материал для измерения при помощи датчика. В соответствии с предпочтительным вариантом осуществления, сорбент может быть расположен в непосредственной близости от головки датчика, что позволяет исключить отдельную операцию обработки. В отличие от этого, может быть использован также и сорбирующий источник одновременно определяемого материала. Примерами являются сушка и (соответственно) увлажнение.
В другом примере, подходящем для очень малых концентраций отслеживаемого материала, такой сорбент может быть использован для забора и хранения всего объема такого материала в течение заданного промежутка времени с последующим нагреванием для десорбирования материала и пропускания его к датчику.
При анализе могут быть использованы, например, следующие комбинированные устройства (конструкции):
средство введения известного количества известного отслеживаемого материала, например, для калибровки или совместной сорбции;
два параллельных датчика, один из которых откалиброван в качестве опорного;
матрица из двух или более датчиков, включенных последовательно или параллельно, для одновременного обнаружения различных отслеживаемых материалов;
последовательность ряда отдельно смонтированных датчиков, образующих хроматографическую колонку;
подача пустой текучей среды с обратным переключением для того, чтобы регенерировать датчик;
местный нагрев для изменения специфичности (избирательности) или для содействия регенерации; для этой цели полимерная композиция, разбухающий полимер или сорбент могут содержать в себе нагревательную катушку или же полимерная композиция может быть нагрета за счет пропускания через нее электрического тока до достижения ее температуры ПТК (положительный температурный коэффициент);
существенное число включенных параллельно устройств с обратным переключением подачи текучей среды для обеспечения более продолжительного времени регенерации, если это необходимо;
миниатюризация;
регулирование с обратной связью уровней напряжения;
компьютеризированная регистрация, сравнение и передача данных.
Разбухающие полимеры в соответствии с аспектом (c) и сорбенты, используемые для модификации отклика датчика, могут быть выбраны, например, из следующих:
по структуре: уплотненный, спеченный или связанный порошковый материал (частицы);
покрытия на носителе с большой площадью поверхности, такой как ячеистая структура, вспененный материал или текстиль;
ионообменные смолы;
хроматографические агенты;
по химическому составу: выбранные в соответствии с параметром растворимости или химической реакционноспособности, например, для углеводородов, окисленных (оксигенированных) углеводородов, кислот, щелочей, воды, вирусов, бактерий.
Само собой разумеется, что любые датчики могут быть использованы для определения наличия аналита или для регистрации отсутствия аналита, который мог бы присутствовать.
В полимерной композиции металл, сплав или восстановленный оксид металла могут быть, например, в одном или нескольких из следующих состояний:
(i) на “обнаженной” эластичной полимерной структуре, то есть без предварительного покрытия, но с возможным наличием на своей поверхности остатка поверхностной фазы, находящейся в равновесии с атмосферой их хранения или образованной в ходе внедрения в полимер;
(ii) на эластичной полимерной структуре с имеющимся тонким покрытием из пассивирующего или замещающего воду материала или же остатком такого покрытия, образованного в ходе внедрения. Это, аналогично случаю (i), может обеспечить лучшую управляемость при изготовлении;
(iii) на эластичной полимерной структуре с таким очень тонким полимерным покрытием, чтобы быть проводящим в ненапряженном состоянии. Примерами такой структуры могут быть гранулированные никель/полимерные композиции с таким высоким содержанием никеля, что физические свойства полимера являются едва заметными, если заметными вообще. В качестве примера можно привести исходные частицы никеля с объемной плотностью 0,85, что соответствует объемному коэффициенту никель/силикон (выпущенная масса:твердое тело без пустот), составляющему обычно существенно более приблизительно 10. Материал в форме (iii) может быть нанесен на эластичную структуру в виде водной суспензии. Полимер может быть эластомером или может им не быть. Форма (iii) также может обеспечить лучшую управляемость при изготовлении, чем (i);
(iv) с полимерным покрытием, но проводящий только в напряженном состоянии. Примерами такой структуры могут быть никель/полимерные композиции с содержанием никеля, меньшим, чем в случае (iii), и достаточно низким для того, чтобы можно было различать физические свойства полимера, но достаточно высоким для того, чтобы в ходе перемешивания частицы никеля и полимер в виде жидкости образовывали скорее гранулы, а не объемную фазу. Относительно крупные гранулы преимущественно могут быть получены за счет соответствующего контроля условий перемешивания, возможно с отсеиванием и повторной переработкой нижней фракции. Альтернативой является использование частиц, полученных за счет измельчения материала, как это указано ниже в (v). В отличие от случаев (i)-(iii), материал (iv) может давать отклик на деформацию каждой индивидуальной гранулы, а также между гранулами, а измельченный материал (v) является менее чувствительным. Материалом (iv) можно манипулировать в виде водной суспензии;
(v) внедренным в образующий сплошную фазу полимер, то есть при достаточном присутствии полимера для образования сплошной полимерной структуры. Это может быть сделано путем одноступенчатого перемешивания или за счет перемешивания материала (iv) с добавочным полимером такого же или другого типа. Аналогично (iv), материал (v) является проводящим только в напряженном состоянии.
Основным признаком предпочтительной полимерной композиции, примеры которой приведены в (iv, v), является то, что она проявляет туннельную проводимость в напряженном состоянии. Это свойство особенно хорошо выражено в случае полимерных композиций, в которых наполнитель, выбранный из металлов или сплавов в виде порошков, электропроводящих оксидов таких металлов и сплавов, а также их смесей, смешан с непроводящим эластомером, который подмешивают управляемым образом, в результате чего наполнитель диспергирован в эластомере и остается структурно целостным, а пустоты, которые имеются в исходном порошке наполнителя, заполняются эластомером, так что частицы наполнителя закрепляются в непосредственной близости друг от друга в ходе отверждения эластомера. Предпочтительные проводящие частицы наполнителя имеют вторичную структуру, включая остроконечную (усаженную шипами) или дендритную текстуру поверхности, доказательством наличия которой является объемная плотность, составляющая менее одной трети плотности образующего их твердого (сплошного) вещества до введения в полимерную композицию. Примерами полимерных композиций, обладающих туннельной проводимостью, являются «квантовые туннельные композиты» («Quantum Tunnelling Composites»), производимые фирмой PERATECH LTD, Darlington, England, под торговой маркой «QTC».
В случае датчика, предназначенного для проведения нескольких определений, полимерная композиция является обратимо переводимой между состояниями с различными уровнями электропроводности. Однако при специализированном использовании это не является необходимым, поэтому композиция может быть непереводимой или переводимой не полностью.
Элементы, характерные для настоящего изобретения в соответствии с его аспектами, могут быть использованы на рынке изолированно (по отдельности), в особенности QTC элементы, описанные со ссылкой на чертежи.
Краткое описание чертежей
На фиг.1 показаны сечения примерных датчиков, в которых проба (испытываемый образец) протекает через полимерную композицию.
На фиг.2 показаны сечения, виды в перспективе или виды сверху датчиков, в которых проба воздействует на полимерную композицию за счет диффузии.
На фиг.3 показаны сечения датчиков, в которых проба воздействует на разбухающий полимерный элемент, который в свою очередь прикладывает напряжение к полимерной композиции.
На фиг.4 показаны сечения или виды в перспективе датчиков, которые основаны на использовании полимерной композиции в специфической структурной форме.
На фиг.5 показаны виды в перспективе более сложных лабораторных установок, основанных на применении датчика.
На фиг.6 показаны графики и таблица откликов 3 датчиков на различные аналиты.
На фиг.7 показано сечение датчика, в котором проба протекает через неподвижный слой агрегатов гранул полимерной композиции, предварительно напряженной до состояния проводимости за счет термореактивной усадки.
На чертежах для упрощения описания показано направление потока текучей среды, однако это не накладывает никаких технических ограничений.
Описание предпочтительных вариантов
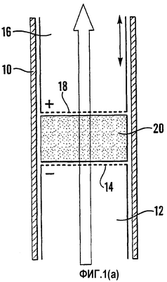
Обратимся теперь к рассмотрению фиг.1(a), на которой показана контактная головка, которая содержит трубку 10 для потока текучей среды, имеющую внутреннюю поверхность, инертную к контактирующей с ней текучей среде и электрически изолирующую по меньшей мере в области, которая будет описана далее. В нижнем конце трубки 10 закреплена в определенном положении при помощи крепежного средства (не показано) трубка 12, сформированная у своего верхнего конца с жесткой сеткой 14. Трубка 12, по меньшей мере на периферии сетки 14, герметично подогнана к трубке 10. В верхнем конце трубки 10 установлена со скольжением трубка 16, которая может двигаться вверх и вниз при помощи средства с тонкой настройкой, такого как микрометр (не показан), и сформирована с жесткой сеткой 18, преимущественно изготовленной из фритты или проволочной ткани. Аналогично трубке 12, трубка 16 герметично подогнана к трубке 10. Сетки 14 и 16 являются электропроводящими, по меньшей мере соответственно на нижней и верхней сторонах, и действуют в качестве электродов, подключенных (при помощи непоказанного средства) к внешней электрической схеме. Эти сетки могут быть изготовлены из металла, например из металлической тканой проволоки, вспененного или спеченного материала, а также из металлизированного полимера или керамики. Сетки и близлежащая область трубки 10 охватывают проницаемое для текучей среды тело 20 из QTC никель/силиконовой полимерной композиции, которая является непроводящей (изолирующей) в состоянии покоя, но становится проводящей при сжатии, причем ее проводимость зависит от степени сжатия. Тело 20 может содержать, например, гранулы из такой композиции со случайной упаковкой, с возможным взаимным сцеплением, или такую структуру, как вспененный материал или ткань, образованные из такой композиции или содержащие такую композицию.
Для использования датчика создают стационарный поток эталонной текучей среды, например чистого сухого воздуха или чистой воды. Затем трубку 16 и, следовательно, также и сетку 18 перемещают вниз до тех пор, пока внешняя схема не зарегистрирует изменение сопротивления от начального значения до более низкого значения за счет повышения электропроводности полимерной композиции. Затем эталонную текучую среду заменяют на пробу, которую предстоит анализировать. Измерение сопротивления проводят после выдержки для достижения установившегося (стационарного) состояния.
Модифицированный вариант этого датчика показан на фиг.3(c).
Обратимся теперь к рассмотрению фиг.1(b), на которой показана головка, находящаяся в герметичном контакте с выпускным концом трубки для потока текучей среды (не показана) и подставляющая трубке центральный участок листа 110 из QTC материала, который является самонесущим (самоподдерживающимся) за счет исходного отношения никель/силикон или за счет диспергирования обогащенных никелем гранул никель/силикон в проницаемой для текучей среды несущей мембране или, например, представляет собой текстиль или вспененный материал, причем лист может быть микроперфорирован для облегчения прохождения потока текучей среды. Лист 110 поддерживается с его нижней стороны при помощи взаимно изолированных элементов 112 (неподвижных) и 114 (регулируемых в горизонтальном направлении) с закругленными концами, которые лист облегает снаружи и к которым он прикреплен при помощи зажимов 116 и 118, которые являются электропроводящими и действуют в качестве электродов. Расстояние между элементами 112 и 114 может регулироваться при помощи соответствующего средства (не показано) для того, чтобы растягивать лист 110 и придавать ему уровень электропроводности, соответствующий требуемой чувствительности. Лист 110 обычно является прямоугольным, чтобы упростить механизм растяжения.
Обратимся теперь к рассмотрению фиг.1(c), на которой показана модификация устройства согласно фиг.1(b), и в этом случае лист 130 из QTC материала имеет вогнутый профиль и поддерживается между элементами 132, которые не имеют взаимной регулировки и преимущественно представляют собой диаметральное сечение трубки, такой как полый цилиндр. Элементы 132 взаимно изолированы, так как они изготовлены из изоляционного материала или покрыты им, или являются частями разрезанного цилиндра. Растяжение листа 130 происходит за счет направленного вниз перемещения трубки 134 для потока текучей среды в вогнутый участок листа 130. Трубка 134 и элемент 132 являются соосными.
Обратимся теперь к рассмотрению фиг.2, где на показанных сечениях элементы 266, 267, 274 и 276 для упрощения понимания показаны не заштрихованными.
Обратимся сначала к рассмотрению фиг.2(a), на которой показана простая контактная головка для продольного потока текучей среды (горизонтального или перпендикулярного к плоскости чертежа), содержащая лист 210 из QTC материала, который удерживается между металлическими крепежными деталями 212, которые также являются электродами, обеспечивающими внешнее электрическое подключение. Головка введена в канал для потока текучей среды за счет установки на заплечиках 214 изоляционной подложки 216, образованной на стенке канала. Лист 210 может быть предварительно напряжен до соответствующего уровня электропроводности; альтернативно или дополнительно, подложка 216 может быть разрезана в положении 218 и снабжена таким средством, как винт с мелкой резьбой, для того, чтобы регулировать промежуток между своими двумя частями. Датчик аналогичной конструкции показан далее на фиг.4(c).
Обратимся теперь к рассмотрению фиг.2(b), на которой показан датчик с каналом для потока текучей среды (не показан), в котором вдоль по меньшей мере одной стенки и перпендикулярно направлению потока текучей среды предусмотрена серия элементов 220 в виде гребней, каждый из которых имеет узкую чувствительную к текучей среде область 222 из QTC материала в виде листа, натянутого поверх непроводящего шаблона 224. Шаблон 224 может совершать поворот относительно оси 226 для регулировки степени растяжения. Каждый конец узкой области 222 содержит соединительный элемент 228 из напыленного металла, с которым может быть соединен омический проводник для подключения к внешней электрической схеме. Растягиваемой полимерной композицией может быть, например, никель в достаточном количестве силиконовой резины для получения самонесущего листа или богатые никелем гранулы никель-силикон, которые введены в растягиваемый полимерный лист, или во вспененный материал, или в текстиль, такой как LYCRA .
На фиг.2(c) показан альтернативный вид фиг.2(b). Здесь элемент 240 в виде гребня выступает из отверстия в подложке 241, к которой он прижат на своих концах. Чувствительной областью 242 элемента 240 является вершина гребня, при этом необходимое растяжение создается при помощи регулировки углового шаблона 244. Электрическое соединение с областью 242 производится при помощи металлических электродов 246, образованных при помощи напыления.
На фиг.2(d) показан режим течения, аналогичный фиг.2(b) и 2(c), но модифицированный путем обеспечения чувствительного материала в виде конуса, а не гребня. Листовой QTC материал 260 растянут поверх шаблона 264, выступающего через изоляционный диск 268 для того, чтобы создать чувствительную область 262 на пути движения текучей среды. Проводимость области 262 измеряют между металлическими электродами 266, образованными на диске 268 при помощи напыления и контактирующими с областью 262.
На фиг.2(e) показано аналогичное техническое решение, за исключением того, что изоляционный диск 267 имеет цилиндрическое отверстие, кромки которого поддерживают игольчатые электроды 269, внедренные в область 262 листа 260.
На приведенной далее фиг.5 показано, как устройства в соответствии с фиг.2(c)-2(e) могут быть собраны с образованием многоэлементного анализатора.
На фиг.2(f, g) показаны модификации, в которых большее внимание придается регулировке растяжения. Фиг.2(f) соответствует фиг.2(d), за исключением того, что подложка 263, несущая конический шаблон 264, заменена перфорированной пластиной 274, а функции шаблона 264 выполняет регулируемый по высоте поршень 276. Фиг.2(g) отличается аналогичным образом от фиг.2(e). Так как поршень 276 структурно отделен от пластины 274, то датчик с его использованием легко может быть модифицирован для работы со сквозным пропусканием потока текучей среды, если поршень изготовить из проницаемого для текучей среды материала и подводить поток текучей среды к его нижнему концу.
На фиг.2(h) и 2(i) показаны соответственно сечение и вид сверху датчика, который содержит канал 280 для потока текучей среды, стенка которого предоставляет воздействию текучей среды горбатую область 282, которая представляет собой выпуклый конец сложенного с образованием U-образного сечения листа 284 из QTC полимерной композиции. Лист 284 выступает через полость, ограниченную стенками 286, и упирается в металлические электродные стержни 288, контактируя со стенками полости с достаточным усилием за счет собственной упругости, с возможным содействием за счет частичного сужения полости и/или за счет направленной вверх силы, для того, чтобы обеспечить электрический контакт. Сгиб листа 284 обеспечивает электропроводящий тракт между стержнями 288 за счет растяжения на его внешней стороне и сжатия на его внутренней стороне. Каждый стержень 288 электрически соединен болтами 290 с различными соответствующими сторонами полости, причем механическое непроводящее соединение с соответствующей другой стороной обеспечено при помощи изоляционного блока 292.
Обратимся теперь к рассмотрению фиг.3(a), на которой показан датчик, который содержит показанный в общем виде канал 310 для потока текучей среды, в который введена по меньшей мере одна головка, состоящая из, в направлении снизу вверх, жесткой подложки 312; слоя 314 из QTC материала, покрытого сверху и снизу не пропускающим текучую среду металлом 316, нанесенным за счет испарения (напыления) в качестве электродов, которые подключают к внешней схеме при помощи проводов 318; тонкого слоя 320 разбухающего полимера и жесткого проницаемого кожуха 322, изготовленного из неразбухающего материала, такого как металл, керамический вспененный материал или фритта.
Кожух 322 закреплен таким образом, что он не может совершать перемещение вверх и вниз относительно жесткой подложки 312. В ходе работы текучая среда диффундирует в полимерный слой 320 и вызывает его разбухание, что приводит к сжатию QTC слоя 314, в результате чего повышается его проводимость в соответствии со степенью разбухания. Специфичность отклика может быть изменена за счет изменения полимерного слоя 320. Датчик может занимать существенную длину канала 310 или же, возможно, множество головок, которые содержат различные полимерные слои 320, могут быть расположены вдоль канала для того, чтобы обеспечивать одновременное определение различных отслеживаемых компонентов текучей среды.
На фиг.3(b) показан датчик, построенный в соответствии с теми же принципами, что и датчик фиг.3(a), но с повышенной чувствительностью. В этом случае зона действия разбухающего полимерного слоя разделена при помощи стоек 313. Между каждой парой последовательных стоек 313 расположен полимерный слой 321, причем налегающий блок 315, изготовленный из проводящего материала, такого как металл, идет на конус вниз и упирается в QTC слой 314. Внешние электрические соединения идут к каждому блоку 315 и через подложку 312 к покрытому напыленным металлом QTC слою 314 в целом. Так как использованная полимерная композиция имеет нулевую или низкую проводимость в ее плоскости, то слои 321 в этом датчике могут быть выполнены из различных полимеров для того, чтобы обеспечить чувствительность к различным отслеживаемым компонентам текучей среды.
Обратимся теперь к рассмотрению фиг.3(c), на которой показан датчик, аналогичный показанному на фиг.1(a), но в котором сетка (прежняя позиция 18, теперь позиция 22) отделена от трубки 16 и выполнена с возможностью перемещения верх и вниз. Сетка 22 может содержать электропроводящий материал и действовать в качестве электрода, однако это не является необходимым, если QTC блок 20 имеет проводящее покрытие, такое как нанесенный при помощи напыления металл. Над сеткой 22 расположен блок 24 из проницаемого разбухающего полимера, например, содержащий случайно упакованные частицы вспененный материал с открытыми порами, ткань или ячеистую структуру. Такой полимер должен абсорбировать компонент анализируемой текучей среды и разбухать за счет этого. Над полимерным блоком 24 расположена пористая керамическая фритта 26, которая распределяет генерируемые напряжения по всему блоку 24. Этот датчик используют главным образом аналогично датчику фиг.1(a), однако возможны и особые режимы его работы:
1. блок 24 может извлекать из текучей среды компонент, который не представляет интереса, в результате чего предотвращается маскирование других компонентов, которые следует определять за счет изменения электрического сопротивления тела 20;
2. блок 24 может разбухать и прикладывать давление к телу 20, в результате чего снижается его сопротивление. Это позволяет датчику реагировать на компонент, который является инертным относительно полимерного компонента тела 20, за счет чего расширяется область использования датчика без изменения полимерного компонента тела 20;
3. если отслеживаемый материал присутствует в очень низкой концентрации, то он может накапливаться в блоке 24 в течение относительно длительного времени, после чего он может быть выведен при помощи нагревания (средство не показано) в течение короткого промежутка времени, за счет чего к телу 20 поступает более существенное количество отслеживаемого материала, изменяющее проводимость тела.
Обратимся теперь к рассмотрению фиг.4(a), на которой показан расположенный в канале 410 протекания текучей среды блок 412 проницаемой для текучей среды полимерной композиции, образованной гранулированным QTC никель/силиконом (массовое отношение 7:1; объемное отношение 0,824:1 твердого никеля в композиции), диспергированным в сдавленном силиконовом вспененном материале, как это описано в заявке PCT/GB/02402. Выше и ниже по течению относительно блока 412 расположены жесткие электроды 414 из металлической фритты, которые удерживаются в контакте с блоком 412 при помощи регулируемых болтов 416. Блок 412 может быть электрически непроводящим или слабо проводящим (“с высоким исходным сопротивлением”) при его установке, а затем может быть переведен в проводящее состояние за счет сжатия при затяжке болтов 416. Альтернативно, блок 412 может быть проводящим при его установке, например, за счет более сильного сдавливания (схлопывания) его вспененной структуры, и/или за счет использования исходно проводящего никель/силикона с более высоким содержанием никеля, или за счет усадки при сшивании полимера; в этом случае болты используют для дальнейшего повышения исходной проводимости. Блок 412 и электроды 414 могут быть установлены во внешнем патрубке, который вводят в канал 410, при этом уплотнительное кольцо используют для сопряжения со стенками канала.
На фиг.4(b) показан датчик, аналогичный показанному на фиг.4(a), но за счет использования продольного потока вместо поперечного позволяющий иметь большее время пребывания текучей среды. Канал для потока газа преимущественно имеет прямоугольное поперечное сечение, по меньшей мере в области датчика. Блок 413 может быть образован из такой же композиции, что и блок, показанный на фиг.4(a), причем он расположен между непроницаемыми металлическими электродами 415, а его сжатие производится при помощи регулируемых болтов 417. Альтернативно, при установке в цилиндрическом канале сжатие может регулироваться при помощи трубной скобы, приводимой в движение червяком.
Перспективное изображение датчика, в котором использован показанный на фиг.4(b) принцип, приведено далее на фиг.4(e) и 4(f).
Показанный на фиг.4(c) датчик позволяет иметь относительно короткое время пребывания. Он аналогичен датчику фиг.2(a), но позволяет иметь сквозной поток текучей среды. Чувствительным элементом здесь является лист 430 никель/силиконовых QTC гранул в несущем вспененном материале, аналогично фиг.4(a), который поддерживается при помощи непроводящей неподвижной подложки 432 и выполненной с возможностью горизонтального перемещения подложки 434, за счет регулировки которой изменяется растяжение и, следовательно, проводимость листа 430. У концов листа 430 установлены электроды 436, электрический контакт которых с листом 430 обеспечен при помощи болтов 438.
На фиг.4(d) показан датчик, который может быть использован на выпускной трубе 440. Он содержит наружный каркас 442, имеющий проницаемую для текучей среды область 444 стенки и поддерживающий сформированный внутри него цилиндрический блок 446, имеющий осевое отверстие, в которое плотно входит конец трубы 440 и которое закрыто на нижнем конце 448 так, что поток текучей среды выходит наружу через область 444. Труба 440 может иметь перфорированный нижний удлиненный конец, контролирующий распределение поступающего в блок потока. Блок 446 изготовлен из такой же поддерживаемой вспененным материалом полимерной композиции, что и блок, показанный на фиг.4(a). С верхней стороны блок 446 имеет электрический контакт с полым металлическим цилиндром 450, который плотно насажен на трубу 440 и закреплен относительно блока 446 в каркасе 442. С нижнего конца 448 блок 446 имеет электрический контакт с металлическим цилиндром 452, который может совершать перемещение вверх и вниз в каркасе 442 для регулировки проводимости блока 446.
Показанные на фиг.4(e, f) элементы 413, 415 и 417 соответствуют элементам, показанным на фиг.4(b). Электроды 415 изготовлены из нержавеющей стали, и их положение относительно QTC блока 413 регулируется при помощи болтов 417. Они могут быть сняты или заменены за счет осевого сдвига относительно цилиндра 420. Все устройство собрано внутри внешнего цилиндра 420, который преимущественно изготовлен из акрилового полимера “PERSPEX” и имеет канавки для размещения уплотнительных колец 422, которые образуют уплотнение при вводе в цилиндрический канал для потока текучей среды.
Обратимся теперь к рассмотрению фиг.5(a, b), на которых показано, как устройства в соответствии с фиг.2(c)-2(e) могут быть использованы для создания многоэлементного анализатора. На фиг.5(a) показана имеющая конусы 264 жесткая подложка 263, которую совмещают с QTC листом 260 и с отверстиями 265 изоляционных дисков 266, 267, возможно на валу, проходящем через отверстия 272. После совмещения все три элемента прижимают друг к другу (стягивают вместе).
На фиг.5(b) показана модификация фиг.5(a), в которой большее внимание уделяется регулировке для обеспечения растяжения. В этом случае имеющая конусные шаблоны 264 подложка 263 заменена перфорированной пластиной 274, а функцию шаблонов 264 выполняют регулируемые по высоте поршни 276. Этот анализатор собирают аналогично показанному на фиг.5(a).
Обратимся теперь к рассмотрению фиг.5(c), на которой показан миниатюрный датчик 510 сквозного потока, аналогичный описанному со ссылкой на фиг.1, 3(c) или 4(c). Датчики 510 введены во все отверстия 512 диска 514. Диск 514 вращается на подшипнике 516 при помощи привода (не показан). Впуск 518 текучей среды каждого датчика подключен к отдельному источнику аналита или к поворотной клапанной системе распределения (не показана). Использование такой поворотной клапанной системы распределения позволяет каждому датчику работать в последовательных фазах, таких как, например, сорбция, приведение в равновесие, десорбция/промывка.
Обратимся теперь к рассмотрению фиг.5(d), на которой показана система в соответствии с фиг.5(c), которая может работать с приложением электрического напряжения вместо механического напряжения или в дополнение к нему. В положении 520 импульс высокого напряжения прикладывают к QTC материалу в датчике “А” при помощи его электродов, что приводит к возбуждению проводимости. Датчик “А” затем перемещают в положение 522, в котором его подключают к схеме моста Уитстона. После этого создают поток аналита и измеряют его воздействие на проводимость. После проведения измерения датчик “А” перемещают в положение 524 для проведения последующих фаз, аналогичных ранее описанным, или для проведения возможной электрической регенерации. Когда датчик “А” доходит до положения 522, то другой датчик “В” приходит в положение 520 и возбуждается при помощи импульса высокого напряжения и т.д.
На фиг.6 показаны воздействия различных паров на проводимость. В этих случаях используют блок контактирования, показанный на фиг.1, причем блок 20 содержит QTC полимерную композицию со следующим составом:
| проводящий наполнитель |
никель 287 (INCO Corp) |
| полимер |
‘SILCOSET 153’ (Amber Chemicals: силиконовая резина с ацетоксивулканизацией, с армированием из плавленого кварца) |
| отношение никель:полимер |
8:1 по массе |
| размер гранул |
проходят через сито 18 меш и остаются на сите до 50 меш. |
Блок контактирования подключают к источнику сухого азота под давлением 1 атмосфера непосредственно или через барботер, содержащий аналит в жидком виде. Верхний и нижний электроды 18, 14 при помощи выводов соединены со схемой, которая содержит:
WEIR 4000 – источник напряжения;
KEITHLEY 2000 – мультиметр (мост для измерения малых сопротивлений на полевых транзисторах) и
Lab VIEW – программное обеспечение для персонального компьютера.
Испытание начинают с подачи азота, при этом подают электропитание 10 вольт, 1 мА и регулируют положение трубки 16 до тех пор, пока проводимость не станет равна ожидаемой и будет поддерживаться постоянной в течение 15 мин. Затем подачу газа переключают на прохождение через барботер, содержащий n-гексан. Как это показано на фиг.6(a, b), сопротивление возрастает в течение 10 мин до величины, которая в 104 раз превышает исходное значение, причем большая часть возрастания происходит в течение первых восьми минут, что соответствует сорбции на силиконе. Через 40 мин производят переключение подачи газа вновь на чистый азот. Теперь сопротивление уменьшается с коэффициентом около 100 раз в течение 5 мин и доходит до своего начального значения за приблизительно 16 мин.
На других графиках фиг.6 показаны аналогичные диапазоны вариаций сопротивления, различие состоит только в скорости сорбции или десорбции. В других экспериментах было показано, что устройство способно реагировать на наличие паров воды в азоте.
В таблице показаны результаты для трех датчиков, в которых проводящий наполнитель из никеля был диспергирован соответственно в силиконе, полиуретане и в поливиниловом спирте. При каждом определении QTC материал сжимали ориентировочно до получения сопротивления 20 Ом. Расход азота составлял 50 мл/мин при насыщении парами при комнатной температуре. В каждой клетке таблицы сопротивление (Ом) дано для 30 с, 60 с и при насыщении (то есть при отсутствии дальнейшего роста), причем промежутки времени отсчитывали от момента начала изменения сопротивления. Наблюдали также, что при прекращении подачи аналита, но при продолжении подачи чистого азота сопротивление мгновенно падает до его начальной величины. Следовательно, такой датчик является весьма эффективным для обнаружения прекращения подачи желательного компонента потока текучей среды.
Обратимся теперь к рассмотрению фиг.7, на которой показан датчик, который содержит наружную трубку 710, имеющую секцию 712 впуска текучей среды 712 и секцию 714 выпуска. Секция 714 имеет меньший диаметр, чем секция 712, и образует кольцевую полку (фланец) 716 в месте стыка секций. Однако можно также использовать трубки с одинаковыми диаметрами и вводить кольцевую вставку. На полке 716 лежит опорная сетка 718 из электроизоляционного материала, которая в свою очередь служит опорой для цилиндрического блока 720 из взаимно сцепленных частиц, каждая из которых представляет собой агрегат QTC гранул, покрытых обладающей усадкой термореактивной эпоксидной смолой. Блок 720 имеет металлические клеммы 722 для внешнего электрического соединения через изоляционные втулки (не показаны). Клеммы 722 могут быть отделены друг от друга в направлении по оси или по диаметру. Они могут быть образованы из металлической сетки сверху и снизу и в этом случае прикладывают осевое давление для обеспечения электрического контакта. Для случая поперечного отделения металлические электроды могут быть, например:
в контакте с периферией блока; или
высверлены в блоке около его периферии; или
впрессованы в верхнюю поверхность около периферии блока; или
вставлены в блок около его периферии.
Формула изобретения
1. Датчик на химические или биологические вещества, или частицы, или радиацию, содержащий:
i) тело из полимерной композиции с диспергированными в ней частицами проводящего наполнителя из металла, сплава или восстановленного оксида металла, причем указанное тело имеет первый уровень электропроводности в состоянии покоя и является переводимым в состояние со вторым, отличающимся, уровнем электропроводности за счет изменения механического напряжения, приложенного к телу при помощи растяжения или сжатия, или электрического поля; и
ii) электроды, соединенные с указанным телом для подсоединения к электрической схеме, чувствительной к изменению проводимости указанного тела;
отличающийся тем, что указанный датчик дополнительно содержит:
iii) канальный элемент с образованным в нем каналом для протекания испытуемой текучей среды;
при этом указанное тело является проницаемым для указанной испытуемой текучей среды и простирается поперек канала, в результате чего в ходе работы указанная испытуемая текучая среда протекает через указанное тело.
2. Датчик по п.1, в котором указанное тело представляет собой слой гранул из указанной полимерной композиции.
3. Датчик по п.2, в котором указанный слой гранул поддерживается в канале между двумя перфорированными решетками, образующими электроды.
4. Датчик по п.3, в котором по меньшей мере одна из решеток выполнена с возможностью перемещения в направлении к другой, в результате чего указанный слой может быть сжат.
5. Датчик по п.1, в котором указанное тело представляет собой лист из указанной полимерной композиции.
6. Датчик по п.5, в котором предусмотрено средство для растяжения указанного листа.
7. Датчик по п.6, в котором указанное средство для растяжения листа содержит трубку, упирающуюся в одну из поверхностей листа и выполненную с возможностью перемещения в направлении, перпендикулярном плоскости листа.
8. Датчик по любому из пп.5-7, в котором лист удерживается между зажимами, образующими электроды, расположенные с каждой стороны канала.
9. Датчик по п.5, в котором лист содержит пену или текстиль с диспергированными в ней/нем гранулами указанной полимерной композиции.
РИСУНКИ
|
|