|
|
(21), (22) Заявка: 2005112947/12, 29.04.2005
(24) Дата начала отсчета срока действия патента:
29.04.2005
(46) Опубликовано: 10.12.2006
(56) Список документов, цитированных в отчете о поиске:
US 4180929 А, 01.01.1980. US 4070774 A1, 31.01.1978. RU 2176413 C2, 27.11.2001.
Адрес для переписки:
143981, Московская обл., г.Железнодорожный, мкр. Южное Кучино, 3, кв.247, В.И.Страхову
|
(72) Автор(ы):
Страхов Валентин Иванович (RU)
(73) Патентообладатель(и):
Страхов Валентин Иванович (RU)
|
(54) СПОСОБ ИЗГОТОВЛЕНИЯ ЭТИКЕТКИ И ЭТИКЕТКА
(57) Реферат:
Изобретение относится к способу изготовления этикетки и к ее конструкции. Этикетка содержит отдельные элементы, соединенные с подложной и между собой посредством клеевого слоя, и нанесенные наборы символов для идентификации продукции и защиты от подделки. В качестве отдельных элементов использована группа из трех элементов, в качестве наружного элемента использован поливинилхлоридный элемент с клеевым слоем, в качестве второго и третьего элементов использованы элементы из сигаретной бумаги, а подложка выполнена из мелованной бумаги. Причем на второй и третий элементы нанесены в продольном направлении идентичные пары полос слоев нитрокраски и клеевого слоя с образованием на последнем свободных зон для получения воздушной прослойки. При этом подложка несет расположенные в продольном направлении и разнесенные один относительно другого пары полос слоев нитрокраски, размещенные аналогично парам полос на втором и третьем элементах, между каждой из пар полос нанесен клеевой слой, а набор символов нанесен между парами полос. Предложенное изобретение обеспечивает повышение качества защиты от подделки с одновременным упрощением конструкции. 2 н. и 2 з.п. ф-лы, 3 ил.
Изобретение относится к области полиграфии, в частности к способу изготовления этикетки и к ее конструкции, защищенной от подделки и обладающей пломбирующими свойствами, она может применяться для маркировки товаров для их идентификации и защиты от подделки, также для контроля и предупреждения несанкционированного вскрытия этих товаров, а также использоваться в рекламе и в средствах для обучения и различных играх.
Известен способ изготовления этикетки, заключающийся в образовании подложки и соединении с ней и между собой послойно посредством клеевого слоя отдельных элементов и нанесении набора символов для идентификации продукции и защиты от подделки (см. патент США №4180929, кл. G 09 F 3/02, 01.01.1980 – аналог и прототип).
Здесь же описана и этикетка, содержащая соединенные с подложкой и между собой посредством клеевого слоя отдельные элементы и нанесенные наборы символов для идентификации продукции и защиты от подделки.
Недостатком известных способа изготовления этикетки и этикетки является сложность конструкции и низкое качество защиты.
Техническим результатом изобретения является упрощение конструкции и повышение качества защиты от подделки.
В способе достигается это тем, что в качестве отдельных элементов используют группу из трех элементов, в качестве наружного элемента используют поливинилхлоридный элемент с нанесенным клеевым слоем, в качестве второго и третьего элементов используют элементы из сигаретной бумаги, а подложку выполняют из мелованной бумаги, причем на второй и третий элементы наносят в продольном направлении и разнесенные один относительно другого идентичные пары полос слоев нитрокраски, второй элемент напрессовывают плоскостью без полос нитрокраски на клеевой слой поливинилхлоридного элемента, на свободную плоскость второго элемента по направлению просвечивающих полос нитрокраски наносят клеевой слой, оставляя свободные зоны, затем третий элемент напрессовывают на второй, совмещая соответствующие полосы нитрокраски для образования в свободных зонах воздушной прослойки и размещая полосы третьего элемента снаружи, на подложку наносят в продольном направлении и разнесенные один относительно другого пары полос слоев нитрокраски, расположенные аналогично парам полос на втором и третьем элементах, между каждой из пар полос наносят клеевой слой, набор символов наносят между парами полос, при этом после нанесения символов осуществляют напрессовывание третьего элемента на подложку с образованием по торцам зон для захвата при удалении элементов.
В этикетке это достигается тем, что в качестве отдельных элементов использована группа из трех элементов, в качестве наружного элемента использован поливинилхлоридный элемент с клеевым слоем, в качестве второго и третьего элементов использованы элементы из сигаретной бумаги, а подложка выполнена из мелованной бумаги, причем на второй и третий элементы нанесены в продольном направлении и разнесенные один относительно другого идентичные пары полос слоев нитрокраски и клеевого слоя с образованием на последнем свободных зон для получения воздушной прослойки, при этом подложка несет расположенные в продольном направлении и разнесенные один относительно другого пары полос слоев нитрокраски, размещенные аналогично парам полос на втором и третьем элементах, между каждой из пар полос нанесен клеевой слой, а набор символов нанесен между парами полос.
Также подложка выполнена с возможностью соединения с ценной бумагой.
При этом подложка выполнена с возможностью соединения с лотерейным билетом, а набор символов содержит игровые символы.
Сущность изобретения поясняется чертежами, где на:
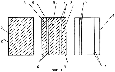
Фиг.1 изображены три отдельных элемента,
Фиг.2 – подложка,
Фиг.3 – этикетка в сборе.
Способ изготовления этикетки заключается в образовании подложки 1 и соединении с ней и между собой послойно посредством клеевого слоя отдельных элементов и нанесении набора символов для идентификации продукции и защиты от подделки.
В качестве отдельных элементов используют группу из трех элементов 2, 3, 4.
В качестве наружного элемента 2 использует поливинилхлоридный элемент (ленту ПВХ) с нанесенным клеевым слоем 5.
В качестве второго 3 и третьего 4 элементов используют элементы из сигаретной бумаги, а подложка 1 выполнена из мелованной бумаги.
На второй 3 и третий 4 элементы наносят в продольном направлении и разнесенные один относительно другого идентичные пары полос 6, 7 слоев нитрокраски.
Второй элемент 3 напрессовывают плоскостью без полос нитрокраски на клеевой слой 5 поливинилхлоридного элемента 2, на свободную плоскость второго элемента 3 по направлению просвечивающих полос нитрокраски 6, 7 наносят клеевой слой 8, оставляя свободные зоны 9.
Затем третий элемент 4 напрессовывают на второй 3, совмещая соответствующие полосы 6, 7 нитрокраски для образования в свободных зонах 9 воздушной прослойки 10 и размещая полосы 6, 7 третьего элемента 4 снаружи.
На подложку 1 наносят в продольном направлении и разнесенные один относительно другого пары полос 11, 12 слоев нитрокраски, расположенные аналогично парам полос 6, 7 на втором 3 и третьем 4 элементах, между каждой из пар полос наносят клеевой слой 13.
Набор символов 14 наносят между парами полос 11, 12.
После нанесения символов 14 осуществляют напрессовывание третьего элемента 4 на подложку 1 с образованием по торцам зон 15 захвата при удалении элементов 2, 3, 4.
Этикетка содержит соединенные с подложкой 1 и между собой посредством клеевого слоя отдельные элементы и нанесенные наборы символов для идентификации продукции и защиты от подделки.
В качестве отдельных элементов использована группа из трех элементов 2, 3, 4.
В качестве наружного элемента 2 использован поливинилхлоридный элемент с клеевым слоем 5.
В качестве второго 3 и третьего 4 элементов использованы элементы из сигаретной бумаги, а подложка 1 выполнена из мелованной бумаги.
На второй 3 и третий 4 элементы нанесены в продольном направлении и разнесенные один относительно другого идентичные пары полос 6, 7 слоев нитрокраски и клеевого слоя 8 с образованием на последнем 4 свободных зон 9 для получения воздушной прослойки 10.
Подложка 1 несет расположенные в продольном направлении и разнесенные один относительно другого пары 11, 12 полос слоев нитрокраски, размещенные аналогично парам полос 6, 7 на втором 3 и третьем 4 элементах, между каждой из пар 11, 12 полос нанесен клеевой слой 13, а набор символов 14 нанесен между парами полос 11, 12.
Подложка 1 выполнена с возможностью соединения с ценной бумагой.
Подложка 1 выполнена с возможностью соединения с лотерейным билетом, а набор 14 символов содержит игровые символы.
Функционирует этикетка следующим образом.
На линии границ пар 6, 7 полос нанесенной нитрокраски она проникает в структуру сигаретной бумаги и делает ее более хрупкой на разрыв. Клей же, наоборот, усиливает структуру и нейтрализуется в структуре сигаретной бумаги. За счет наличия воздушной прослойки 10 по линиям границ совмещения хрупкость, т.е. сила отрыва, нужна минимальной, чтобы слой бумаги, заключенный в линиях (полосах 6, 7) нитрокраски, отошел по линиям, почти ровно оставляя визуальный след, не поддающийся искусственному восстановлению незамеченным. На полоске предполагаемого отрыва можно напечатать нитрокраской название фирмы для усиления подлинности, поскольку нитрокраска остается на материале вместе с полосой отрыва.
Сигаретная бумага имеет рыхлую структуру, но достаточную для нейтрализации клея на наружном элементе 2 из ПВХ. Диффузия дает прочное склеивание, и при попытке несанкционированного удаления группы из трех элементов 2, 3, 4 (защитный слой) слой третьего элемента 4 вырывается и не восстанавливается, т.к. клей нейтрализуется и виден визуально, и поддается обнаружению.
Таким образом, изобретение упрощает конструкцию и повышает степень защиты от подделки.
Промышленная применимость.
Изобретение может быть использовано для изготовления этикеток и для проведения массовых развлечений, например лотерей.
Формула изобретения
1. Способ изготовления этикетки, заключающийся в образовании подложки и соединении с ней и между собой послойно посредством клеевого слоя отдельных элементов, и нанесении набора символов для идентификации продукции и защиты от подделки, отличающийся тем, что в качестве отдельных элементов используют группу из трех элементов, в качестве наружного элемента используют поливинилхлоридный элемент с нанесенным клеевым слоем, в качестве второго и третьего элементов используют элементы из сигаретной бумаги, а подложку выполняют из мелованной бумаги, причем на второй и третий элементы наносят в продольном направлении разнесенные одна относительно другой идентичные пары полос слоев нитрокраски, второй элемент напрессовывают плоскостью без полос нитрокраски на клеевой слой поливинилхлоридного элемента, на свободную плоскость второго элемента по направлению просвечивающих полос нитрокраски наносят клеевой слой, оставляя свободные зоны, затем третий элемент напрессовывают на второй, совмещая соответствующие полосы нитрокраски для образования в свободных зонах воздушной прослойки и размещая полосы третьего элемента снаружи, на подложку наносят в продольном направлении и разнесенные одна относительно другой пары полос слоев нитрокраски, расположенные аналогично парам полос на втором и третьем элементах, между каждой из пар полос наносят клеевой слой, а набор символов наносят между парами полос, при этом после нанесения символов осуществляют напрессовывание третьего элемента на подложку с образованием по торцам зон для захвата при удалении элементов.
2. Этикетка, содержащая соединенные с подложной и между собой посредством клеевого слоя отдельные элементы и нанесенные наборы символов для идентификации продукции и защиты от подделки, отличающаяся тем, что в качестве отдельных элементов использована группа из трех элементов, в качестве наружного элемента использован поливинилхлоридный элемент с клеевым слоем, в качестве второго и третьего элементов использованы элементы из сигаретной бумаги, а подложка выполнена из мелованной бумаги, причем на второй и третий элементы нанесены в продольном направлении и разнесенные одна относительно другой идентичные пары полос слоев нитрокраски и клеевого слоя с образованием на последнем свободных зон для получения воздушной прослойки, при этом подложка несет расположенные в продольном направлении и разнесенные одна относительно другой пары полос слоев нитрокраски, размещенные аналогично парам полос на втором и третьем элементах, между каждой из пар полос нанесен клеевой слой, а набор символов нанесен между парами полос.
3. Этикетка по п.2, отличающаяся тем, что подложка выполнена с возможностью соединения с ценной бумагой.
4. Этикетка по п.2, отличающаяся тем, что подложка выполнена с возможностью соединения с лотерейным билетом, а набор символов содержит игровые символы.
РИСУНКИ
|
|