|
|
(21), (22) Заявка: 2005117278/28, 07.06.2005
(24) Дата начала отсчета срока действия патента:
07.06.2005
(46) Опубликовано: 10.12.2006
(56) Список документов, цитированных в отчете о поиске:
SU 165000 A1, 08.10.1964. RU 2086975 C1, 10.08.1997. RU 2084889 C1, 20.07.1997. RU 2243532 C2, 27.12.2004. SU 989352 A1, 15.01.1983. RU 2216466 C2, 20.11.2003. SU 310834 A1, 09.08.1971. WO 9013814 A1, 15.11.1990. GB 1153168 A, 29.05.1969. EP 0667526 A1, 16.08.1995.
Адрес для переписки:
107174, Москва, ул. Новая Басманная, 2, а/я 25, В.И. Горделию
|
(72) Автор(ы):
Горделий Виталий Иванович (RU)
(73) Патентообладатель(и):
Горделий Виталий Иванович (RU)
|
(54) АВТОМАТИЗИРОВАННАЯ УСТАНОВКА ДЛЯ ДЕФЕКТОСКОПИИ КОЛЕСНЫХ ПАР ВАГОНОВ
(57) Реферат:
Использование: для дефектоскопии колесных пар вагонов. Сущность: заключается в том, что автоматизированная установка для дефектоскопии колесных пар вагонов содержит устройство подачи колесных пар с механизмом их разворота, устройство очистки зоны контроля, устройство вращения колесных пар, при этом цепи управления устройств и кареток соединены с пультом управления, средство диагностики состоит из установленных в каретках электромагнитно-акустических преобразователей, выходы которых через блок усилителей подключены к входу блока предварительной обработки информации, соединенного с вычислительным блоком, входы электромагнитно-акустических преобразователей подключены к соответствующим выходам блока генераторов, к выходу блока синхронизации подключены входы синхронизации блока генераторов, блока предварительной обработки информации и пульта управления, вход блока синхронизации соединен с выходом оптического датчика метки. Установленные в каретках электромагнитно-акустические преобразователи расположены с учетом максимально возможного объема прозвучивания контролируемого изделия. Технический результат: обеспечение высокой точности и достоверности контроля колесных пар рельсового транспорта и снижение требований к качеству их очистки от возникших при эксплуатации загрязнений, необходимой при подготовке изделия к контролю. 1 ил.
Изобретение относится к средствам неразрушающего контроля и может быть использовано в контрольно-испытательном оборудовании для диагностики состояния колесных пар железнодорожного состава.
Известно устройство для ультразвуковой дефектоскопии колесных пар рельсового транспорта, содержащее неподвижное основание с опорами для испытываемой колесной пары, привод с фрикционным роликом, расположенный с возможностью взаимодействия с боковой поверхностью колеса испытываемой колесной пары, подъемно-поворотное устройство для подъема и поворота колесной пары, две иммерсионные ванны, размещенные по вертикальному уровню ниже оси вращения испытываемой колесной пары и ее опор, два сканирующих устройства с пьезоэлектрическими преобразователями, дефектоскоп ультразвуковой, многоканальный коммутатор пьезоэлектрических преобразователей, блок регистрации угла поворота колесной пары вокруг ее оси вращения, включающий в себя съемную метку начала угловой координаты, датчик регистрации начала координат и датчик регистрации угла поворота колесной пары, причем выходы блока регистрации угла поворота колесной пары вокруг ее оси вращения и ультразвукового дефектоскопа соединены с входом блока управления, который соединен с многоканальным коммутатором пьезоэлектрических преобразователей и вычислительно-запоминающим устройством (RU 2002123550, G 01 N 29/04, 27.03.04).
К недостаткам известного устройства для ультразвуковой дефектоскопии колесных пар рельсового транспорта следует отнести относительную сложность установки, обусловленную наличием двух иммерсионных ванн, недостаточно высокую достоверность ультразвукового неразрушающего контроля из-за использования пьезоэлектрических преобразователей и как следствие недостаточно объективная регистрация результатов контроля.
В качестве прототипа принята установка для ультразвуковой дефектоскопии колесных пар рельсового транспорта, содержащая устройство для подачи колесных пар, узел поворота, на котором установлен блок датчиков, выполненный с использованием пьезоэлектрических преобразователей, выходы которых через блок усилителей подключены к входу блока предварительной обработки информации, соединенного с вычислительным блоком и запоминающим устройством (Стенд для ультразвуковой дефектоскопии колесных пар AURA фирмы Reise & Touristik, Германия, 1999). В известной установке обеспечивается быстрая оценка состояния колесных пар, компьютерная визуализация результатов исследований с возможностью последующей оценки результатов испытаний на базе хранящихся в запоминающем устройстве изображений. Установка проста в обслуживании благодаря ориентированному на пользователя программному обеспечению, в ней предусмотрена возможность проведения работ по оценке состояния стенда с последующим документированием результатов.
Недостатком установки для ультразвуковой дефектоскопии колесных пар рельсового транспорта является необходимость тщательной подготовки контролируемых колесных пар (очистка от краски, грязи и т.д.) для правильной работы установки, что обуславливает значительные трудозатраты, а после завершения операции контроля необходима отмывка колес от масла, используемого в качестве контактной жидкости при контроле. Это в свою очередь накладывает дополнительные трудности в технологическом процессе контроля колесных пар. Используемая в установке схема прозвучивания и применение пьезоэлектрических преобразователей, для работы которых необходима контактная жидкость, не позволяют достичь высокой точности контроля при малых временных затратах на подготовку контролируемого изделия и сам процесс контроля. Кроме того, в установке для обеспечения необходимой проверки заданных областей колесной пары требуется относительно большое число ультразвуковых излучателей.
Технический результат заключается в обеспечении высокой точности и достоверности контроля колесных пар рельсового транспорта и снижении требований к качеству их очистки от возникших при эксплуатации загрязнений, необходимой при подготовке изделия к контролю.
Технический результат достигается тем, что в автоматизированной установке для дефектоскопии колесных пар вагонов содержащей устройство подачи колесных пар с механизмом их разворота, устройство очистки зоны контроля, устройство вращения колесных пар, средство диагностики, состоящее из вычислительного блока, блока предварительной обработки информации и блока усилителей, пульт управления и каретки для размещения ультразвуковых преобразователей, средство диагностики снабжено блоком генераторов, блоком синхронизации, оптическим датчиком метки и электромагнитно-акустическими преобразователями, выходы электромагнитно-акустических преобразователей через блок усилителей подключены к входу блока предварительной обработки информации, который соединен с вычислительным блоком, входы электромагнитно-акустических преобразователей подключены к соответствующим выходам блока генераторов, выход оптического датчика метки соединен с входом блока синхронизации, к выходу которого подключены входы синхронизации блока генераторов, блока предварительной обработки информации и пульта управления, который соединен с цепями управления устройства подачи колесных пар с механизмом их разворота, устройства очистки зоны контроля, устройства вращения колесных пар и каретки, при этом электромагнитно-акустические преобразователи установлены в каретках так, что по отношению к контролируемому изделию первый электромагнитно-акустический преобразователь, формирующий волны Релея, и второй приемный электромагнитно-акустический преобразователь расположены под углом к оси катания колеса, третий электромагнитно-акустический преобразователь, излучающий и принимающий сдвиговые волны, расположен над поверхностью обода колеса, четвертый и пятый электромагнитно-акустические преобразователи, излучающие и принимающие сдвиговые волны и выполненные с углом ввода ультразвуковых колебаний соответственно по нормали и 43°, расположены в зоне основного сечения обода, шестой, седьмой, восьмой и девятый электромагнитно-акустические преобразователи, формирующие и принимающие волны Релея, расположены в зоне диска колеса, десятый и одиннадцатый электромагнитно-акустические преобразователи, излучающие и принимающие сдвиговые волны, расположены в зоне ступицы колеса, двенадцатый и тринадцатый электромагнитно-акустические преобразователи, формирующие и принимающие волны Релея, расположены в средней части оси колесной пары, четырнадцатый и пятнадцатый электромагнитно-акустические преобразователи, выполненные с углом ввода ультразвуковых колебаний 43°, расположены в зоне подступичной части оси колесной пары, шестнадцатый и семнадцатый электромагнитно-акустические преобразователи с углом ввода ультразвуковых колебаний соответственно по нормали и 43° расположены в зоне шейки оси.
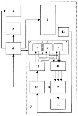
На чертеже представлена структурная схема автоматизированной установки для дефектоскопии колесных пар вагонов.
Автоматизированная установка для дефектоскопии колесных пар вагонов содержит устройство 1 подачи колесных пар с механизмом их разворота, устройство 2 очистки зоны контроля, устройство 3 вращения колесных пар, при этом цепи управления устройств 1, 2 и 3 и кареток 6 соединены с пультом 4 управления, средство 5 диагностики состоит из установленных в каретках 6 электромагнитно-акустических преобразователей 7, выходы которых через блок 8 усилителей подключены к входу блока 9 предварительной обработки информации, соединенного с вычислительным блоком 10, входы электромагнитно-акустических преобразователей 7 подключены к соответствующим выходам блока 11 генераторов, к выходу блока 12 синхронизации подключены входы синхронизации блока 11 генераторов, блока 9 предварительной обработки информации и пульта 4 управления, вход блока 12 синхронизации соединен с выходом оптического датчика 13 метки.
Автоматизированная установка для дефектоскопии колесных пар вагонов работает следующим образом.
Подача колесных пар на контроль может осуществляться в двух режимах – ручном и автоматическом. В автоматическом режиме управление осуществляется системой автоматики, а в ручном – оператором с пульта 4 управления. Перед осуществлением контроля устройство 2 очистки зоны контроля обеспечивает предварительную подготовку изделия к контролю. После чего каретки 6 перемещаются и электромагнитно-акустические преобразователи 7 устанавливаются в рабочее положение. Размещение электромагнитно-акустических преобразователей 7 в каретках 6 выполнено с учетом максимально возможного объема прозвучивания контролируемого изделия: первый электромагнитно-акустический преобразователь, формирующий волны Релея, и второй приемный электромагнитно-акустический преобразователь расположены под углом к оси катания колеса, третий электромагнитно-акустический преобразователь, излучающий и принимающий сдвиговые волны, расположен над поверхностью обода колеса, четвертый и пятый электромагнитно-акустические преобразователи, излучающие и принимающие сдвиговые волны и выполненные с углом ввода ультразвуковых колебаний соответственно по нормали и 43°, расположены в зоне основного сечения обода, шестой, седьмой, восьмой и девятый электромагнитно-акустические преобразователи, формирующие и принимающие волны Релея, расположены в зоне диска колеса, десятый и одиннадцатый электромагнитно-акустические преобразователи, излучающие и принимающие сдвиговые волны, расположены в зоне ступицы колеса, двенадцатый и тринадцатый электромагнитно-акустические преобразователи, формирующие и принимающие волны Релея, расположены в средней части оси колесной пары, четырнадцатый и пятнадцатый электромагнитно-акустические преобразователи, выполненные с углом ввода ультразвуковых колебаний 43°, расположены в зоне подступичной части оси колесной пары, шестнадцатый и семнадцатый электромагнитно-акустические преобразователи с углом ввода ультразвуковых колебаний соответственно по нормали и 43° расположены в зоне шейки оси. Электрические сигналы, вырабатываемые блоком 11 генераторов, подаются на электромагнитно-акустические преобразователи 7, каждый из которых возбуждает в заданной зоне контролируемого изделия ультразвуковые колебания. Отраженные ультразвуковые сигналы принимаются приемными электромагнитно-акустическими преобразователями 7, где преобразовываются в электрический сигнал. Преобразованный сигнал после усиления в блоке 8 усилителей поступает в блок 9 предварительной обработки информации, где он обрабатывается и преобразуется к виду, удобному для дальнейшей обработки в вычислительном блоке 10. Блок 12 синхронизации синхронизирует работу генераторов в блоке 11, блока 9 предварительной обработки информации, с выхода которого предварительно обработанная информация и синхроимпульсы передаются в вычислительный блок 10. Кроме того, импульс синхронизации поступает в пульт 4 управления. Запуск блока 12 синхронизации осуществляется по сигналу с выхода оптического датчика 13, фиксирующего начало отсчета координаты, которое определяется по метке, нанесенной на одну из сторон обода колеса. Контроль поверхности катания осуществляется первым и вторым электромагнитно-акустическими преобразователями. Глубина выявления дефектов может достигать 10 мм. Контроль обода колеса обеспечивается третьим электромагнитно-акустическим преобразователем, который позволяет выявить все несплошности, расположенные перпендикулярно направлению распространения волны. Четвертым и пятым электромагнитно-акустическими преобразователями выявляются продольные расслоения обода и трещины на боковых поверхностях обода. Контроль диска колеса (включая приободную зону) производится шестым, седьмым, восьмым и девятым электромагнитно-акустическими преобразователями, которые позволяют выявить трещины, расположенные перпендикулярно направлению распространения волны. Контроль ступицы колеса производится десятым и одиннадцатым электромагнитно-акустическими преобразователями, которые позволяют выявить дефекты, расположенные перпендикулярно распространению волны. Контроль оси осуществляется двенадцатым, тринадцатым, четырнадцатым, пятнадцатым, шестнадцатым и семнадцатым электромагнитно-акустическими преобразователями. При этом средняя часть оси контролируется двенадцатым и тринадцатым электромагнитно-акустическими преобразователями, внешняя подступичная часть оси контролируется четырнадцатым и пятнадцатым электромагнитно-акустическими преобразователями, а шейка оси контролируется шестнадцатым и семнадцатым электромагнитно-акустическими преобразователями. Обработанная в вычислительном блоке 10 информация записывается в память этого блока, что позволяет сохранить информацию для ее дальнейшего использования.
При эхо и теневом методах контроля с одной поверхности обода, диска колеса и оси колесной пары используются волны Релея и Лэмба, формируемые электромагнитно-акустическими преобразователями.
Предлагаемая автоматизированная установка в процессе контроля осей позволяет выявить следующие дефекты: поперечные трещины на цилиндрических поверхностях шеек, поперечные поверхностные трещины в галтелях шеек, поперечные поверхностные трещины в средней части, внутренние дефекты металлургического происхождения. В процессе контроля цельнокатаных колес подлежат выявлению следующие дефекты: поверхностные поперечные и продольные трещины, расслоения, поверхностный откол у наружной грани обода, откол кругового наплыва, поверхностные поперечные трещины, а также внутренние трещины, нарушения сплошности и неметаллические включения в наплавленном слое гребня, усталостные поверхностные трещины в зоне галтельного перехода диска в обод, неметаллические включения и внутренние сплошности металла в ободе колеса.
Формула изобретения
Автоматизированная установка для дефектоскопии колесных пар вагонов, содержащая устройство подачи колесных пар с механизмом их разворота, устройство очистки зоны контроля, устройство вращения колесных пар, средство диагностики, состоящее из вычислительного блока, блока предварительной обработки информации и блока усилителей, пульт управления и каретки для размещения ультразвуковых преобразователей, отличающаяся тем, что средство диагностики снабжено блоком генераторов, блоком синхронизации, оптическим датчиком метки и электромагнитно-акустическими преобразователями, выходы электромагнитно-акустических преобразователей через блок усилителей подключены к входу блока предварительной обработки информации, который соединен с вычислительным блоком, входы электромагнитно-акустических преобразователей подключены к соответствующим выходам блока генераторов, выход оптического датчика метки соединен с входом блока синхронизации, к выходу которого подключены входы синхронизации блока генераторов, блока предварительной обработки информации и пульта управления, который соединен с цепями управления устройства подачи колесных пар с механизмом их разворота, устройства очистки зоны контроля, устройства вращения колесных пар и кареток, при этом электромагнитно-акустические преобразователи установлены в каретках так, что по отношению к контролируемому изделию первый электромагнитно-акустический преобразователь, формирующий волны Релея, и второй приемный электромагнитно-акустический преобразователь расположены под углом к оси катания колеса, третий электромагнитно-акустический преобразователь, излучающий и принимающий сдвиговые волны, расположен над поверхностью обода колеса, четвертый и пятый электромагнитно-акустические преобразователи, излучающие и принимающие сдвиговые волны и выполненные с углом ввода ультразвуковых колебаний соответственно по нормали и 43°, расположены в зоне основного сечения обода, шестой, седьмой, восьмой и девятый электромагнитно-акустические преобразователи, формирующие и принимающие волны Релея, расположены в зоне диска колеса, десятый и одиннадцатый электромагнитно-акустические преобразователи, излучающие и принимающие сдвиговые волны, расположены в зоне ступицы колеса, двенадцатый и тринадцатый электромагнитно-акустические преобразователи, формирующие и принимающие волны Релея, расположены в средней части оси колесной пары, четырнадцатый и пятнадцатый электромагнитно-акустические преобразователи, выполненные с углом ввода ультразвуковых колебаний 43°, расположены в зоне подступичной части оси колесной пары, шестнадцатый и семнадцатый электромагнитно-акустические преобразователи с углом ввода ультразвуковых колебаний соответственно по нормали и 43° расположены в зоне шейки оси.
РИСУНКИ
PC4A – Регистрация договора об уступке патента СССР или патента Российской Федерации на изобретение
Прежний патентообладатель:
Горделий Виталий Иванович
(73) Патентообладатель:
Горделий Людмила Васильевна
Договор № РД0035611 зарегистрирован 28.04.2008
Извещение опубликовано: 10.06.2008 БИ: 16/2008
|
|