|
(21), (22) Заявка: 2005123090/28, 20.07.2005
(24) Дата начала отсчета срока действия патента:
20.07.2005
(46) Опубликовано: 10.12.2006
(56) Список документов, цитированных в отчете о поиске:
SU 682796 А, 30.08.1979. SU 1562773 A1, 07.05.1990. RU 2221999 C2, 20.01.2004. US 2004/0025573 A1, 12.02.2004.
Адрес для переписки:
432011, г.Ульяновск, а/я 9868, ул. Гончарова, 48, УФ ИРЭ РАН
|
(73) Патентообладатель(и):
Институт радиотехники и электроники Российской академии наук (RU)
|
(54) СПОСОБ ИССЛЕДОВАНИЯ ТЕРМОДИНАМИЧЕСКОГО СТРУКТУРОПРЕОБРАЗОВАНИЯ ЖИДКИХ СРЕД
(57) Реферат:
Изобретение относится к области исследования вязкостных свойств жидкости тепловыми средствами. В способе пробу жидкости объемом 1 мл циклически монотонно и непрерывно с заданной скоростью охлаждают и нагревают в заданном интервале температур. В каждом последовательном цикле определяют температурные области структуропреобразования жидкости по безразмерному динамическому критерию подобия температуровязкостных свойств  , выражающему зависимость относительного изменения сдвиговой вязкости от относительного изменения абсолютной температуры жидкости при заданной скорости изменения ее температуры, а степень интенсивности структуропреобразования исследуемой жидкости в указанных температурных областях количественно выражают либо через изменение термоэнергетической функции жидкости E(Т), либо через изменение свободной энергии активации (Т). При этом температуру и вязкость определяют посредством низкочастотного вибровискозиметра. Технический результат – повышение точности исследования. 2 ил.
Изобретение относится к области исследования вязкостных свойств жидкости тепловыми средствами и может быть использовано для количественной оценки интенсивности структурных превращений по степени изменения свободной энергии активации многокомпонентных и, в частности, углеводородных жидкостей и их эволюции в процессе подбора состава нефтепродуктов на стадии их разработки, предсказания поведения углеводородных жидкостей в условиях хранения и эксплуатации.
Известен способ оценки свободной энергии активации структурных превращений углеводородных жидкостей путем определения свободной энергии активации по доле вклада молекул и ассоциатов в вязкость нефтепродуктов. Теоретическую зависимость динамической вязкости от температуры предлагают определять по уравнению, имеющему вид:
=[N·h· /n·M]exp[E /RT],
где – динамическая вязкость; N – число Авогадро; h – постоянная Планка; n – число молекул в структурной единице; – плотность; М – молекулярная масса жидкости; Е – свободная энергия активации; R – универсальная газовая постоянная; Т – абсолютная температура (А.И.Белоусов, Е.М.Бушуева. Оценка межмолекулярных взаимодействий в углеводородах нефти. Химия и технология топлив и масел. 1987, №1, с.26-29).
Известен способ оценки свободной энергии активации структурных превращений углеводородных жидкостей путем определения свободной энергии активации электропроводимости и динамической вязкости. Теоретическую зависимость динамической вязкости от температуры предлагают определять по уравнению, имеющему вид:
=Bexp[E /(RT)].
здесь В – предэкспоненциальный множитель (А.И.Белоусов, Е.М.Бушуева. Оценка структурных превращений в реактивных топливах по электропроводимости и вязкости. Химия и технология топлив и масел. 1985, №3, с.20-21).
Известен способ оценки свободной энергии активации структурных превращений углеводородных жидкостей путем определения изменения тангенса угла наклона температурной зависимости динамической вязкости в координатах . Данный способ является наиболее близким к заявляемому изобретению.
В соответствии с этим способом берут одну или несколько одинаковых проб исследуемой жидкости объемом каждая более 1 мл и ротационным вискозиметром измеряют динамическую сдвиговую вязкость проб (Т) при различных значениях температуры пробы жидкости Т°С в ожидаемом температурном диапазоне. По результатам измерения строят зависимость у=f(x), где у=lg( ), а .
Теоретическую взаимозависимость динамической вязкости и свободной энергии активации Е в известном способе предлагают определять по следующему уравнению:
у=А+В·Е /(Т-Т0),
где А, В, Т0 – постоянные для каждой жидкости, а величина В·Е является тангенсом угла наклона температурной зависимости динамической вязкости в координатах (у, х) (Г.И.Фукс. Вязкость и пластичность нефтепродуктов. М., Гостоптехиздат, 1951. – 272 с.).
Основными недостатками известных способов и методов исследования термодинамического структуропреобразования жидких сред являются следующие:
а) используется, как правило, экспоненциальная зависимость между структурочувствительными параметрами жидкости (вязкость, электропроводность, диэлектрическая проницаемость и т.д.), характеризующими структуропреобразование жидкости при определенных условиях, и обратной температурой жидкости. Теория и эксперимент показывают, что такая экстраполяция приемлема только в узком температурном диапазоне, вне области сильных структурных изменений [Г.М.Панченков. Теория вязкости жидкостей. – М.: Гостоптехиздат, 1947];
б) процедура определения свободной энергии активации вязкого течения Е в известных способах практически не регламентирована по времени, а потому не позволяет исследовать динамику изменения E при изменении температуры жидкости. Использование проб большого объема (более 1 мл) дополнительно увеличивает общее время измерения за счет большой тепловой инерции проб;
в) использование ротационных или капиллярных вискозиметров для определения вязкости приводит к механической деструкции некоторых структур, образующихся в исследуемой жидкости, что ограничивает получаемую информацию и ухудшает воспроизводимость результатов;
г) существующие методы не учитывают влияние на процессы структуропреобразования скорости изменения температуры жидкости и не позволяют надежно обнаруживать и достоверно исследовать термогистерезисные явления в жидкостях;
д) затруднена или невозможна объективная количественная оценка и сравнение процессов структуропреобразования различных жидкостей.
Заявляемое изобретение ставит целью устранение указанных недостатков.
Технической задачей изобретения является: 1) исключение возможности механической деструкции образующихся структур в исследуемой жидкости в процессе измерения вязкости; 2) повышение качества анализа жидкостей путем создания объективной количественной оценки процесса структуропреобразования; 3) повышение точности и надежности определения температурных областей изменения свободной энергии активации жидкости в процессе структуропреобразования; 4) расширение возможностей способа путем исследования зависимости структурных свойств жидкости от скорости изменения ее температуры, что существенно для жидких сред с большим временем релаксации (стекла, смолы и другие аморфные вещества с большой вязкостью); 5) расширение возможностей способа путем исследования термогистерезиса структурных свойств жидкостей и эволюции гистерезисной петли температурно-вязкостной характеристики жидкости при ее последовательном термоциклировании.
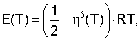
Заявлен способ исследования термодинамического структуропреобразования жидких сред, при котором изменяют температуру исследуемой жидкости и определяют зависимость вязкости жидкости от температуры, отличающийся тем, что пробу жидкости объемом 1 мл циклически монотонно и непрерывно с заданной скоростью охлаждают и нагревают в заданном интервале температур, в каждом последовательном цикле определяют температурные области структуропреобразования жидкости по безразмерному динамическому критерию подобия температуровязкостных свойств  , выражающего зависимость относительного изменения сдвиговой вязкости от относительного изменения абсолютной температуры жидкости при заданной скорости изменения ее температуры, а степень интенсивности структуропреобразования исследуемой жидкости в указанных температурных областях количественно выражают либо через изменение термоэнергетической функции жидкости Е(Т), определяемой по формуле:

где R – универсальная газовая постоянная; Т – текущая абсолютная температура жидкости;
либо через изменение свободной энергии активации (Т), определяемой путем решения дифференциального уравнения:

при этом температуру и вязкость определяют посредством сферического миниатюрного металлического зонда низкочастотного вибровискозиметра, снабженного встроенным датчиком температуры и работающего в режиме вынужденных колебаний с амплитудой не более нескольких микрон.
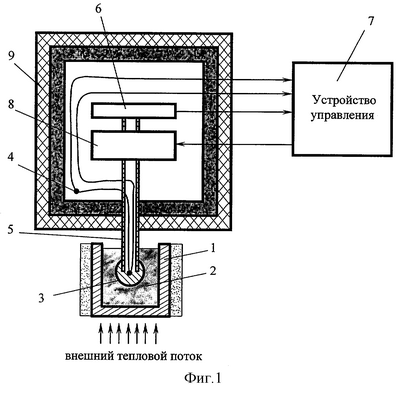
На фиг.1 представлена схема устройства, поясняющая осуществление способа, на фиг.2 представлен эскиз низкочастотного вибровискозиметра, примененного для осуществления способа.
Для физического обоснования заявляемого способа рассмотрим качественно и обобщенно кинетику процессов структуропреобразования многокомпонентной жидкости при монотонном изменении ее температуры, например понижении.
Свободную энергию активации углеводородной жидкости вблизи критической температуры индивидуализации обозначим через 0. Тогда при понижении температуры жидкости до значения TS1 возникает первая надмолекулярная структура S1. При этом свободная энергия активации станет равной (TS1)= 0+ S1, где –  S1 – энергия активации первой надмолекулярной структуры. При дальнейшем понижении температуры до TS2 возникнет вторая надмолекулярная структура S2. Ее энергия активации будет равна  S2= (TS2)- (TS1). В общем случае при возникновении структуры Si ее энергия активации будет равна  Si= (TS(i-1))- (TSi), где (TS(i-1)) – общая энергия активации, соответствующая возникновению структуры S(i-1).
Необходимо отметить, что различные образующиеся надмолекулярные структуры имеют разные времена релаксации образования и разрушения, и поэтому скорость и условия их образования зависит от скорости изменения температуры жидкости VT, равной: , где t – текущее время. Кроме того, многие многокомпонентные жидкости, в частности нефтепродукты, являются тиксотропными, то есть структурно-чувствительными к механическим воздействиям, способным разрушать некоторые образующиеся структуры. В связи с этим для целей детального исследования процессов термодинамического структуропреобразования жидких сред с учетом термогистерезисных явлений необходимо определять функцию (T) (или эквивалентную ей) при заданной скорости изменения температуры жидкости Vt и при отсутствии (либо детальном контроле) механической деструкции образующихся структур.
Наиболее обоснованная теоретически и экспериментально зависимость сдвиговой вязкости от температуры имеет следующий вид:

здесь А – постоянный коэффициент, практически не зависящий от температуры; R – универсальная газовая постоянная; (T) – свободная энергия активации жидкости или энергия связи молекул жидкости, отнесенная к молю; Т – абсолютная температура (Г.М.Панченков. Теория вязкости жидкостей. – М.: Гостоптехиздат, 1947).
Покажем, что безразмерный динамический критерий температуровязкостных свойств  , который получают из выражения (1), позволяет получить достоверную и исчерпывающую информацию об энергетическом поведении жидкостей, что повышает качество анализа жидкостей.
Этот критерий определяют как следующий функционал:

здесь  (T,VT) и Т – относительные дифференциалы по динамической сдвиговой вязкости и абсолютной температуре соответственно.
С учетом (1) и (2), при условии VT=const, соответствующем, например, непрерывному монотонному охлаждению жидкости, получим:

здесь  (T) – относительная производная свободной энергии активации жидкости или

Для значительного количества простых жидкостей и их смесей отношение – при комнатной температуре. (Г.М.Панченков. Теория вязкости жидкостей. – М.: Гостоптехиздат, 1947). В этом случае при исследованиях жидкостей при интересующих нас температурах, в том числе при Т<20°С, последний множитель в правой части уравнения близок к единице и выражение упрощается:

Выражение (4) запишем в виде:

Уравнение (5) показывает, что при отсутствии термического структуропреобразования в жидкости, то есть при слабой зависимости (Т) от температуры,  (Т) 0. Тогда
 
Величина (T)·(1- (Т)) заметно будет изменяться только в окрестностях структурной перестройки жидких сред. Поэтому определяемая экспериментально функция будет нести достаточно полную количественную информацию о процессах структуропреобразования в различных жидких средах. Введем понятие и назовем эту функцию «термоэнергетической функцией жидкости»

Уравнение (7) позволяет экспериментально с помощью вибровискозиметра по температуровязкостным свойствам жидкости определять изменение свободной энергии активации структуропреобразования многокомпонентной жидкой среды при заданной скорости изменения температуры VT.
Таким образом, кинетику структуропреобразования в жидкостях при достаточно низких температурах можно весьма эффективно описать функцией Е(Т). Области достаточно быстрого изменения этой функции будут отображать процессы возникновения и преобразования внутренних структур в жидкой среде, что повышает точность и надежность определения температурных областей изменения свободной энергии активации жидкости в процессе структуропреобразования.
Наиболее полное описание кинетики дает функция (Т,VT), которая в общем случае может быть получена из решения нелинейного дифференциального уравнения (3). Однако при выполнении условия  4 экспериментальное нахождение функции (Т,VT) значительно упрощается.
Действительно, в этом случае из уравнений (5) и (7) получаем:

или 
Уравнение (9) является обыкновенным линейным дифференциальным уравнением первого порядка с переменным коэффициентом и имеет следующее решение при VT=const:

здесь С – постоянная интегрирования, определяемая из уравнения (6).
Заявляемый способ реализуется следующим образом.
Изменение свободной энергии активации жидкости в зависимости от ее температуры определяют по вязкостно-температурной кривой этой жидкости, снятой экспериментально.
Как известно, тепловая постоянная времени ж для жидкости равна ж=h2/аж, где h – характерный геометрический размер пробы; аж – температуропроводность жидкости. Для проведения исследований жидкостей в широком диапазоне предлагается использовать пробу жидкости объемом не более 1 мл. В этом случае величина «h» составляет несколько миллиметров, а тепловая постоянная времени ж не превышает единиц или десятков секунд, что позволяет исследовать достаточно быстро протекающие процессы структуропреобразования жидкости.
Для оперативного и непрерывного измерения сдвиговой вязкости жидкости такого малого объема и в широком температурном диапазоне могут быть использованы низкочастотные вибровискозиметры, работающие на частотах нескольких сотен герц, позволяющие использовать миниатюрные (например шариковые) зонды, легко размещаемые в пробах малого объема и работающие в режиме вынужденных колебаний малой амплитуды. Такие вискозиметры отличаются непрерывностью, высокими чувствительностью и оперативностью измерений. Их метрологические характеристики не чувствительны к изменению температуры контролируемой жидкости. В отличие от капиллярных и ротационных вискозиметров они не вызывают механической деструкции жидкой среды при амплитуде колебаний зонда менее нескольких микрон.
Возможность промышленного осуществления и применения способа показана на примере использования устройств, изображенных на фиг.1 и 2.
Кювета 1 с исследуемой жидкостью 2 объемом не более 1 мл размещена на тепловом модуле (на фиг.1 условно показано направление внешнего теплового потока). Кювета выполнена из металла с высокой температуропроводностью, например из меди. Зонд вибровискозиметра 3 выполнен в виде шарика из меди или серебра диаметром не более нескольких миллиметров. Выполнение зонда из металла существенно уменьшает тепловую инерцию зонда и, соответственно, погрешность измерения текущей температуры жидкости. Охлаждение и нагрев пробы жидкости малого объема по заданному закону удобно производить с помощью элементов Пельтье.
Измерительный спай измерительного преобразователя температуры зонда (термопары) встроен в зонд 3, а опорный спай 4 находится в термостатируемом корпусе вибровискозиметра. Для реализации способа задается монотонная скорость изменения температуры жидкости либо при ее охлаждении, либо при ее нагреве, что позволяет исследовать процессы последовательного структуропреобразования в жидкости при ее нагреве и охлаждении. Использование в качестве малоинерционного датчика температуры термопары, непосредственно встроенной в миниатюрный металлический зонд вибровискозиметра, позволяет измерять текущую температуру жидкости в зоне ее вязкого течения. Шток 5 зонда выполнен в виде капилляра из термоизоляционного материала, что позволяет исключить неконтролируемые тепловые потоки из внешней среды в жидкость. Вибровискозиметр снабжен датчиком 6 положения штока (зонда) для определения амплитуды А, частоты и фазы колебаний зонда. Выход датчика 6, а также выходы всех измерительных преобразователей подключены к устройству управления 7, выполненного на базе микроконтроллера.
Вибровискозиметр включает устройство возбуждения 8 колебательной системы и датчик 6 положения колебательной системы. С якорем колебательной системы соединен капилляр из стекла, который служит проводником механического воздействия от якоря к зонду 3, погружаемому в исследуемую жидкость и закрепленному на конце указанного капилляра. Металлические проводники термопары, встроенной в зонд, пропущены через капилляр и выведены за пределы колебательной системы. Термостатируемые элементы вибровискозиметра имеют термоизоляцию 9. Устройство управления 7 обеспечивает возбуждение колебательной системы вибровискозиметра на ее резонансной частоте и задает амплитуду вынуждающей силы через устройство возбуждения 8.
Перед началом измерений устанавливается необходимая начальная температура исследуемой жидкости, зонда и кюветы.
В процессе изменения температуры снимается зависимость от времени температуры жидкости на измерительных спаях термопары зонда. Также измеряют амплитуду колебаний зонда, их частоту, фазовый сдвиг между колебаниями зонда и колебаниями вынуждающей силы.
По результатам измерения этих параметров вычисляют параметры, характеризующие теплофизические свойства жидкости: динамическую вязкость жидкости и плотность жидкости , а также их зависимость от температуры.
Физические и математические принципы, поясняющие осуществление способа и используемые приборы и оборудование, подробно описаны в заявке УО ИРЭ РАН №2004122182. Приведем основные сведения для описания возможности измерения термовязкостной характеристики жидкости.
Уравнение вынужденных колебаний малой амплитуды для механической колебательной системы с одной степенью свободы имеет вид [Яворский Б.М., Детлаф А.А. Справочник по физике. – М.: Наука, 1977]:

где: М – приведенная масса колебательной системы; r – механическое сопротивление колебательной системы; В – приведенная жесткость колебательной системы; х – отклонение колебательной системы от положения равновесия; F(t) – вынуждающая сила, приложенная к колебательной системе.
Уравнение (11) достаточно хорошо описывает поведение вибровискозиметра, работающего в режиме колебаний с малой амплитудой [Соловьев А.Н., Каплун А.Б. Вибрационный метод измерения вязкости жидкостей. – Новосибирск: Наука, Сибирское отд-е, 1970].
При использовании в качестве зонда вискозиметра шарика можно найти силу сопротивления Fc, действующую на колеблющийся с частотой шарик, погруженный в жидкость [Ландау Л.Д., Лифшиц Б.М. Гидродинамика. – М.: Наука, 1964]:

где d – диаметр зонда, и – вязкость и плотность жидкости.
Уравнение (12) можно привести к виду:

Здесь сопротивление зонда r3 и присоединенная масса жидкости т выражены следующим образом:

По результатам измерений вибровискозиметра (амплитуды А, частоты и фазы вынужденных колебаний зонда) определяют rз и m, а динамическая вязкость и плотность жидкости вычисляют путем одновременного решения уравнений (14) и (15).
Для определения r3 и m по результатам измерений с помощью вибровискозиметра может быть использован следующий метод.
При возбуждении синусоидальных колебаний зонда вибровискозиметра в воздухе собственная частота его колебаний 0 рассчитывается по формуле [Яворский Б.М., Детлаф А.А. Справочник по физике. – М.: Наука, 1977]:

где В – приведенная эффективная жесткость; М – приведенная эффективная масса системы.
Возмущающая сила изменяется по гармоническому закону: F(t)=F0·sin t (7), и вынужденные колебания зонда вибровискозиметра также являются гармоническими с той же угловой частотой [там же]:

где 

На резонансной частоте p, которая при малом затухании также весьма близка к 0, амплитуда колебаний зонда, вычисленная по уравнению (18), равна:

При нулевой частоте статическое смещение зонда A0 равно:

Из уравнений (20) и (21) определяют механическую добротность Q колебательной системы:

Отсюда можно найти механическое сопротивление колебательной системы вибровискозиметра при колебаниях зонда вискозиметра в воздухе:


Здесь: Qв – добротность колебательной системы в воздухе; Арв – амплитуда колебаний зонда при резонансе в воздухе; – резонансная частота колебательной системы в воздухе.
Параметры В, М, Qв легко определяются стандартными методами и определяются на стадии калибровки прибора.
При погружении зонда вискозиметра в жидкость амплитуда Арж его колебаний при резонансе будет равна:

Здесь рж – резонансная частота колебательной системы при погружении зонда в жидкость.
Регистрируя относительные изменения резонансной амплитуды и частоты колебаний зонда при погружении его в исследуемую жидкость, из уравнений (23)…(25) получим:

Измеряя Арж/Арв, рж/ рв и зная rв и М, из решения уравнений (26) находим значения rз и m.


После определения этих параметров путем решения системы уравнений (14) и (15) вычисляются вязкость и плотность исследуемой жидкости. Если измерения были проведены не только при какой-либо фиксированной температуре, а в некотором диапазоне температур, указанный метод позволяет определить зависимость данных параметров жидкости от температуры. В частности, указанные математические операции могут выполняться автоматически с помощью, например, ЭВМ или микроконтроллера.
В заявляемом способе предлагается не только задавать скорость изменения температуры исследуемой жидкости, но и циклически изменять температуру, т.е. последовательно охлаждать и нагревать пробу жидкости при одновременном измерении ее сдвиговой вязкости. Это позволяет не только оценить влияние на структуропреобразование скорости изменения температуры, но и исследовать термогистерезисные явления в жидкости.
Как видно, предлагаемый способ позволяет достоверно и надежно определить температурные области изменения свободной энергии активации в процессе структуропреобразования любых многокомпонентных жидкостей.
Предлагаемый способ позволяет исследовать зависимость структурных свойств жидкости от скорости изменения ее температуры, что существенно для жидких сред с большим временем релаксации (стекла, смолы и другие аморфные вещества с большой вязкостью), а также исследовать термогистерезис структурных свойств жидкостей и эволюцию гистерезисной петли температурно-вязкостной характеристики жидкости при ее последовательном термоциклировании. Использование безразмерного динамического критерия подобия  (Т) температурно-вязкостных свойств позволяет количественно точно сравнивать процессы термодинамического структуропреобразования в различных жидкостях и определять температурную зависимость свободной энергии активации жидкостей, достоверно определять низкотемпературные свойства дизельных топлив и моторных масел, оценивать текущее качественное состояние моторных масел, смазок и других многокомпонентных жидкостей.
Способ может быть реализован на базе известного технологического оборудования.
Формула изобретения
Способ исследования термодинамического структуропреобразования жидких сред, при котором изменяют температуру исследуемой жидкости и определяют зависимость вязкости жидкости от температуры, отличающийся тем, что пробу жидкости объемом 1 мл циклически монотонно и непрерывно с заданной скоростью охлаждают и нагревают в заданном интервале температур, в каждом последовательном цикле определяют температурные области структуропреобразования жидкости по безразмерному динамическому критерию подобия температуровязкостных свойств  , выражающему зависимость относительного изменения сдвиговой вязкости от относительного изменения абсолютной температуры жидкости при заданной скорости изменения ее температуры, а степень интенсивности структуропреобразования исследуемой жидкости в указанных температурных областях количественно выражают либо через изменение термоэнергетической функции жидкости Е(Т), определяемой по формуле

где R – универсальная газовая постоянная;
Т – текущая абсолютная температура жидкости,
либо через изменение свободной энергии активации (Т), определяемой путем решения дифференциального уравнения

при этом температуру и вязкость определяют посредством сферического миниатюрного металлического зонда низкочастотного вибровискозиметра, снабженного встроенным датчиком температуры и работающего в режиме вынужденных колебаний с амплитудой не более нескольких микрон.
РИСУНКИ
|