|
(21), (22) Заявка: 2004114876/04, 12.10.2002
(24) Дата начала отсчета срока действия патента:
12.10.2002
(30) Конвенционный приоритет:
16.10.2001 US 09/985,965
(43) Дата публикации заявки: 20.09.2005
(46) Опубликовано: 10.12.2006
(56) Список документов, цитированных в отчете о поиске:
US 4440162 А, 03.04.1984. RU 2146811 C1, 20.03.2000. SU 1006978 A1, 23.03.1983. RU 2071051 C1, 27.12.1996. US 5861545 A, 19.01.1999. JP 7325024, 12.12.1995. AU 7644491 A, 14.11.1991. JP 3115951, 16.05.1991.
(85) Дата перевода заявки PCT на национальную фазу:
17.05.2004
(86) Заявка PCT:
US 02/32541 (12.10.2002)
(87) Публикация PCT:
WO 03/034252 (24.04.2003)
Адрес для переписки:
129010, Москва, ул. Б. Спасская, 25, стр.3, ООО “Юридическая фирма Городисский и Партнеры”, пат.пов. Ю.Д.Кузнецову, рег.№ 595
|
(72) Автор(ы):
ВАРКАНДЕР Дан (US)
(73) Патентообладатель(и):
ВАРКАНДЕР Дан (US)
|
(54) СПОСОБ И СИСТЕМА ОЦЕНКИ ОСТАТОЧНОЙ АБСОРБИРУЮЩЕЙ СПОСОБНОСТИ ПОГЛОТИТЕЛЯ ГАЗА ПО ТЕМПЕРАТУРЕ
(57) Реферат:
Группа изобретений относится к поглотителям газа и к оценке сохраняющейся абсорбирующей способности поглотителя газа по температуре, в частности, применительно к поглотителю CO2 в системе возвратного дыхания. Способ оценки остаточной абсорбирующей способности поглотителя газа, абсорбирующего газ в процессе экзотермической или эндотермической реакции, заключается в том, что располагают поглотитель газа в потоке упомянутого газа, причем поток газа поступает на вход поглотителя газа и протекает через поглотитель газа с получением при реакции в процессе следования потока газа, который выходит из поглотителя газа через выпускное отверстие; размещают множество датчиков температуры вдоль пути следования потока, причем первый датчик температуры установлен у входа поглотителя, а последующие датчики температуры размещены на расстоянии друг от друга по пути следования потока; измеряют температуру каждым из указанных датчиков температуры и определяют разность температур между каждым из датчиков, размещенных по пути следования потока, и первым датчиком температуры; нормализуют каждую из полученных разностей температур к наибольшей из этих разностей для получения характеристики остаточной абсорбирующей способности поглотителя газа, которую определяют при сравнении нормализованных разностей температур с калибровочной функцией. Также представлены способ оценки остаточной абсорбирующей способности поглотителя CO2 в системе возвратного дыхания и система оценки остаточной абсорбирующей способности поглотителя газа. 3 н. и 12 з.п. ф-лы, 4 ил.
Область техники
Настоящее изобретение относится к поглотителям газа и более точно к способу и системе оценки сохраняющейся абсорбирующей способности поглотителя газа по температуре, таком как поглотитель CO2, используемый в устройстве возвратного дыхания.
Предшествующий уровень техники
Системы возвратного дыхания с замкнутым циклом используются подводными ныряльщиками, шахтерами, пожарными, рабочими, имеющими дело с опасными материалами, и другим персоналом, который должен работать в таких условиях окружающей среды, когда подача пригодного для вдыхания воздуха либо невозможна, либо ограничена длиной подводящего шланга. Устройство возвратного дыхания содержит поглотитель двуокиси углерода (CO2) или газоочиститель в его выдыхательном вентиляционном контуре. Поглотитель CO2 включает в себя материал, который “абсорбирует” (то есть взаимодействует) CO2 в выдыхаемом газе. Поскольку удаление CO2 является критическим, пользователю важно знать, когда поглотитель CO2 утеряет способность абсорбировать выдыхаемый CO2.
Для решения этой задачи был использован ряд подходов. Например, в патенте США 4154586 раскрыт способ, в котором абсорбирующий CO2 материал при выработке ресурса изменяет цвет. Однако при подводном дайвинге и при пожаре пользователь не сможет увидеть изменения цвета. Другой подход раскрыт в патенте США 4146887, в котором измеряют разность температур между окружающей средой и одной точкой внутри поглотителя, которую используют для индикации “конца срока службы”. Еще один подход описан в патенте США 4440162, в котором температуру измеряют в заранее определенном месте поглотителя. Когда температура превышает предварительно установленное значение, подается сигнал тревоги. Однако вариации условий окружающей среды могут вызвать сообщающую об окончании срока службы индикацию или сигнал тревоги либо слишком рано, либо слишком поздно.
Так как срок службы поглотителя CO2 изменяется из-за изменения температуры окружающей среды/давления и из-за норм дыхания пользователя, требуется обеспечение пользователя постоянно изменяющейся информацией относительно остаточной емкости поглотителя CO2. Однако вышеописанные подходы предшествующего уровня техники являются либо непрактичными для некоторых применений, либо не обеспечивают постоянно изменяющуюся информацию.
Краткое изложение существа изобретения
Задачей настоящего изобретения является создание способа оценки остаточной абсорбирующей способности поглотителя газа.
Другой задачей настоящего изобретения является создание способа и системы, обеспечивающих визуальное отображение остаточной абсорбирующей способности поглотителя газа, абсорбирующего газ в процессе экзотермической реакции.
Еще одной задачей настоящего изобретения является создание способа оценки остаточной абсорбирующей способности поглотителя CO2.
Еще одной задачей настоящего изобретения является создание способа оценки остаточной абсорбирующей способности поглотителя газа, являющегося поглотителем CO2, который практически не зависим от условий окружающей среды.
Еще одной задачей настоящего изобретения является создание способа приблизительного визуального отображения остаточной абсорбирующей способности CO2 поглотителя, используемого в системе возвратного дыхания.
В соответствии с настоящим изобретением поставленная задача решена путем создания способа и системы оценки остаточной абсорбирующей способности поглотителя газа, который абсорбирует газ (например, CO2) в процессе экзотермической или эндотермической реакции. Поглотитель газа расположен в потоке газа таким образом, что газ поступает на вход поглотителя газа и протекает по нему по пути следования потока. Внутри поглотителя газа в процессе экзотермической или эндотермической реакции получают реакционный газ, который выходит из поглотителя газа через выпускное отверстие. По пути потока расположено множество датчиков температуры. Датчики температуры включают в себя первый датчик температуры, установленный на входе поглотителя газа, а последующие датчики температуры расположены на расстоянии друг от друга по пути потока. Каждый датчик температуры измеряет температуру и определяет разность температур между каждым последующим датчиком температуры и первым датчиком температуры. Каждую разность температур подвергают нормализации, формированию нормализованной разности температур. Нормализованные разности температур показывают остаточную абсорбирующую способность поглотителя газа. Более конкретно, обработка результатов включает в себя выбор калибровочной функции, которая основывается на экспериментально определенном соотношении между нормализованными разностями температур и остаточной абсорбирующей способностью. Остаточная абсорбирующая способность может быть визуально представлена на дисплее в виде процента от начальной абсорбирующей способности поглотителя газа либо в виде функции содержания газа (который должен быть абсорбирован), выходящего из выпускного отверстия поглотителя газа.
Согласно изобретению предложен способ оценки остаточной абсорбирующей способности поглотителя газа, абсорбирующего газ в процессе экзотермической или эндотермической реакции, заключающийся в том, что:
располагают поглотитель газа в потоке упомянутого газа, причем поток газа поступает на вход поглотителя газа и протекает через поглотитель газа с получением при реакции в процессе следования потока газа, который выходит из поглотителя газа через выпускное отверстие,
размещают множество датчиков температуры вдоль пути следования потока, причем первый датчик температуры установлен у входа поглотителя, а последующие датчики температуры размещены на расстоянии друг от друга по пути следования потока,
измеряют температуру каждым из указанных датчиков температуры и определяют разность температур между каждым из датчиков, размещенных по пути следования потока, и первым датчиком температуры,
нормализуют каждую из полученных разностей температур к наибольшей из этих разностей для получения характеристики остаточной абсорбирующей способности поглотителя газа, которую определяют при сравнении нормализованных разностей температур с калибровочной функцией.
Целесообразно, что при размещении множества датчиков размещают один из последующих датчиков температуры у выпускного отверстия.
Отображают на дисплее визуальное представление остаточной абсорбирующей способности поглотителя, причем отображают на дисплее остаточную абсорбирующую способность в виде процента от начальной абсорбирующей способности поглотителя газа.
Или отображают на дисплее визуальное представление остаточной абсорбирующей способности поглотителя, причем отображают на дисплее остаточную абсорбирующую способность в виде функции содержания газа, выпускаемого через выпускное отверстие.
Предложен также способ оценки остаточной абсорбирующей способности поглотителя CO2 в системе возвратного дыхания, заключающийся в том, что;
прокачивают выдыхаемый из системы возвратного дыхания газ CO2 через поглотитель CO2,
размещают множество датчиков температуры в поглотителе вдоль пути следования потока газа, причем первый датчик температуры установлен у входа поглотителя, а последующие датчики температуры размещены на расстоянии друг от друга по пути следования потока,
измеряют температуру каждым из указанных датчиков и определяют разности температур между каждым из датчиков, размещенных по пути следования потока, и первым датчиком температуры,
нормализуют каждую из полученных разностей температур к наибольшей из этих разностей для получения характеристики остаточной абсорбирующей способности поглотителя CO2, которую определяют при сравнении нормализованных разностей температур с калибровочной функцией.
Полезно, чтобы при размещении датчиков один из последующих датчиков температуры размещали у выпускного отверстия поглотителя CO2.
Полезно, чтобы отображали на дисплее визуальное представление об остаточной абсорбирующей способности поглотителя, причем отображают на дисплее остаточную абсорбирующую способность в виде процента от начальной абсорбирующей способности поглотителя CO2.
Возможно также, чтобы отображали на дисплее визуальное представление об остаточной абсорбирующей способности, причем отображают на дисплее остаточную абсорбирующую способность в виде функции содержания газа CO2, выходящего из поглотителя CO2.
Также предложена система оценки остаточной абсорбирующей способности поглотителя газа, абсорбирующего газ при экзотермической или эндотермической реакции, имеющего вход для приема потока газа и определяющего путь следования потока, по которому протекает газ, а также выход для выпуска газа, подвергшегося реакции, при этом система оценки содержит:
множество датчиков температуры, размещенных вдоль пути следования потока, причем указанное множество датчиков температуры содержит первый датчик температуры, установленный у входа, и последующие датчики температуры, расположенные на расстоянии друг от друга вдоль пути следования потока, при этом каждый из множества датчиков температуры предназначен для измерения температуры,
средство для определения разностей температур между каждым из последующих датчиков температуры и первым датчиком температуры,
средство для нормализации каждой из определенных разностей температур к наибольшей разности температур, причем соответствующие нормализованные разности температур характеризуют остаточную абсорбирующую способность поглотителя газа,
средство для отображения на дисплее визуального представления об остаточной абсорбирующей способности в соответствии с нормализованными разностями температур.
Упомянутое визуальное представление отображает остаточную абсорбирующую способность в виде процента от начальной абсорбирующей способности поглотителя газа, причем средство для отображения содержит цифровой дисплей, отображающий упомянутый процент.
Либо визуальное представление отображает остаточную абсорбирующую способность в виде процента от начальной абсорбирующей способности поглотителя газа, при этом средство для отображения содержит множество источников света, загорающихся в соответствии с указанным процентом.
Возможно также, что визуальное представление отображает остаточную абсорбирующую способность в виде процента от начальной абсорбирующей способности поглотителя газа, при этом средство для отображения содержит аналоговый измерительный прибор для визуализации указанного процентного показателя.
Либо визуальное представление отображает остаточную абсорбирующую способность в виде функции содержания газа, выходящего из выпускного отверстия, при этом средство для отображения содержит цифровой дисплей, указывающий содержание газа, выходящего из выпускного отверстия.
Возможно также, что визуальное представление отображает остаточную абсорбирующую способность в виде функции содержания газа, выходящего из выпускного отверстия, при этом средство для отображения содержит множество источников света, загорающихся в соответствии с содержанием газа, выходящего из выпускного отверстия.
Либо визуальное представление отображает остаточную абсорбирующую способность в виде функции содержания газа, выходящего из выпускного отверстия, при этом средство для отображения содержит аналоговый измерительный прибор для индикации содержания газа, выходящего из выпускного отверстия.
Краткое описание чертежей
Особенности и преимущества настоящего изобретения поясняются нижеприведенным описанием предпочтительных вариантов воплощения изобретения со ссылками на сопровождающие чертежи, на которых:
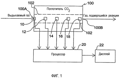
Фиг.1 изображает блок-схему поглотителя СО2 системы возвратного дыхания для осуществления способа оценки остаточной абсорбирующей способности поглотителя CO2 согласно изобретению;
Фиг.2А изображает схему светодиодного дисплея, который может быть использован для визуального представления остаточной абсорбирующей способности согласно изобретению;
Фиг.2В изображает схему цифрового дисплея, который может быть использован для визуального представления остаточной абсорбирующей способности согласно изобретению;
Фиг.2C изображает схему аналогового дисплея, подобного указателю уровня топлива, который может быть использован для визуального представления остаточной абсорбирующей способности согласно изобретению.
Подробное описание предпочтительных вариантов воплощения изобретения
На фиг.1 представлен поглотитель CO2 100 системы возвратного дыхания (не показана). Поглотитель CO2 100 получает выдыхаемый газ и вступает в экзотермическую реакцию с ним по пути следования потока (показано пунктирными линиями 102). В течение срока службы поглотитель CO2 100 выводит газ, подвергшийся реакции, который в основном свободен от CO2. Подвергшийся реакции газ доступен для использования системой возвратного дыхания. Следует понимать, что конкретная химическая структура и использование определенного подвергающегося реакции газа не ограничивает настоящее изобретение.
Внутри поглотителя CO2 100 происходит экзотермическая реакция в течение эффективного срока службы. В настоящем изобретении также может использоваться любой поглотитель газа, абсорбирующий газ в процессе экзотермической или эндотермической реакции для оценки остаточной абсорбирующей способности поглотителя газа.
В соответствии с настоящим изобретением поглотитель CO2 100 содержит множество датчиков температуры, например термисторов или любых других датчиков температуры, распределенных по пути следования потока 102. В качестве примера показано пять датчиков температуры. Однако, как очевидно специалисту в данной области техники, в зависимости от геометрии поглотителя газа или требуемой точности отображения остаточной абсорбирующей способности может быть использовано большее или меньшее количество датчиков температуры. Датчики температуры обозначены позициями 10, 12, 14, 16 и 18, причем датчик 10 предназначен для регистрации температуры газа на входе 100A поглотителя CO2 100. Датчики 12-18 температуры расположены на расстоянии друг от друга по пути следования потока 102.
Последний из датчиков температуры по пути следования потока 102, т.е. датчик 18 обычно устанавливают в выпускном отверстии 100B поглотителя CO2 100 либо около него.
Выводы датчиков 10-18 температуры соединены с процессором 20, в котором для обеспечения непрерывной оценки остаточной абсорбирующей способности поглотителя CO2 100 обрабатываются соответствующие измеренные температуры T10-T18. Оценка визуально отображается на дисплее 22, соединенном с процессором 20. Как показано на фиг.2A-2C, дисплей 22 имеет несколько вариантов выполнения. Например, дисплей 220 (фиг.2A) представляет собой несколько источников света (например, светодиодов) 220A-220F, свечение каждого из которых соответствует остаточному ресурсу поглотителя CO2 100. Как правило, остаточный ресурс представляют в виде процента от начального ресурса поглотителя. Дисплей 220 может эксплуатироваться таким образом, чтобы подключать все источники света для индикации текущего процента от остаточного ресурса, обеспечивая пользователя быстрой и непрерывной индикацией остаточного ресурса. Другой вариант выполнения дисплея представлен на Фиг.2B, где для цифровой индикации текущей остаточной способности, выраженной в процентах, используется цифровой дисплей 222. Еще один вариант дисплея показан на фиг.2C, где используется аналоговый тип топливного измерителя 224, визуально представляющий процент от остаточной способности тем же самым способом, который используется в автомобильном указателе уровня топлива.
В настоящем изобретении альтернативно может использоваться дисплей, показывающий содержание CO2, выходящего через выпускное отверстие 100B. По мере истечения срока службы поглотитель CO2 100 становится менее эффективным при поглощении CO2 в выдыхаемом газе. Соответственно, процессор 20 может быть настроен таким образом, чтобы выводить на дисплей сигнал, отображающий остаточную абсорбирующую способность в виде функции содержания CO2, выходящего из выпускного отверстия 100B поглотителя CO2 100. Например, для цифрового дисплея оценка содержания CO2, выпускаемого поглотителем, может быть отображена пользователю, знающему допустимое и недопустимое содержание CO2.
Независимо от типа визуального представления остаточной абсорбирующей способности, согласно изобретению, сначала обрабатывают измеренные температуры одним и тем же способом. В любое заданное время в течение срока использования поглотителя CO2 100 измеренные температуры датчиков 10-18 передают процессору 20. В начале работы со свежим абсорбирующим веществом в поглотителе CO2 100 экзотермическая реакция (фронт реакции), при которой температура в этой зоне повышается, происходит близко к входу 100A поглотителя 100. Перемещение нагретого газа далее по направлению потока вызывает нагрев остальной части поглотителя. Поскольку в абсорбенте накапливаются отходы реакции, активность экзотермической реакции падает, и температура в этой зоне снижается.
Используя измеренные температуры, генерируют набор разностей температур, в котором каждая разность температур определяется как разность температур между температурой на входе 100A (как измерено датчиком 10) и измеренной одним из последующих датчиков (то есть датчиками 12-18), распределенных по пути следования потока 102. Таким образом, в проиллюстрированном примере разности температур могут быть записаны следующим образом:
T1=T12-T10
T2=T14-T10
T3=T15-T10
T4=T18-T10
На следующем этапе процесса указанный набор разностей температур подвергают нормализации, используя разность, которая является максимальной ( Tmax) для этого конкретного набора измеренных температур. Например, вскоре после начала работы максимальная разность температур будет составлять Tmax= T1 вследствие того, что экзотермическая реакция CO2 будет происходить при температуре около T1. Соответствующие относительные или нормализованные разности температур формируют следующим образом:
T1/ Tmax
T2/ Tmax
T3/ Tmax
Т4/ Тmax
Затем нормализованные разности температур сравнивают с заранее определенной, экспериментально-обоснованной калибровочной кривой или функцией, определяя остаточную абсорбирующую способность поглотителя CO2 100. График может представлять собой, например, калибровочную кривую или функцию остаточной абсорбирующей способности, выраженной в процентах (или содержания CO2 выпускаемого поглотителем), по сравнению с относительными или нормализованными температурами. Заранее определенная калибровочная кривая или функция может быть подвергнута обработке при помощи фактического тестирования конкретной конструкции поглотителя газа. Таким образом, в тестовом или калибровочном установочном режиме поглотитель газа может использоваться непрерывно вплоть до полного исчезновения его абсорбирующей способности. При тестировании температуры через определенные интервалы времени регистрируются датчиками, установленными в различных местах, и выдающими распределение температуры. Из этого распределения может быть получена калибровочная функция.
На примере трех диаграмм показано, каким образом может быть получена калибровочная функция (диаграммы прилагаются).
На диаграмме 1 (фиг.3) представлены необработанные данные, представленные в виде кривых, полученных устройством согласно изобретению. По оси ординат отложено увеличение температуры Т1, Т2, Т3, Т4 (слева) и парциальное давление СО2 (справа) в реакционном газе 100 В, выходящем из абсорбера, по оси абсцисс отложено время (время отображает, сколько абсорбента израсходовано). В этом примере СО2 при давлении 0,5 кПа считается полностью поглощенным.
На диаграмме 2 (фиг.4) представлены математически обработанные данные, представленные в виде кривых Т1/Тmax, Т2/Тmax, ( T1/Тmax+ Т2/Тmax))/2. Это примеры результатов подсчета отношений данных измеренных T1 и T2, представленных в виде функций, показывающих, сколько абсорбента израсходовано, по оси ординат отложено отношение, а по оси абсцисс отложено время.
На диаграмме 3 (фиг.5) представлена линейная регрессия, которая была получена с использованием данных с диаграммы 2, путем подсчета отношения ( T1/Tmax+ Т2/Тmax))/2. Остаточный ресурс (R) может быть подсчитан как
С=(( Т1/Tmax+ Т2/Тmax))/2-0,19)×1,29.
Для включения лампочек на дисплее 220 (или устройстве отображения) может использоваться любое известное средство. В качестве цифрового дисплея может быть использован дисплей R100. Измерительный прибор может показывать всю шкалу, когда R=1 и не будет показывать ничего, когда R=0. Могут быть использованы и другие методики, линейная регрессия показана лишь в качестве примера. Выбор методики построения кривой зависит от конструкции абсорбера.
Экспериментальными данными было подтверждено, что температура в поглотителе CO2 100 увеличивается, изменяясь сложным образом в зависимости от давления окружающей среды, температуры окружающей среды и содержания СО2 в выдыхаемом газе. Однако при помощи относительных температур очевидная сложность была радикально уменьшена. Некоторое дополнительное повышение точности может быть получено посредством измерения текущего давления окружающей среды и/или температуры. В дальнейшем может потребоваться объединение множества экспериментально определенных калибровочных кривых/функций от изменения давления и температуры окружающей среды и формирования усредненной функции, которая при усредненном использовании обеспечит пользователя “безопасной” индикацией абсорбирующей способности. Однако при небольшом количестве агрессивных сред посредством усредненной функции можно ошибочно оценить остаточную способность поглотителя слишком высоко, при условии, что ее осталось немного либо вообще не осталось. Таким образом, может потребоваться использование калибровочных кривых/функций, обеспечивающих “самый безопасный” уровень функционирования, при котором еще имеется запас абсорбирующей способности даже в том случае, когда дисплей показывает нулевую остаточную способность.
Настоящее изобретение обладает рядом преимуществ.
Способ и система могут быть использованы для обеспечения продолжительной индикации остаточной абсорбирующей способности поглотителя газа, обеспечивающего экзотермическую или эндотермическую реакцию. При этом пользователь не испытывает необходимости в последнюю минуту реагировать на сигнал тревоги, возвещающий о конце срока службы поглотителя. Это особенно важно в том случае, когда изобретение применяется в поглотителях CO2, используемых в системах возвратного дыхания. Так как используются только относительные температуры, подход практически не зависит от условий окружающей среды. Изобретение может быть адаптировано к разнообразным поглотителям газа с экзотермическим или эндотермическим типами реакции. Более того, адаптация к различным рабочим средам может осуществляться посредством простого использования калибровочных кривых/функций. Другое преимущество состоит в том, что для экономии энергии процессор и дисплей не должны работать непрерывно, осуществляя запись всех событий с момента запуска, а могут включаться только при необходимости.
Существуют многочисленные варианты и модификации, которые поняты специалистами в данной области техники.
Формула изобретения
1. Способ оценки остаточной абсорбирующей способности поглотителя газа, абсорбирующего газ в процессе экзотермической или эндотермической реакции, заключающийся в том, что:
располагают поглотитель газа в потоке упомянутого газа, причем поток газа поступает на вход поглотителя газа и протекает через поглотитель газа с получением при реакции в процессе следования потока газа, который выходит из поглотителя газа через выпускное отверстие,
размещают множество датчиков температуры вдоль пути следования потока, причем первый датчик температуры установлен у входа поглотителя, а последующие датчики температуры размещены на расстоянии друг от друга по пути следования потока,
измеряют температуру каждым из указанных датчиков температуры и определяют разность температур между каждым из датчиков, размещенных по пути следования потока, и первым датчиком температуры,
нормализуют каждую из полученных разностей температур к наибольшей из этих разностей для получения характеристики остаточной абсорбирующей способности поглотителя газа, которую определяют при сравнении нормализованных разностей температур с калибровочной функцией.
2. Способ по п.1, отличающийся тем, что при размещении множества датчиков размещают один из последующих датчиков температуры у выпускного отверстия.
3. Способ по п.1, отличающийся тем, что отображают на дисплее визуальное представление остаточной абсорбирующей способности поглотителя, причем отображают на дисплее остаточную абсорбирующую способность в виде процента от начальной абсорбирующей способности поглотителя газа.
4. Способ по п.1, отличающийся тем, что отображают на дисплее визуальное представление остаточной абсорбирующей способности поглотителя, причем отображают на дисплее остаточную абсорбирующую способность в виде функции содержания газа, выпускаемого через выпускное отверстие.
5. Способ оценки остаточной абсорбирующей способности поглотителя CO2 в системе возвратного дыхания, заключающийся в том, что:
прокачивают выдыхаемый из системы возвратного дыхания газ СО2 через поглотитель СО2,
размещают множество датчиков температуры в поглотителе вдоль пути следования потока газа, причем первый датчик температуры установлен у входа поглотителя, а последующие датчики температуры размещены на расстоянии друг от друга по пути следования потока,
измеряют температуру каждым из указанных датчиков и определяют разности температур между каждым из датчиков, размещенных по пути следования потока, и первым датчиком температуры,
нормализуют каждую из полученных разностей температур к наибольшей из этих разностей для получения характеристики остаточной абсорбирующей способности поглотителя CO2, которую определяют при сравнении нормализованных разностей температур с калибровочной функцией.
6. Способ по п.5, отличающийся тем, что при размещении датчиков один из последующих датчиков температуры размещают у выпускного отверстия поглотителя СО2.
7. Способ по п.5, отличающийся тем, что отображают на дисплее визуальное представление об остаточной абсорбирующей способности поглотителя, причем отображают на дисплее остаточную абсорбирующую способность в виде процента от начальной абсорбирующей способности поглотителя CO2.
8. Способ по п.5, отличающийся тем, что отображают на дисплее визуальное представление об остаточной абсорбирующей способности, причем отображают на дисплее остаточную абсорбирующую способность в виде функции содержания газа CO2, выходящего из поглотителя СО2.
9. Система оценки остаточной абсорбирующей способности поглотителя газа, абсорбирующего газ при экзотермической или эндотермической реакции, имеющего вход для приема потока газа и определяющего путь следования потока, по которому протекает газ, а также выход для выпуска газа, подвергшегося реакции, при этом система оценки содержит:
множество датчиков температуры, размещенных вдоль пути следования потока, причем указанное множество датчиков температуры содержит первый датчик температуры, установленный у входа, и последующие датчики температуры, расположенные на расстоянии друг от друга вдоль пути следования потока, при этом каждый из множества датчиков температуры предназначен для измерения температуры,
средство для определения разностей температур между каждым из последующих датчиков температуры и первым датчиком температуры,
средство для нормализации каждой из определенных разностей температур к наибольшей разности температур, причем соответствующие нормализованные разности температур характеризуют остаточную абсорбирующую способность поглотителя газа,
средство для отображения на дисплее визуального представления об остаточной абсорбирующей способности в соответствии с нормализованными разностями температур.
10. Система по п.9, отличающаяся тем, что упомянутое визуальное представление отображает остаточную абсорбирующую способность в виде процента от начальной абсорбирующей способности поглотителя газа, причем средство для отображения содержит цифровой дисплей, отображающий упомянутый процент.
11. Система по п.9, отличающаяся тем, что визуальное представление отображает остаточную абсорбирующую способность в виде процента от начальной абсорбирующей способности поглотителя газа, при этом средство для отображения содержит множество источников света, загорающихся в соответствии с указанным процентом.
12. Система по п.9, отличающаяся тем, что визуальное представление отображает остаточную абсорбирующую способность в виде процента от начальной абсорбирующей способности поглотителя газа, при этом средство для отображения содержит аналоговый измерительный прибор для визуализации указанного процентного показателя.
13. Система по п.9, отличающаяся тем, что визуальное представление отображает остаточную абсорбирующую способность в виде функции содержания газа, выходящего из выпускного отверстия, при этом средство для отображения содержит цифровой дисплей, указывающий содержание газа, выходящего из выпускного отверстия.
14. Система по п.9, отличающаяся тем, что визуальное представление отображает остаточную абсорбирующую способность в виде функции содержания газа, выходящего из выпускного отверстия, при этом средство для отображения содержит множество источников света, загорающихся в соответствии с содержанием газа, выходящего из выпускного отверстия.
15. Система по п.9, отличающаяся тем, что визуальное представление отображает остаточную абсорбирующую способность в виде функции содержания газа, выходящего из выпускного отверстия, при этом средство для отображения содержит аналоговый измерительный прибор для индикации содержания газа, выходящего из выпускного отверстия.
РИСУНКИ
|