|
|
(21), (22) Заявка: 2005132234/28, 19.10.2005
(24) Дата начала отсчета срока действия патента:
19.10.2005
(46) Опубликовано: 10.12.2006
(56) Список документов, цитированных в отчете о поиске:
RU 2139512 C1, 10.10.1999. RU 2193177 C1, 20.11.2001. RU 95104751 C1, 27.11.1996. RU 2073223 С1, 10.02.1997. US 3693431, 26.09.1972. GB 1224411, 10.03.1971.
Адрес для переписки:
140402, Московская обл., г. Коломна, ул. Октябрьской революции, 410, ФГУП ВНИКТИ МПС России
|
(72) Автор(ы):
Михайлов Геннадий Иванович (RU)
(73) Патентообладатель(и):
Федеральное государственное унитарное предприятие Всероссийский научно-исследовательский и конструкторско-технологический институт подвижного состава Министерства путей сообщения Российской Федерации (ФГУП ВНИКТИ МПС России) (RU)
|
(54) СПОСОБ И УСТРОЙСТВО НАГРУЖЕНИЯ ЗУБЬЕВ ЗУБЧАТЫХ КОЛЕС ПРИ ИСПЫТАНИЯХ НА ИЗГИБНУЮ ПРОЧНОСТЬ И ВЫНОСЛИВОСТЬ
(57) Реферат:
Изобретение относится к машиностроению, а именно к испытательной технике, и может быть использовано для исследования прочности зубчатых колес и их элементов. Способ нагружения зубьев зубчатых колес при испытаниях на изгибную прочность и выносливость заключается в том, что жестко устанавливают зубчатую передачу, состоящую из испытуемого зубчатого колеса и сопряженной с ним шестерни, на двух параллельных валах, нагружают нагружателем испытуемое зубчатое колесо, и отличается тем, что устанавливают не менее одной зубчатой передачи с испытуемым зубчатым колесом, стопорят подвижными клиньями вал с испытуемыми зубчатыми колесами в необходимой фазе их зацепления. Устройство нагружения зубьев зубчатых колес при испытаниях на изгибную прочность и выносливость содержит основание с размещенными на нем нагружателем, зубчатой передачей, состоящей из испытуемого зубчатого колеса с сопряженной шестерней, установленных на параллельных валах, расположенных в подшипниковых опорах. Оно снабжено не менее одной зубчатой передачей с испытуемым зубчатым колесом, двумя подвижными клиньями, установленными на отдельной опоре основания, на каждом валу жестко установлено по рычагу, один из которых на валу с шестернями связан с нагружателем, а другой рычаг на валу с испытуемыми колесами связан с подвижными клиньями, позволяющими застопорить его с валом в необходимой фазе зацепления испытуемых зубчатых колес. Техническим результатом изобретения является повышение надежности и достоверности определения нагрузочной способности косозубых, шевронных, с криволинейными и круговыми зубьями колес. 2 н.п. ф-лы, 2 ил.
Изобретение относится к машиностроению, а именно к испытательной технике, и может быть использовано для исследования прочности зубчатых колес и их элементов.
Известен способ для испытания на прочность зубчатых колес и их элементов, в котором испытуемое зубчатое колесо, жестко соединенное с валом, имеющим шлицы, устанавливают на антифрикционных втулках в вертикальных стойках разъемного корпуса устройства и соединяют с помощью винта и шлицевого соединения с фланцем-поводком. Нагружателем воздействуют на переходник-рычаг, который через нагруженный элемент-платик передает нагрузку на зуб испытуемого зубчатого колеса (RU, патент №2139512 С1, кл, G 01 М 13/02, 1999).
Недостатком известного способа является невозможность определения прочности косозубых, шевронных, с криволинейными и круговыми зубьями цилиндрических зубчатых колес, в которых в отличие от прямозубых цилиндрических колес при вертикальном воздействии нагружателя и нагружающего элемента на зуб испытуемого цилиндрического зубчатого колеса возникает осевая реакция, которую очень сложно компенсировать. Кроме того, для осуществления оптимального контакта нагружающего элемента с зубом испытуемого цилиндрического колеса требуется точное совпадение контактируемых сопряженных поверхностей, что затруднительно выполнить на отдельных нагружающих элементах-платиках.
Известен способ для испытания на прочность цилиндрических зубчатых колес и их элементов, взятый за прототип, в котором испытуемое зубчатое колесо и сопряженную с ним шестерню жестко устанавливают на параллельных валах, расположенных на подшипниках в разъемном корпусе, жестко закрепленном на основании. До начала испытаний выбирают зазоры в кинематической цепи нагружения при номинальной статической нагрузке. Затем нагружателем воздействуют на переходник, который через нагруженный элемент передает нагрузку на зуб дополнительного прямозубого зубчатого колеса, а от него крутящий момент передается через вал на испытуемое зубчатое колесо, контактирующее с сопряженной шестерней (RU, патент №2193177 С1, кл. G 01 M 13/02, 2002).
Недостатком указанного способа является низкая надежность вследствие сложности кинематической цепи нагружения и необходимости проведения перед испытаниями целого ряда предварительных мероприятий по выборке всех зазоров и усиления креплений отдельных элементов.
Известно устройство для испытания на прочность зубчатых колес и их элементов, содержащее корпус с установленным в нем испытуемым зубчатым колесом с валом, нагружатель, взаимодействующий с последним переходник с нагружающим элементом, снабженное антифрикционными втулками, в которых установлено испытуемое зубчатое колесо с валом, имеющим шлицы, соединенное шлицами и винтом с фланцем-поводком (фланцем-рычагом), застопоренным опорной планкой с внешней стороны корпуса, и снабжено планками для страховки от проворота испытуемого зубчатого колеса, а переходник выполнен в виде рычага, установленного на своей оси в корпусе, нагружающий элемент выполнен в виде сменного платика (RU, патент №2139512 С1, кл. G 01 М 13/02, 1999).
Недостатком известного устройства является невозможность определения прочности косозубых, шевронных, с криволинейными и круговыми зубьями цилиндрических зубчатых колес, в которых в отличие от прямозубых цилиндрических колес при вертикальном воздействии нагружателя и нагружающего элемента на зуб испытуемого цилиндрического зубчатого колеса возникает осевая реакция, которую очень сложно компенсировать. Кроме того, для осуществления оптимального контакта нагружающего элемента с зубом испытуемого цилиндрического колеса требуется точное совпадение контактируемых сопряженных поверхностей, что затруднительно выполнить на отдельных нагружающих элементах-платиках.
Известно устройство для испытания на прочность цилиндрических зубчатых колес и их элементов, взятое за прототип, содержащее корпус с установленным в нем испытуемым зубчатым колесом с валом, нагружатель, взаимодействующий с последним переходник в виде рычага, установленного на своей оси с нагружающим элементом в виде сменного платика, застопоренный фланец-рычаг, снабжено основанием, цилиндрической зубчатой передачей, расположенной в корпусе и состоящей из испытуемого зубчатого колеса, сопряженного с шестерней, установленных на параллельных валах, расположенных в подшипниках (в подшипниковых опорах), прямозубым цилиндрическим зубчатым колесом, установленным на валу испытуемого зубчатого колеса, расположенного в подшипниковых опорах, опорой для установки переходника с нагруженным элементом, контактирующим с зубом прямозубого цилиндрического зубчатого колеса, и снабжено стержнем, соединенным с корпусом, а на валу сопряженной шестерни установлен фланец, соединенный с застопоренным фланцем-рычагом (RU, патент №2193177 С1, кл. G 01 M 13/02, 2002).
Недостатком указанного устройства является необходимость применения дополнительного технологического прямозубого колеса, опирание второго вала на подшипники корпуса редуктора, консольно подвешенного на стержне, значительно удаленном от первичного вала и места приложения нагрузки, что в совокупности снижает жесткость всей кинематической цепи и требует проведения перед испытаниями целого ряда предварительных мероприятий по выборке всех зазоров и усиления креплений отдельных элементов.
Техническим результатом изобретения является повышение надежности и достоверности определения нагрузочной способности косозубых, шевронных, с криволинейными и круговыми зубьями, с однопарным и многопарным зацеплением цилиндрических зубчатых колес в разных фазах зацепления зубчатых колес, одновременное проведение испытания двух зубчатых колес (передач).
Указанный технический результат по способу нагружения зубьев зубчатых колес при испытаниях на изгибную прочность и выносливость достигается тем, что в способе нагружения зубьев зубчатых колес при испытаниях на изгибную прочность и выносливость, заключающемся в том, что жестко устанавливают зубчатую передачу, состоящую из испытуемого зубчатого колеса и сопряженной с ним шестерни, на двух параллельных валах нагружают нагружателем испытуемое зубчатое колесо, устанавливают не менее одной зубчатой передачи с испытуемым зубчатым колесом, стопорят подвижными клиньями вал с испытуемыми зубчатыми колесами в необходимой фазе их зацепления.
Указанный технический результат по устройству нагружения зубьев зубчатых колес при испытаниях на изгибную прочность и выносливость достигается тем, что устройство нагружения зубьев зубчатых колес при испытаниях на изгибную прочность и выносливость, содержащее основание с размещенными на нем нагружателем, зубчатой передачей, состоящей из испытуемого зубчатого колеса с сопряженной шестерней, установленных на параллельных валах, расположенных в подшипниковых опорах, снабжено не менее одной зубчатой передачей с испытуемым зубчатым колесом, двумя подвижными клиньями, установленными на отдельной опоре основания, на каждом валу жестко установлено по рычагу, один из которых на валу с шестернями связан с нагружателем, а другой рычаг на валу с испытуемыми колесами связан с подвижными клиньями, позволяющими застопорить его с валом в необходимой фазе зацепления испытуемых зубчатых колес.
Заявленный способ и устройство поясняются чертежом.
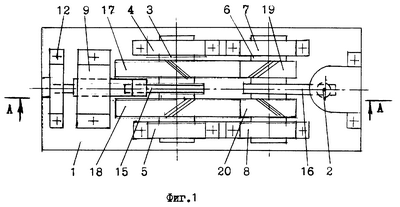
На фиг.1 показан общий вид устройства; на фиг.2 – разрез А-А фиг.1.
Устройство (фиг.1 и 2) для реализации предлагаемого способа состоит из основания 1, размещенных на нем нагружателя 2, вала 3 на подшипниковых опорах 4 и 5 и вала 6 на подшипниковых опорах 7, 8, отдельной опоры 9 с установленными в ней подвижными клиньями 10 и 11, стойки 12 с регулируемыми упорами подвижных клиньев 10 и 11. Валы 3 и 6 установлены параллельно друг другу. На каждом валу жестко установлено по рычагу: на валу 3 рычаг 15, а на валу 6 рычаг 16. На валах 3 и 6 жестко установлены зубчатые передачи, состоящие из испытуемых зубчатых колес 17 и 18 на валу 3, сопряженных соответственно с шестернями 19 и 20, насаженных на вал 6. Для испытания зубчатых колес может установлена одна из зубчатых передач. Опоры 4, 5, 7, 8 и 9, стойки 12, нагружатель 2 жестко установлены на основании 1.
Рычаг 15 на валу 3 с испытуемыми колесами 17 и 18 связан с подвижными клиньями 10 и 11, причем снизу он оперт на наклонную поверхность подвижного клина 10, а сверху фиксируется подвижным клином 11, позволяющим застопорить рычаг 15 с валом 3 в необходимой фазе зацепления испытуемых зубчатых колес 17 и 18, а другой рычаг 16 на валу 6 с шестернями 19 и 20 связан с нагружателем 2.
Устройство работает следующим образом.
Жестко устанавливают одну или две зубчатые передачи, состоящие из испытуемых зубчатых колес 17 и 18 и сопряженных с ними шестернями 19 и 20, на параллельных валах 3 и 6.
При введенных в зацепление зубчатых колесах 17 и 19, 18 и 20 рычаг 16 приводят в соприкосновение с нагружателем 2, а рычаг 15 – с наклонной поверхностью подвижного клина 10, положение которого регулируют упором 13, фиксируя им снизу положение рычага 15, а сверху рычаг 15 фиксируют подвижным клином 11, положение которого регулируют упором 14 на стойке 12, при этом стопорят подвижными клиньями 10 и 11 вал 3 с испытуемыми зубчатыми колесами 10 и 11 в необходимой фазе их зацепления.
Нагружают нагружателем 2 силой Р на связанный с ним рычаг 16 и через него – на вал 6 и находящиеся на нем шестерни 19, 20, от зубьев которых нагрузка соответственно передается на зубья испытуемых зубчатых колес 17, 18, вал 3, рычаг 15, клин 10, опору 9, замыкаясь на основании 1.
Изгибная прочность зубьев зубчатых колес 17 и 18 определяется при воздействии статической нагрузки от нагружателя 2 на рычаг 16, а изгибная выносливость – при циклической нагрузке, передающейся от нагружателя 2. Фаза зацепления и зона контакта зубьев зубчатых колес 17 и 18 регулируются углом поворота рычага 15, который, в свою очередь, зависит от положения клиньев 10 и 11 относительно опоры 9, которые устанавливаются с помощью упоров 13 и 14 на стойке 12.
Для испытаний одинарных зубчатых передач (колес) на валах 3 и 6 устанавливают по одному зубчатому колесу, например 17 и 19, которые находятся в зацеплении между собой.
Таким образом можно нагружать и испытывать не только прямозубые, но и шевронные (с разнесенными полушевронами) и косозубые (правые и левые) колеса в составе как одинарных, так и сдвоенных зубчатых передач.
Заявляемые способ и устройство позволяют также проводить испытания на изгибную прочность и выносливость зубьев зубчатых колес и полушевронов шевронной зубчатой передачи, что весьма затруднительно сделать иным образом. С помощью устройства также можно испытывать одновременно и две пары зубчатых передач с разным числом зубьев, но с одинаковым межцентровым расстоянием.
Формула изобретения
1. Способ нагружения зубьев зубчатых колес при испытаниях на изгибную прочность и выносливость, заключающийся в том, что жестко устанавливают зубчатую передачу, состоящую из испытуемого зубчатого колеса и сопряженной с ним шестерни, на двух параллельных валах, нагружают нагружателем испытуемое зубчатое колесо, отличающийся тем, что устанавливают не менее одной зубчатой передачи с испытуемым зубчатым колесом, стопорят подвижными клиньями вал с испытуемыми зубчатыми колесами в необходимой фазе их зацепления.
2. Устройство нагружения зубьев зубчатых колес при испытаниях на изгибную прочность и выносливость, содержащее основание с размещенными на нем нагружателем, зубчатой передачей, состоящей из испытуемого зубчатого колеса с сопряженной шестерней, установленных на параллельных валах, расположенных в подшипниковых опорах, отличающееся тем, что оно снабжено не менее одной зубчатой передачей с испытуемым зубчатым колесом, двумя подвижными клиньями, установленными на отдельной опоре основания, на каждом валу жестко установлено по рычагу, один из которых на валу с шестернями связан с нагружателем, а другой рычаг на валу с испытуемыми колесами связан с подвижными клиньями, позволяющими застопорить его с валом в необходимой фазе зацепления испытуемых зубчатых колес.
РИСУНКИ
PC4A – Регистрация договора об уступке патента СССР или патента Российской Федерации на изобретение
Прежний патентообладатель:
Федеральное государственное унитарное предприятие Всероссийский научно-исследовательский и конструкторско-технологический институт подвижного состава Министерства путей сообщения Российской Федерации
(73) Патентообладатель:
Открытое акционерное общество “Научно-исследовательский и конструкторско-технологический институт подвижного состава”
Договор № РД0041905 зарегистрирован 10.10.2008
Извещение опубликовано: 20.11.2008 БИ: 32/2008
|
|