|
| На основании пункта 3 статьи 13 Патентного закона Российской Федерации от 23 сентября 1992 г. № 3517-I патентообладатель обязуется передать исключительное право на изобретение (уступить патент) на условиях, соответствующих установившейся практике, лицу, первому изъявившему такое желание и уведомившему об этом патентообладателя и федеральный орган исполнительной власти по интеллектуальной собственности, – гражданину РФ или российскому юридическому лицу. |
|
(21), (22) Заявка: 2005103882/28, 14.02.2005
(24) Дата начала отсчета срока действия патента:
14.02.2005
(43) Дата публикации заявки: 20.07.2005
(46) Опубликовано: 10.12.2006
(56) Список документов, цитированных в отчете о поиске:
RU 2004120802 А, 10.12.2004. RU 2004117640 А, 20.11.2004. SU 1719938 А1, 15.03.1992. GB 686003, 14.01.1953.
Адрес для переписки:
614001, г.Пермь, ул. Осинская, 2а, кв.12, А.Т. Зиньковскому
|
(72) Автор(ы):
Зиньковский Александр Тихонович (RU)
(73) Патентообладатель(и):
Зиньковский Александр Тихонович (RU)
|
(54) МАЯТНИКОВЫЙ МОМЕНТОМЕР ЗИНЬКОВСКОГО А.Т.
(57) Реферат:
Изобретение относится к измерительной технике. Моментомер состоит из основания с кронштейном, на котором установлен вал, связанный с контролируемым крутящим моментом, измерительного блока с маятниковым противовесом и кулачком, а также гибкой связи, один конец которой соединен с профильной поверхностью кулачка, а другой – со средством, создающим крутящий момент на кулачке. Гибкая связь соединена с кулачком с возможностью ее переноса на его симметрично расположенную профильную поверхность. Сущность: для измерения крутящих моментов при смене направления вращения вала гибкая связь переносится на симметрично расположенную профильную поверхность кулачка. Технический результат: обеспечение измерений как по часовой стрелке, так и против. 2 н. и 3 з.п. ф-лы, 2 ил.
Изобретение относится к приборостроительной промышленности и может быть использовано для измерения крутящего момента на непрерывно вращающихся валах, например, электродвигателей.
Наиболее распространенными являются тормозные моментомеры, которые совмещают в себе установленные на основании тормозное устройство, нагружающее испытываемый двигатель тормозным моментом, и измерительный блок, необходимый для измерения этого момента (Потапов Л.А., Юферов Ф.М. Измерение вращающих моментов и скоростей вращения микроэлектродвигателей. М.: Энергия, 1974).
Однако они обладают низкой точностью.
Наиболее близкими по технической сущности к предлагаемому техническому решению являются маятниковые электромагнитные моментомеры с маятниковым противовесом и дополнительным противовесом, расположенным на профильной поверхности кулачка, имеющего форму окружности (Пермский межотраслевой территориальный центр научно-технической пропаганды, 1985 г. Информ. листок №462-85. Маятниковый противовес с дополнительным противовесом).
Однако измерение крутящих моментов на них возможно лишь либо по часовой стрелке, либо против.
Цель изобретения – обеспечение измерений как по часовой стрелке, так и против.
Указанная цель достигается тем, что в моментомере, содержащем основание с кронштейном, на котором установлен вал, связанный с контролируемым крутящим моментом, измерительный блок с маятниковым противовесом и кулачком, а также гибкую связь, один конец которой соединен с профильной поверхностью кулачка, имеющей форму окружности, а другой – со средством, создающим крутящий момент на кулачке, а также гибкую связь, один конец которой соединен с профильной поверхностью кулачка, а другой с средством, создающим крутящий момент на кулачке, гибкая связь выполнена с возможностью ее переноса на симметрично расположенную профильную поверхность кулачка.
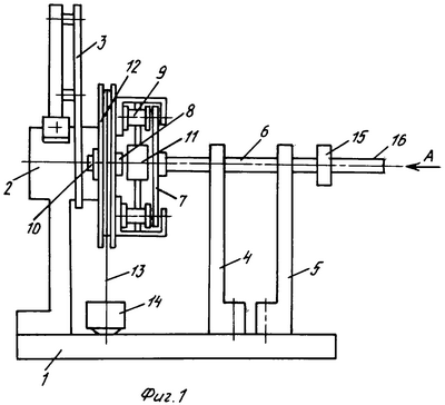
На фиг.1 изображен моментомер, общий вид; на фиг.2 – вид А на фиг.1.
На основании 1 моментомера неподвижно закреплен кронштейн 2 со шкалой 3 и кронштейны 4 и 5 со свободно вращающейся осью 6 немагнитного металлического диска 7. В шарикоподшипниках кронштейна 2 установлен фланец 8 с системой электромагнитов 9, указательной стрелкой 10, маятниковым противовесом 11 и кулачком 12, имеющим форму окружности.
В диаметральной канавке кулачка 12 располагается противовес – гибкая нить 13 с грузом 14.
Пунктирной линией показано положение маятникового противовеса 11 при смене направления вращения вала 16 и переносе гибкой связи 13 с противовесом 14 на симметрично расположенную профильную поверхность кулачка 12.
Груз 14 отклоняет подвижную электромагнитную систему 9 с указательной стрелкой 10 в исходное крайнее левое положение. К оси 6 посредством муфты 15 присоединяется вал 16, на котором необходимо измерить крутящий момент.
Моментомер работает следующим образом.
При возникновении на валу 16 крутящего момента диск 7 приходит во вращение в магнитном поле электромагнитов 9. Индуктируемые в немагнитном металлическом диске 7 токи взаимодействуют с магнитным полем системы электромагнитов 9, вследствие чего последняя вместе с фланцем 8, кулачком 12 и указательной стрелкой 10 увлекается в направлении вращения немагнитного металлического диска 7 и останавливается под некоторым углом к первоначальному. При этом указательная стрелка 10 показывает на шкале 3 значение измеряемого крутящего момента. При вращении электромагнитной системы 9, жестко скрепленной с помощью фланца 8 с кулачком 12, происходит накручивание гибкой связи 13 с противовесом 14 на профильную поверхность кулачка 12.
Тормозной момент, создаваемый дополнительным противовесом 14, остается постоянным. Меняется в зависимости от угла поворота лишь тормозной момент, создаваемый маятниковым противовесом 11.
При смене направления вращения вала 16, на котором необходимо измерить крутящий момент, гибкая связь переносится из левого положения на профильной поверхности кулачка 12 в симметрично расположенное правое. Процесс измерений производится аналогичным способом. Соединение гибкой связи с профильной поверхностью кулачка может быть жестким. Однако при этом перенос гибкой связи может приводить к ее перегибу, что отразится на сроках ее службы. Целесообразнее сделать соединение шарнирным.
В качестве средства, создающего крутящий момент на кулачке, можно применить, как минимум, один противовес или, как минимум, одну пружину. Характеристику пружины и профиль кулачка необходимо подбирать таким образом, чтобы создаваемый крутящий момент оставался постоянным. Для измерения крутящих моментов при смене направления вращения вала гибкая связь переносится на симметрично расположенную профильную поверхность кулачка.
Так как один конец гибкой связи соединен с профильной поверхностью кулачка, а другой – со средством, создающим крутящий момент на кулачке, то перенос гибкой связи на симметрично расположенную профильную поверхность кулачка производится вместе со средством, создающим крутящий момент на кулачке.
При этом на кулачке создается крутящий момент, направленный в противоположную сторону и смещающий в эту сторону начало отсчета шкалы прибора. Перенос гибкой связи производится, к примеру, вместе с противовесом путем механического переноса с одной профильной поверхности и установки на симметрично расположенную другую профильную поверхность кулачка.
В заявленном техническом решении применение в моментомере гибкой связи, выполненной с возможностью ее переноса на симметрично расположенную профильную поверхность кулачка для производства измерений крутящего момента при смене направления вращения вала является новым признаком. Новым является и способ применения в моментомере для измерений крутящего момента при смене направления вращения вала переноса гибкой связи с одной стороны кулачка на другую. Новым признаком является также использование в моментомере в качестве средства, создающего крутящий момент на кулачке, как минимум, одной пружины.
Указанные отличительные признаки дают основание считать заявленное техническое решение соответствующим критерию «новизна», оно не следует явным образом из достигнутого уровня техники и промышленно применимо.
Формула изобретения
1. Маятниковый моментомер, содержащий основание с кронштейном, на котором установлен вал, связанный с контролируемым крутящим моментом, измерительный блок с маятниковым противовесом и кулачком, а также гибкую связь, один конец которой соединен с профильной поверхностью кулачка, а другой – со средством, создающим крутящий момент на кулачке, отличающийся тем, что гибкая связь соединена с кулачком с возможностью ее переноса на его симметрично расположенную профильную поверхность.
2. Маятниковый моментомер по п.1, отличающийся тем, что соединение гибкой связи с профильной поверхностью кулачка выполнено шарнирным.
3. Маятниковый моментомер по п.1, отличающийся тем, что в качестве средства, создающего крутящий момент на кулачке, применен как минимум один противовес.
4. Маятниковый моментомер по п.1, отличающийся тем, что в качестве средства, создающего крутящий момент на кулачке, применена как минимум одна пружина.
5. Способ применения маятникового моментомера по п.1, отличающийся тем, что для измерения крутящих моментов при смене направления вращения вала гибкая связь переносится на симметрично расположенную профильную поверхность кулачка.
РИСУНКИ
|
|