|
| На основании пункта 3 статьи 13 Патентного закона Российской Федерации от 23 сентября 1992 г. № 3517-I патентообладатель обязуется передать исключительное право на изобретение (уступить патент) на условиях, соответствующих установившейся практике, лицу, первому изъявившему такое желание и уведомившему об этом патентообладателя и федеральный орган исполнительной власти по интеллектуальной собственности, – гражданину РФ или российскому юридическому лицу. |
|
(21), (22) Заявка: 2005116722/28, 01.06.2005
(24) Дата начала отсчета срока действия патента:
01.06.2005
(46) Опубликовано: 10.12.2006
(56) Список документов, цитированных в отчете о поиске:
SU 1371508 A3, 08.02.1983. SU 1655494 A1, 15.06.1991. US 2558768 А, 03.08.1951. GB 966417 С, 12.08.1964. GB 910436 А, 14.11.1962.
Адрес для переписки:
140093, Московская обл., г. Дзержинский, а/я 48, А.И. Максимову
|
(72) Автор(ы):
Максимов Александр Иванович (RU)
(73) Патентообладатель(и):
Максимов Александр Иванович (RU)
|
(54) СПОСОБ ИЗГОТОВЛЕНИЯ ТЕРМОМЕТРА И ТЕРМОМЕТР
(57) Реферат:
Изобретение относится к области измерительной техники и направлено на создание термометра, который обеспечивает функцию мебели для сидения. Этот результат обеспечивается за счет того, что в термометре, содержащем корпус, резервуарную и капиллярную длинномерную герметичные полости, сообщенные между собой, индикаторную среду, размещенную в резервуарной полости с возможностью перемещения вдоль капиллярной длинномерной герметичной полости, шкалу, размещенную вдоль капиллярной длинномерной герметичной полости, при этом капиллярная длинномерная герметичная полость и шкала установлены с возможностью их обозревания, согласно изобретению корпус выполняют по форме табурета, содержащего опору и сиденье, причем шкалу, резервуарную и капиллярную длинномерную герметичные полости выполняют на опоре. 2 н.п. ф-лы, 4 ил.
Изобретения относятся к технологии и конструкции изготовления измерительных приборов, в частности термометров – приборов для измерения температуры окружающей среды, и могут быть использованы при изготовлении термометров.
Известен способ изготовления термометра, включающий изготовление корпуса, резервуарной и капиллярной длинномерной герметичных полостей и сообщение их между собой, индикаторной среды, размещение шкалы вдоль капиллярной длинномерной герметичной полости, заполнение резервуарной герметичной полости индикаторной средой с возможностью ее перемещения вдоль капиллярной длинномерной герметичной полости и размещение капиллярной длинномерной герметичной полости и шкалы с возможностью их обозревания (патент СССР №1371508 A3).
Известен термометр, содержащий корпус, резервуарную и капиллярную длинномерную герметичные полости, сообщенные между собой, индикаторную среду, размещенную в резервуарной полости с возможностью перемещения вдоль капиллярной длинномерной герметичной полости, шкалу, размещенную вдоль капиллярной длинномерной герметичной полости, при этом капиллярная длинномерная герметичная полость и шкала установлены с возможностью их обозревания (патент СССР №1371508 A3).
Недостаток известных термометров заключается в том, что они имеют ограниченные функциональные возможности и, в силу данного недостатка, не могут быть использованы в качестве мебели для сидения, в частности, стула, кресла, скамьи и т.д. Таким образом, существует необходимость в создании новых средств для замера температуры, например, окружающей среды, которые могли бы обеспечить замер температуры среды, а также оказывали бы дополнительную функцию, в частности функцию, которую оказывает для человека мебель для сидения. Необходим термометр с расширенными функциональными возможностями.
Задача, на решение которой направлены заявляемые технические решения, состоит в расширении арсенала технических средств определенного назначения для способа изготовления термометра и конструкции термометра.
Технический результат, который может быть при этом получен, заключается в реализации этого назначения, т.е. в создании нового способа изготовления термометра и новой конструкции термометра, который бы имел расширенные функциональные возможности.
Сущность заявляемого способа заключается в том, что в способе изготовления термометра, включающем изготовление корпуса, резервуарной и капиллярной длинномерной герметичных полостей и сообщение их между собой, индикаторной среды, размещение шкалы вдоль капиллярной длинномерной герметичной полости, заполнение резервуарной герметичной полости индикаторной средой с возможностью ее перемещения вдоль капиллярной длинномерной герметичной полости и размещение капиллярной длинномерной герметичной полости и шкалы с возможностью их обозревания, согласно изобретению корпус изготавливают по форме мебели для сидения, содержащей опору, сиденье и спинку или спинку-опору, причем шкалу, резервуарную и капиллярную длинномерную герметичные полости изготавливают на спинке или спинке-опоре.
Сущность заявляемого устройства заключается в том, что в термометре, содержащем корпус, резервуарную и капиллярную длинномерную герметичные полости, сообщенные между собой, индикаторную среду, размещенную в резервуарной полости с возможностью перемещения вдоль капиллярной длинномерной герметичной полости, шкалу, размещенную вдоль капиллярной длинномерной герметичной полости, при этом капиллярная длинномерная герметичная полость и шкала установлены с возможностью их обозревания, согласно изобретению корпус выполнен по форме мебели для сидения, содержащей опору, сиденье и спинку или спинку-опору, причем шкала, резервуарная и капиллярная длинномерная герметичные полости выполнены на спинке или спинке-опоре.
Следует отметить, что изготовление/выполнение части термометра – корпуса по форме мебели для сидения, содержащей опору, сиденье и спинку или спинку-опору, заявляется в виде общего понятия, на уровне выполняемой функции и охватывает разные частные формы изготовления/выполнения указанной мебели, причем собственно мебель для сидения может иметь разные геометрические формы как в плане, так и в сечении. Характеристика (свойство), которая содержится в общем понятии – мебель для сидения, обеспечивает в совокупности с другими признаками заявленного объекта получение технического результата, указанного выше по тексту, при любых вариантах исполнения отдельных частей мебели для сидения, в частности, сиденья, опоры и спинки или спинки-опоры. При любом исполнении корпуса термометра в виде мебели для сидения обеспечивается получение одного и того же заявленного технического результата. Именно изготовление/выполнение части термометра – корпуса по форме мебели для сидения, с опорой, сиденьем и спинкой или спинкой-опорой, а также в совокупности с иными существенными признаками, указанными выше по тексту, обеспечивается достижение поставленной задачи и получение нового технического результата. Предлагаемый термометр обеспечивает выполнение основной функции – замер температуры окружающей среды или вещества путем размещения термометра в окружающей среде или веществе и дополнительной функции, которую выполняет мебель для сидения.
Сопоставительный анализ заявляемого способа изготовления термометра с прототипом показывает, что заявляемый способ имеет общие признаки с прототипом:
– изготовление корпуса;
– изготовление резервуарной и капиллярной длинномерной герметичных полостей и сообщение их между собой;
– изготовление индикаторной среды;
– размещение шкалы вдоль капиллярной длинномерной герметичной полости;
– заполнение резервуарной герметичной полости индикаторной средой с возможностью ее перемещения вдоль капиллярной длинномерной герметичной полости;
– размещение капиллярной длинномерной герметичной полости и шкалы с возможностью их обозревания.
Заявляемый способ изготовления термометра отличается от прототипа новыми признаками:
– корпус изготавливают по форме мебели для сидения, содержащего опору, сиденье и спинку или спинку-опору;
– шкалу, резервуарную и капиллярную длинномерную герметичные полости изготавливают на спинке или спинке-опоре.
Сопоставительный анализ заявляемого термометра с прототипом показывает, что заявляемое устройство имеет общие признаки с прототипом:
– корпус;
– резервуарная и капиллярная длинномерная герметичные полости, сообщенные между собой;
– индикаторная среда, размещенная в резервуарной полости с возможностью перемещения вдоль капиллярной длинномерной герметичной полости;
– шкалу, размещенную вдоль капиллярной длинномерной герметичной полости;
– капиллярная длинномерная герметичная полость и шкала установлены с возможностью их обозревания.
Заявляемый термометр отличается от прототипа новыми признаками:
– корпус выполнен по форме мебели для сидения, содержащей опору, сиденье и спинку или спинку-опору;
– шкала, резервуарная и капиллярная длинномерная герметичные полости выполнены на спинке или спинке-опоре.
Из приведенного перечня признаков заявляемого способа изготовления термометра, конструкции термометра и достижения поставленной задачи наглядно видно, что заявляемые технические решения представляют собой новую совокупность признаков, как сочетание известных и новых признаков, обеспечивающих получение нового технического результата, неизвестного на дату подачи заявки. Новый технический результат, который может быть получен при осуществлении изобретения, заключается в расширении арсенала технических средств для способа изготовления термометра и конструкции термометра.
Заявленные объекты промышленно применимы, т.к. могут быть использованы в строительстве, промышленности, сельском хозяйстве и других отраслях народного хозяйства, где используются термометры. Заявляемые технические решения могут быть воспроизведены в том виде, как они охарактеризованы в любом из пунктов формулы изобретения с использованием известных материалов, технологий и технологического оборудования. В случае осуществления изобретения по любому из пунктов формулы действительно возможна реализация указанного выше назначения.
Технические решения заявляемых объектов соответствуют критерию «новизна», т.к. они неизвестны из уровня техники на дату подачи заявки. Не известна из уровня техники совокупность существенных признаков заявляемых технических решений и их влияние на получение требуемого технического результата.
Технические решения заявляемых объектов соответствуют критерию «изобретательский уровень», т.к. не выявлены решения, имеющие признаки, совпадающие с их отличительными признаками, и не обнаружена известность влияния отличительных признаков на получаемый технический результат.
Таким образом, заявляемые технические решения связаны между собой настолько, что они образуют единый изобретательский замысел и соответствуют всем критериям, предъявляемым к изобретению, и обеспечивают получение нового технического результата и в силу указанных обстоятельств заявлены в составе одной заявки.
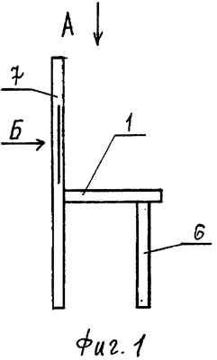
На фиг.1, 2 показан способ изготовления термометра и конструкция термометра; на фиг.3 – вид А на фиг.1; на фиг.4 – вид Б на фиг.1 и 2.
Термометр содержит корпус, выполненный (образованный) по форме мебели для сидения, например стула, содержащего сиденье 1 (см. фиг.1-3), опору 6, спинку 8 или спинку-опору 7, резервуарную герметичную полость 2 (далее полость), индикаторную среду (индикаторное вещество) 3, капиллярную длинномерную герметичную полость (далее полость) 4 и шкалу 5. Шкала 5 размещена вдоль полости 4. Полости 2 и 4 сообщены между собой. Индикаторная среда 3 размещена в полости 2 с возможностью перемещения вдоль полости 4. Полости 2, 4 и шкала 5 выполнены (размещены) на спинке 8 или спинке-опоре 7. Полость 4 и шкала 5 установлены с возможностью их обозревания. Корпус выполнен из светопрозрачного материала, например стекла, или оргстекла, или полимерного материала – это не существенно, а существенным является то, чтобы светопрозразный материал присутствовал бы в зоне размещения полости 4, на участке размещения шкалы 5. Шкала 5 выполнена (размещена) на спинке 8 или спинке-опоре 7 и представляет собой набор линий и цифр, которые выполнены определенным образом и с определенным шагом. Линии могут быть выполнены путем предварительного изготовления впадин и последующего их заполнения наполнителем. Шкала 5 может быть выполнена типографским способом в виде отдельной съемной детали с метками и цифрами, которая закрепляется на спинке 8 или спинке-опоре 7. В спинке 8 или спинке-опоре 7 может быть выполнена специальная полость для размещения в ней шкалы 5. Индикаторная среда (индикаторное вещество) 3 может быть образована, например, подкрашенным этиловым спиртом (в качестве индикаторной среды может быть использована любая среда из числа известных и применяемых при изготовлении термометров). Геометрическая же форма в плане, в сечении и размеры корпуса термометра соответствуют геометрической форме в плане, в сечении и размерам известной мебели для сидения, а также мебели для сидения, которая будет создана в будущем, с опорой 6, сиденьем 1 и спинкой 7 или спинкой-опорой 7. Заявитель обращает внимание экспертизы на то обстоятельство, что заявляется не та или иная геометрическая форма изготовления/выполнения корпуса термометра, а заявляется изготовление/выполнение корпуса термометра по форме мебели для сидения, при этом мебель для сидения может иметь любую геометрическую форму, это не является существенным признаком, т.е. существенным является новая функция термометра.
На фиг.1, 2 показан термометр, корпус которого выполнен (образован) по форме мебели для сидения – стула, который имеет, в качестве примера, геометрическую форму в плане, показанную на фиг.1, 2.
Термометр работает следующим образом.
Термометр обеспечивает замер температуры окружающей среды или вещества путем размещения термометра в окружающей среде или веществе. Под воздействием температуры окружающей среды или вещества происходит изменение объема индикаторной среды 3, а в результате изменения объема происходит изменение высоты столбика индикаторной среды 3 в полости 4. По положению края столбика индикаторной среды 3 в полости 4 относительно шкалы 5, определяют величину температуры вещества или среды.
Пример способа изготовления термометра.
Изготовили: корпус термометра по форме стула с опорой 6, сиденьем 1 и спинкой 8 или спинкой-опорой 7, резервуарную герметичную полость 2 (далее полость), индикаторную среду (индикаторное вещество) 3, капиллярную длинномерную герметичную полость (далее полость) 4 и шкалу 5. Шкалу 5 разместили вдоль полости 4. Полости 2 и 4 сообщили между собой. Индикаторную среду 3 разместили в полости 2 с возможностью перемещения вдоль полости 4. Полости 2, 4 и шкалу 5 разместили на спинке 8 или спинке-опоре 7 (см. фиг.1, 2). Полость 4 и шкалу 5 установили с возможностью их обозревания. Корпус изготовили из светопрозрачного материала, например стекла, или оргстекла, и полимерного материала – это не существенно, а существенным является то, чтобы светопрозрачный материал присутствовал бы в зоне размещения полости 4 на участке размещения шкалы 5. Шкалу 5 изготовили на поверхности спинки 8 или спинке-опоре 7 в виде набора линий и цифр, которые выполнили определенным образом и с определенным шагом. Линии изготовили путем предварительного изготовления впадин и последующего их заполнения наполнителем (использовали густую черную краску). Индикаторную среду (индикаторное вещество) 3 изготовили в виде подкрашенного в красный цвет этилового спирта. Форму и размеры корпуса изготовили по форме, в частности, стула с сиденьем 1, опорой 6 и спинкой 8 или спинкой-опорой 7. Существенным является то, что корпус термометра образован по форме мебели для сидения, например стула, с сиденьем 1, опорой 6 и спинкой 8 или спинкой-опорой 7, при этом указанная мебель для сидения может иметь любую геометрическую форму, но это не существенно.
Таким образом, заявляемые технические решения обеспечивают достижение поставленной задачи и получение нового технического результата.
Формула изобретения
1. Способ изготовления термометра, включающий изготовление корпуса, резервуарной и капиллярной длинномерной герметичных полостей и сообщение их между собой, индикаторной среды, размещение шкалы вдоль капиллярной длинномерной герметичной полости, заполнение резервуарной герметичной полости индикаторной средой с возможностью ее перемещения вдоль капиллярной длинномерной герметичной полости и размещение капиллярной длинномерной герметичной полости и шкалы с возможностью их обозревания, отличающийся тем, что корпус изготавливают по форме мебели для сидения, содержащей опору, сиденье и спинку или спинку-опору, причем шкалу, резервуарную и капиллярную длинномерную герметичные полости изготавливают на спинке или спинке-опоре.
2. Термометр, содержащий корпус, резервуарную и капиллярную длинномерную герметичные полости, сообщенные между собой, индикаторную среду, размещенную в резервуарной полости с возможностью перемещения вдоль капиллярной длинномерной герметичной полости, шкалу, размещенную вдоль капиллярной длинномерной герметичной полости, при этом капиллярная длинномерная герметичная полость и шкала установлены с возможностью их обозревания, отличающийся тем, что корпус выполнен по форме мебели для сидения, содержащей опору, сиденье и спинку или спинку-опору, причем шкала, резервуарная и капиллярная длинномерная герметичные полости выполнены на спинке или спинке-опоре.
РИСУНКИ
|
|