|
|
(21), (22) Заявка: 2004123231/28, 29.07.2004
(24) Дата начала отсчета срока действия патента:
29.07.2004
(43) Дата публикации заявки: 27.01.2006
(46) Опубликовано: 10.12.2006
(56) Список документов, цитированных в отчете о поиске:
Леончик Б.И., Маякин В.П. Измерение в дисперсных потоках. – М.: Энергоатомиздат, 1981, с.92. SU 866421 А1, 23.09.1981. SU 386274 A1, 01.01.1973. GB 1078131 А, 02.06.1967. US 4343961 А, 10.08.1982. Преображенский В.П. Теплотехнические измерения и приборы. М.: Энергия, 1978, с.704.
Адрес для переписки:
142530, Московская обл., г. Электрогорск, ул. Кржижановского, 26, кв.56, Э.А. Болтенко
|
(72) Автор(ы):
Болтенко Дмитрий Эдуардович (RU), Кирин Николай Николаевич (RU), Болтенко Эдуард Алексеевич (RU), Шаров Виктор Петрович (RU)
(73) Патентообладатель(и):
Болтенко Дмитрий Эдуардович (RU), Кирин Николай Николаевич (RU), Болтенко Эдуард Алексеевич (RU), Шаров Виктор Петрович (RU)
|
(54) ТЕРМОПАРА
(57) Реферат:
Изобретение относится к измерительной технике, в частности к схемам, использующим нагрев спая термопары. Технический результат – повышение точности измерения температуры. Для достижения данного результата термоэлектроды, образующие спай, подключены к узлу разводки со стороны спая через соединительные провода. При этом сопротивление термоэлектродных проводов, образующих спай, намного больше сопротивления соединительных проводов. 2 ил., 1 табл.
Изобретение относится к измерительной технике и может использоваться в схемах, использующих нагрев спая термопары, например, для определения скорости однофазного потока жидкости.
Известен датчик для измерения скорости, содержащий спай термопары и нагреватель, отделенный от нагреваемого спая через электроизолятор (Б.И.Леончик, В.П.Маякин Измерение в дисперсных потоках, М.: Энергоатомиздат, 1981, с.92). Основной недостаток термопары заключается в том, что она имеет большую инерционность, в том числе и за счет наличия электроизоляционного слоя между спаем термопары и отдельным нагревателем. Конструкция термопары сложна из-за наличия элементов электроизоляции, отдельного нагревателя. Рабочие температуры ограничены свойствами электроизоляции и не превышают 200-250°С.
Наиболее близким по технической сущности и достигаемому результату к предлагаемому техническому решению является термопара, содержащая термоэлектроды, с одной стороны образующие спай, а с другой через узел разводки, подсоединительные провода подключенные к источнику питания и через узел разводки и термоэлектродные провода к измерителю термоЭДС (Б.И.Леончик, В.П.Маякин Измерение в дисперсных потоках, М.: Энергоатомиздат, 1981, с.92).
Основной недостаток аналога заключается в том, что условие Rсп.>Rп.п. может быть обеспечено на небольшом участке измерения (расстояние от спая до узла разводки), где
Rсп. – сопротивление спая;
Rп.п. – электрическое сопротивление подсоединительных проводов.
В таблице приведено сопротивление спая и подсоединительных проводов. Диаметр спая выбран равным 0,05 мм и 0,1 мм, диаметр подсоединительных проводов 1 мм. Длина подсоединительных проводов принята равной 0,1 м. Как видно из таблицы, при диаметре спая 0,05 мм сопротивление подсоединительных проводов соизмеримо с сопротивлением спая, при диаметре спая 0,1 мм сопротивление подсоединительных проводов выше сопротивления спая.
Таблица. Сопротивление подсоединительных проводов и спаев при t=20°C.
| провод |
L, м |
ро, Ом·м |
d, м |
R, Ом |
Rсумм, Ом |
 |
| Cu |
0,1 |
1,70Е-08 |
0,001 |
2,17Е-03 |
6,59Е-02 |
| Константан |
0,1 |
5,00Е-07 |
0,001 |
6,37Е-02 |
| |
| спай 0,05 мм |
L, м |
ро. Ом·м |
d. м |
R, Ом |
Rсумм, Ом |
| Cu |
0,00005 |
1,70Е-08 |
5Е-05 |
4,33Е-04 |
1,32Е-02 |
| Константан |
0,00005 |
5,00Е-07 |
5Е-05 |
1,27Е-02 |
| |
| спай 0,1 мм |
L, м |
ро, Ом·м |
d, м |
R, Ом |
Rсумм, Ом |
| Cu |
0,0001 |
1,70Е-08 |
1Е-04 |
2,17Е-04 |
6,59Е-03 |
| Константан |
0,0001 |
5,00Е-07 |
1Е-04 |
6,37Е-03 |
В этом случае работа термопары не обеспечивается. Поскольку часть термопары, находящейся на участке измерения, может быть достаточно длинной, в ней будет выделяться большое количество тепла. Это тепло влияет как на точность измерений, так и на живучесть термопары. В конечном итоге термопара просто выйдет из строя из-за перегрева – сгорит. Кроме того, невозможно обеспечить большую плотность теплового потока на спае и, соответственно, большую чувствительность датчика. Последнее связано с тем, что при пропускании большого тока на участке спай – подсоединительные провода (до узла разводки) выделяется большое количество тепла. Выделение большого количества тепла может привести к выходу датчика из строя, кроме того, переток тепла по подсоединительным проводам изменяет тепловой поток на спае, затрудняет интерпретацию результатов, снижает точность результатов.
Кроме того, малый диаметр спая снижает надежность работы термопары, увеличивает вероятность выхода ее из строя. Таким образом, термопара, описанная в аналоге, может быть выполнена в лабораторных условиях, когда участок измерения мал, нет необходимости защиты термопары от измерительной среды (вода, пар при высоких давлениях и температурах).
Предлагается термопара, содержащая термоэлектроды, с одной стороны образующие спай, а с другой через узел разводки подсоединительные провода, подключенные к источнику питания и через узел разводки и термоэлектродные провода к измерителю термоЭДС
Технический результат, на достижение которого направлено предлагаемое изобретение, заключается в повышении точности измерения скорости, надежности работы термопары и увеличении участка измерения, что обеспечивается тем, что термоэлектроды через дополнительные спаи, образованные термоэлектродами и дополнительными подсоединительными проводами, подключены к дополнительным подсоединительным проводам, а через них к узлу разводки, причем сопротивление термоэлектродов, образующих спай, намного больше сопротивления дополнительных подсоединительных проводов, Rт.п.>Rп.п.,
где Rт.п. – электрическое сопротивление термоэлектродов;
Rп.п. – электрическое сопротивление дополнительных подсоединительных проводов.
Достижение технического результата, заключающегося в повышении надежности и точности измерений, обеспечивается тем, что Rт.п.>Rп.п. Благодаря выполнению этого условия на участке от дополнительных спаев, образованных термоэлектродами и дополнительными подсоединительными проводами, до узла разводки выделяется намного меньше тепла по сравнению с полезным теплом, выделяемым на участке спай, термоэлектроды, дополнительные спаи. Это тепло идет на формирование полезного сигнала. Выполнение этого условия позволяет практически исключить нагрев в дополнительных подсоединительных проводах и, соответственно, исключить влияние нагрева на точность показаний термопары и ее надежность и работоспособность.
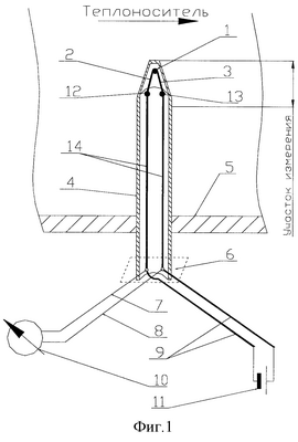
Достижение технического результата, заключающегося в увеличении участка измерения, обеспечивается тем, что Rт.п.>Rп.п. Выполнение этого условия позволяет практически исключить нагрев на участке от дополнительных спаев, образованных термоэлектродами и дополнительными подсоединительными проводами, до узла разводки. Поскольку в дополнительных подсоединительных проводах выделяется малое количество тепла, длину дополнительных подсоединительных проводов на участке измерения (до узла разводки) можно выполнить достаточно большой. За счет увеличения длины дополнительных подсоединительных проводов на участке от дополнительных спаев до узла разводки участок измерения может быть выполнен достаточно большим, при этом зона нагрева, включающая в себя спай, термоэлектроды и два дополнительный спая, остается без изменений. На фиг.1 показано схематичное изображение термопары. Термопара состоит из спая 1, образуемого термоэлектродами 2 (хромель) и 3 (копель) и спаями 12 и 13, образуемыми термоэлектродами 2 и 3 и дополнительными подсоединительными проводами 14 (медь). Спаи 1, 12 и 13 и термоэлектроды 2 и 3 образуют цепь нагрева. Цепь (зона) нагрева (электрическая цепь 1-2-12-13-3) выполнена из материала с большим удельным электрическим сопротивлением, слабо зависящим от температуры (хромель-копель). Цепь нагрева последовательно через дополнительные подсоединительные провода 14, узел разводки 6 и подсоединительные провода 9 подключена к источнику питания 11. Измерительная цепь (цепь 1-2-12-13-3) через дополнительные подсоединительные провода 14, узел разводки 6 и термоэлектродные (компенсационные) 7 (хромель) и 8 (копель) провода подключены к измерителю термоЭДС 10. Термоэлектроды 2 и 3, спаи 1, 12, 13 и дополнительные подсоединительные провода 14 помещаются в капилляр 4, спай 1 приваривается к оболочке капилляра 4, далее капилляр обжимается до необходимого размера и подсоединяется к узлу разводки. Термопара работает следующим образом. Термопара помещается в канал (узел разводки на воздухе), где производят измерение скорости жидкости (термопара устанавливается либо нормально к набегающему потоку, либо навстречу потоку). Измеряют температуру жидкости. Нагревают зону нагрева за счет пропускания тока от источника питания 11 через подсоединительные провода 9, узел разводки 6, дополнительные подсоединительные провода 14, спай 12, термоэлектроды 2 и 3, спай 1, спай 13. Поддерживают ток через термопару на некотором фиксированном уровне. Измеряют термоЭДС. Отключают источник питания. Измеряют термоЭДС при отключенном источнике, определяют разность термоЭДС при включенном и отключенном источнике питания Е=Eq-Е0, где Eq и Е0 – термоЭДС термопары при подключенном и отключенном источнике питания. Далее на основе предварительно полученной путем градуировки зависимости Е=f(W) определяют скорость потока, где W – скорость потока. Зависимость показаний термопары без нагрева спая показана на фиг.2. Зависимость Е=f(Т) получена на специальной градуировочной установке, позволяющей создавать нагрев термопары до определенной температуры. В качестве примера рассмотрим определение скорости воды в трубе. Датчик размещался навстречу потоку. Характеристики термопары – сопротивление цепи нагрева 1,2 Ом (хромель, копель диаметр проводов 0,2 мм), подсоединительные провода 6 выполнены из медных проводов в изоляции диаметром 1 мм, дополнительные подсоединительные провода 14 выполнены из медных проводов диаметром 1 мм в изоляции и сопротивлением Rп.п.=0,05 Ом. Провода помещены в капилляр и обжаты, наружный диаметр 3 мм, спай 1 приварен к капилляру и уменьшен до 0,5 мм. Измерения показали, что датчик позволяет создать интенсивный локальный нагрев спая, обеспечивающий высокую чувствительность при измерении скорости в широких пределах (1-10 м/с).
Формула изобретения
Термопара, содержащая термоэлектроды, с одной стороны образующие спай, а с другой через узел разводки – подсоединительные провода, подключенные к источнику питания и через узел разводки и термоэлектродные провода к измерителю термоЭДС, отличающаяся тем, что термоэлектроды через дополнительные спаи, образованные термоэлектродами и дополнительными проводами, подключены к дополнительным подсоединительным проводам, а через них к узлу разводки, причем сопротивление термоэлектродов, образующих спай, намного больше сопротивления подсоединительных проводов:
Rт.п.>Rп.п.,
где Rт.п. – электрическое сопротивление термоэлектродов;
Rп.п – электрическое сопротивление дополнительных подсоединительных проводов.
РИСУНКИ
MM4A – Досрочное прекращение действия патента СССР или патента Российской Федерации на изобретение из-за неуплаты в установленный срок пошлины за поддержание патента в силе
Дата прекращения действия патента: 30.07.2007
Извещение опубликовано: 27.02.2009 БИ: 06/2009
|
|