|
|
(21), (22) Заявка: 2005131912/28, 11.10.2005
(24) Дата начала отсчета срока действия патента:
11.10.2005
(46) Опубликовано: 10.12.2006
(56) Список документов, цитированных в отчете о поиске:
Пешехонов В.Г. и др. Результаты разработки микромеханического гироскопа. XII Санкт-Петербургская международная конференция по интегрированным навигационным системам. 23-25 мая 2005 г., с.268-274. RU 18768 U1, 10.07.2001. WO 2004063670 A1, 29.07.2004. US 6308567 B1, 30.10.2001. JP 2003194545 A, 09.07. 2003.
Адрес для переписки:
197046, Санкт-Петербург, ул. М. Посадская, 30, ФГУП ЦНИИ “Электроприбор”, Первому зам. директора В.М. Зиненко
|
(72) Автор(ы):
Некрасов Яков Анатольевич (RU)
(73) Патентообладатель(и):
Федеральное государственное унитарное предприятие “Центральный научно-исследовательский институт “Электроприбор” (RU)
|
(54) СПОСОБ ИЗМЕРЕНИЯ УГЛОВОЙ СКОРОСТИ И МИКРОМЕХАНИЧЕСКИЙ ГИРОСКОП ДЛЯ ЕГО РЕАЛИЗАЦИИ
(57) Реферат:
Изобретение относится к гироскопам вибрационного типа, в частности к микромеханическим гироскопам (ММГ) с подвижной массой (ПМ). Способ измерения угловой скорости ММГ заключается в возбуждении колебаний по оси первичных колебаний путем подачи на электроды гребенчатого двигателя переменного напряжения, формировании из сигнала емкостного датчика по оси первичных колебаний первого сигнала, пропорционального скорости перемещения ПМ по оси первичных колебаний, формировании из сигнала емкостного датчика по оси вторичных колебаний второго сигнала, пропорционального перемещению ПМ по оси вторичных колебаний, умножении второго сигнала на сигнал, синфазный с первым сигналом, выделении третьего сигнала, пропорционального низкочастотной составляющей произведения этих сигналов, выделении четвертого сигнала, пропорционального амплитуде первого сигнала и формировании пятого сигнала путем нормирования третьего сигнала четвертым. ММГ для реализации способа содержит ПМ на двухосном резонансном подвесе, емкостные датчики, расположенные по осям первичных и вторичных колебаний, гребенчатый двигатель, устройство возбуждения колебаний ПМ, усилитель, подключенный к выходу емкостного датчика, расположенный на оси вторичных колебаний, фазовращатель, демодулятор, входы которого соединены с выходом усилителя и выходом фазовращателя, амплитудный детектор, вход которого соединен с выходом емкостного датчика, расположенного по оси первичных колебаний, делитель, входы которого соединены с выходом демодулятора и выходом амплитудного детектора. Технический результат: повышение точности ММГ и уменьшение его времени готовности. 2 н. и 3 з.п ф-лы, 8 ил.
Данное изобретение относится к гироскопам вибрационного типа, в частности к микромеханическим гироскопам (ММГ), в которых подвижная масса (ПМ), подвешенная на по крайней мере двухосном резонансном подвесе, приводится в колебательное движение (т.н. первичные колебания) с помощью системы, включающей в себя гребенчатый двигатель, емкостной датчик положения и усилительное устройство. При вращении ММГ вокруг оси чувствительности, ортогональной к оси, вокруг или вдоль которой происходят колебания ПМ, под действием кориолисовых сил возникают колебания ПМ (вторичные колебания) по третьей оси, которая ортогональна к первым двум [Пешехонов В.Г. и др. Результаты разработки микромеханического гироскопа. В кн.: XII Санкт-Петербургская международная конференция по интегрированным навигационным системам 23-25 мая 2005 г., стр.268-274, рис.1].
Если вращение ММГ вокруг оси чувствительности происходит с угловой частотой (t) и перемещения ПМ по оси первичных колебаний (X(t)) происходят в соответствии с выражением:

где х0 – амплитуда этих колебаний, – угловая частота,
то колебания ПМ по оси вторичных колебаний (Y(t)) будут проходить в соответствии с выражением:

Для выделения сигнала (t) применяется демодуляция, при которой сигнал (2) перемножают с сигналом, ортогональным с сигналом (1), а затем выделяют низкочастотную составляющую произведения. Ортогональный сигнал формируют разными способами: дифференцированием или интегрированием сигнала (1) с помощью системы фазовой автоподстройки и т.д.
Блок-схема такого преобразования приведена в статье A.Kourepenis, P.Ward et al. «Performance of MEMS Inertial Sensors». IEEE Plans, April 1988, pp.1-7. Fig.4.” Ha фиг.4 показано, что в составе блок-схемы ММГ есть контур возбуждения первичных колебаний, от которого сигнал, пропорциональный скорости перемещения ПМ по оси первичных колебаний, поступает как опорный к демодулятору, который находится в цепи преобразования сигнала контура вторичных колебаний.
Аналогичная структура приведена соавтором статьи P.Word в патенте США №5604309, fig.6. На фиг.6 показано, что в контур возбуждения первичных колебаний входят элементы 318, 330, а демодулятор в цепи преобразования сигнала контура вторичных колебаний выполнен на умножителе 354 и фильтре низкой частоты (ФНЧ) 360.
Для того чтобы масштабный коэффициент ММГ оставался неизменным, в ММГ применяется система стабилизации амплитуды первичных колебаний (х0). В этих системах сигнал о перемещении ПМ по оси первичных колебаний измеряется с помощью емкостного датчика, расположенного по оси первичных колебаний.
Применение систем стабилизации амплитуды первичных колебаний ПМ является общепринятой практикой в ММГ. В качестве примера можно указать упомянутые работы A.Kourepenis, патенты США №№5604309, 5992233 (fig.9, элементы 100, 106, 118, 60, 61), 5604309, fig.6, 6626039, fig.8. Стабилизация амплитуды может осуществляться с использованием устройства автоматической регулировки усиления, которая обеспечивает такую величину усиления в контуре возбуждения первичных колебаний, при которой амплитуда колебаний равна заданной. Пример построения такого устройства приведен на fig.2 пат. США №6765305. Это устройство содержит выпрямитель 206, который преобразует сигнал переменного тока с выхода емкостного датчика в сигнал, величина которого пропорциональна амплитуде входного сигнала выпрямителя.
Сказанное подтверждается тем, что в стандарте IEEE Std 1431-2004 прямо утверждается, что в CVG (Coriolis Vibrating Gyros) применяется система стабилизации амплитуды первичных колебаний (automatic gain control of the drive amplitude) [см. fig. A1, p.223].
Таким образом, в ММГ осуществляют возбуждение колебаний подвижной массы по оси первичных колебаний, а для выделения сигнала (t) осуществляются следующие операции:
а) выделяют из сигнала емкостного датчика по оси первичных колебаний первый сигнал, пропорциональный скорости перемещения подвижной массы по оси первичных колебаний (или сигнал, ортогональный X(t) (т.е. синфазный c Y(t)) и постоянной амплитуды);
б) выделяют второй сигнал, пропорциональный перемещению подвижной массы по оси вторичных колебаний;
в) выделяют третий сигнал после перемножения первых двух сигналов, пропорциональный низкочастотной составляющей произведения;
г) для того чтобы стабилизировать амплитуду первичных колебаний выделяют четвертый сигнал, пропорциональный величине x0 или производной от X(t).
В системах стабилизации амплитуды первичных колебаний ПМ переменное напряжение поступает к электродам гребенчатых двигателей ММГ. Как правило, частота этого напряжения равна резонансной частоте подвеса по оси первичных колебаний. Наличие этого напряжения на электродах может приводить к возникновению помех на выходе емкостных датчиков в каналах первичных и вторичных колебаний. Вследствие явления левитации ПМ из-за краевых эффектов наличие напряжения на электродах может приводить к росту квадратурной помехи ММГ, нестабильности масштабного коэффициента ММГ и появлению перекрестной чувствительности [см. C.Painter, A.Shkel. “Effect of Levitation Forces of the Performance of Surface Micromashined MEMS Gyroscopes 2004 г. IEEE, 0-7803-8692-2/04”, W.C.Tang et al. “Electrostatic control-drive levitation and control method”. J. of Micromechanical Systems, vol.1, №4, p.170-178, December 1992, Geiger W. et al. ” New design of Micromechanical Vibrating Rate Gyroscope with Decoupled Oscillation Modes”, 1997, International Conference on Solid State Sensors and Actuators, Chicago, June 16-19, p.1129-1132].
Таким образом, практически во всех ММГ вибрационного типа, содержащих ПМ на резонансном подвесе и емкостные датчики, расположенные по осям первичных и вторичных колебаний, применяется способ изменения угловой скорости, заключающийся в возбуждении колебаний ПМ по оси первичных колебаний, стабилизации амплитуды этих колебаний, формировании из сигнала емкостного датчика по оси первичных колебаний первого сигнала, пропорционального скорости перемещения подвижной массы по оси первичных колебаний, формировании из сигнала емкостного датчика по оси вторичных колебаний второго сигнала, пропорционального перемещению подвижной массы по оси вторичных колебаний, умножении второго сигнала на сигнал, синфазный с первым сигналом, выделении третьего сигнала, пропорционального низкочастотной составляющей произведения этих сигналов, выделении четвертого сигнала, пропорционального амплитуде первого сигнала.
Недостатком этого способа является то, что для поддержания постоянства амплитуды первичных колебаний на электроды гребенчатого двигателя ММГ постоянно поступает напряжение достаточно большой (по сравнению с сигналами емкостных датчиков) величины, которая создает помехи в каналах измерения перемещения ПМ и является причиной ухудшения характеристик ММГ из-за изменений масштабного коэффициента и увеличения чувствительности к перекрестным вибрациям и т.д.
Описанный способ используется и в ММГ, приведенном в работе [Пешехонов В.Г. и др. Результаты разработки микромеханического гироскопа. XII Санкт-Петербургская международная конференция по интегрированным навигационным системам 23-25 мая 2005 г., стр.268-274, рис.6]. В этом ММГ колебания ротора (ПМ) по оси первичных колебаний возбуждаются за счет введения обратной связи с выхода емкостного датчика (Д1). Стабилизация амплитуды колебаний достигается за счет использования устройства автоматической регулировки усиления (на интеграторе, схеме АРУ и усилителе с изменяемым коэффициентом передачи). Схема АРУ выполнена аналогично схеме на fig.2 пат. США №6765305 и включает в себя выпрямитель, который преобразует сигнал переменного тока с выхода емкостного датчика в сигнал, величина которого пропорциональна амплитуде входного сигнала выпрямителя. В этом ММГ сигнал, пропорциональный скорости перемещения подвижной массы по оси первичных колебаний, выделяется с помощью фазовращателя (выполненного по схеме интегратора), а сигнал, пропорциональный перемещению подвижной массы по оси вторичных колебаний, снимается с выхода демодулятора Д2. Выходной сигнал ММГ формируется демодулятором Д3, выполненным на аналоговом умножителе и ФНЧ, т.е. на элементах, которые осуществляют перемножения двух входных сигналов и выделяют сигнал, пропорциональный низкочастотной составляющей произведения двух входных сигналов.
Способ измерения угловой скорости и микромеханический гироскоп, описанные в работе – Пешехонов В.Г. и др. «Результаты разработки микромеханического гироскопа». XII Санкт-Петербургская международная конференция по интегрированным навигационным системам. 23-25 мая 2005 г., стр.268-274, приняты в качестве прототипа.
Недостатком способа-прототипа и приведенных выше способов-аналогов является невысокая по сравнению с потенциальными возможностями чувствительного элемента точность, достигаемая в ММГ. Это обусловлено тем, что для поддержания постоянства амплитуды первичных колебаний на электроды гребенчатого двигателя ММГ постоянно поступает напряжение достаточно большой (по сравнению с сигналами емкостных датчиков) величины, которое создает помехи в каналах измерения перемещения ПМ и является причиной ухудшения характеристик ММГ из-за изменений масштабного коэффициента и увеличения чувствительности к перекрестным вибрациям и т.д.
Кроме того, недостатком прототипа является большое время готовности, обусловленное тем, что оно определяется временем набора максимальной амплитуды первичных колебаний, которое может составлять десятки секунд, а при увеличении напряжения питания – единицы секунд и меньше. Но это уменьшение достигается за счет ухудшения экономичности ММГ и повышения требований к источникам питания.
Эти недостатки присущи и устройству-прототипу, в котором реализуется способ-прототип.
Задачей изобретения является повышение точности при измерении угловой скорости.
Дополнительной задачей изобретения является уменьшение времени готовности ММГ.
Поставленная задача решается тем, что при измерении угловой скорости с помощью микромеханического гироскопа, содержащего подвижную массу на двухосном резонансном подвесе, емкостные датчики, расположенные по осям первичных и вторичных колебаний, гребенчатый двигатель, по способу, заключающемуся в возбуждении колебаний подвижной массы по оси первичных колебаний путем подачи на электроды гребенчатого двигателя переменного напряжения, формировании из сигнала емкостного датчика по оси первичных колебаний первого сигнала, пропорционального скорости перемещения подвижной массы по оси первичных колебаний, формировании из сигнала емкостного датчика по оси вторичных колебаний второго сигнала, пропорционального перемещению подвижной массы по оси вторичных колебаний, умножении второго сигнала на сигнал, синфазный с первым сигналом, выделении третьего сигнала, пропорционального низкочастотной составляющей произведения этих сигналов, выделении четвертого сигнала, пропорционального амплитуде первого сигнала, формируют пятый сигнал путем нормирования третьего сигнала четвертым.
Кроме того, поставленная задача решается тем, что при измерении угловой скорости из сигнала емкостного датчика по оси первичных колебаний формируют шестой сигнал, пропорциональный перемещению ПМ по оси первичных колебаний, при этом второй сигнал формируют из разности сигнала емкостного датчика по оси вторичных колебаний и шестого сигнала.
Кроме того, поставленная задача решается тем, что возбуждение колебаний подвижной массы осуществляют периодически, формируя режимы разгона колебаний подвижной массы и выбега путем соответственно подключения и отключения источника переменного напряжения к электродам гребенчатого двигателя, а пятый сигнал измеряют в режиме выбега.
Кроме того, поставленная задача решается тем, что в микромеханический гироскоп, содержащий подвижную массу на двухосном резонансном подвесе, емкостные датчики, расположенные по осям первичных и вторичных колебаний, гребенчатый двигатель, расположенный на оси первичных колебаний, устройство возбуждения колебаний подвижной массы, включенное между расположенными на оси первичных колебаний емкостном датчике и гребенчатым двигателем, усилитель, подключенный к выходу емкостного датчика, расположенный на оси вторичных колебаний, фазовращатель, соединенный с выходом емкостного датчика, расположенного по оси первичных колебаний, демодулятор, входы которого соединены с выходом усилителя и выходом фазовращателя, амплитудный детектор, вход которого соединен с выходом емкостного датчика, расположенного по оси первичных колебаний, введены делитель, входы которого соединены с выходом демодулятора и выходом амплитудного детектора.
Кроме того, поставленная задача решается тем, что в микромеханический гироскоп введено устройство коммутации, включенное между гребенчатым двигателем и выходом устройства возбуждения колебаний подвижной массы, и усилитель выборки-хранения, вход которого соединен с выходом делителя.
Суть изобретения состоит в том, что измерение угловой скорости проводится без стабилизации амплитуды первичных колебаний, а изменения величины х0 в выражении (2) компенсируют нормированием (делением) сигнала Y(t) на измеренную величину х0. Отсутствие необходимости поддержания стабильной х0 позволяет измерять величину (t) без формирования управляющих напряжений на электродах гребенчатого двигателя, т.е. позволяет проводить измерение угловой скорости «на выбеге».
Кроме того, за счет нормирования масштабный коэффициент ММГ принимает значение, близкое к номинальному, уже на ранней стадии увеличения первичных колебаний, что позволяет уменьшить время готовности ММГ.
Заявленная совокупность признаков позволяет упростить конструкцию устройства, уменьшить его сложность, повысить точность, надежность, снизить время готовности и стоимость ММГ.
Заявленное устройство поясняется чертежами.
На фиг.1 изображена упрощенная конструкция ММГ RR-типа.
На фиг.1 приняты следующие обозначения:
1 – ПМ на двухосном торсионном подвесе, выполненная в виде диска
2 – основание
3 – электроды емкостного датчика, расположенные по оси вторичных колебаний
4 – электроды емкостного датчика, расположенные по оси первичных колебаний
5 – гребенчатый двигатель.
На фиг.2 приведены операции, выполняемые при реализации способа-прототипа при измерении угловой скорости с помощью ММГ.
На фиг.3 приведены операции, выполняемые при реализации предлагаемого способа измерения угловой скорости с помощью ММГ.
На фиг.4 приведены операции, выполняемые при реализации варианта предлагаемого способа измерения угловой скорости с помощью ММГ.
На фиг.5 приведены графики изменения амплитуд выходных сигналов емкостных датчиков при работе ММГ на выбеге (левый график) и построенная на основании этого графика зависимости амплитуды одного сигнала от другого.
На фиг.6 приведены операции, выполняемые при реализации другого варианта предлагаемого способа измерения угловой скорости с помощью ММГ.
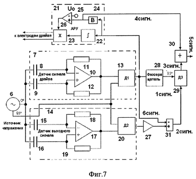
На фиг.7 приведен ММГ, предназначенный для реализации предлагаемого способа измерения угловой скорости.
На фиг.7 приняты следующие обозначения:
6 – источник переменного напряжения
7 – емкостной датчик, расположенный на оси вторичных колебаний
8, 9 – конденсаторы, образованные электродами 3
10 – дифференциальный усилитель
11, 12 – резисторы
13 – демодулятор
14 – емкостной датчик, расположенный по оси первичных колебаний
15, 16 – конденсаторы, образованные электродами 3 и ПМ1
17 – дифференциальный усилитель
18, 19 – резисторы
20 – демодулятор
21 – устройство возбуждения колебаний подвижной массы
22 – интегратор
23 – умножитель
24 – амплитудный детектор
25 – источник опорного напряжения U0
26 – усилитель
28 – фазовращатель
29 – демодулятор
30 – делитель
31 – устройство суммирования
На фиг.8 приведен вариант ММГ, предназначенного для реализации предлагаемого способа измерения угловой скорости.
Элементы 6-31 на фиг.8 идентичны элементам на фиг.6 и соединены так же, как показано на фиг.6.
32 – устройство коммутации
33 – усилитель выборки/ хранения
Приведенный на фиг.1 ММГ включает в себя ПМ1, выполненную в форме диска, которая связана с основанием 2 с помощью резонансного подвеса. На основание 2 нанесены электроды 3. ПМ1 совместно со статорами (не показаны), имеющими гребенчатую структуру, образуют электроды 4 емкостного датчика, расположенного по оси первичных колебаний, и электроды 5 гребенчатого двигателя.
Для измерения угловой скорости вращения основания 2 вокруг оси чувствительности ММГ, показанного на фиг.1, выполняют следующие операции:
– на электродах 5 гребенчатого двигателя формируют напряжения, которые создают в зазоре между статорами и ПМ1 электрическое поле. Например, между электродами можно сформировать напряжение, представляющее собой сумму постоянного и переменного с частотой, равной резонансной частоте подвеса по оси первичных колебаний, напряжений;
– эти напряжения вызывают колебательное движение ПМ1 с возрастающей амплитудой, т.е. возбуждают колебания ПМ1;
– с помощью емкостного датчика перемещения ПМ1 по оси первичных колебаний выделяются сигнал на частоте колебаний ПМ1, величина которого пропорциональна соответствующим перемещениям ПМ1, т.е. сигнал x0sin ·t (см. выражение (1));
– из сигнала емкостного датчика по оси первичных колебаний формируют первый сигнал, который синфазен со скоростью перемещения ПМ1 по оси первичных колебаний. Для формирования такого сигнала могут использоваться разные методы (например, дифференцирование, при котором получают сигнал x0 cos ·t, интегрирование, при котором получают сигнал – использование системы фазовой автоподстройки частоты, при котором получают сигнал sign(cos ·t)) и т.д.);
– с помощью емкостного датчика перемещения ПМ1 по оси вторичных колебаний выделяются 2-ой сигнал на частоте колебаний ПМ1, величина которого пропорциональна перемещениям ПМ1 по этой оси. В отсутствие помех этот сигнал пропорционален величине 2 (t)x0 cos ·t (см. выражение (2));
– с помощью демодуляции выделяют 3-й сигнал. Для демодуляции может использоваться аналоговый умножитель и фильтр низкой частоты, который выделяет низкочастотную составляющую произведения 1-го и 3-го сигналов. Отметим, что при использовании аналогового умножителя низкочастотная составляющая произведения может быть пропорциональна величине (t)x0, когда используется система ФАПЧ, или – в случае использования дифференцирования или интегрирования;
– из сигнала емкостного датчика по оси первичных колебаний формируют 4-й сигнал, который пропорционален амплитуде сигнала емкостного датчика по оси первичных колебаний (х0). Для формирования такого сигнала могут использоваться разные схемы (например, выпрямитель, пиковый детектор и т.д.);
– стабилизация амплитуды первичных колебаний ПМ1 осуществляться путем сравнения 4-го сигнала с опорным (имеющим постоянную величину, например U0) сигналом и изменения величины постоянной или переменной составляющей напряжения на электродах гребенчатого двигателя в зависимости от разности 4-го сигнала и U0.
Описанная совокупность операций выполняется в известных способах измерения угловой скорости с помощью ММГ.
В предложенном способе измерения угловой скорости с помощью ММГ, который иллюстрируется фиг.3, сохранены все операции, показанные на фиг.2, за исключением стабилизации амплитуды колебаний ПМ и дополнительно осуществляется нормирование 3-го сигнала 4-ым. Получаемый при этом 5-й сигнал пропорционален величине (t). Под нормированием здесь понимается процедура исключения зависимости величины 3-го сигнала от х0. В случае использования для получения 1-го сигнала дифференцирования или интегрирования для нормирования используется операция деления на , а при использовании системы ФАПЧ – деление на х0. Отметим, что при постоянной величине x0, как это имеет место в прототипе, нормирование не требуется, т.к. х0 может рассматриваться как постоянный коэффициент.
Выполнение описанной операции нормирования представляется более простым – формирование системы автоматического регулирования по стабилизации амплитуды колебаний. При этом при использовании предложенного способа исключается зависимость выходного сигнала от величины х0.
На фиг.4 совокупность операций, показанная на фиг.3, дополнена операцией по выделению 6-го сигнала (пропорционального перемещениям ПМ1 по оси первичных колебаний) и вычитанию его из сигнала емкостного датчика по оси вторичных колебаний сигнала. Эту операцию целесообразно выполнять при большом уровне квадратурной составляющей в сигнале емкостного датчика по оси вторичных колебаний. Экспериментальная проверка при работе ММГ на “выбеге” показала, что по крайней мере в ММГ, конструкция которого описана в: Пешехонов и др. “Результаты разработки микромеханического гироскопа”, квадратурная составляющая сигнала емкостного датчика по оси вторичных колебаний пропорциональна амплитуде первичных колебаний. На левом графике фиг.5 приведены измеренные значения амплитуд сигналов на выходе емкостных датчиков при установке ММГ на неподвижном основании и снятии в нулевой момент времени напряжений с электродов гребенчатого двигателя. Как видно, время затухания колебаний составляет примерно 3 минуты и сигналы изменяются пропорционально, что и видно из правого графика фиг.5, на котором видно, что зависимость между сигналами практически линейная. Поэтому при выбранном постоянном коэффициенте между величинами 6-го сигнала и амплитуды х0 можно добиться полной компенсации квадратурной помехи для всего диапазона изменения амплитуды первичных колебаний ПМ1.
Вариант предлагаемого способа измерения приведен на фиг.6, в котором введены дополнительные операции выборки и хранения 5-го сигнала, а формирование электрических сигналов разделено на два режима: режим разгона ПМ, в котором на электродах гребенчатого двигателя формируется напряжение, вызывающее увеличение амплитуды первичных колебаний, и режим работы на “выбеге”, в котором на электроды гребенчатого двигателя напряжение не поступает. В режиме работы на “выбеге” происходит уменьшение амплитуды первичных колебаний ПМ1 (затухание колебаний) и при этом из-за отсутствия напряжений на электродах гребенчатого двигателя исключаются помехи, обусловленные прохождением сигнала управления гребенчатым двигателем в канал измерения перемещений ПМ1 по оси вторичных колебаний, левитацией ПМ1. Вследствие большой величины добротности подвеса ПМ1 (она может превышать 500000) затухание колебаний происходит медленно. Как видно из экспериментальных данных на фиг.1-2%, изменение амплитуды происходит за время порядка 1 с. При значительном запасе по напряжению, которое может быть сформировано на электродах гребенчатого двигателя, максимальная амплитуда первичных колебаний может быть достигнута за время 0,1-0,5 с. Поэтому 1-2% затухание колебаний может быть скомпенсировано в режиме разгона ПМ1 за время порядка 1-10 мс. В течение этого короткого промежутка времени на выходе ММГ сохраняется то значение сигнала, которое было перед началом режима разгона ПМ1, что обеспечивает и повышение точности измерения, и достижение приемлемой полосы пропускания канала измерения угловой частоты на уровне не ниже 20-100 Гц.
На фиг.7 вывод источника переменного напряжения 6 соединен с объединенными выводами конденсаторов 8, 9, 15, 16. Эти выводы соответствуют ПМ1. Другие выводы конденсаторов 8, 9, которые соответствуют статорам гребенчатого двигателя, соединены с входами дифференциального усилителя 10, охваченного обратной связью с помощью резисторов 11, 12. Элементы 10-12 в совокупности образуют трансрезистивный усилитель. Выход усилителя 10 соединен с одним входом демодулятора 13, при этом другой вход демодулятора 13 соединен со вторым выводом источника переменного напряжения 6, при этом напряжения на первом и втором выводах источника переменного напряжения 6 сдвинуты на 90°. Элементы 8-13 образуют емкостной датчик 7, расположенный на оси первичных колебаний. Емкостной датчик 8, расположенный на оси вторичных колебаний, образован элементами 15-20, которые соединены аналогично одноименным элементам 8-13. Выход емкостного датчика 7 соединен с входом фазовращателя 28 и устройством возбуждения колебаний подвижной массы 21. Устройство возбуждения колебаний подвижной массы 21 включает в себя интегратор 22, умножитель 23, амплитудный детектор 24, источник опорного напряжения U0 25 и усилитель 26. Входы интегратора 22 и амплитудного детектора 24 соединены с выходом демодулятора 13. Выход усилителя 26 соединен с одним входом умножителя 23, а входы усилителя 25 соединены с источником 25 и выходом амплитудного детектора 24. Выход интегратора соединен с входом умножителя 23.
Выход емкостного датчика 8 соединен с входом усилителя 27. Выходы фазовращателя 28 и устройства суммирования 31 соединены со входами демодулятора 29, выход которого соединен с одним входом делителя 30, другой вход которого соединен с выходом амплитудного детектора 24. Входы устройства суммирования 31 соединены с выходами усилителя 27 и емкостного датчика 7.
Предложенное устройство работает следующим образом. Трансрезистивные усилители на элементах 10-12 и 17-19 преобразуют токи, протекающие от источника 6 через конденсаторы 8, 9, 15, 16, в напряжения, зависящие от величин разности емкостей этих конденсаторов, которые в свою очередь зависят от положения ПМ1 по соответствующим осям. Выходные напряжения усилителей 10, 17 демодулируются демодуляторами 13, 20, на выходе которых выделяются сигналы на частоте колебаний ПМ1. Устройство 21 преобразует выходной сигнал емкостного датчика 7 в напряжения, которые поступают на электроды гребенчатого двигателя. В устройстве 21 входной сигнал сдвигается по фазе на 90 интегратором 22, разность напряжения U0 и напряжения на выходе амплитудного детектора 24. Эта разность перемножается в умножителе 23 с сигналом на выходе интегратора 22. В случае, когда амплитуда колебаний отличается от напряжения U0, напряжение на выходе умножителя 23 изменяется в сторону увеличения (если амплитуда меньше определяемой величины U0) или уменьшения, в противоположном случае это приводит к поддержанию амплитуды колебаний на постоянном уровне. Отметим, что предложенное устройство может работать и без стабилизации амплитуды колебаний. В этом случае выход амплитудного детектора 24 не соединяется с входом усилителя 26. На выходе фазовращателя 28 формируется 1-й сигнал, устройства суммирования 31 – 2-й сигнал, демодулятора 29 – 3-й сигнал, амплитудного детектора 24 – 4-й сигнал и на выходе делителя 30 – 5-й сигнал. Работа ММГ с этими сигналами описана выше в разделе, относящемся к описанию работы по фиг.4. Преимуществом предложенного устройства по сравнению с прототипом является то, что даже при малой амплитуде колебаний ПМ1 масштабный коэффициент ММГ остается постоянным, т.к. в нем осуществляется нормирование сигнала с помощью делителя 30. Благодаря этому при работе с устройством возбуждения колебаний подвижной массы 21 с элементами стабилизации амплитуды колебаний требуемая величина масштабного коэффициента достигается еще на ранней стадии развития колебаний, что позволяет уменьшить время готовности ММГ.
На фиг.8 элементы 6-20 и 27-30 соединены так же, как и на фиг.7. В устройстве возбуждения колебаний подвижной массы 21 источник опорного напряжения U0 25 соединен непосредственно с входом умножителя 23. Выход умножителя 23 соединен с устройством коммутации 32, а выход делителя 30 – с входом усилителя выборки-хранения 33.
Устройство работает в соответствии с вышеприведенным описанием, относящимся к фиг.6. В режиме разгона устройство коммутации 32 соединяет выход умножителя с электродами гребенчатого двигателя, например, на время, равное 5-10 мс. При резонансной частоте подвеса ПМ1, равной 3 кГц, в течение 15 периодов управляющее напряжение максимальной величины поступает на электроды гребенчатого двигателя, обеспечивая увеличение амплитуды колебаний на несколько процентов. В это время УВХ 33 сохраняет значение 5-го сигнала на начало режима разгона. Затем умножитель устройством коммутации 32 отсоединяется от электродов гребенчатого двигателя, а УВХ переходит в режим выборки, в котором его выходное напряжение соответствует текущим значениям 5-го сигнала. Этот режим, в котором достигается максимальная потенциальная точность ММГ, может продолжаться от долей до нескольких секунд. Уменьшение амплитуды первичных колебаний в этом режиме компенсируется затем следующим интервалом разгона. Отметим, что для объектов, для которых максимальная скорость вращения не превышает 100 оборотов/мин, погрешность измерения угловой скорости предложенным ММГ из-за наличия режима разгона не превысит порог чувствительности, который для типичных конструкций ММГ находится на уровне 3-5*10-4 от максимальной величины измеряемой угловой скорости.
Формула изобретения
1. Способ измерения угловой скорости с помощью микромеханического гироскопа, содержащего подвижную массу на двухосном резонансном подвесе, емкостные датчики, расположенные по осям первичных и вторичных колебаний, гребенчатый двигатель, заключающийся в возбуждении колебаний подвижной массы по оси первичных колебаний путем подачи на электроды гребенчатого двигателя переменного напряжения, формировании из сигнала емкостного датчика по оси первичных колебаний первого сигнала, пропорционального скорости перемещения подвижной массы по оси первичных колебаний, формировании из сигнала емкостного датчика по оси вторичных колебаний второго сигнала, пропорционального перемещению подвижной массы по оси вторичных колебаний, умножении второго сигнала на сигнал, синфазный с первым сигналом, выделении третьего сигнала, пропорционального низкочастотной составляющей произведения этих сигналов, выделении четвертого сигнала, пропорционального амплитуде первого сигнала, отличающийся тем, что формируют пятый сигнал путем нормирования третьего сигнала четвертым.
2 Способ по п.1, отличающийся тем, что из сигнала емкостного датчика по оси первичных колебаний формируют шестой сигнал, пропорциональный перемещению ПМ по оси первичных колебаний, при этом второй сигнал формируют из разности сигнала емкостного датчика по оси вторичных колебаний и шестого сигнала.
3. Способ по п.1, отличающийся тем, что возбуждение колебаний подвижной массы осуществляют периодически, формируя режимы разгона колебаний подвижной массы и выбега путем соответственно подключения и отключения источника переменного напряжения к электродам гребенчатого двигателя, а пятый сигнал измеряют в режиме выбега.
4. Микромеханический гироскоп, содержащий подвижную массу на двухосном резонансном подвесе, емкостные датчики, расположенные по осям первичных и вторичных колебаний, гребенчатый двигатель, расположенный на оси первичных колебаний, устройство возбуждения колебаний подвижной массы, включенное между расположенными на оси первичных колебаний емкостным датчиком и гребенчатым двигателем, усилитель, подключенный к выходу емкостного датчика, расположенный на оси вторичных колебаний, фазовращатель, соединенный с выходом емкостного датчика, расположенного по оси первичных колебаний, демодулятор, входы которого соединены с выходом усилителя и выходом фазовращателя, амплитудный детектор, вход которого соединен с выходом емкостного датчика, расположенного по оси первичных колебаний, отличающийся тем, что в него введен делитель, входы которого соединены с выходом демодулятора и выходом амплитудного детектора.
5. Устройство по п.4, отличающееся тем, что в него введено устройство коммутации, включенное между гребенчатым двигателем и выходом устройства возбуждения колебаний подвижной массы, и усилитель выборки-хранения, вход которого соединен с выходом делителя.
РИСУНКИ
Другие изменения, связанные с зарегистрированными изобретениями
Изменения:
Зарегистрирован переход исключительного права без заключения договора Дата и номер государственной регистрации перехода исключительного права: 08.02.2010/РП0000532 Патентообладатель: Открытое акционерное общество «Концерн “Центральный научно-исследовательский институт «Электроприбор» Прежний патентообладатель: Федеральное государственное унитарное предприятие “Центральный научно-исследовательский институт “Электроприбор”
Номер и год публикации бюллетеня: 34-2006
Извещение опубликовано: 27.04.2010 БИ: 12/2010
|
|