|
|
(21), (22) Заявка: 2005106983/28, 10.03.2005
(24) Дата начала отсчета срока действия патента:
10.03.2005
(43) Дата публикации заявки: 20.08.2006
(46) Опубликовано: 10.12.2006
(56) Список документов, цитированных в отчете о поиске:
RU 43957 U8, 27.06.2005. SU 1452736 A1, 23.01.1989. RU 2043939 С1, 20.09.1995. SU 1726857 A1, 15.04.1992. US 3831530 A, 27.08.1974.
Адрес для переписки:
620027, г.Екатеринбург, ул. Челюскинцев, 15, ГУП “УО ВНИИЖТ”, патентный сектор, Л.В. Душаниной
|
(72) Автор(ы):
Сендеров Григорий Константинович (RU), Дмитриев Владимир Павлович (RU), Власова Ирина Владимировна (RU), Поздина Елена Анатольевна (RU)
(73) Патентообладатель(и):
Государственное унитарное предприятие “Уральское отделение Всероссийского научно-исследовательского института железнодорожного транспорта Министерства путей сообщения Российской Федерации” (RU)
|
(54) СПОСОБ ОБЕСПЕЧЕНИЯ НОРМ ЗАЗОРОВ В СКОЛЬЗУНАХ ПРИ РЕМОНТЕ ГРУЗОВЫХ ВАГОНОВ С ТЕЛЕЖКАМИ ЦНИИ-Х3 (МОДЕЛЬ 18-100)
(57) Реферат:
Изобретение относится к области железнодорожного транспорта, в частности к ремонту грузовых вагонов. Сущность: предлагаемый способ предусматривает измерение высоты скользунов шкворневой балки вагона и высоты основания скользунов надрессорной балки тележки ЦНИИ-ХЗ (модель 18-100), определение необходимой высоты (толщины) прокладок под колпаки скользунов и обеспечивает нормированный суммарный зазор в скользунах по обе стороны каждого конца вагона, предусматривает измерение абсолютных значений высоты скользунов на шкворневой балке рамы вагона h1 и надрессорной балке тележки h2, отремонтированной и подготовленной к подкатке под вагон. Далее проводится расчет по зависимости

и подбор регулировочных прокладок под колпаки скользунов надрессорных балок, необходимых для обеспечения нормированного суммарного зазора в скользунах по обе стороны каждого конца вагона. Все необходимые измерения проводятся измерителем высоты скользунов. Технический результат: гарантированное обеспечение нормированного суммарного зазора в скользунах по обе стороны каждого конца вагона до подкатки тележки под вагон и исключение повторного подъема кузова, несвоевременного и некачественного выпуска их из ремонта. 1 ил.
Изобретение относится к области железнодорожного транспорта, в частности к ремонту грузовых вагонов.
Действующей нормативно-технической документацией (Руководящий документ «Инструкция по ремонту тележек грузовых вагонов»: РД 32 ЦВ 052-2002/ Проектно-конструкторское бюро ЦВ МПС: Введ. 16.12.2004 – М., 2002. – 71 с.) установлены требования к величине суммарного зазора в скользунах с обеих сторон каждого конца вагона при ремонтах. Нормативные значения для разных типов грузовых вагонов установлены в пределах от 4 до 16 мм, однако, способ (технология) для их обеспечения отсутствует.
В настоящее время обеспечение нормативов по величине суммарного зазора в скользунах с обеих сторон каждого конца вагона при плановых ремонтах вагонов практически осуществляется уже после подкатки тележек под вагон подбором стальных (Ст.0-3 ГОСТ 380) регулировочных прокладок толщиной от 1,5 до 5 мм, устанавливаемых под колпаки скользунов надрессорных балок. Количество и толщина подкладываемых или убираемых прокладок определяется для обеспечения требуемой величины суммарного зазора N.
Недостатком данного способа обеспечения нормируемого зазора в скользунах при плановых ремонтах является то, что:
1. Из-за отсутствия предварительных замеров высоты скользунов во многих случаях после подкатки тележек под вагон зазоры не соответствуют нормативным и с целью их обеспечения производится подъемка кузова для постановки или изъятия прокладок из-под колпаков скользунов надрессорных балок. При этом в ряде случаев требуется повторная подъемка кузова вагона, а в отдельных – выкатка тележек, что ведет к несвоевременному выпуску вагона из ремонта.
2. Действующий способ приводит также к некачественному ремонту вагонов. Так, проведенным обследованием вагонов, выпущенных из деповского ремонта, установлено, что в 6% случаев суммарный зазор по обе стороны каждого конца вагона был меньше, а в 17% случаев – больше нормативного значения. Кроме того, при существующем способе не обеспечиваются равные зазоры в скользунах с обеих сторон каждого конца вагона, что является важным фактором, влияющим на безопасность вагонов от сходов т.е. на безопасность движения поездов.
Цель предлагаемого изобретения – создание способа, позволяющего заранее измерить высоту скользунов и на основании измерений определить необходимую толщину прокладок, устанавливаемых под колпаки скользунов надрессорных балок для получения нормируемого зазора, одинакового по обе стороны каждого конца вагона.
Поставленная цель достигается выполнением следующих этапов:
1) проведение предварительных замеров высоты скользунов на шкворневой балке рамы вагона относительно опорной поверхности пятника;
2) проведение предварительных замеров высоты основания скользунов на надрессорной балке тележки относительно опорной поверхности подпятника;
3) расчет необходимой толщины и количества прокладок для обеспечения нормируемого зазора отдельно по каждой паре взаимодействующих скользунов.
Сущность изобретения заключается в том, что предлагаемый способ предусматривает измерение высоты скользунов на шкворневой балке рамы вагона относительно опорной поверхности пятника и высоты основания скользунов на надрессорной балке тележки относительно опорной поверхности подпятника, измерение толщины верхней стенки колпака скользуна, определение необходимой толщины и подбор прокладок под колпаки скользунов, что обеспечивает нормированный суммарный зазор в скользунах по обе стороны каждого конца вагона.
Производится измерение значений высоты скользунов на шкворневой балке рамы вагона h1, высоты основания скользунов на надрессорной балке тележки h2, отремонтированной и подготовленной к подкатке под вагон. Далее проводится расчет по зависимости (1) с учетом толщины верхней стенки колпака к и подбор толщины и количества регулировочных прокладок под колпаки скользунов надрессорных балок, необходимых для обеспечения нормированного суммарного зазора в скользунах по обе стороны каждого конца вагона. Все необходимые измерения проводятся измерителем высоты скользунов (патент RU 43957 U1 G 01 В 3/02, опубл.10.02.2005. Бюл.№4).
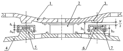
На чертеже показаны: 1 – шкворневая балка рамы вагона, 2 – пятник, 3 – скользуны на шкворневой балке, 4 – надрессорная балка тележки, 5 – основание скользунов на надрессорной балке, 6 – подпятник, 7 – регулировочные прокладки, 8 – колпак скользуна надрессорной балки.
Расчет необходимой толщины прокладок пр, мм, предлагается вести по следующей зависимости, согласно чертежу:

где h1 – высота скользунов на шкворневой балке – расстояние от опорной поверхности пятника до опорной поверхности скользунов на шкворневой балке;
h2 – высота основания скользунов на надрессорной балке – расстояние от опорной поверхности подпятника до опорной поверхности основания скользунов на надрессорной балке;
к – толщина верхней стенки колпака;
N – нормируемый суммарный зазор в скользунах с обеих сторон каждого конца вагона.
Следует отметить, что величины h1 и h2 нормированы и при изготовлении вагона составляют мм и 75+3 мм, соответственно. В соответствии с установленными нормативами и различными требованиями по допускаемым зазорам величины N необходима разработка способа подбора высоты скользунов соответственно толщины прокладок на надрессорной балке.
Значения N приведены в таблице 1.
| Таблица 1 – Нормативы зазоров в скользунах грузовых вагонов при деповском ремонте (в миллиметрах) |
| Род вагона |
Норматив |
Источник |
| Основные типы 4-осных вагонов |
6-16 (11±5)* |
Руководящий документ. Инструкция по ремонту тележек грузовых вагонов: РД 32 ЦВ 052-2002/ Проектно-конструкторское бюро ЦВ МПС: Введ. 16.12.2004, М., 2002, 71 с. |
| Цистерны, вагоны-хопперы для зерна, цемента, минеральных удобрений, окатышей, и хопперы-дозаторы ЦНИИ-ДВЗ |
4-10 (7±3)* |
| Хопперы других типов и думпкары |
6-12 (9±3)* |
| * – при введении средней величины с допусками |
Пример осуществления способа.
1. После выкатки тележек из-под вагона и ремонта пятника и скользунов на шкворневой балке с левой и правой стороны вагона определяют размер h1. Для этого используют измеритель.
2. Определяют размер N из таблицы 1.
3. На отремонтированных и подготовленных к подкатке под вагон тележках определяют размеры h2.
4. Вычисляют толщину прокладок и подбирают их необходимое количество. Для этого для основных типов 4-осных вагонов может быть использована таблица 2 при к=14 мм. (Толщина верхней стенки колпака 14 мм установлена для типовых колпаков с приваренной износостойкой пластиной)
| Таблица 2 – Расчетная толщина прокладок для основных типов 4-осных вагонов (в миллиметрах) |
| Высота основания скользунов надрессорной балки, h2 |
Толщина прокладок пр, при высоте скользунов шкворневой балки, h1 |
| 100 |
101 |
102 |
103 |
104 |
105 |
106 |
107 |
| 75 |
5,5 |
6,5 |
7,5 |
8,5 |
9,5 |
10,5 |
11,5 |
12,5 |
| 76 |
4,5 |
5,5 |
6,5 |
7,5 |
8,5 |
9,5 |
10,5 |
11,5 |
| 77 |
3,5 |
4,5 |
5,5 |
6,5 |
7,5 |
8,5 |
9,5 |
10,5 |
| 78 |
2,5 |
3,5 |
4,5 |
5,5 |
6,5 |
7,5 |
8,5 |
9,5 |
Предлагаемый способ обеспечивает нормированный зазор в скользунах до подкатки тележек под вагон и исключает выпуск вагонов с зазорами, не соответствующими нормативу.
Внедрение данного способа исключит необходимость повторного подъема кузова вагона, обеспечит своевременный выпуск вагонов из ремонта и предупредит их отказы в эксплуатации.
Формула изобретения
Способ обеспечения норм зазоров в скользунах при ремонте грузовых вагонов с тележками ЦНИИ-ХЗ (модель 18-100), предусматривающий измерение высоты скользунов на шкворневой балке вагона относительно опорной поверхности пятника h1, измерение высоты основания скользунов на надрессорной балке тележки относительно опорной поверхности подпятника h2, измерение толщины верхней стенки колпака скользуна к, после чего по зависимости

производится определение необходимой толщины и подбор прокладок под колпаки скользунов, что обеспечивает нормированный зазор в скользунах до подкатки тележек под вагон.
РИСУНКИ
PC4A – Регистрация договора об уступке патента СССР или патента Российской Федерации на изобретение
Прежний патентообладатель:
Государственное унитарное предприятие “Уральское отделение Всероссийского научно-исследовательского института железнодорожного транспорта Министерства путей сообщения Российской Федерации”
(73) Патентообладатель:
Открытое акционерное общество “Научно-исследовательский институт железнодорожного транспорта”
Договор № РД0039641 зарегистрирован 15.08.2008
Извещение опубликовано: 27.09.2008 БИ: 27/2008
|
|